| Hooldusintervallid | Hooldustoimingud |
|---|---|
| Enne iga kasutamist või iga päev |
|
See pöörleva teraga murutraktor on mõeldud kasutamiseks teenust osutavatele professionaalidele. See on loodud peamiselt hästi hooldatud elamu- või ärikinnisvara muruplatsidel muru niitmiseks. Toote mittesihipärane kasutamine võib olla teile ja kõrvalolijatele ohtlik.
Toote õigeks kasutamiseks ja hooldamiseks ning vigastuste ja toote kahjustamise vältimiseks lugege seda teavet tähelepanelikult. Teie vastutate toote nõuetekohase ja ohutu kasutamise eest.
Kui soovite saada teavet tooteohutuse, kasutusjuhendite, lisaseadmete ja edasimüüjate kohta või soovite oma toodet registreerida, külastage veebisaiti www.Toro.com.
Kui vajate hooldust, Toro originaalvaruosi või lisainfot, võtke ühendust volitatud hooldusfirmaga või Toro klienditeenindusega ning vaadake valmis toote mudel ja seerianumber. Joonis 1 näitab tootel mudeli- ja seerianumbri asukohta. Kirjutage numbrid selleks ette nähtud tühjale alale.
Important: Garantiiteabe, varuosade ja muu tooteteabega tutvumiseks skannige mobiilseadmega seerianumbri kleebisel olevat QR-koodi (kui see on olemas).

Selles juhendis kasutatakse kahte sõna teabe esiletõstmiseks. Oluline” juhib tähelepanu erilisele mehaanikateabele ja märkus” rõhutab üldist teavet, millele tuleks erilist tähelepanu pöörata.
Ohutushoiatuse sümbolit“ (Joonis 2) kasutatakse nii selles juhendis kui ka masinal asuvatel siltidel, et tuvastada olulised ohutusteated, mida peate õnnetuste vältimiseks järgima. See sümbol kuvatakse koos sõnaga Oht“, Hoiatus“ või Ettevaatust“.
Oht“ tähistab vahetult ohtlikku olukorda, mis mittevältimise korral põhjustab surma või raske kehavigastuse.
Hoiatus“ tähistab potentsiaalselt ohtlikku olukorda, mis mittevältimise korral võib põhjustada surma või raske kehavigastuse.
Ettevaatust“ tähistab potentsiaalselt ohtlikku olukorda, mis mittevältimise korral võib põhjustada kergeid või mõõdukaid vigastusi.

Mootori kasutamine või käitamine metsaga, võsaga või rohuga kaetud maastikul rikub California avaliku ressursside koodeksi jaotist 4442 või 4443, välja arvatud juhul, kui mootor on varustatud sädemepüüduriga, nagu on määratletud jaotises 4442, hoitud tõhusas töökorras või mootor on ehitatud, varustatud ja hooldatud tulekahju vältimiseks.
Mootori kasutusjuhendis olev teave heitgaasisüsteemide, hoolduse ja garantii kohta on välja toodud USA keskkonnaagentuuri ja California heitkoguste kontrollimise eeskirju silmas pidades. Varuosasid on võimalik tellida mootori tootjalt.
Suurim või kasulik pöördemoment: mootori suurima või kasuliku pöördemomendi arvutas mootori tootja laboris vastavalt Autoinseneride Ühingu (Society of Automotive Engineers ehk SAE) standardile J1940 või J2723. Selle klassi niiduki tegelik mootori pöördemoment on ohutus-, heite- ja käitamisnõuetele vastavaks konfigureeritud kujul oluliselt väiksem. Vaadake masinaga kaasas olevat mootori tootja teavet.
KALIFORNIA
Probleem 65 Hoiatus
Diiselmootori heitgaase ja selle teatavaid koostisosi loetakse Kalifornia osariigis vähkitekitavaks ja sünnidefekte põhjustavaks ning sigivust kahjustavaks.
Aku korgid, klemmid ja nendega seotud tarvikud sisaldavad pliid ja pliiühendeid, mis Kalifornia osariigi andmete põhjal põhjustavad vähktõbe ja mõjuvad kahjulikult reproduktiivsusele. Pärast nende osade käsitsemist pesta käed puhtaks.
Käesolevat toodet kasutades võib puutuda kokku kemikaalidega, mis põhjustavad California osariigile teadaolevalt vähki ja sünnidefekte või muud kahju viljakusele.
Toode võib käe või jala amputeerida ja objekte hooga üles paisata. Raskete vigastuste või surma vältimiseks jälgige alati kõiki ohutusjuhiseid.
Enne mootori käivitamist lugege see kasutusjuhend läbi ja tehke endale selgeks.
Hoidke kõrvalised isikud ja lapsed eemal.
Ärge lubage lastel ega koolitamata inimestel masinat kasutada ega hooldada. Lubage masinat kasutada või hooldada vaid vastutustundlikel, koolitatud, juhistega kursis ja füüsiliselt selleks võimelistel inimestel.
Hoidke kaitseraud alati täielikult tõstetud ja lukustatud asendis ning kasutage turvavööd.
Ärge kasutage masinat laskumiste, kraavide, vallide, vee või muude ohtude läheduses ega kallakutel, mis on suuremad kui 15°.
Ärge pange käsi ega jalgu masina liikuvate osade lähedusse.
Ärge kasutage masinat, kui mõni selle kaitse, ohutuslüliti või muu ohutusseade on paigaldamata või need ei tööta korralikult.
Lülitage mootor välja, eemaldage süütevõti ja oodake kõigi liikuvate osade peatumist, enne kui istmelt lahkute. Enne hooldamist, seadistamist, tankimist, puhastamist või hoiustamist laske masinal jahtuda.

![]() |
Ohutusmärgid ja juhised on kasutajale lihtsasti nähtavad ning asuvad iga võimaliku ohtliku koha lähedal. Asendage kõik kahjustatud või puuduvad märgised. |



























Tutvuge kõigi juhtseadistega enne mootori käivitamist ja masina kasutamist.

Lugege tarkvarajuhendist üksikasjalikku teavet kasutajaliidese kohta, mille abil saab juurdepääsu teabele, lähtestada arvesteid, muuta süsteemi sätteid ja seadme tõrkeid kõrvaldada.

Teabekuval on esitatud masina käitusalane teave; vaadake tarkvarajuhendist rohkem teavet.
Mitmeotstarbelised nupud asuvad paneeli allosas. Jooksvat otstarvet näidatakse teabekuval nuppude kohal olevate ikoonidega. Nuppudega saab valida mootori pöörlemissageduse ja navigeerida süsteemi menüüdes.
Vaadake tarkvarajuhendist rohkem teavet.
Oleku valgusdiood on süsteemi oleku näitamiseks mitmevärviline ja see asub paneel paremal küljel. Käivitamise ajal põlevad valgusdioodid korrasoleku tõendamiseks punasest kuni oranžini.
Pidev roheline: näitab harilikku käitusolekut
Vilkuv punane: näitab kehtivat tõrget
Vilkuv roheline ja oranž: näitab, et sidur tuleb lähtestada
Vaadake tarkvarajuhendist rohkem teavet.
Tõrke korral kuvatakse tõrketeade, valgusdiood läheb punaseks ja kostub järgmine helialarm.
Kriitilise tõrke korral kostub kiire säuts.
Vähem kriitiliste tõrgete, nagu nõutud hooldus- või teenindusvälpade puhul kostub aeglane säutsumine.
Note: Käivitamise ajal kostub alarm korrasoleku tõendamiseks lühidalt.
Vaadake tarkvarajuhendist rohkem teavet.
Tunnilugeja loendab mootori töötunde. See töötab siis, kui mootor on käivitatud. Kasutage neid aegu hooldustööde läbiviimiseks (Joonis 5).
Tundide arv on näidatud seisva mootori ekraanikuval või mootori tunniarvesti menüüs.
Vaadake tarkvarajuhendist rohkem teavet.
Seda lülitit kasutatakse mootori käivitamiseks. Sellel on 3 asendit: KäIVITUS, KäITUS ja VäLJAS.
Note: Kui kõik juhtseadised on käivitamiseks ohutus olekus, ilmuvad LCD näidikud (nt näidik lülitub sisse, kui istute istmele.)
Note: Mootori ECU juhib külmalt käivitamise ajal hõõgküünlaid. Kui jahutusvedeliku temperatuur on liiga madal, ilmub monitorile hõõgküünla sümbol ja käiviti ei käivita mootorit, kui lüliti pöörata KäIVITUSE asendisse. Hõõgküünlad rakenduvad lüliti asendites SEES või KäIVITUS. Kui hõõgküünlad on olnud jooksva temperatuuri jaoks piisavalt kaua rakendatud, siis hõõgküünla sümbol kaob monitorilt ja mootor pöörleb, kui viia lüliti KäIVITUSE asendisse.
Note: Süsteem laseb masina käivitada, kui käitusvõll on ühendatud, aga ei ühenda terasid. Käitusvõlli ühendamiseks tuleb käitusvõll lähtestada.
Mootoril on 3 gaasihoovaga juhitavat pöörlemissagedust: suurim, tõhus ja aeglane.
Vaadake tarkvarajuhendist rohkem teavet.
Terade juhtlüliti ühendab või lahutab niiduki terade ajami käitusvõlli (PTO) (Joonis 5).
Kui käitusvõlli lüliti on lahutatud ilmub teabekuvale LCD näidik.
Note: Horizoni monitoriga masinatel on siduri säästusüsteem, mis võimaldab gaasihooval käitusvõlli lahutamise ajaks automaatselt mootori pöörlemissagedust vähendada. Käitusvõlli lüliti ühendamine ja lahutamine vaheldab mootori gaasihoovaga NIITMISE ja TRANSPORDI režiimi.
Note: Süsteem laseb masina käivitada, kui käitusvõlli lüliti on ühendatud, aga ei ühenda terasid. Käitusvõlli ühendamiseks tuleb käitusvõlli lüliti lähtestada selle lahutamise ja seejärel ühendamisega.
Korpuse tõstmiseks vajutage lülitit tahapoole.
Korpuse langetamiseks vajutage lülitit ettepoole.
Juhthoobadega liigub masin edasi ja tagasi ning pöörab mõlemale poole (Joonis 4).
Masinast väljudes liigutage juhthoovad keskelt väljapoole NEUTRAALASENDISSE (Joonis 22). Masina peatamisel või masina järelevalveta jätmisel asetage juhthoovad alati NEUTRAALASENDISSE.
Masina juhusliku liikumahakkamise vältimiseks rakendage seisupidur iga kord, kui mootori seiskate.
| 152 cm korpus | 183 cm korpus |
| 168,2 cm | 198,7 cm |
| Kaitseraud üleval või all | 255,5 cm |
| Kaitseraud üleval | 182,4 cm |
| Kaitseraud all | 129,5 cm |
| Kaitseraud üleval | 182,4 cm |
| Kaitseraud all | 129,5 cm |
| 112 cm |
| 152 cm korpus | 183 cm korpus |
| 84 cm | 84 cm |
| 152 cm korpus | 183 cm korpus |
| 157,2 cm | 157,2 cm |
Masinale on selle võimekuse suurendamiseks saadaval mitmeid Toro heakskiidetud tarvikuid ja lisaseadmeid. Heakskiidetud tarvikute ja lisaseadmete loendit küsige volitatud hooldusfirmast või ametlikult Toro edasimüüjalt või vaadake seda veebisaidil www.Toro.com.
Masina optimaalse jõudluse ja püsiva ohutuse tagamiseks kasutage ainult Toro originaalvaruosi ja lisaseadmeid. Teiste tootjate varuosad ja lisaseadmed võivad olla ohtlikud ning nende kasutamine võib tühistada garantii kehtivuse.
Note: Masina vasaku ja parema poole tuvastamine tavalises tööasendis.
Ärge lubage lastel ega koolitamata inimestel masinat kasutada ega hooldada. Kohalikud eeskirjad võivad piirata kasutaja vanust. Omanik vastutab kõigi operaatorite ja mehaanikute väljaõppe eest.
Vaadake üle ala, kus hakkate masinat kasutama, ja eemaldage kõik esemed, mis võivad masina tööd segada või masinalt viskuda.
Tutvuge seadmete ja juhtelementide ohutu kasutamise ning ohutussiltidega.
Kontrollige, kas operaatori kohaloleku juhtseadised, ohutuslülitid ja kaitsepiirded on kinnitatud ja töötavad korralikult. Ärge kasutage masinat, kui need ei ole töökorras.
Lülitage mootor välja, eemaldage süütevõti ja oodake kõigi liikuvate osade peatumist, enne kui istmelt lahkute. Enne hooldamist, seadistamist, tankimist, puhastamist või hoiustamist laske masinal jahtuda.
Enne niitma asumist kontrollige masinat veendumaks, et lõikekoostud töötavad korralikult.
Hinnake maastikku, et määrata kindlaks seadmed ja tarvikud, mis on vajalikud masina nõuetekohaseks ja ohutuks kasutamiseks.
Kandke sobivat riietust, sh kaitseprille, pikki pükse, hea libisemiskindlusega jalatseid ja kuulmiskaitset. Kinnitage pikad juuksed ning ärge kandke lotendavaid riideid või rippuvaid ehteid.
Ärge sõidutage reisijaid.
Hoidke kõrvalseisjad ja lemmikloomad töötavast masinast eemal. Kui keegi tuleb lähemale, lülitage masin ja lisatarvik(ud) välja.
Ärge töötage masinaga, kui kõik selle kaitse- ja turvaseadmed, näiteks deflektor, pole paigas ega tööta korralikult. Vajaduse korral vahetage välja kulunud või kahjustatud osad.
Kütus on äärmiselt kergesti süttiv ja väga plahvatusohtlik. Kütusest põhjustatud tulekahju või plahvatus võib põletada teid ja teisi ning kahjustada vara.
Et vältida kütuse süttimist staatilisest elektrist, asetage kanister ja/või masin enne paagi täitmist otse maapinnale, mitte sõidukisse või esemele.
Täitke kütusepaaki õues tasasel maal, vabas õhus ja siis, kui mootor on külm. Pühkige möödavalatud kütus ära.
Ärge käsitsege kütust, kui suitsetate, või lahtise leegi ja sädemete läheduses.
Ärge eemaldage kütusepaagi korki ega lisage kütusepaaki kütust, kui mootor töötab või on kuum.
Kui olete kütust mööda kallanud, ärge proovige mootorit käivitada. Vältige süüteallika tekitamist, kuni kütuseaurud on hajunud.
Hoidke kütust heakskiidetud mahutis ja lastele kättesaamatus kohas.
Kütus on allaneelamisel ohtlik või surmav. Pikaajaline kokkupuude aurudega võib põhjustada raskeid vigastusi ja haigusi.
Vältige aurude pikaajalist sissehingamist.
Hoidke käed ja nägu otsakust ja kütusepaagi avast eemal.
Vältige kütuse sattumist silma ja nahale.
Ärge hoiustage masinat ega kütuseanumat kohas, kus esineb lahtist leeki, sädemeid või süüteleeki, näiteks veeboileril või muul seadmel.
Ärge täitke kanistreid sõidukis, veokis ega plastvooderdisega haagises. Enne kanistrite täitmist asetage need alati maapinnale ja enda sõidukist eemale.
Võtke varustus veokist või haagiselt maha ja lisage kütus maapinnal. Kui see pole võimalik, lisage kütus pigem kanistrist valades kui kütusepumpa kasutades.
Ärge kasutage masinat, kui heitgaasisüsteem pole paigaldatud või ei tööta korralikult.
Hoidke kütusepumpa kütusepaagi serva või kanistri avause vastas terve kütuse lisamise aja. Ärge kasutage kütusepumba lukustussüsteemi.
Kui kütust sattus teie riietele, vahetage kohe riided.
Ärge paaki üle täitke. Vahetage kütusepaagi kork välja ning sulgege see kindlalt.
Puhastage lõikeseade, summuti, juhthoovad, ja mootoriruum murust ja prahist, et vältida võimaliku tulekahju tekkimise ohtu. Pühkige ära möödavalatud õli või kütus.
Mootor töötab puhta, värske diislikütusega, mille tsetaanarv on vähemalt 40. Ostke kütust sellistes kogustes, mille saab kütuse värskuse tagamiseks 30 päeva jooksul ära kasutada.
Kasutage üle –7 °C juures suvist diislikütust (2-D) ja alla –7 °C juures talvist diislikütust (1-D või 1-D/2-D segu). Madalatel temperatuuridel talvise diislikütuse kasutamine annab paremad leekpunkti ja voolamispunkti omadused, mis lihtsustab käivitamist ja vähendab madalate temperatuuride tõttu kemikaalide kütusest eraldumist (vaha tekkimist, mis võib filtreid ummistada).
Suvise diislikütuse kasutamine üle –7 °C juures parendab pumba koosteosade eluiga.
Important: Ärge kasutage diislikütuse asemel petrooleumi ega bensiini. Selle hoiatuse eiramine kahjustab mootorit.
Seda masinat tohib kasutada ka biodiisli segukütusega kuni B20 (20% biodiislit, 80% naftadiislit). Naftadiisli osa peab olema ülimadal väävlisisaldusega.
Järgige alltoodud ettevaatusabinõusid.
Kütuse biodiisli osa peab vastama standardile ASTM D6751 või EN 14214.
Segatud kütuse koostis peab vastama standardile ASTM D975 või EN 590.
Biodiisliga segud võivad kahjustada värvitud pindasid.
Kasutage külma ilmaga B5 (biodiisli sisaldus 5%) või väiksema sisaldusega segu.
Jälgige kütusega kokku puutuvaid tihendeid ja voolikuid, sest need võivad aja jooksul vananeda.
Mõne aja jooksul pärast biodiisli segude kasutusele võttu või eeldada kütusefiltri ummistumist.
Küsige oma maaletoojalt biodiisli kohta lisateavet.
Parkige masin tasasele pinnasele.
Rakendage seisupidur.
Lülitage mootor välja ja eemaldage võti.
Puhastage kütusepaagi korgi ümbrus.
Täitke kütusepaak täitekaela alumise otsani (Joonis 7).
Note: Ärge täitke kütusepaaki ääreni. Tühi ruum paagis laseb kütusel paisuda.

Tehke iga päev enne masina käivitamist igapäevased kasutuseelsed kontrolltoimingud, mis on loetletud jaotises .
Uutel mootoritel läheb täieliku jõudluse saavutamiseks aega. Uutel niiduki korpustel ja veosüsteemidel on rohkem hõõrdumist, nii et mootoril on suurem koormus. Andke uuele masinale täieliku jõudluseni jõudmiseks 40 kuni 50 tundi.
Ümbermineku tagajärjel tekkivate vigastuste või surma vältimiseks hoidke kaitseraud täielikult ülestõstetud ja lukustatud asendis ning kasutage turvavööd.
Veenduge, et iste on masinale kinnitatud.
Kui kaitseraud on langetatud asendis, siis ümbermineku kaitse puudub.
Langetage kaitseraud ainult siis, kui see on hädavajalik.
Ärge kandke turvavööd, kui kaitseraud on langetatud asendis.
Sõitke aeglaselt ja ettevaatlikult.
Tõstke kaitseraud niipea, kui see on võimalik.
Enne objektide alt läbi sõitmist (nt oksad, ukseavad, elektrijuhtmed) kontrollige hoolikalt pea kohal olevat vaba ruumi ja vältige neile pihta sõitmist.
Important: Kasutage alati turvavööd, kui kaitseraud on tõstetud asendis.
Tõstke kaitseraud tööasendisse ja keerake nuppe, kuni need liiguvad osaliselt soontesse (Joonis 8).
Tõstke kaitseraud täiesti püstisesse asendisse, lükates samal ajal kaitseraua ülemist osa, nii et tihvtid liiguvad oma kohale, kui augud on tihvtidega kohakuti (Joonis 8).
Lükake kaitserauda ja veenduge, et mõlemad tihvtid oleksid kinni (Joonis 9).

Kui turvalukustuse lülitid on lahutatud või kahjustatud, võib masin ootamatult tööle hakata ja kehavigastusi tekitada.
Äge lukustuse lüliteid muutke.
Kontrollige lukustuse lülitite toimimist iga päev ja vahetage kõik kahjustatud lülitid enne masina kasutamist välja.
Turvalukustuse süsteem on loodud mootori käivitumist takistama; välja arvatud juhul, kui:
Seisupidur on rakendatud.
Terade juhtlüliti (PTO) on välja lülitatud.
Juhthoovad on NEUTRAALASENDIS.
Turvalukustuse süsteem on ette nähtud ka mootori väljalülitamiseks, kui juhthoovad liigutatakse NEUTRAALASENDIST välja, samal ajal kui seisupidur on rakendatud, või kui tõusete istmelt, kui terade juhtlüliti (PTO) on sisse lülitatud.
Horizoni monitoril on näidikud, mis annavad kasutajale teada, kui turvalukustuskomponent on õiges asendis. Kui lukustuskomponent on õiges asendis, kuvatakse ekraanil näidik.

| Hooldusintervallid | Hooldustoimingud |
|---|---|
| Enne iga kasutamist või iga päev |
|
Kontrollige turvalukustuse süsteemi iga kord enne masina kasutamist. Kui turvalukustuse süsteem ei tööta allpool kirjeldatud viisil, laske see volitatud hooldusfirmal kohe remontida.
Istuge istmele, rakendage seisupidur ja liigutage terade juhtlüliti (PTO) asendisse SEES. Proovige mootorit käivitada; mootor ei tohiks käivituda.
Istuge istmele, rakendage seisupidur ja liigutage terade juhtlüliti (PTO) asendisse VäLJAS. Liigutage üht juhthoobadest NEUTRAALASENDIST välja. Proovige mootorit käivitada; mootor ei tohiks käivituda. Korrake sama teise juhthoovaga.
Istuge istmele, rakendage seisupidur, liigutage terade juhtlüliti (PTO) asendisse VäLJAS ning juhthoovad NEUTRAALASENDISSE. Nüüd käivitage mootor. Kui mootor töötab, vabastage seisupidur, lülitage sisse terade juhtlüliti (PTO) ja tõuske kergelt istmelt üles; mootor peaks seiskuma.
Istuge istmele, rakendage seisupidur, liigutage terade juhtlüliti (PTO) asendisse VäLJAS ning juhthoovad NEUTRAALASENDISSE. Nüüd käivitage mootor. Kui mootor töötab, liigutage üht juhthoobadest (edasi või tagasi); mootor peaks seiskuma. Korrake sama teise juhthoovaga.
Istuge istmele, vabastage seisupidur, liigutage terade juhtlüliti (PTO) asendisse VäLJAS ning juhthoovad NEUTRAALASENDISSE. Proovige mootorit käivitada; mootor ei tohiks käivituda.
Istet saab ette- või tahapoole liigutada. Seadke iste asendisse, kus teil on masina üle parim kontroll ja kõige mugavam olla (Joonis 11).

Istme vabastamiseks lükake istme riivi ettepoole (Joonis 12).

Iste on sujuvama ja mugavama sõidu võimaldamiseks seadistatav. Paigutage iste võimalikult mugavasse asendisse.
Parima mugavuse saavutamiseks pöörake istme nuppu seadistamiseks kummaski suunas (Joonis 13).

Kasutaja/operaator võib ära hoida õnnetusi ja vastutab nende eest, mis võivad tekitada kehavigastusi või põhjustada varakahju.
Olge võimalikult tähelepanelik masina töötamise ajal. Ärge tegelege tegevustega, mis juhivad tähelepanu kõrvale; vastasel korral võivad tekkida vigastused või varaline kahju.
Ärge kasutage masinat haigena, väsinuna või alkoholi ja ravimite mõju all.
Kokkupuude teraga võib põhjustada tõsiseid vigastusi. Lülitage mootor välja, eemaldage süütevõti ja oodake kõigi liikuvate osade peatumist, enne kui töötamiskohast lahkute. Kui keerata võti asendisse VÄLJAS, peaks mootor välja lülituma ja tera peaks peatuma. Kui see ei ole nii, lõpetage kohe masina kasutamine ning pöörduge volitatud teeninduse poole.
Kasutage masinat ainult hea nähtavuse ja sobivate ilmastikutingimuste korral. Ärge kasutage masinat, kui esineb äikeseoht.
Hoidke käed ja jalad lõikeosadest eemale. Hoiduge väljaviskeavast eemale.
Ärge niitke tagurpidi käigul, kui see just möödapääsmatu pole. Enne tagurdamist vaadake alati enda taha ja alla.
Olge nähtavust piiravatele pimenurkadele, põõsastele, puudele või muudele objektidele lähenedes eriti ettevaatlik.
Peatage terad, kui te ei niida.
Kui masin läheb mis tahes eseme vastu või hakkab vibreerima, lülitage mootor kohe välja, eemaldage süütevõti (kui on varustuses) ja oodake, kuni kõik liikuvad osad seiskuvad, enne kui hakkate masinat võimalike kahjustuste suhtes kontrollima. Enne tööde jätkamist tehke kõik vajalikud parandustööd.
Vähendage kiirust masinaga pööramisel ning olge tänavate ja kõnniteede ületamisel ettevaatlik. Andke alati teed.
Enne juhikohalt lahkumist tehke järgmist.
Parkige masin tasasele pinnasele.
Seisake mootor ja laske tarvikud alla.
Rakendage seisupidur.
Lülitage mootor välja ja eemaldage võti.
Oodake, kuni kõik liikuvad osad peatuvad.
Käitage mootorit ainult hästiventileeritud kohtades. Heitgaas sisaldab vingugaasi, mille sissehingamine on surmav.
Ärge jätke töötavat masinat valveta.
Kasutage koorma vedamiseks alati konksu.
Ärge töötage masinaga, kui kõik selle kaitse- ja turvaseadmed, näiteks deflektor, pole paigas ega tööta korralikult. Vajaduse korral vahetage välja kulunud või kahjustatud osad.
Kasutage Toro poolt heakskiidetud tarvikuid ja lisaseadmeid.
Selle masina müratase juhi kõrvade juures on üle 85 dBA ning pikaajaline kokkupuude sellega võib põhjustada kuulmise kaotust.

Puhastage lõikeseade, juhthoovad, summuti ja mootor murust ning prahist, et vältida võimaliku tulekahju tekkimise ohtu.
Mootorit käivitades hoidke jalad teradest kaugel eemal.
Olge teadlik niiduki väljastussuunast ja suunake väljastus teistest eemale. Vältige materjali väljastamist vastu seina või takistust, kuna materjal võib teie suunas tagasi põrgata.
Ületades pindu, millel ei kasva muru, ja transportides niidukit niidetavale alale ja sealt ära, peatage terad, aeglustage kiirust ja olge ettevaatlik.
Ärge muutke mootori regulaatori kiirust ega ületage mootori lubatud pöörlemissagedust.
Masin ja niitmine meelitavad sageli lapsi ligi. Ärge kunagi eeldage, et lapsed püsivad seal, kus te neid viimati nägite.
Hoidke lapsed niitmisalast eemale ja teise vastutava täiskasvanu, mitte masina operaatori, tähelepaneliku hoole all.
Juhul kui tööpiirkonda satuvad lapsed, olge valvas ja lülitage masin välja.
Enne tagurdamist või suuna muutmist vaadake laste märkamiseks enda taha, alla ja külgedele.
Ärge lapsi sõidutage; isegi mitte seisatud teradega. Lapsed võivad kas maha kukkuda ja raskelt viga saada või masina ohutut töötamist segada. Lapsed, keda on varasemalt sõidutatud, võivad veel üheks sõiduks ootamatult tööalasse ilmuda ja te võite neist masinaga üle sõita või üle tagurdada.
ROPS on lahutamatu ohutusseade. Ärge eemaldage masinalt ühtki ROPS-i osa.
Veenduge, et turvavöö oleks kinnitatud ja et saaksite selle hädaolukorras kiiresti lahti teha.
Hoidke kaitseraud täielikult tõstetud ja lukustatud asendis ning kandke alati turvavööd, kui kaitseraud on üleval.
Enne objektide alt läbi sõitmist kontrollige neid hoolikalt ja vältige neile pihta sõitmist.
Vahetage ROPS-i kahjustatud osad välja. Ärge remontige ega muutke neid.
Kui kaitseraud on langetatud, siis ümbermineku kaitse puudub.
Üle servade, järskude kallaste või vette kukkuvad rattad võivad põhjustada ümbermineku, mille tagajärjeks võivad olla rasked vigastused või surm.
Ärge kandke turvavööd, kui kaitseraud on langetatud.
Langetage kaitseraud ainult siis, kui see on hädavajalik; tõstke see niipea, kui see on võimalik.
Ümbermineku korral viige masin volitatud teenindusse, et ROPS üle vaadata.
Kasutage ROPS-i jaoks ainult Toro heakskiidetud tarvikuid ja lisaseadmeid.
Kallakud on ühed peamised juhitavuse kaotamise ja ümbermineku põhjused, mis võivad tekitada raskeid või eluohtlikke vigastusi. Operaator vastutab seadme ohutu kasutamise eest kallakutel. Masina kasutamisel mis tahes kallakul tuleb olla äärmiselt ettevaatlik. Enne masina kallakul kasutamist tehke järgmist:
Vaadake läbi juhendis ja masinal olevad kallakuga seotud juhised ning mõistke neid.
Kasutage kaldenurga näidikut, et määrata kindlaks tööala kallaku ligikaudne nurk.
Ärge kunagi kasutage masinat kallakutel, mis on suuremad kui 15°.
Hinnake kohapealseid tingimusi, et teha kindlaks, kas kallak on masinaga töötamiseks ohutu. Lähtuge hindamise käigus mõistlikkusest ja heast otsustusvõimest. Maastiku muutused, näiteks niiskus, võivad kiiresti mõjutada masina tööd kallakul.
Tuvastage kallaku põhjas leiduda võivad ohud. Ärge kasutage masinat laskumiste, kraavide, vallide, vee või muude ohtude läheduses. Kui ratas läheb üle serva või kui serv kokku vajub, võib masin ootamatult ümber minna. Hoidke ohutut kaugust (kahekordne masina laius) masina ja mis tahes ohu vahel. Neis kohtades muru niitmiseks kasutage lükatavat masinat või käsitrimmerit.
Vältige masina käivitamist, seiskamist või pööramist kallakutel. Vältige kiiruse või suuna ootamatut muutmist; pöörake aeglaselt ja järk-järgult.
Ärge kasutage masinat mingil juhul olukordades, kus veojõud, juhtimine või stabiilsus on kahtluse all. Olge teadlik sellest, et masinaga töötamine märjal murul, kallakuga risti või allamäge suunal võib tuua kaasa masina veojõu kadumise. Veorataste veojõu kadumise tulemuseks võib olla libisemine ja pidurdamise ning juhtimise kadumine. Masin võib libiseda isegi siis, kui veorattad on seiskunud.
Eemaldage või märgistage takistused, näiteks kraavid, augud, rööpad, konarused, kivid või muud varjatud ohud. Kõrge rohu sees võivad olla peidus takistused. Masin võib ebaühtlasel maastikul ümber kukkuda.
Olge tarvikute või lisaseadiste kasutamisel äärmiselt ettevaatlik. Need võivad mõjutada masina stabiilsust ja juhitavust. Kasutage vastukaale juhiste kohaselt.
Kallakutel töötades hoidke korpus võimaluse korral maapinnani alla lastuna. Korpuse tõstmine kallakutel töötamise ajal võib tuua kaasa masina ebastabiilseks muutumise.

Masina peatades või järelevalveta jättes rakendage alati seisupidur.
Parkige masin tasasele pinnasele.


Terade juhtlüliti (PTO) lülitab niiduki terad ning kõik elektrilised tarvikud sisse ja välja.
Note: Terade juhtlüliti (PTO) sisselülitamine sel ajal, kui gaasihoob on poole peal või väiksemas asendis, põhjustab veorihmade liigset kulumist.


Important: Ärge käitage käivitit kauem kui 5 sekundit korraga. Kui mootor ei käivitunud, oodake 15 sekundit ja proovige uuesti. Vastasel juhul võib käiviti mootori läbi põleda.
Note: Kui kütusepaak on olnud täiesti tühi, võib mootori esmane käivitus nõuda mitu katset.

Lapsed või kõrvalised isikud võivad saada vigastada, kui nad liigutavad või proovivad kasutada järelevalveta masinat.
Kui jätate masina järelevalveta, eemaldage alati süütevõti ja rakendage seisupidur.


Sõidurattad keerlevad üksteisest sõltumatult, igal teljel on oma hüdrauliline mootor. Ühe rattaga on võimalik tagurdada ja samal ajal teisega edasi sõita, mille tulemusena hakkab masin pöörlema. See parandab masina manööverdusvõimet, aga selline liikumine nõuab harjumist.
Gaasihoob reguleerib mootori kiirust, mida mõõdetakse pööretes minuti kohta (rpm). Parima jõudluse saamiseks asetage gaasihoob asendisse KIIRE. Niitmise ajal hoidke gaasi alati põhjas.
Masin võib pöörelda väga kiiresti. Juhitavuse kaotades võite vigastada ennast või kahjustada masinat.
Pöörake ettevaatlikult.
Aeglustage enne järske pöördeid.
Note: Kui seisupidur on rakendatud, suretab gaasipedaali surumine mootori välja.
Masina peatamiseks tõmmake juhthoovad asendisse NEUTRAAL.
Vabastage seisupidur.
Liigutage juhthoovad keskele, lukustamata asendisse.
Edasi sõitmiseks lükake juhthoovad aeglaselt ettepoole (Joonis 23).

Liigutage juhthoovad keskele, lukustamata asendisse.
Tagurpidi sõitmiseks tõmmake juhthoovad aeglaselt tahapoole (Joonis 24).

Seadistage lõikekõrgust 6 mm kaupa vahemikus 25-140 mm, paigutades kahvli tihvti erinevatesse aukudesse.
Vajutage niiduki korpuse tõstelülitit mootori töötamise ajal tahapoole, kuni korpus on lõpuni tõstetud ja laske lüliti kohe lahti.
Pöörake lõikekõrguse tihvti, kuni selles olev torutihvt ühtib tõstekõrguse toendi aukudes olevate soontega ja eemaldage see (Joonis 25).
Sisestage lõikekõrguse tihvt avasse, mis vastab soovitud lõikekõrgusele (Joonis 25).
Vaadake lõikekõrgust korpuse tõsteplaadi küljel olevalt kleebiselt (Joonis 25).
Liigutage korpus korpuse tõstelüliti abil transpordiasendi (140 mm) kõrguselt alla valitud kõrgusele.

Korpuse suurima ujuvuse tagamiseks paigaldage tugirattad ühe augu võrra madalamale. Tugirattad peavad jääma maapinnast 6 mm kõrgusele. Ärge seadistage tugirattaid korpust toetama.
Parkige masin tasasele pinnasele.
Lülitage terade juhtlüliti (PTO) välja, viige juhthoovad NEUTRAALASENDISSE ja rakendage seisupidur.
Lülitage mootor välja, eemaldage süütevõti ja oodake kõigi liikuvate osade peatumist, enne kui töötamiskohast lahkute.
Reguleerige lõikekorpuse tugirattaid; vt Joonis 26 ja Joonis 27.


Pingutage äärikmutter pingutusmomendiga 41 kuni 47 N∙m.
Üle 51 mm lõikekõrgustega käitamiseks kinnitage suusad madalamasse asendisse ja alla 51 mm lõikekõrgustega käitamiseks kõrgemasse asendisse.
Reguleerige suuski, nagu on näidatud Joonis 28.

Mootori ülekuumenemisel lahutatakse käitusvõll, kostub helialarm ja ribanäidikul kuvatakse mootori temperatuuri. Käitusvõll ei ühendu enne, kui mootor on jahtunud ning kasutaja käitusvõlli käsitsi seiskab ja tagasi ühendab.
Note: Kui mootori jahutusvedeliku nivoo on külmal mootori allpool paisupaagi näidujoont, ei pruugi jahutusvedeliku temperatuuri andur mootori käituse ajal õigesti näidata ja/või ülekuumenemise korral ei pruugi helialarmi anda.
Parima niitmise ja maksimaalse õhuringluse jaoks hoidke mootorit asendis KIIRE. Õhk on muru lõikamiseks vajalik, nii et ärge seadke lõikekõrgust nii madalaks, et niiduki korpus oleks täielikult niitmata muru sees. Püüdke hoida üht niiduki korpuse külge niitmata murust eemal, et niiduk saaks õhku juurde.
Tagamaks, et niiduki korpuse lõikekõrgus ei lõikaks ebaühtlaselt pinnalt liiga madalalt, niitke muru tavapärasest veidi kõrgemalt. Ent üldiselt on kõige parem kasutada varasemalt kasutatud lõikekõrgust. Kui muru on kõrgem kui 15 cm, on soovitatav niita kaks korda, et tagada niitmise vastuvõetav kvaliteet.
Lõigake korraga umbes kolmandik rohulible pikkusest. Sellest rohkema niitmine pole soovitatav, välja arvatud juhul, kui muru on hõre või kui on hilissügis, mil muru aeglasemalt kasvab.
Selleks et hoida muru püstiselt kasvavana, vaheldage lõikesuunda. See aitab ka lõigatud muru hajutada ja seeläbi lagundamist ning väetamist parandada.
Erinevatel aastaaegadel kasvab muru erineva kiirusega. Sama lõikekõrguse säilitamiseks niitke muru varakevadel sagedamini. Kui muru kasvamise kiirus suve keskpaigas aeglustub, niitke harvemini. Kui te ei saa pikema aja jooksul muru niita, niitke muru esmalt suurema lõikekõrgusega ja seejärel kaks päeva hiljem uuesti väiksema kõrgusega.
Niitmiskvaliteedi parandamiseks kasutage teatud oludes väiksemat kiirust.
Ebatasasel pinnasel niites suurendage liiga madalalt niitmise vältimiseks lõikekõrgust.
Kui peate masina edasisuunas liikumise niitmise ajal peatama, võivad teie murule suured murutükid kukkuda. Selle vältimiseks liikuge töötavate lõiketeradega eelnevalt lõigatud alale või peatage lõiketerad edasisuunas liikumise pealt.
Puhastage niiduki korpuse alumine külg pärast igat kasutamist lõigatud murust ja mustusest. Kui niiduki korpuse sisse koguneb muru ja mustust, muutub niitmiskvaliteet lõpuks ebarahuldavaks.
Hoidke tera(d) kogu niitmishooaja jooksul teravana, kuna terav tera lõikab puhtalt ilma rohuliblesid rebimata või hakkimata. Rebimine ja hakkimine muudavad muru servast pruuniks ning see aeglustab kasvu ja suurendab haiguste esinemise võimalust. Kontrollige niiduki terasid pärast igat kasutamist teravuse ja igasuguse kulumise osas. Viilige maha kõik täkked ja teritage terasid vastavalt vajadusele. Kui tera on kahjustatud või kulunud, asendage see kohe Toro originaal-varuteraga.
Lülitage mootor välja, eemaldage süütevõti ja oodake kõigi liikuvate osade peatumist, enne kui istmelt lahkute. Enne hooldamist, seadistamist, tankimist, puhastamist või hoiustamist laske masinal jahtuda.
Puhastage lõikeseade, summuti, juhthoovad, ja mootoriruum murust ja prahist, et vältida võimaliku tulekahju tekkimise ohtu. Pühkige ära möödavalatud õli või kütus.
Enne masina hoiustamist või transportimist sulgege kütuse juurdevool ja eemaldage süütevõti.
Veorataste vabastusventiile kasutatakse hüdrostaatilise veosüsteemi vabastamiseks, et võimaldada masinat ilma mootorit käitamata kohalt lükata.
Vabastamiseks keerake iga möödaviigu ventiili 1 pööre vastupäeva; süsteemi ennistamiseks keerake iga möödaviigu ventiili päripäeva (Joonis 29).
Important: Ärge liiga tugevalt pingutage. Ärge pukseerige masinat.

Kasutage masina transportimiseks suure jõudlusega haagist või veokit. Kasutage täislaiusega kaldteed. Veenduge, et haagisel või veokil oleksid kõik seadusega nõutud pidurid, tuled ja märgistused. Lugege hoolikalt kõiki ohutussuuniseid. Need teadmised võivad aidata teil vältida enda või kõrvalolijate vigastamist. Järgige haagisele ja masina kinnitamisele kehtivate nõuete osas kohalikke eeskirju.
Sõitmine tänaval või teel ilma suunatuledeta, tuledeta, peegeldavate märgistusteta või aeglase sõiduki tunnusmärgita on ohtlik ja võib põhjustada kehavigastustega lõppevaid õnnetusi.
Ärge sõitke masinaga üldkasutataval tänaval või teel.
Masina laadimine haagisele või veokile suurendab selle ümberminekuohtu ja võib tekitada raskeid või eluohtlikke vigastusi (Joonis 30).
Kasutage ainult täislaiuses kaldteed; ärge kasutage masina mõlema külje jaoks eraldi kaldteed.
Ärge ületage 15-kraadist nurka kaldtee ja maapinna vahel või kaldtee ja haagise või veoki vahel.
Veenduge, et kaldtee pikkus võrduks vähemalt neljakordse haagise või veoki platvormi kõrgusega maapinnast. See tagab, et kaldtee nurk ei ületa tasasel pinnal 15 kraadi.

Masina laadimine haagisele või veokile suurendab selle ümberminekuohtu ja võib tekitada raskeid või eluohtlikke vigastusi.
Juhtige masinat kaldteel äärmiselt ettevaatlikult.
Tagurdage masinaga kaldteedest üles ja sõitke edasisuunas kaldteedest alla.
Vältige masinaga kaldteele sõitmisel järsku kiirendamist või aeglustamist, kuna selle tagajärjel võib masin kontrolli alt väljuda või ümber minna.
Haagise kasutamisel ühendage see puksiirsõiduki külge ja kinnitage turvaketid.
Võimaluse korral ühendage haagise pidurid ja tuled.
Langetage kaldtee, veendudes, et kaldtee ja maapinna vaheline nurk ei ületa 15 kraadi (Joonis 30).
Tagurdage masinaga kaldteest üles (Joonis 31).

Lülitage masin välja, eemaldage süütevõti ja rakendage seisupidur.
Kinnitage masin rihmade, trosside või nööride abil eesmiste rullikrataste ja tagumise raami juurest (Joonis 32). Järgige masina kinnitamisele kehtivate nõuete osas kohalikke eeskirju.

Kui jätate süütevõtme süütelukku, võib keegi kogemata mootori käivitada ja teile või kõrvalistele isikutele raskeid vigastusi tekitada. Enne hoolduse tegemist eemaldage võti süütelülitist.
Enne juhikohalt lahkumist tehke järgmist.
Parkige masin tasasele pinnasele.
Vabastage hoovad.
Rakendage seisupidur.
Lülitage mootor välja ja eemaldage võti.
Laske masina osadel enne hooldust jahtuda.
Ärge lubage väljaõppeta isikul masinat hooldada.
Hoidke käed ja jalad liikuvatest osadest ja kuumadest pindadest eemale. Võimalusel ärge teostage reguleerimisi töötava mootoriga.
Vabastage pingestatud komponendid ettevaatlikult pinge alt.
Kontrollige regulaarselt seisupidur toimimist. Vajaduse korral reguleerige ja hooldage.
Ärge kunagi tehke muudatusi ohutusseadmetele. Kontrollige nende nõuetekohast toimimist regulaarselt.
Puhastage lõikeseade, summuti, juhthoovad ja mootoriruum murust ja prahist, et vältida võimaliku tulekahju tekkimise ohtu.
Puhastage õli- ja kütuselekked ning eemaldage kütusega määrdunud praht.
Ärge jääge toestamisel lootma ainult mehaanilistele või hüdraulilistele tungraudadele. Kasutage masina tõstmiseks piisavate näitajatega tugipukke.
Hoidke kõik osad, eelkõige terade kinnitused, heas töökorras ja korralikult kinnitatud. Asendage kõik kulunud või kahjustatud sildid.
Enne masina remontimist lahutage aku. Esmalt lahutage miinusklemm ja seejärel plussklemm. Ühendage esmalt plussklemm ja seejärel miinusklemm.
Optimaalse jõudluse tagamiseks kasutage ainult Toro originaalvaruosi ja lisaseadmeid. Teiste tootjate varuosad ja lisaseadmed võivad olla ohtlikud ning nende kasutamine võib tühistada garantii kehtivuse.
| Hooldusintervallid | Hooldustoimingud |
|---|---|
| Pärast esimest 100 tundi |
|
| Pärast esimest 200 tundi |
|
| Enne iga kasutamist või iga päev |
|
| Iga 50 tunni järel |
|
| Iga 100 tunni järel |
|
| Iga 200 tunni järel |
|
| Iga 400 tunni järel |
|
| Iga 500 tunni järel |
|
| Iga 800 tunni järel |
|
| Iga 2000 tunni järel |
|
| Kord kuus |
|
| Kord aastas |
|
Important: Hoolduse kohta teabe saamiseks vt mootori kasutusjuhendit.
Kui jätate süütevõtme süütelukku, võib keegi kogemata mootori käivitada ja teile või kõrvalistele isikutele raskeid vigastusi tekitada.
Enne hoolduse tegemist seisake mootor ja eemaldage süütevõti süütelukust.
| Hooldusintervallid | Hooldustoimingud |
|---|---|
| Iga 400 tunni järel |
|
| Kord aastas |
|
Kui töökeskkond on erakordselt tolmune või liivane, määrige tihedamini.
Määrde tüüp: liitium- või molübdeenmääre nr 2
Parkige masin tasasele pinnale, lülitage välja terade juhtlüliti ja rakendage seisupidur.
Lülitage mootor välja, eemaldage süütevõti ja oodake kõigi liikuvate osade peatumist, enne kui töötamiskohast lahkute.
Puhastage määrdeniplid lapiga.
Note: Kraapige määrdeniplite otstelt maha kõik värvijäägid.
Ühendage määrdepüstol määrdenipliga.
Pumbake niplitesse määret, kuni seda hakkab laagritest väljuma.
Pühkige üleliigne määre ära.
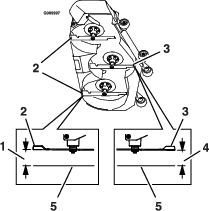
Vaadake järgmisest tabelist niplite asukohti ja määrimiskava.
| Määrimistabel | |||
|---|---|---|---|
| Niplite asukohad | Pumbalöögid | Kohtade arv | Hooldusintervall |
| 1. Korpuse ajami käitusvõll | 1 | 3 | Iga 50 tunni järel |
| 2. Korpuse pendelliigendid | 1 | 1 | Iga 400 tunni järel või iga aasta |
| 3. Rullikratta laagrid | 0 | 2 | Iga aasta |
| 4. Rullikratta tapid | 0 | 2 | Iga 400 tunni järel või iga aasta |
![]() |
| Hooldusintervallid | Hooldustoimingud |
|---|---|
| Iga 50 tunni järel |
|
Note: Ajami universaaliigenditele ja hammasühendusele lihtsamaks juurdepääsuks eemaldage põrandavann ja langetage niiduki korpus lõpuni alla.
Parkige masin tasasele pinnale, lülitage välja terade juhtlüliti ja rakendage seisupidur.
Lülitage mootor välja, eemaldage süütevõti ja oodake kõigi liikuvate osade peatumist, enne kui töötamiskohast lahkute.
Puhastage määrdeniplid lapiga.
Ühendage määrdepüstol määrdenipliga.
Pumbake niplitesse määret, kuni seda hakkab laagritest väljuma.
Pühkige üleliigne määre ära.

| Hooldusintervallid | Hooldustoimingud |
|---|---|
| Iga 400 tunni järel |
|
| Kord aastas |
|
Parkige masin tasasele pinnale, lülitage välja terade juhtlüliti ja rakendage seisupidur.
Lülitage mootor välja, eemaldage süütevõti ja oodake kõigi liikuvate osade peatumist, enne kui töötamiskohast lahkute.
Eemaldage tolmukübar ja reguleerige rullikute tappe ning ärge pange tolmukübarat tagasi enne, kui määrimine on lõpetatud; vt jaotist Rullikratta laagri seadistamine.
Eemaldage kuusnurkkork.
Keerake auku määrdenippel.
Pumbake määret niplisse, kuni see immitseb ülemise laagri juurest välja.
Eemaldage määrdenippel august. Paigaldage kuusnurkkork ja kübar.
| Hooldusintervallid | Hooldustoimingud |
|---|---|
| Kord aastas |
|
Parkige masin tasasele pinnale, lülitage välja terade juhtlüliti ja rakendage seisupidur.
Lülitage mootor välja, eemaldage süütevõti ja oodake kõigi liikuvate osade peatumist, enne kui töötamiskohast lahkute.
Tõstke niidukit, et pääseda ligi.
Eemaldage rullikratas kahvelkinnitist.
Eemaldage rattarummu tihendkaitse.

Eemaldage vahemutter rullikratta teljekoostult.
Note: Vahemutrite kinnitamiseks teljele on kasutatud keermeliimi.
Eemaldage telg (teine vahemutter jätkuvalt selle küljes kinni) rattakoostult.
Kangutage tihendid välja ja kontrollige laagrite kulumist ja üldist seisundit ning vahetage vajaduse korral välja.
Täitke laagrid universaalmäärdega.
Sisestage rattasse üks laager ja üks uus tihend.
Kui teljekoostult puuduvad mõlemad vahemutrid, kandke keermeliim ühele vahemutrile ja keerake see teljele nii, et mutrivõtme pinnad jääksid väljapoole.
Note: Ärge keerake vahemutrit kuni telje lõpuni. Jätke umbes 3 mm vahemutri välispinnast kuni telje otsani mutri sees.
Sisestage kokkupandud mutter ja telg küljel rattale koos uue tihendiga ja laagriga.
Asetage ratas nii, et lahtine ots oleks suunatud üles, ja täitke telje ümber olev ratta sisemus universaalmäärdega.
Sisestage rattasse teine laager ja uus tihend.
Kandke keermeliim teisele vahemutrile ja keerake see teljele nii, et mutrivõtme pinnad jääksid väljapoole.
Keerake mutter kinni jõuni 8–9 N∙m, lõdvendage mutrit, seejärel keerake see kinni jõuni 2–3 N∙m.
Note: Jälgige, et telg ei ulatuks kummastki mutrist üle.
Paigaldage tihendkaitsed rattarummule ja sisestage ratas kahvelkinnitisse.
Paigaldage rullikratta polt ja keerake mutter täielikult kinni.
Important: Selleks et vältida tihendi ja laagri kahjustamist, kontrollige laagri seadistust sageli. Keerake rullikratast. Ratas ei tohi vabalt keerelda (üle ühe või kahe pöörde) ega olla küljelõtkuga. Kui ratas pöörleb vabalt, reguleerige vahemutri pingutusmomenti, kuni on tunda veidi takistust. Kandke peale uus kiht keermeliimi.
Hoidke käed, jalad, nägu, riided ja muud kehaosad summutist ning teistest kuumadest pindadest eemal. Laske mootori osadel enne hooldust jahtuda.
Ärge muutke mootori regulaatori kiirust ega ületage mootori lubatud pöörlemissagedust.
| Hooldusintervallid | Hooldustoimingud |
|---|---|
| Iga 400 tunni järel |
|
Parkige masin tasasele pinnale, lülitage välja terade juhtlüliti (PTO) ja rakendage seisupidur.
Lülitage mootor välja, eemaldage süütevõti ja oodake kõigi liikuvate osade peatumist, enne kui töötamiskohast lahkute.
Veenduge, et õhupuhasti kestal ei oleks kahjustusi, mis võiksid õhku läbi lasta.
Vahetage kahjustunud õhupuhasti kest välja.
Veenduge, et õhuvõtusüsteemil ei oleks lekkeid, kahjustusi ega lahtisi voolikuklambreid.
Hooldage õhupuhasti filtrit ja ohutuselement hoiatuse järgi (Joonis 35).
Important: Ärge hooldage õhufiltrit liiga sageli.

Tagage, et kaas istub korralikult ja tihendub õhupuhasti kestaga.
Note: Kui kaane vahttihend on kahjustatud, asendage see uuega.
Important: Vältige suruõhu kasutamist, sest see võib suruda mustuse läbi filtri sisselaskekollektorisse.
Important: Vältige kasutatud filtri puhastamisel filtrimaterjali kahjustamist.
Important: Ärge kasutage kahjustatud filtrit.
Important: Ärge rakendage filtri elastsele keskkohale jõudu.

| Hooldusintervallid | Hooldustoimingud |
|---|---|
| Pärast esimest 200 tundi |
|
| Enne iga kasutamist või iga päev |
|
| Iga 200 tunni järel |
|
| Iga 400 tunni järel |
|
| Kord aastas |
|
Mootor tarnitakse õliga karteris; aga enne mootor esmakordset käivitamist ja pärast seda mõõtke õlinivood. Mõõtke õlinivood iga päev ja iga kord enne masina käivitamist.
Yanmari 25 hj diiselmootori karteri õlikogus: 4,7 l koos filtriga
Yanmari 37 hj diiselmootori karteri õlikogus: 6,6 l koos filtriga
Eelistatud mootoriõli: Toro Premium mootoriõli
Kui kasutate asendusõli, kasutage kvaliteetset, väikese tuhasusega mootoriõli, mis vastab või ületab järgmisi spetsifikatsioone:
API kasutukategooria CJ-4 või kõrgem
ACEA kasutuskategooria E6
JASO kasutuskategooria DH-2
Important: Muude, kui API klassi CJ-4 või kõrgema, ACEA E6 või JASO DH-2 mootoriõli kasutamine võib põhjustada diisli kübemefiltri ummistumise või mootori kahjustuse.
Kasutage järgmise viskoossusklassiga mootoriõlisid:
SAE 10W-30 või 5W-30 (all temperatuurid)
SAE 15W-40 (üle 0 °C)
Note: Teie edasimüüja pakub teile Toro Premium mootoriõli. Varuosade numbreid vaadake varuosade kataloogist või küsige Toro volitatud edasimüüjalt.
Parkige masin tasasele pinnale, lülitage välja terade juhtlüliti (PTO) ja rakendage seisupidur.
Lülitage mootor välja, eemaldage süütevõti ja oodake kõigi liikuvate osade peatumist, enne kui töötamiskohast lahkute.
Avage kapott.
Mõõtke mootoriõli nivood, nagu näidatud Joonis 37.

Võimaluse korral laske mootoril enne õlivahetust töötada, kuna soe õli voolab paremini ja kannab rohkem saasteaineid kui külm õli.
Parkige masin tasasele pinnale, lülitage välja terade juhtlüliti (PTO) ja rakendage seisupidur.
Lülitage mootor välja, eemaldage süütevõti ja oodake kõigi liikuvate osade peatumist, enne kui töötamiskohast lahkute.
Avage kapott.
Vahetage mootoriõli, nagu on näidatud Joonis 38.

Asendage mootoriõli filter, nagu näidatud Joonis 39.

Täitke karter õliga, vt jaotist Mootoriõli spetsifikatsioonid.
| Hooldusintervallid | Hooldustoimingud |
|---|---|
| Iga 800 tunni järel |
|
Mõõtke mootori klapilõtku. Vaadake mootori kasutusjuhendit.
Teatud tingimustes on kütus äärmiselt kergesti süttiv ja väga plahvatusohtlik. Kütusest põhjustatud tulekahju või plahvatus võib põletada teid ja teisi ning kahjustada vara.
Kõik kütusega seotud ettevaatusabinõud leiate jaotisest Kütuse ohutus.
| Hooldusintervallid | Hooldustoimingud |
|---|---|
| Iga 50 tunni järel |
|
Parkige masin tasasele pinnale, lülitage välja terade juhtlüliti ja rakendage seisupidur.
Lülitage mootor välja, eemaldage süütevõti ja oodake kõigi liikuvate osade peatumist, enne kui töötamiskohast lahkute.
Pange kütusefiltri/veeseparaatori alla kogumisvann.
Avage veeseparaatori tühjenduskork ligikaudu 1 pöörde ulatuses, et vesi ja muud saasteained välja lasta (Joonis 40).

Kui filtrist väljub ainult puhas diislikütus, sulgege tühjenduskork.
Important: Vesi ja muud kütuses olevad saasteained kahjustavad kütusepumpa ja/või muid mootori koosteosi.
| Hooldusintervallid | Hooldustoimingud |
|---|---|
| Iga 400 tunni järel |
|

| Hooldusintervallid | Hooldustoimingud |
|---|---|
| Iga 400 tunni järel |
|
Hinnake kütusetorustiku lagunemise, kahjustuste, hõõrdumiste või lahtiste ühenduste puudumist.
Enne masina remontimist lahutage aku. Esmalt lahutage miinusklemm ja seejärel plussklemm. Ühendage esmalt plussklemm ja seejärel miinusklemm.
Laadige akut avatud ja hea ventilatsiooniga kohas, kus ei esine sädeme- või leegiohtu. Eemaldage laadija enne aku ühendamist või lahtiühendamist vooluvõrgust. Kandke kaitseriietust ja kasutage isoleeritud tööriistu.
Akuelektrolüüt sisaldab väävelhapet, mis on alla neelates eluohtlik ja põhjustab tõsiseid põletusi.
Ärge jooge elektrolüüti ja vältige kokkupuudet naha, silmade või rõivastega. Kandke silmade kaitseks kaitseprille ja käte kaitseks kummikindaid.
Aku klemmid või metallist tööriistad võivad masina metallist osadega kokku puutudes lühise tekitada ja sädemete teket põhjustada. Sädemed võivad põhjustada akugaaside plahvatamise, tuues kaasa kehavigastuse.
Aku eemaldamisel või paigaldamisel ärge laske klemmidel puutuda kokku masina ühegi metallosaga.
Ärge laske metallist tööriistadel aku klemmide ja masina metallist osade vahel lühist tekitada.
Aku kaablite vale paigutus võib kahjustada masinat ja kaableid, põhjustades sädemeid. Sädemed võivad põhjustada akugaaside plahvatamise, tuues kaasa kehavigastuse.
Eemaldage esimesena negatiivne (must) akukaabel ja alles seejärel positiivne (punane) kaabel.
Ühendage esimesena positiivne (punane) akukaabel ja alles seejärel negatiivne (must) kaabel.
Lülitage terade juhtlüliti (PTO) välja, viige juhthoovad NEUTRAALASENDISSE ja rakendage seisupidur.
Lülitage mootor välja, eemaldage süütevõti ja oodake kõigi liikuvate osade peatumist, enne kui töötamiskohast lahkute.
Vabastage istme lukusti ja kallutage iste üles.
Eemaldage aku, nagu näidatud Joonis 42.

Note: Asetage aku alusele nii, et klemmid oleksid hüdropaagist teisel pool.

| Hooldusintervallid | Hooldustoimingud |
|---|---|
| Kord kuus |
|
Aku laadimisprotsess tekitab gaase, mis võivad plahvatada.
Ärge kunagi suitsetage aku läheduses ning hoidke aku sädemetest ja leekidest eemal.
Important: Hoidke aku alati täielikult laetuna (erikaal 1,265). See on eriti oluline vältimaks aku kahjustumist, kui temperatuur on alla 0 °C.
Veenduge, et täiteava korgid oleksid akule paigaldatud. Laadige akut 10–15 minutit 25–30 A juures või 30 minutit 10 A juures.
Kui aku on täis laetud, võtke laadija pistikupesast välja ja seejärel eemaldage akulaadija juhtmed akuklemmide küljest (Joonis 44).
Paigaldage aku masinale ja ühendage aku kaablid; vt jaotist Aku paigaldamine.
Note: Ärge käitage masinat, kui aku on eraldatud; see võib põhjustada elektrilisi kahjustusi.

Elektrisüsteemil on kaitsmed. Need ei vaja hooldust, aga kui kaitse läbi põleb, kontrollige, kas komponendil/vooluringis on tõrkeid või lühis.
Kaitsmeplokile ligipääsuks vabastage kapott riivist ja tõstke kapott üles.
Kaitsme vahetamiseks tõmmake kaitse välja.
Paigaldage uus kaitse (Joonis 45).

| Hooldusintervallid | Hooldustoimingud |
|---|---|
| Enne iga kasutamist või iga päev |
|
Kontrollige turvavööd kulumise ja lõigete suhtes ning tõmburi ja klambri nõuetekohast toimimist. Kui turvavöö on kahjustatud, vahetage see välja.
Lülitage terade juhtlüliti (PTO) välja.
Sõitke avatud tasasele alale ja liigutage juhthoovad NEUTRAALASENDISSE.
Liigutage gaasihoob KIIRE ja AEGLASE asendi keskkohale.
Liigutage mõlemad juhthoovad lõpuni ette, kuni need jõuavad T-pilus tõkestini.
Kontrollige, millises suunas masin sõidab.
Rakendage seisupidur, lülitage mootor välja ja eemaldage võti.
Seadistage tõkesti plaadid, nagu vaja.
Pingutage tõkesti plaat (Joonis 46).

Joondage hoobade ette-taha asend, tuues need NEUTRAALASENDIS kokku ja nihutage neid, kuni need on joondatud ja seejärel pingutage poldid kinni (Joonis 47).

Kui need vajavad joondamist, vabastage joondamata külje juhthoova 2 kinnituspolti (Joonis 48).

Liigutage juhthoob vastaskülje omaga kohakuti.
Pingutage juhthoova 2 kinnituspolti (Joonis 48).
| Hooldusintervallid | Hooldustoimingud |
|---|---|
| Iga 50 tunni järel |
|
Tagarehvide õhurõhu spetsifikatsioon: 124 kPa.
Note: Rullikrataste rehvid on pooleldi õhkrehvid ega vaja rehvirõhu hooldamist.
Madal rehvirõhk vähendab masina nõlvastabiilsust. See võib põhjustada kummulimineku, mis võib lõppeda raske vigastuse või surmaga.
Ärge pumbake rehve alamäära.
Mõõtke tagumiste rehvide õhurõhku. Lisage või eemaldage õhku, et seada rehvidesse rehvirõhu spetsifikatsiooni kohane õhurõhk.
Important: Hoidke kõigis rehvides sama rõhku, et tagada hea niidukvaliteet ja masina korralik toimivus.Enne masina käitamist mõõtke kõikide rehvide õhurõhku.

| Hooldusintervallid | Hooldustoimingud |
|---|---|
| Pärast esimest 100 tundi |
|
Pingutage rattamutreid pingutusmomendiga 115–142 N·m.
| Hooldusintervallid | Hooldustoimingud |
|---|---|
| Iga 500 tunni järel |
|
Parkige masin tasasele pinnale, lülitage välja terade juhtlüliti ja rakendage seisupidur.
Lülitage mootor välja, eemaldage süütevõti ja oodake kõigi liikuvate osade peatumist, enne kui töötamiskohast lahkute.
Eemaldage rullikratta tolmukapsel ja pingutage lukustusmutrit (Joonis 50).
Laagrite korraliku eelpinguse seadmiseks pingutage lukustusmutrit, kuni vedruseibid on lamedad ja seejärel keerake 1/4 pööret tagasi (Joonis 50).
Important: Veenduge, et vedruseibid oleksid paigaldatud õigesti, nagu on näidatud Joonis 50.
Paigaldage tolmukapsel tagasi (Joonis 50).

| Hooldusintervallid | Hooldustoimingud |
|---|---|
| Iga 50 tunni järel |
|
Kasutage sünteetilist reduktoriõli SAE 75W-90.
Parkige masin rõhtsale pinnale ja rakendage seisupidur.
Langetage niiduki korpus 25 mm lõikekõrgusele.
Lahutage terade juhtlüliti, lülitage mootor välja, eemaldage süütevõti ja oodake kõigi liikuvate osade peatumist, enne kui töötamiskohast lahkute.
Tõstke jalatugi üles, et niiduki korpuse pealsele ligi pääseda.
Eemaldage reduktori pealt mõõtevarras/täitekork ja veenduge, et õlinivoo on mõõtevarda tähiste vahel (Joonis 51).

Kui õlinivoo on madal, lisage piisavalt määrdeainet, kuni nivoo on mõõtevarda tähiste vahel.
Important: Ärge reduktorit üle täitke. Ületäitmine võib reduktorit kahjustada.
| Hooldusintervallid | Hooldustoimingud |
|---|---|
| Pärast esimest 200 tundi |
|
| Iga 400 tunni järel |
|
Kui õli on saastunud, võtke ühendust oma Toro edasimüüjaga, sest süsteem tuleb läbi loputada. Saastunud õli näib võrreldes puhta õliga piimjas või musta värvi.
Parkige masin rõhtsale pinnale ja rakendage seisupidur.
Langetage niiduki korpus 25 mm lõikekõrgusele.
Lahutage terade juhtlüliti, lülitage mootor välja, eemaldage süütevõti ja oodake kõigi liikuvate osade peatumist, enne kui töötamiskohast lahkute.
Tõstke jalatugi üles, et niiduki korpuse pealsele ligi pääseda.
Eemaldage reduktori pealt mõõtevarras/täitekork ja veenduge, et õlinivoo on mõõtevarda tähiste vahel (Joonis 51).
Tõmmake õli täiteava kaudu vaakumseadme abil välja või eemaldage reduktor korpuselt ja valage õli kogumisvanni.
Paigaldage reduktor (kui see oli tühjendamiseks eemaldatud).
Lisage ligikaudu 420 ml määrdeainet, kuni nivoo on mõõtevarda tähiste vahel.
Important: Ärge reduktorit üle täitke. Ületäitmine võib reduktorit kahjustada.
Mootori jahutusvedeliku allaneelamine võib põhjustada mürgistuse; hoidke lastest ja lemmikloomadest eemal.
Kuuma, rõhu all jahutusvedeliku paiskumine või kuuma radiaatori ja ümbritsevate osade katsumine võib põhjustada tõsiseid põletusi.
Enne radiaatori korgi eemaldamist oodake alati vähemalt 15 minutit, kuni mootor on jahtunud.
Kasutage radiaatori korgi eemaldamiseks kaltsu ja avage kork aeglaselt, et aur välja lasta.
| Hooldusintervallid | Hooldustoimingud |
|---|---|
| Enne iga kasutamist või iga päev |
|
Jahutusvedeliku spetsifikatsioon: külmumiskindel 50 : 50 vee ja püsiva etüleenglükooli segu
Jahutussüsteemi maht: 7,6 l
Parkige masin tasasele pinnale, lülitage välja terade juhtlüliti ja rakendage seisupidur.
Lülitage mootor välja, eemaldage süütevõti ja oodake kõigi liikuvate osade peatumist, enne kui töötamiskohast lahkute.
Avage kapott.
Vaadake jahutusvedeliku nivood paisupaagis (Joonis 52).
Note: Vedelikunivoo peab olema paagi küljel olevate tähiste vahel.

Kui jahutusvedeliku nivoo on madal, eemaldage paisupaagi kork ja lisage nimetatud jahutusvedelikku (Joonis 52).
Important: Ärge üle täitke.
Paigaldage paisupaagi kork
Sulgege kapott.
| Hooldusintervallid | Hooldustoimingud |
|---|---|
| Iga 50 tunni järel |
|
Puhastage radiaator, et vältida mootori ülekuumenemist.
Note: Kui niiduki korpus või mootor seiskub ülekuumenemise tõttu, kontrollige, et radiaatorile pole liigselt prahti kogunenud.
Parkige masin tasasele pinnale, lülitage välja terade juhtlüliti ja rakendage seisupidur.
Lülitage mootor välja, eemaldage süütevõti ja oodake kõigi liikuvate osade peatumist, enne kui töötamiskohast lahkute.
Pöörake kapott tahapoole.
Puhuge praht suruõhuga kogu radiaatori ribide vahelt välja, nii ülevalt alla kui alt üles.
Raskesti eemaldatava prahi eemaldamiseks võib kasutada madala rõhuga veejuga.
Kui radiaator on puhas, jätkake sammuga 7
Katke mootor papp- või plasttahvli tükiga. Pritsige vett ribide vahelt läbi. Puhuge põhjalikult mõlemast suunast madala rõhuga õhujoaga.
Note: Kui prahti jäi veel, korrake kuni saab puhtaks.
Langetage kapott.
Käivitage mootor ja veenduge, et tiivik töötab korralikult.
| Hooldusintervallid | Hooldustoimingud |
|---|---|
| Iga 2000 tunni järel |
|
Parkige masin tasasele pinnale, lülitage välja terade juhtlüliti ja rakendage seisupidur.
Lülitage mootor välja, eemaldage süütevõti ja oodake kõigi liikuvate osade peatumist, enne kui töötamiskohast lahkute.
Pöörake kapott tahapoole.
Tühjendage mootor, kui see on jahe.
Eemaldage radiaator kork, pange radiaatori all kogumisvann ja eemaldage radiaatori alt tühjenduskork.
Eemaldage jahutusvedeliku voolik õlijahutist ja tühjendage mootoriplokk jahutusvedelikust (Joonis 53).

Paigaldage tühjenduskorgid ja voolikud.
Täitke radiaator vee ja etüleenglükooli 50 : 50 seguga.
Note: Soovitatav on kasutada Havoline® Xtended Life jahutusvedelikku.
Jätke paisumiseks veidi ruumi (ligikaudu 12,7 mm). Lisage mootori vasakul küljel asuvasse paisupaaki 50 : 50 jahutusvedeliku segu kuni paisupaagi jooneni.
Käitage mootorit kuni mootori termostaat avaneb ja jahutusvedelik ringleb läbi radiaatori südamiku.
Kui mootorist õhu väljutamine lõpeb ja jahutusvedeliku nivoo langeb, lisage radiaatorisse jahutusvedelikku.
Kui radiaator on täiesti täis ja jahutusvedelikku ei saa enam lisada, jätkake mootori käitamist ja paigaldage radiaatori kork.
Vajutage kork kindlalt alla ja keerake see samal ajal lõpuni kinni. Kui kork on paigaldatud, seisake mootor.
| Hooldusintervallid | Hooldustoimingud |
|---|---|
| Pärast esimest 100 tundi |
|
| Iga 400 tunni järel |
|
Katsetage, kas seisupidur on korralikult seadistatud. Tehke seda toimingut iga kord, kui olete mõne piduri koosteosa eemaldanud või asendanud.
Parkige masin tasasele pinnale, lülitage välja terade juhtlüliti ja rakendage seisupidur.
Lülitage mootor välja, eemaldage süütevõti ja oodake kõigi liikuvate osade peatumist, enne kui töötamiskohast lahkute.
Tõstke masina tagaosa üles ja toetage masin tugipukkidele.
Eemaldage masinalt tagumised rattad.
Eemaldage piduri ümbrusest kogu praht.
Vabastage veorattad; vt Veorataste vabastusventiilide kasutamine.
Mõõtke ühenduslüli pikkust (Joonis 54).
Note: Kui ühenduslüli on ühendatud eesmisse asendisse, peaks pikkus olema 219 mm; kui see on ühendatud tagumisse asendisse, peaks pikkus olema 232 mm.

Mõõtke vedru pikkus (Joonis 54).
Note: See mõõde peaks olema 95 mm.
Pärast vedru õige pikkuse saavutamist vaadake, kas tapi ja õla vahel on veel nähtav lõtk.
Lahutage seisupidur ja pöörake rattarummu käsitsi kummaski suunas.
Note: Rattarumm peab vabalt pöörlema.
Kui on vaja teha lõtk või rattarumm ei pöörle vabalt, siis toimige järgmiselt.
Vabastage seisupidur.
Haakige tagumine ühenduslüli lahti ja seadistage seda.
Lõtku suurendamiseks lühendage lüli.
Rattarummu pöörlemise võimaldamiseks pikendage lüli.
Ühendage tagumine ühenduslüli.
Rakendage seisupidur ja vaadake lõtku.
Korrake samme 10 kuni 12 nähtava lõtku saavutamiseni aga rattarummu vaba pöörlemiseni. Korrake seda protseduuri masina teisel küljel.
Note: Kui pidur on vabastatud asendis, peaks pidur olema täielikult lahutatud.
Pöörake veoratta vabastuskäepide käitusasendisse, vt jaotist Veorataste vabastusventiilide kasutamine.
Paigaldage tagarattad ja pingutage rattamutrid pingutusmomendiga 115–142 N·m.
Eemaldage tungraua alused.
| Hooldusintervallid | Hooldustoimingud |
|---|---|
| Iga 50 tunni järel |
|
Kui rihm on kulunud, asendage see. Kulunud rihmast annab märku vinguv heli, libisevad terad niitmise ajal ning narmendavad otsad, põletusmärgid ja praod rihmal.
Kulunud rihma tunnused on vinguv heli, terade libisemine niitmise ajal, narmendavad rihmaservad, põletusmärgid ja praod rihmal. Kui märkate üht neist tunnustest, vahetage rihm välja.
Parkige masin tasasele pinnale, lülitage välja terade juhtlüliti ja rakendage seisupidur.
Lülitage mootor välja, eemaldage süütevõti ja oodake kõigi liikuvate osade peatumist, enne kui töötamiskohast lahkute.
Seadistage niiduk lõikekõrgusele 76 mm.
Eemaldage rihmakatted.
Vabastage vabajooksu rihmaratas pinguse alt, kasutades pendelhoova nelinurkavas narrevõtit (Joonis 55).
Eemaldage rihm korpuse rihmarattalt.
Paigaldage niiduki rihmarataste ümber uus rihm (Joonis 55).

Tagage, et vedru otsad istuvad ankrute soontes, vabastage vabajooksu rihmaratas nelinurkavasse paigaldatud narrevõtme abil pinguse alt ja paigaldage rihm ümber vabajooksu rihmaratta (Joonis 55).
Paigaldage rihmakatted.
| Hooldusintervallid | Hooldustoimingud |
|---|---|
| Iga 100 tunni järel |
|
Vajutage generaatoririhmale kahe rihmaratta vahekohas 44 N jõuga.
Kui läbipaine ei ole 10 mm, vabastage veidi generaatori kinnituspoldid (Joonis 56).

Suurendage või vähendage generaatoririhma pingust.
Pingutage kinnituspoldid.
Mõõtke uuesti generaatoririhma läbipainet ja veenduge, et see on õige.
Juhthoobadel on 2 kõrguse asendit: kõrge ja madal. Kui kõrgust on vaja juhi järgi seadistada, tuleb poldid eemaldada.
Parkige masin tasasele pinnale, lülitage välja terade juhtlüliti (PTO) ja rakendage seisupidur.
Lülitage mootor välja, eemaldage süütevõti ja oodake kõigi liikuvate osade peatumist, enne kui töötamiskohast lahkute.
Vabastage hoobadesse paigaldatud kinnituspoldid ja äärikmutrid (Joonis 57).
Joondage hoobade ette-taha asend, tuues need NEUTRAALASENDIS kokku ja nihutage neid, kuni need on joondatud ja seejärel pingutage poldid kinni (Joonis 58).


Kui hoobade otsad põrkuvad üksteise vastu, vt jaotist Juhthoobade ühenduse reguleerimine.
Korrake juhthoobade seadistamiseks.
Mõlemal pool masinat istme all asuvad pumba juhtimise ühendused. Otsamutri pööramine ½-tollise mutrivõtmega võimaldab teha peenhäälestusi, et masin neutraalasendis ei liiguks. Kõik reguleerimised tuleb teha ainult neutraalasendis.
Liikumise juhtimiseks tuleb käitada mootorit ja pöörata veorattaid. Kokkupuude liikuvate osade või kuumade pindadega võib põhjustada kehavigastusi.
Hoidke sõrmed, käed ja rõivad pöörlevatest komponentidest ja kuumadest pindadest eemal.
Parkige masin tasasele pinnale, lülitage välja terade juhtlüliti (PTO) ja rakendage seisupidur.
Lülitage mootor välja, eemaldage süütevõti ja oodake kõigi liikuvate osade peatumist, enne kui töötamiskohast lahkute.
Vajutage korpuse tõstmise pedaali, eemaldage lõikekõrguse tihvt ja langetage niiduki korpus maapinnale.
Tõstke masina tagaosa üles ja toetage see tungraua alustele (või samaväärsetele tugedele) piisavalt kõrgele, et veorattad saaksid vabalt pöörelda.
Eemaldage elektriühendus istme ohutuslülitist, mis asub istme alumise padja all.
Note: Lüliti on osa istmest.
Ühendage ajutiselt abiaku kaabel peamises kaablikimbus olevatesse klemmidesse.
Käivitage mootor, käitage seda täisvõimsusel ja vabastage seisupidur.
Note: Enne mootori käivitamist veenduge, et seisupidur on rakendatud ja juhthoovad on väljas. Te ei pea istmel istuma.
Laske masinal vähemalt 5 minutit töötada, nii et juhthoovad on edasiliikumise täiskiirusele seatud, et hüdraulikavedelik saavutaks töötemperatuuri.
Note: Juhthoovad peavad reguleerimiste ajal olema neutraalasendis.
Tooge juhthoovad NEUTRAALASENDISSE.
Reguleerige pumba juhtvarraste pikkust, keerates vardal olevaid topeltmutreid vastavas suunas, kuni rattad pöörlevad kergelt tagurpidi (Joonis 59).

Liigutage juhthoovad TAGASIKäIGU ASENDISSE ja rakendades hoovale kerget survet, laske tagasikäigu vedrudel hoovad tagasi neutraalasendisse tuua.
Note: Rattad ei tohiks pöörata või liiguvad veidi tagasi.
Lülitage masin välja.
Eemaldage abiaku kaabel juhtmekimbust ja ühendage pistik istme lülitiga.
Eemaldage tungraua alused.
Tõstke niiduki korpust ja paigaldage lõikekõrguse tihvt.
Kontrollige ja veenduge, et masin ei liiguks neutraalasendis, kui seisupidur on rakendatud.
Juhthoobade soovitud takistustaseme saavutamiseks saab muuta leevendi ülemise kinnituspoldi asendit. Kinnitusvõimaluste kohta vt Joonis 60.

Kui vedelik peaks sattuma naha alla, pöörduge kohe arsti poole. Naha alla sattunud vedeliku peab arst mõne tunni jooksul kirurgiliselt eemaldama.
Enne hüdraulikasüsteemi rõhu alla seadmist veenduge, et kõik hüdraulikavoolikud ja -liinid oleksid heas seisukorras ning kõik hüdraulikasüsteemi ühendused ja liitmikud oleksid korralikult kinnitatud.
Hoidke oma keha ja käed eemale avadest või düüsidest, kust pritsib suure survega hüdraulikavedelikku.
Kasutage hüdraulikavedeliku lekete avastamiseks kartongi või paberit.
Enne hüdraulikasüsteemiga seotud tööde tegemist vabastage süsteem ohutult rõhu alt.
Hüdraulikapaagi maht: 15,1 l
Soovitatav vedelik: Toro Premium traktori jõuülekande- / hüdraulikavedelik (saadaval 19 l ämbrites või 208 l vaatides. Varuosade numbreid vaadake varuosade kataloogist või küsige Toro volitatud edasimüüjalt.)
Asendusvedelikud: kui Toro vedelikku ei ole saad, võib kasutada Mobil® 424 hüdrovedelikku.
Note: Toro ei vastuta kahjustuste eest, mis on tingitud vale vedeliku kasutamisest.
Note: Paljud hüdraulikavedelikud on peaaegu värvitud, mistõttu on lekkeid raske märgata. Hüdraulikavedelike jaoks on saadaval punane värvilisand 20 ml pudelites. Ühest pudelist piisab 15–22 l hüdraulikavedeliku jaoks. Tellige oma Toro edasimüüjalt osa nr 44-2500.
| Hooldusintervallid | Hooldustoimingud |
|---|---|
| Enne iga kasutamist või iga päev |
|
Vaadake hüdraulikavedeliku nivood enne esimest mootori käivitamist ja seejärel iga päev.
Parkige masin tasasele pinnale, lülitage välja terade juhtlüliti ja rakendage seisupidur.
Viige juhthoovad NEUTRAALASENDISSE ning vajutage ja käivitage mootor.
Note: Käitage mootorit vähima võimaliku pöörlemissagedusega, et kogu õhk süsteemist väljutada.
Important: Ärge ühendage käitusvõlli.
Tõstke korpust, et silindreid pikendada, lülitage mootor välja ja eemaldage võti.
Hüdraulikapaagile ligipääsemiseks tõstke istet.
Eemaldage hüdraulikapaagi kork (Joonis 61).

Eemaldage mõõtevarras ja pühkige seda puhta lapiga (Joonis 61).
Pistke mõõtevarras täitekaelast sisse, võtke välja ja vaadake vedelikunivood (Joonis 62).
Note: Kui nivoo ei ulatu mõõtevarda sälkude alasse, lisage piisavalt kvaliteetset hüdraulikavedelikku, et tõsta nivoo sälkude vahelisse alasse.
Important: Ärge üle täitke.

Pange mõõtevarras tagasi ja keerake kork sõrmede jõuga täitekaelale.
Vaadake, et ükski voolik ega nippel ei lekiks.
| Hooldusintervallid | Hooldustoimingud |
|---|---|
| Pärast esimest 200 tundi |
|
| Iga 400 tunni järel |
|
| Iga 800 tunni järel |
|
Lahutage käitusvõll, viige juhthoovad NEUTRAALASENDISSE ja rakendage seisupidur.
Liigutage gaasihoob AEGLASE kiiruse asendisse, lülitage mootor välja, eemaldage süütevõti ja oodake kõigi liikuvate osade peatumist, enne kui töötamiskohast lahkute.
Tõstke iste üles.
Pange suur kogumisvann hüdraulikapaagi, jõuülekande kere ning vasaku ja parema rattamootori alla (Joonis 63).

Eemaldage kõikide kohtade tühjenduskorgid ja laske hüdraulikavedelik välja (Joonis 63).
Puhastage hüdraulikavedeliku filtri ümbrus ja eemaldage filter (Joonis 63).
Paigaldage uus hüdraulikavedeliku filter ja keerake filtrit päripäeva, kuni kummitihend puutub vastu filtriadapterit, seejärel pingutage filtrit veel 2/3 kuni 3/4 pööret.
Paigaldage 4 tühjenduskorki.
Note: Rattamootorite tühjenduskorgid on magnetilised; pühkige need enne paigaldamist puhtaks.
Eemaldage kummagi rattamootori pealt täiteava kork (Joonis 64).
Täitke kumbki rattamootor ligikaudu 1,4 l Toro Premium traktori jõuülekande- / hüdraulikavedelikuga.
Paigaldage täiteavade korgid.

Eemaldage hüdraulikavedeliku paagilt kork ja mõõtevarras.
Lisage paaki 7,6 l vedelikku.
Tõstke masina tagaosa üles ja toetage see tugipukkidele (või samaväärsetele tugedele) piisavalt kõrgele, et veorattad saaksid vabalt pöörelda.
Käivitage mootor ja veenduge, et hüdraulikavedelikku ei leki.
Laske mootori ligikaudu 5 minutit töötada, seejärel lülitage välja.
Mõõtke kahe minuti pärast hüdraulikavedeliku nivood, vt jaotist Hüdraulikavedeliku taseme kontrollimine.
Kontrollige terasid regulaarselt kulumise ja kahjustuste suhtes.
Olge terasid kontrollides tähelepanelik. Mähkige midagi ümber terade või kandke kindaid; olge terasid hooldades ettevaatlik. Kahjustatud terasid võib ainult asendada. Ärge neid kunagi sirgendage või keevitage.
Mitmeteraliste masinate puhul olge ettevaatlik, kuna ühe tera pöörlemine võib põhjustada ka teiste terade pöörlemist.
Asendage kulunud või vigastatud lõiketerad ja poldid tasakaalu säilitamiseks tervikkomplektina.
Niitmise kõrge kvaliteedi tagamiseks hoidke terad teravana. Mugava teritamise ja vahetamise tagamiseks võib olla kasulik hoida varuterad käepärast.
Parkige masin tasasele pinnale, lülitage välja terade juhtlüliti ja rakendage seisupidur.
Lülitage mootor välja, eemaldage süütevõti ja oodake kõigi liikuvate osade peatumist, enne kui töötamiskohast lahkute.
| Hooldusintervallid | Hooldustoimingud |
|---|---|
| Enne iga kasutamist või iga päev |
|
Vaadake üle lõikeservad (Joonis 65).
Kui servad pole teravad või kui neil on täkkeid, eemaldage tera ja teritage seda; vt jaotist Terade teritamine.
Kontrollige terasid, eelkõige kaardus osa.
Kui märkate selles piirkonnas mõrasid, kulumist või sinna tekkivat pilu, paigaldage kohe uus tera (Joonis 65).

Note: Järgneva toimingu jaoks peab masin tasasel pinnal olema.
Tõstke niiduki korpus lõikekõrguse kõrgeimasse asendisse.
Kandke kindlasti paksema polstriga kindaid või muid asjakohaseid kätekaitsevahendeid. Pöörake tera aeglaselt asendisse, mis võimaldab teil mõõta lõikeserva ja tasase pinna vahelist kaugust (Joonis 66).

Mõõtke tera otsast kuni tasase pinnani (Joonis 67).

Pöörake sama tera 180 kraadi nii, et vastassuunaline lõikeserv on nüüd samas asendis (Joonis 68).

Mõõtke tera otsast kuni tasase pinnani (Joonis 69).
Note: Erinevus ei tohiks olla suurem kui 3 mm.

Juhul kui A ja B vaheline erinevus on suurem kui 3 mm, asendage tera uue teraga; vt jaotisi Terade eemaldamine ja Terade paigaldamine.
Note: Kui kõver tera asendatakse uue teraga ja saadud mõõtmistulemus ületab jätkuvalt 3 mm, võib kõver olla hoopis teravõll. Hoolduse jaoks võtke ühendust volitatud teenindusega.
Kui erinevus jääb lubatud piiridesse, jätkake järgmise teraga.
Korrake seda toimingut iga teraga.
Vahetage terad välja siis, kui need tabavad kõva eset või kui tera on tasakaalust väljas või kõver.
Asetage mutrivõti võlli lapikule osale või hoidke tera poolt kinni, kasutades kaltsu või paksult vooderdatud kinnast.
Eemaldage tera polt, puks ja tera võllilt (Joonis 70).

Kasutage tera mõlema otsa lõikeserva teritamiseks viili (Joonis 71).
Note: Säilitage algne nurk.
Note: Tera säilitab oma tasakaalu siis, kui mõlemalt lõikeservalt eemaldatakse võrdne kogus materjali.

Kontrollige tera tasakaalu tera tasakaalustaja abil (Joonis 72).
Note: Kui tera jääb horisontaalasendisse, on see tasakaalus ja seda võib kasutada.
Note: Kui tera pole tasakaalus, viilige maha veidi metalli, kuid seda ainult laba piirkonnast (Joonis 71).

Korrake seda toimingut, kuni tera on tasakaalustatud.
Lükake puks läbi tera, nii et puksi äärik jääb tera alumisele (murupoolsele) küljele (Joonis 73).

Pange puksi ja tera koost võllile (Joonis 74).

Kui vaja, kasutage vasel põhinevat määret tera poldi keermetel, et vältida kinnijäämist. Keerake tera polt käega kinni.
Asetage mutrivõti võlli lapikule osale ja keerake tera polt kinni jõuni 75–81 N∙m.
Note: Enne lõikekõrguse ühitamist tagage, et niiduki korpus on loodis.
Parkige masin tasasele pinnale, lülitage välja terade juhtlüliti ja rakendage seisupidur.
Lülitage mootor välja, eemaldage süütevõti ja oodake kõigi liikuvate osade peatumist, enne kui töötamiskohast lahkute.
Mõõtke veorataste rehvirõhku.
Vajadusel pumbake rõhuni 124 kPa.
Liigutage korpus tõstelüliti abil transpordiasendi (140 mm) kõrguselt välja.

Sisestage lõikekõrguse tihvt hoob 76 mm lõikekõrguse asendisse.
Vabastage transpordi lukusti ja laske korpusel lõikekõrgusele langeda.
Mõõtke rõhtsast pinnast kuni keskmise tera eesmise otsani (Joonis 76).
Note: Mõõtetulemus peab olema 76 mm.
Enamikes oludes peaks külgmiste terade tagumised otsad olema eesmistega samas tasapinnas.

Täppishäälestuseks keerake korpuse eesmise tõstekoostu seadistusmutrit (Joonis 77).
Note: Kõrguse suurendamiseks keerake seadistusmutrit päripäeva, vähendamiseks keerake seda vastupäeva.
Note: Kui korpuse eesmiste lülide seadistusulatusest ei piisa korraliku tõstekõrguse saavutamiseks, võib lisaulatuse saamiseks kasutada ühepunktilist seadistust.

Mõõtke tera tagumise otsa kõrgus. Timmige vajaduse järgi tagumiste regulaatoritega; lisaulatuse saamiseks kasutage ühepunktilist seadistust.
Külgmiste terade tagumiste otste mõõtetulemus peaks olema 76 mm.
Mõõtke kuni kõik 4 külge on õigel kõrgusel. Pingutage kõik korpuse tõstehoova koostude mutrid.
Kui 4 korpuse regulaatorit ei ole soovitud rehitsemiseks täpse lõikekõrguse saamiseks piisava ulatusega, võib seadistada ühepunktilist süsteemi (Joonis 78).

Ühepunktilise süsteemi seadistamiseks vabastage esmalt eesmised ja tagumised lõikekõrguse plaadi kinnituspoldid (Joonis 78).
Note: Tehases on niiduki korpus ühendatud eesmistesse avadesse (Joonis 79). Vajadusel korral kasutage niiduki korpuse loodimise ajal täiendavaks seadistamiseks tagumisi avasid.

Kui korpus on liiga madalal, keerake ühepunktilise seadistuse polti pingutamiseks päripäeva. Kui korpus on liiga kõrgel, keerake ühepunktilise seadistuse polti lõdvendamiseks vastupäeva (Joonis 80).
Note: Lõdvendage või pingutage ühepunktilise seadistuse polti piisavalt, et liigutada lõikekõrguse plaadi kinnituspolte vähemalt 1/3 ulatuses nende soontes olevast käigupikkusest. Sellega saadakse korpuse kõigile neljale lülile veidi üles ja alla seadistusulatust.

Pingutage lõikekõrguse plaadi 2 alumist polt (Joonis 78).
Note: Enamikes oludes seadistage tera tagumine ots 6,4 mm kõrgemale, kui eesmine.
Kinnitage 2 polti pingutusmomendiga 91–113 N·m.
Mõõtke kuni kõik 4 külge on õigel kõrgusel. Pingutage kõik korpuse tõstehoova koostude mutrid.
| Hooldusintervallid | Hooldustoimingud |
|---|---|
| Enne iga kasutamist või iga päev |
|
Important: Ärge kasutage mootori puhastamiseks vett. Kasutage madala rõhuga suruõhku. Vaadake mootori kasutusjuhendit.
Parkige masin tasasele pinnale, lülitage välja terade juhtlüliti (PTO) ja rakendage seisupidur.
Lülitage mootor välja, eemaldage süütevõti ja oodake kõigi liikuvate osade peatumist, enne kui töötamiskohast lahkute.
Puhastage hooratta, plokikaane, pihustite ja sissepritsepumba ümbrus.
Eemaldage väljalaskesüsteemi piirkonnast kogu praht.
Pühkige mootor ja väljalaskesüsteemi piirkond üleliigsest määrest puhtaks.
| Hooldusintervallid | Hooldustoimingud |
|---|---|
| Enne iga kasutamist või iga päev |
|
Parkige masin tasasele pinnale, lülitage välja terade juhtlüliti (PTO) ja rakendage seisupidur.
Lülitage mootor välja, eemaldage süütevõti ja oodake kõigi liikuvate osade peatumist, enne kui töötamiskohast lahkute.
Eemaldage masinalt ja niiduki korpuselt kõik õli-, prahi- või rohusetted, pöörates erilist tähelepanu korpuse rihmakatete alusele, kütusepaagi ümbrusele ning mootorile ja väljalaskesüsteemi piirkonnale.
Tõstke niiduki korpus TRANSPORDIASENDISSE.
Puhastage korpuse alumine külg igasugustest rohusetetest.
Mootoriõli, akud, hüdrauliline vedelik ja mootori jahutusvedelik saastavad keskkonda. Kõrvaldage need riiklike ja kohalike eeskirjade kohaselt.
Enne juhikohalt lahkumist lülitage mootor välja, eemaldage süütevõti ja oodake, kuni kõik liikuvad osad on seisma jäänud. Enne seadistamist, hooldamist, puhastamist või hoiustamist laske masinal jahtuda.
Ärge hoiustage masinat või kütust lahtise tule lähedal ega eemaldage kütust toas või suletud haagises.
Ärge hoiustage masinat ega kütuseanumat kohas, kus esineb lahtist leeki, sädemeid või süüteleeki, näiteks veeboileril või muul seadmel.
Lülitage välja terade juhtlüliti (PTO) ja rakendage seisupidur.
Lülitage mootor välja, eemaldage süütevõti ja oodake kõigi liikuvate osade peatumist, enne kui töötamiskohast lahkute.
Eemaldage muru, pori ja mustus kõigilt masina välistelt osadelt, eelkõige mootorilt ja hüdraulikasüsteemilt. Puhastage mustus ja sõklad mootori silindri ribide pealt ja puhuri korpuselt.
Important: Masinat võib pesta õrnatoimelise puhastusvahendi ja veega. Ärge kasutage survepesu. Ärge kasutage liiga palju vett, eelkõige juhtpaneeli, hüdraulikapumpade ja mootorite lähedal.
Kontrollige seisupidur toimimist; vt jaotist Seisupiduri seadistamine.
Hooldage õhupuhastit; vt jaotist Õhufiltri hooldus.
Määrige masinat; vt jaotist Määrimine.
Vahetage õli karteris; vt jaotist Mootoriõli hooldus.
Kontrollige rehvirõhku, vt jaotist Rehvirõhu kontrollimine.
Vahetage hüdraulikafiltrid, vt jaotist Hüdraulikavedeliku ja filtri vahetamine.
Laadige akut; vt jaotis Aku laadimine.
Kraapige niiduki alt maha sinna kogunenud ja kõvasti kinni jäänud muru ja mustus ning peske niidukit voolikuga.
Note: Pärast pesu laske masinal kaks kuni viis minutit kõrgetel pööretel ja sisselülitatud terade juhtlülitiga (PTO) töötada.
Kontrollige tera seisukorda; vt jaotist Lõiketerade hooldamine.
Masina hoiustamiseks üle 30 päeva valmistage masin ette. Masina hoiustamiseks tehke järgmised ettevalmistused.
Lisage paagis olevale kütusele naftapõhist stabilisaatorit / omaduste parandajat. Järgige stabilisaatori tootja segamisjuhiseid. Ärge kasutage alkoholipõhist (etanooli või metanooliga) stabilisaatorit.
Note: Stabilisaator / omaduste parandaja on kõige tõhusam siis, kui seda on segatud värske kütusega ja seda kasutatakse kogu aeg.
Laske mootoril viis minutit töötada, et kütus kütusesüsteemi laiali valguks.
Lülitage mootor välja, laske sel jahtuda ning tühjendage kütusepaak.
Käivitage mootor ja laske sel töötada, kuni see peatub.
Kõrvaldage kütus nõuetekohaselt. Taaskasutage kütust vastavalt kohalikele eeskirjadele.
Important: Ärge hoiustage kütuse stabilisaatorit / omaduste parandajat sisaldavat kütust pikemaks perioodiks kui tootja poolt on soovitatud.
Kontrollige ja pingutage kõiki polte, mutreid ja kruve. Parandage või asendage kõik kahjustatud osad.
Värvige kõik kriimustatud või paljad metallpinnad. Värv on saadaval volitatud hooldusfirmas.
Hoiustage masinat puhtas ja kuivas garaažis või hoiukohas. Eemaldage süütevõti süütelukust ja hoidke seda lastele või muudele volitamata kasutajatele kättesaamatus kohas. Kaitsmiseks ja puhtana hoidmiseks katke masin kinni.
| Problem | Possible Cause | Corrective Action |
|---|---|---|
| Starter ei käivitu. |
|
|
| Mootor ei käivitu, käivitub vaevaliselt või sureb välja. |
|
|
| Mootor kaotab võimsust. |
|
|
| Mootor kuumeneb üle. |
|
|
| Masin kisub vasakule või paremale poole (kui juhthoovad on täiesti ette lükatud). |
|
|
| Masin ei sõida. |
|
|
| Masin vibreerib ebaloomulikult. |
|
|
| Lõikekõrgus on ebaühtlane. |
|
|
| Terad ei pöörle. |
|
|



