| Périodicité d'entretien | Procédure d'entretien |
|---|---|
| À chaque utilisation ou une fois par jour |
|
Cette machine est un porte-outil compact prévu pour transporter la terre et autres matériaux utilisés dans les travaux de paysagement et de construction. Elle est conçue pour fonctionner avec un large choix d'outils spécialisés. L'utilisation de ce produit à d'autres fins que celle prévue peut être dangereuse pour vous-même et pour les personnes à proximité. Ne modifiez pas la machine ou ses outils.
Cette machine doit être utilisée, révisée et réparée uniquement par des professionnels connaissant bien ses caractéristiques ainsi que les procédures de sécurité pertinentes.
Utilisez cette machine à des températures ambiantes comprises entre -18 et 38 °C. Contactez votre concessionnaire-réparateur agréé pour connaître les dispositions nécessaires pour utiliser cette machine dans des températures extrêmes.
Lisez attentivement cette notice pour apprendre comment utiliser et entretenir correctement votre produit, et éviter ainsi de l'endommager ou de vous blesser. Vous êtes responsable de l'utilisation sûre et correcte du produit.
Rendez-vous sur www.Toro.com pour tout document de formation à la sécurité et à l'utilisation des produits, pour tout renseignement concernant un produit ou un accessoire, pour obtenir l'adresse des concessionnaires ou pour enregistrer votre produit.
Pour obtenir des prestations de service, des pièces d'origine Toro ou des renseignements complémentaires, munissez-vous des numéros de modèle et de série du produit et contactez un concessionnaire-réparateur agréé ou le service client Toro. La Figure 1 indique l'emplacement des numéros de modèle et de série sur le produit. Inscrivez les numéros dans l'espace réservé à cet effet.
Important: Avec votre appareil mobile, vous pouvez scanner le QR code sur l'autocollant du numéro de série (le cas échéant) pour accéder aux renseignements sur la garantie, les pièces détachées et autres informations concernant le produit.

Les mises en garde de ce manuel soulignent des dangers potentiels et sont signalées par le symbole de sécurité (Figure 2), qui indique un danger pouvant entraîner des blessures graves ou mortelles si les précautions recommandées ne sont pas respectées.

Le symbole de sécurité apparaît au-dessus de toute information signalant des actions ou des situations dangereuses. Il est suivi de la mention DANGER, ATTENTION ou PRUDENCE
DANGER signale un danger immédiat qui, s'il n'est pas évité, entraînera obligatoirement des blessures graves ou mortelles.
ATTENTION signale un danger potentiel qui, s'il n'est pas évité, risque d'entraîner des blessures graves ou mortelles.
PRUDENCE signale un danger potentiel qui, s'il n'est pas évité, peut éventuellement entraîner des blessures légères ou modérées.
Ce manuel utilise également deux autres termes pour faire passer des informations essentielles : Important pour attirer l'attention sur des informations d'ordre mécanique spécifiques, et Remarque pour souligner des informations d'ordre général méritant une attention particulière.
Ce produit est conforme à toutes les directives européennes pertinentes. Pour plus de renseignements, reportez-vous à la Déclaration de conformité spécifique du produit fournie séparément.
Vous commettez une infraction à la section 4442 ou 4443 du Code des ressources publiques de Californie si vous utilisez cette machine dans une zone boisée, broussailleuse ou recouverte d'herbe à moins d'équiper le moteur d'un pare-étincelles, tel que défini à la section 4442, maintenu en bon état de marche, ou à moins de construire, équiper et entretenir le moteur de manière à prévenir les incendies.
Le manuel du propriétaire du moteur ci-joint est fourni à titre informatif concernant la réglementation de l'Agence américaine pour la protection de l'environnement (EPA) et la réglementation antipollution de l'état de Californie relative aux systèmes antipollution, à leur entretien et à leur garantie. Vous pouvez vous en procurer un nouvel exemplaire en vous adressant au constructeur du moteur.
CALIFORNIE
Proposition 65 - Avertissement
L'état de Californie considère les gaz d'échappement des moteurs diesel et certains de leurs composants comme susceptibles de provoquer des cancers, des malformations congénitales et autres troubles de la reproduction.
Les bornes de la batterie et accessoires connexes contiennent du plomb et des composés de plomb. L'état de Californie considère ces substances chimiques comme susceptibles de provoquer des cancers et des troubles de la reproduction. Lavez-vous les mains après avoir manipulé la batterie.
L'utilisation de ce produit peut entraîner une exposition à des substances chimiques considérées pas l'état de Californie comme capables de provoquer des cancers, des anomalies congénitales ou d'autres troubles de la reproduction.
Des conduites peuvent être enfouies dans la zone de travail. Vous pouvez provoquer une explosion ou vous électrocuter si vous les touchez en creusant.
Marquez au préalable l'emplacement des lignes ou conduites enfouies dans la zone de travail, et ne creusez pas à ces endroits. Contactez le service de marquage ou la compagnie de service public local(e) pour faire marquer le terrain (par exemple, appelez le service de marquage national au 811 pour États-Unis ou au 1100 pour l'Australie).
Respectez toujours toutes les consignes de sécurité pour éviter des blessures graves ou mortelles.
Ne dépassez pas la capacité nominale de la machine au risque de la déstabiliser et d'en perdre le contrôle.
Ne transportez jamais de charge quand les bras sont levés ; transportez toujours les charges près du sol.
Les pentes augmentent significativement les risques de perte de contrôle et de basculement de la machine pouvant entraîner des accidents graves, voire mortels. L'utilisation de la machine sur une quelconque pente ou sur un terrain accidenté demande une attention particulière.
Travaillez toujours dans le sens de la pente (en montant ou en descendant), le côté le plus lourd de la machine étant en amont et la charge près du sol. La répartition du poids varie selon les outils montés. Quand le godet est vide, l'arrière de la machine est le point le plus lourd ; lorsqu'il est plein, l'avant de la machine devient plus lourd. La plupart des outils alourdissent l'avant de la machine.
Marquez au préalable l'emplacement des lignes, conduites ou autres objets enfouis dans la zone de travail, et ne creusez pas à ces endroits.
Vous devez lire et comprendre le contenu de ce Manuel de l'utilisateur avant de démarrer le moteur.
Accordez toute votre attention à l'utilisation de la machine. Ne faites rien d'autre qui puisse vous distraire, au risque de causer des dommages corporels ou matériels.
Ne confiez jamais l'utilisation de la machine à des enfants ou à des personnes non qualifiées.
N'approchez jamais les mains ou les pieds des composants et outils mobiles.
N'utilisez pas la machine s'il manque des capots ou d'autres dispositifs de protection, ou s'ils sont endommagés.
N'admettez personne, notamment les enfants, dans le périmètre de travail.
Arrêtez la machine, coupez le moteur et enlevez la clé avant d'effectuer un entretien, de faire le plein de carburant ou d'éliminer une obstruction sur la machine.
L'usage ou l'entretien incorrect de cette machine
peut occasionner des accidents. Pour réduire les risques d'accidents
et de blessures, respectez les consignes de sécurité
qui suivent. Tenez toujours compte des mises en garde signalées
par le symbole de sécurité (
) et la mention Prudence,
Attention ou Danger. Le non respect de ces instructions peut entraîner
des blessures graves ou mortelles.
![]() |
Des autocollants de sécurité et des instructions bien visibles par l'utilisateur sont placés près de tous les endroits potentiellement dangereux. Remplacez tout autocollant endommagé ou manquant. |
























Avant de mettre le moteur en marche et d'utiliser la machine, familiarisez-vous avec toutes les commandes.

Le commutateur d'allumage sert à démarrer et arrêter le moteur, et comporte 3 positions : ARRêT, CONTACT et DéMARRAGE.
Déplacez la commande en avant pour augmenter le régime moteur, et en arrière pour le diminuer.
Lorsque vous conduisez la machine, servez-vous de la barre de référence comme poignée et point de levier pour contrôler le déplacement et le levier de commande hydraulique auxiliaire. Pour garder le contrôle de la machine, gardez toujours au moins une main sur la barre de référence pendant les manÅ“uvres.
Utilisez la commande de déplacement pour déplacer la machine. La vitesse de déplacement de la machine, dans l'une ou l'autre direction, est proportionnelle au déplacement de la commande. Relâchez la commande de déplacement pour immobiliser la machine.

Pour vous déplacer en marche avant, poussez la commande de déplacement en avant.

Pour vous déplacer en marche arrière, tirez la commande de déplacement en arrière.
Important: Regardez derrière vous lorsque vous faites marche arrière et gardez toujours les mains sur la barre de référence.

Pour tourner à droite, tournez la commande de déplacement dans le sens horaire.

Pour tourner à gauche, tournez la commande de déplacement dans le sens antihoraire.

Pour arrêter la machine, relâchez la commande de déplacement.
Déplacez lentement le levier pour actionner les bras de chargeuse et basculer l'outil.
Note: La position verrouillée (flottement) permet aux outils, comme la niveleuse et la lame hydraulique, de suivre le relief du terrain (c.-à-d. flotter) pendant le nivelage.

Déplacez le levier à une position intermédiaire (par ex. en avant et à gauche) pour actionner les bras de chargeuse et basculer l'outil simultanément.
Il bloque le levier de commande des bras de chargeuse/basculement de l'outil et l'empêche d'être poussé en avant. Cela permet d'éviter l'abaissement accidentel des bras de chargeuse durant un entretien. Bloquez le levier de chargeuse avec le verrou, en plus des dispositifs de blocage de vérin, chaque fois que vous devez arrêter la machine en laissant les bras de chargeuse levés. Voir Dépose et stockage du dispositif de blocage de vérin.
Pour utiliser le verrou, soulevez-le hors du trou du panneau de commande et amenez-le devant le levier de commande des bras de chargeuse. Enfoncez-le en position verrouillée.

La barre de référence offre un point d'appui pour la main pendant que vous actionnez le levier des bras de chargeuse/basculement de l'outil.
Pour utiliser un outil hydraulique en avant, tournez le levier de commande en arrière et abaissez-le jusqu'à la barre de référence (, repère 1).
Pour utiliser un outil hydraulique en arrière, tournez le levier de commande vers l'arrière, puis poussez-le vers la gauche dans le cran supérieur (, repère 2).
Note: Si vous relâchez le levier alors qu'il est en position de fonctionnement AVANT, il revient automatiquement en position POINT MORT. S'il est en position de fonctionnement ARRIèRE, il reste dans cette position jusqu'à sa sortie du cran.

Le compteur horaire indique le nombre d'heures de fonctionnement enregistré de la machine.
Pour serrer le frein de stationnement, poussez le levier en avant et à gauche, puis tirez-le en arrière.
Note: La machine peut rouler légèrement avant que les freins s'engagent dans le pignon d'entraînement.
Pour desserrer le frein, poussez le levier en avant et à droite dans le cran.

Elle indique la quantité de carburant qui reste dans le(s) réservoir(s).
Il s'allume et une alarme sonore se déclenche si la pression de l'huile moteur est trop basse. Dans ce cas, coupez le moteur immédiatement et vérifiez le niveau d'huile. S'il est trop bas, faites l'appoint et recherchez d'éventuelles fuites.

Il s'allume et une alarme sonore se déclenche si la charge de la batterie est insuffisante. Dans ce cas, coupez le moteur et chargez ou remplacez la batterie. Vérifiez la tension de la courroie d'alternateur ; voir le Manuel du propriétaire du moteur.
Il s'allume et une alarme sonore se déclenche si la température du liquide de refroidissement moteur est trop élevée. Dans ce cas, coupez le moteur et laissez-le refroidir. Vérifiez le niveau du liquide de refroidissement quand le moteur est complètement froid.
Il s'allume quand les bougies de préchauffage sont chargées et réchauffent le moteur.
Appuyez sur cet interrupteur pendant 10 secondes pour activer les bougies de préchauffage avant de mettre le moteur en marche.
Note: Les caractéristiques et le design de la machine sont susceptibles de modifications sans préavis.
| Largeur | 86 cm |
| Longueur | 180 cm |
| Hauteur | 117 cm |
| Poids | 864 kg |
| Capacité de fonctionnement (avec godet standard) | 251 kg |
| Capacité de basculement (avec godet standard) | 717 kg |
| Empattement | 79 cm |
| Hauteur de basculement (avec godet étroit) | 119 cm |
| Portée – levage maximum (avec godet étroit) | 55 cm |
| Hauteur jusqu'à l'axe de pivotement (godet étroit à la hauteur maximale) | 168 cm |
| Largeur | 104 cm |
| Longueur | 180 cm |
| Hauteur | 109 cm |
| Poids | 913 kg |
| Capacité de fonctionnement (avec godet standard) | 251 kg |
| Capacité de basculement (avec godet standard) | 717 kg |
| Empattement | 79 cm |
| Hauteur de basculement (avec godet étroit) | 119 cm |
| Portée – levage maximum (avec godet étroit) | 55 cm |
| Hauteur jusqu'à l'axe de pivotement (godet étroit à la hauteur maximale) | 168 cm |
Une sélection d'outils et d'accessoires agréés par Toro est disponible pour augmenter et améliorer les capacités de la machine. Pour obtenir la liste de tous les outils et accessoires agréés, contactez votre concessionnaire-réparateur ou votre distributeur Toro agréé, ou rendez-vous sur www.Toro.com.
Pour garantir un rendement optimal et conserver la certification de sécurité de la machine, utilisez uniquement des pièces de rechange et accessoires d'origine Toro. Les pièces de rechange et accessoires provenant d'autres constructeurs peuvent être dangereux, et leur utilisation risque d'annuler la garantie de la machine.
Note: Les côtés gauche et droit de la machine sont déterminés d'après la position d'utilisation normale.
Ne confiez jamais l'utilisation ou l'entretien de la machine à des enfants ou à des personnes non qualifiées. Certaines législations imposent un âge minimum ou exigent que les utilisateurs suivent une formation certifiée. Le propriétaire de la machine doit assurer la formation de tous les utilisateurs et mécaniciens.
Familiarisez-vous avec le maniement correct du matériel, les commandes et les autocollants de sécurité.
Serrez toujours le frein de stationnement (selon l'équipement), coupez le moteur, enlevez la clé, attendez l'arrêt complet de toutes les pièces mobiles et laissez refroidir la machine avant de la régler, d'en faire l'entretien, de la nettoyer ou de la ranger.
Apprenez à arrêter la machine et le moteur rapidement.
Vérifiez toujours que les commandes de présence de l'utilisateur, les contacteurs de sécurité et les capots de protection sont en place et fonctionnent correctement. N'utilisez pas la machine s'ils ne fonctionnent pas correctement.
Repérez les points de pincement indiqués sur la machine et les outils ; n'approchez pas les mains ni les pieds de ces points.
Avant de conduire la machine équipée d'un outil, vérifiez qu'il s'agit bien d'un outil d'origine Toro et qu'il est fixé correctement. Lisez les manuels d'utilisation de tous les outils.
Examinez la zone de travail pour déterminer quels accessoires et outils vous permettront d'exécuter votre tâche correctement et sans danger.
Marquez au préalable l'emplacement des lignes, conduites ou autres objets enfouis dans la zone de travail, et ne creusez pas à ces endroits ; notez l'emplacement des objets et structures qui ne sont pas repérés, tels réservoirs de stockage souterrains, puits et fosses septiques
Examinez la zone de travail en recherchant des surfaces inégales ou des dangers cachés.
Vérifiez que personne ne se trouve dans la zone de travail avant d'utiliser la machine. Arrêtez la machine si quelqu'un entre dans la zone de travail.
Faites preuve de la plus grande prudence quand vous manipulez du carburant. en raison de son inflammabilité et du risque d'explosion des vapeurs qu'il dégage.
Éteignez cigarettes, cigares, pipes et autres sources d'étincelles.
Utilisez exclusivement un bidon à carburant homologué.
N'enlevez pas le bouchon du réservoir de carburant et n'ajoutez pas de carburant pendant que le moteur tourne ou est encore chaud.
N'ajoutez pas de carburant et ne vidangez pas le réservoir dans un local fermé.
Ne rangez pas la machine ni les bidons de carburant à proximité d'une flamme nue, d'une source d'étincelles ou d'une veilleuse, telle celle d'un chauffe-eau ou autre appareil.
Si vous renversez du carburant, ne mettez pas le moteur en marche. Évitez toute source possible d'inflammation jusqu'à dissipation complète des vapeurs de carburant.
Pour éviter que l'électricité statique n'enflamme le carburant, descendez la machine du camion ou de la remorque et faites le plein quand elle est au sol, à l'écart de tout autre véhicule. Si cela est impossible, placez un bidon de carburant portable sur le sol, à l'écart de tout autre véhicule, et remplissez-le ; faites ensuite le plein de la machine avec le récipient portable plutôt que directement à la pompe.
Maintenez le pistolet en contact avec le bord du réservoir ou du bidon jusqu'à la fin du remplissage. N'utilisez pas de dispositif de verrouillage du pistolet en position ouverte.
Utilisez uniquement du gazole propre et frais ou des carburants au biodiesel à faible (<500 ppm) ou ultra faible (<15 ppm) teneur en soufre. L'indice minimum de cétane doit être de 40. Pour garantir la fraîcheur du carburant, n'achetez pas plus de la quantité normalement consommée en 6 mois.
Utilisez du gazole de qualité été (nº 2-D) si la température ambiante est supérieure à -7 °C et du gazole de qualité hiver (nº 1-D ou mélange nº 1-D/2-D) si la température ambiante est inférieure à -7 °C. L'usage de carburant de qualité hiver à basses températures réduit le point d'éclair et les caractéristiques d'écoulement à froid, ce qui facilite le démarrage et réduit le colmatage du filtre à carburant.
L'usage de carburant de qualité été au-dessus de -7 °C contribue à prolonger la vie de la pompe à carburant et augmente la puissance comparé au carburant de qualité hiver.
Important: N'utilisez pas de kérosène ou d'essence à la place du gazole, sous peine d'endommager le moteur.
Cette machine peut aussi utiliser un mélange carburant et biodiesel jusqu'à B20 (20 % biodiesel, 80 % pétrodiesel). La partie gazole doit être à faible ou à très faible teneur en soufre. Prenez les précautions suivantes :
La partie biodiesel du carburant doit être conforme à la norme ASTM D6751 ou EN 14214.
Le mélange de carburant doit être conforme à la norme ASTM D975 ou EN590.
Les surfaces peintes peuvent être endommagées par les mélanges biodiesel.
Utilisez du B5 (teneur en biodiesel de 5 %) ou un mélange de plus faible teneur par temps froid.
Examinez régulièrement les joints et flexibles en contact avec le carburant, car ils peuvent se détériorer avec le temps.
Le filtre à carburant peut se colmater pendant quelque temps après l'adoption de mélanges au biodiesel.
Contactez votre distributeur pour plus de renseignements sur le biodiesel.
Capacité du réservoir de carburant : 23 litres
Garez la machine sur une surface plane et horizontale, serrez le frein de stationnement (selon l'équipement) et abaissez les bras de chargeuse.
Coupez le moteur, retirez la clé et laissez refroidir le moteur.
Nettoyez la surface autour du bouchon du réservoir de carburant et retirez le bouchon.

Faites le plein de carburant jusqu'à 2,5 cm du haut du réservoir (pas du goulot de remplissage).
Important: L'espace au-dessus doit rester vide pour permettre au carburant de se dilater. Ne remplissez pas complètement le réservoir de carburant.
Vissez solidement le bouchon de réservoir de carburant jusqu'à ce qu'il s'enclenche.
Essuyez le carburant éventuellement répandu.
Avant de démarrer la machine chaque jour, effectuez les procédures décrites à la section .
Important: Contrôlez le niveau de liquide hydraulique et purgez le système d'alimentation avant le tout premier démarrage du moteur ; voir Contrôle du niveau de liquide hydraulique et Purge du circuit d'alimentation.
Ne dépassez pas la capacité nominale de la machine au risque de la déstabiliser et d'en perdre le contrôle.
Ne transportez jamais de charge quand les bras sont levés. Transportez toujours les charges près du sol.
Utilisez uniquement des outils et accessoires agréés par Toro. Les outils peuvent modifier la stabilité et les caractéristiques de fonctionnement de la machine.
Machines avec plateforme :
Abaissez les bras de chargeuse et descendez de la plateforme.
N'essayez pas de stabiliser la machine en posant le pied à terre. Si vous perdez le contrôle de la machine, descendez de la plateforme et éloignez-vous de la machine.
Ne mettez pas les pieds sous la plateforme.
Ne déplacez pas la machine, à moins d'avoir les deux pieds sur la plateforme et les deux mains posées sur les barres de référence.
Accordez toute votre attention à l'utilisation de la machine. Ne faites rien d'autre qui puisse vous distraire, au risque de causer des dommages corporels ou matériels.
Avant de faire marche arrière, vérifiez que la voie est libre juste derrière la machine et sur sa trajectoire.
Ne manÅ“uvrez jamais les commandes sèchement ; actionnez-les régulièrement.
Le propriétaire/l'utilisateur est responsable des accidents pouvant entraîner des dommages corporels ou matériels et peut les prévenir.
Portez une tenue adaptée, y compris des gants, une protection oculaire, un pantalon, des chaussures solides à semelle antidérapante et des protecteurs d'oreilles. Si vos cheveux sont longs, attachez-les et ne portez pas de vêtements amples ni de bijoux pendants.
N'utilisez pas la machine si vous êtes fatigué, malade ou sous l'emprise de l'alcool, de drogues ou de médicaments.
Ne transportez jamais de passagers et tenez tout le monde, y compris les animaux, à l'écart de la machine.
N'utilisez la machine que sous un bon éclairage et restez à distance des trous et autres dangers cachés.
Vérifiez que tous les embrayages sont au point mort et que le frein de stationnement est serré (selon l'équipement) avant de démarrer le moteur. Ne démarrez le moteur que depuis de la position d'utilisation.
Soyez prudent à l'approche de tournants sans visibilité, de buissons, d'arbres ou d'autres objets susceptibles de masquer la vue.
Ralentissez et soyez prudent quand vous changez de direction et quand vous traversez des routes et des trottoirs. Faites attention à la circulation.
Arrêtez l'outil quand vous ne travaillez pas.
Arrêtez la machine, coupez le moteur, enlevez la clé et examinez la machine si vous heurtez un obstacle. Effectuez les réparations nécessaires avant de réutiliser la machine.
Ne faites jamais tourner le moteur dans un local fermé.
Ne laissez jamais la machine en marche sans surveillance.
Avant de quitter la position d'utilisation :
Garez la machine sur une surface plane et horizontale.
Abaissez complètement les bras de chargeuse et désengagez les commandes hydrauliques auxiliaires.
Serrez le frein de stationnement (selon l'équipement).
Coupez le moteur et enlevez la clé.
N'utilisez pas la machine s'il y a risque d'orage.
Utilisez la machine uniquement dans des zones suffisamment dégagées pour lui permettre d'évoluer sans risque. Prenez garde aux obstacles à proximité. Si vous ne tenez pas la machine à une distance suffisante des arbres, murs et autres obstacles, elle peut causer des blessures si vous faites marche arrière sans tenir compte de la géographie du terrain.
Vérifiez la hauteur libre avant de passer sous un obstacle (par ex. branches, portes, câbles électriques, etc.) et évitez de le toucher.
Ne remplissez pas l'outil excessivement et maintenez toujours la charge horizontale quand vous levez les bras de chargeuse. Le contenu de l'outil pourrait tomber et causer des blessures.
Travaillez toujours dans le sens de la pente (en montant ou en descendant), le côté le plus lourd de la machine étant en amont. La répartition du poids varie selon les outils montés. Quand le godet est vide, l'arrière de la machine est le point le plus lourd ; lorsqu'il est plein, l'avant de la machine devient plus lourd. La plupart des outils alourdissent l'avant de la machine.
La stabilité de la machine est compromise si vous levez les bras de chargeuse sur une pente. Gardez les bras de chargeuse abaissés sur les pentes.
Les pentes augmentent significativement les risques de perte de contrôle et de basculement de la machine pouvant entraîner des accidents graves, voire mortels. L'utilisation de la machine sur une quelconque pente ou sur un terrain accidenté demande une attention particulière.
Établissez vos propres procédures et règles de travail à appliquer sur les pentes. Ces procédures doivent inclure un repérage et une étude du site pour déterminer quelles pentes permettent une utilisation sécuritaire de la machine. Faites toujours preuve de bon sens et de discernement quand vous réalisez cette étude.
Ralentissez et redoublez de prudence sur les pentes. La nature du terrain peut affecter la stabilité de la machine.
Évitez de démarrer ou de vous arrêter en côte. Si la machine perd de sa motricité, descendez lentement la pente en ligne droite.
Évitez de faire demi-tour sur les pentes. Si vous ne pouvez pas faire autrement, procédez lentement en gardant le côté le plus lourd de la machine en amont.
Déplacez-vous à vitesse réduite et progressivement sur les pentes. Ne changez pas soudainement de vitesse ou de direction.
Ne travaillez pas sur les pentes sur lesquelles vous ne vous sentez pas à l'aise.
Méfiez-vous des trous, ornières et bosses, car les irrégularités du terrain risquent de provoquer le retournement de la machine. L'herbe haute peut masquer les accidents du terrain.
Utilisez la machine avec prudence sur les surfaces humides. En effet, la perte de motricité peut faire déraper la machine.
Examinez la zone d'utilisation pour vous assurer que le sol est suffisamment stable pour supporter le poids de la machine.
Utilisez la machine avec prudence près de :
Fortes dénivellations
Fossés
Berges
Étendues d'eau
La machine peut se retourner brusquement si une chenille passe par-dessus une dénivellation quelconque et se retrouve dans le vide, ou si un bord s'effondre. Maintenez une distance de sécurité entre la machine et tout danger potentiel.
N'enlevez pas ou n'ajoutez pas d'outils lorsque la machine se trouve sur une pente.
Ne garez pas la machine sur une pente.
Si vous heurtez une ligne de services publics, procédez comme suit :
Coupez le moteur et retirez la clé.
Éloignez tout le monde de la zone de travail.
Contactez immédiatement les secours et les services publics concernés pour circonscrire la zone.
Si vous endommagez un câble de fibre optique, ne regardez pas le rayon lumineux exposé.
Ne quittez pas la plateforme de l'utilisateur si la machine est chargée d'électricité. Vous ne risquez rien tant que vous restez sur la plateforme.
Ne touchez aucune partie de la machine car vous pourriez être relié(e) à la terre.
Ne laissez personne d'autre toucher la machine ou s'en approcher quand elle est chargée d'électricité.
Partez toujours du principe que la machine est chargée d'électricité si vous heurtez une ligne électrique ou de communication. N'essayez pas de quitter la machine.
Les fuites de gaz sont inflammables et explosives et peuvent causer des blessures graves ou mortelles. Ne fumez pas pendant l'utilisation de la machine.
Assurez-vous que le levier de commande hydraulique auxiliaire est en position POINT MORT.
Réglez la commande d'accélérateur à mi-course entre les positions BAS RéGIME et HAUT RéGIME.
Introduisez la clé dans le commutateur d'allumage et tournez-la en position CONTACT.
Appuyez sur l'interrupteur de préchauffage pendant 10 secondes.
Tournez la clé de contact à la position DéMARRAGE. Relâchez la clé quand le moteur démarre.
Important: N'actionnez pas le démarreur plus de 10 secondes de suite. Si le moteur ne démarre pas, attendez 30 secondes que le démarreur refroidisse avant de faire une nouvelle tentative. Le démarreur risque de griller si vous ne respectez pas ces consignes.
Placez la commande d'accélérateur à la position HAUT RéGIME.
Important: Si le moteur tourne à haut régime quand le système hydraulique est froid (c.-à-d. quand la température ambiante est égale ou inférieure à 0 °C), ce dernier risque d'être endommagé. Si le moteur est froid, amenez la commande d'accélérateur à mi-course et laissez tourner le moteur pendant 2 à 5 minutes avant d'amener la commande à la position HAUT RéGIME.
Note: Si la température extérieure est inférieure à 0 °C, remisez la machine dans un garage pour la garder au chaud et faciliter le démarrage.
Utilisez la commande de déplacement pour déplacer la machine. La vitesse de déplacement de la machine, dans l'une ou l'autre direction, est proportionnelle au déplacement de la commande. Relâchez la commande de déplacement pour immobiliser la machine.
La commande d'accélérateur agit sur le régime moteur qui se mesure en tours/minute (tr/min). Amenez la commande d'accélérateur en position HAUT RéGIME pour obtenir des performances optimales. Vous pouvez cependant modifier la position de la commande d'accélérateur pour travailler à vitesses réduites.
Garez la machine sur une surface plane et horizontale, serrez le frein de stationnement (selon l'équipement) et abaissez les bras de chargeuse.
Assurez-vous que le levier de commande hydraulique auxiliaire est en position POINT MORT.
Placez la commande d'accélérateur à la position BAS RéGIME.
Si le moteur a déjà beaucoup travaillé ou est encore chaud, laissez-le tourner pendant une minute avant de tourner la clé de contact en position ARRêT.
Note: Cela aide à refroidir le moteur avant son arrêt complet. En cas d'urgence, vous pouvez arrêter le moteur immédiatement.
Tournez la clé de contact en position ARRêT, puis retirez-la.
Un enfant ou une personne non qualifiée risquent de se blesser en essayant d'utiliser la machine.
Retirez la clé du commutateur d'allumage si vous laissez la machine sans surveillance, ne serait-ce qu'un instant.
Important: Utilisez uniquement des outils agréés par Toro. Les outils peuvent modifier la stabilité et les caractéristiques de fonctionnement de la machine. L'utilisation d'outils non agréés risque d'annuler la garantie de la machine.
Important: Avant d'installer un outil quelconque, vérifiez que les plaques de montage sont propres et que les goupilles bougent librement. Graissez les goupilles si elles ne bougent pas librement.
Placez l'outil sur une surface plane et horizontale en laissant suffisamment de place derrière pour la machine.
Démarrez le moteur.
Basculez la plaque de montage de l'outil en avant.
Insérez la plaque de montage dans le bord supérieur de la plaque réceptrice de l'outil.

Levez les bras de chargeuse et basculez simultanément la plaque de montage vers l'arrière.
Important: L'outil doit être suffisamment levé pour ne pas toucher le sol, et la plaque de montage doit être complètement basculée en arrière.
Coupez le moteur et enlevez la clé.
Engagez complètement les goupilles à fixation rapide dans la plaque de montage.
Important: Si les goupilles ne tournent pas à la position engagée, cela signifie que la plaque de montage n'est pas complètement alignée avec les trous de la plaque réceptrice. Vérifiez la plaque réceptrice et nettoyez-la le cas échéant.
L'outil peut se détacher de la machine et écraser quelqu'un dans sa chute si les goupilles ne sont pas correctement engagées dans la plaque de montage.
Vérifiez que les goupilles sont correctement engagées dans la plaque de montage.

Les fuites de liquide hydraulique sous pression peuvent transpercer la peau et causer des blessures graves. L'injection de liquide sous la peau nécessite une intervention chirurgicale dans les heures qui suivent l'accident, réalisée par un médecin connaissant ce genre de blessure, pour éviter le risque de gangrène.
Vérifiez l'état de tous les flexibles et conduits de liquide hydraulique, ainsi que le serrage de tous les raccords et branchements avant de mettre le système hydraulique sous pression.
N'approchez pas les mains ni aucune autre partie du corps des fuites en trou d'épingle ou des gicleurs d'où sort du liquide hydraulique sous haute pression.
Utilisez un morceau de carton ou de papier pour détecter les fuites hydrauliques, jamais les mains.
Les coupleurs hydrauliques, les conduites/valves hydrauliques et le liquide hydraulique peuvent être très chauds, et vous risquez de vous brûler à leur contact.
Portez des gants pour manipuler les raccords hydrauliques.
Laissez refroidir la machine avant de toucher les composants hydrauliques.
Ne touchez pas le liquide hydraulique renversé.
Si l'outil est à commande hydraulique, raccordez les flexibles hydrauliques comme suit :
Coupez le moteur et enlevez la clé.
Déplacez le levier de commande hydraulique auxiliaire en avant, en arrière, puis ramenez-le en position POINT MORT pour libérer la pression au niveau des coupleurs hydrauliques.
Enlevez les capuchons de protection des raccords hydrauliques de la machine.
Enlevez les saletés éventuellement présentes sur les raccords hydrauliques.
Poussez le raccord mâle de l'outil dans le raccord femelle de la machine.
Note: La pression de l'outil est évacuée si vous branchez le raccord mâle en premier.
Poussez le raccord femelle de l'outil sur le raccord mâle de la machine.
Tirez sur les flexibles pour vérifier si les raccordements tiennent bien.
Garez la machine sur une surface plane et horizontale.
Abaissez l'outil au sol.
Coupez le moteur et enlevez la clé.
Tournez les goupilles à fixation rapide vers l'extérieur pour les déverrouiller.
Si l'outil est à commande hydraulique, déplacez le levier de commande hydraulique auxiliaire en avant, en arrière, puis ramenez-le au POINT MORT pour libérer la pression au niveau des coupleurs hydrauliques.
Si l'outil est à commande hydraulique, repoussez les colliers sur les raccords hydrauliques pour les débrancher.
Important: Raccordez ensemble les flexibles de l'outil pour éviter toute contamination du système hydraulique durant le remisage.
Replacez les capuchons de protection sur les coupleurs hydrauliques de la machine.
Mettez le moteur en marche, inclinez la plaque de montage vers l'avant et reculez la machine pour la dégager de l'outil.
Serrez le frein de stationnement (selon l'équipement), abaissez les bras de chargeuse, coupez le moteur, enlevez la clé, attendez l'arrêt complet de tout mouvement et laissez refroidir la machine avant de la régler, la nettoyer, la remiser ou la réparer.
Pour éviter les risques d'incendie, éliminez les débris qui se trouvent sur les outils, les entraînements, les silencieux et le moteur. Nettoyez les coulées éventuelles d'huile ou de carburant.
Maintenez toutes les pièces en bon état de marche et toutes les fixations bien serrées.
Ne touchez aucune des pièces de la machine juste après l'arrêt, car elles peuvent être très chaudes. Laissez-les refroidir avant d'entreprendre une réparation, un réglage ou un entretien de la machine.
Procédez avec prudence pour charger la machine sur une remorque ou un camion, ainsi que pour la décharger.
Si la machine s'enlise (par exemple dans de la boue), ramenez-la à une position stable en vous servant soit des deux points d'attache/de levage avant, soit des deux points d'attache arrière simultanément.

Important: Ouvrez toujours les vannes de remorquage avant de remorquer ou de pousser la machine, afin de ne pas endommager le système hydraulique.
Coupez le moteur et enlevez la clé.
Ouvrez le couvercle d'accès arrière.
À l'aide d'une clé, donnez deux tours dans le sens antihoraire aux vannes de remorquage situées sur les pompes hydrauliques.

Remorquez la machine comme il se doit.
Une fois la machine réparée, fermez les vannes de remorquage avant de l'utiliser.
Transportez la machine sur une remorque de poids-lourd ou un camion. Utilisez une rampe d'une seule pièce. Le camion ou la remorque doit être équipé(e) des freins, des éclairages et de la signalisation exigés par la loi. Lisez attentivement toutes les consignes de sécurité. Tenez-en compte pour éviter de vous blesser ou de blesser des personnes à proximité. Reportez-vous aux ordonnances locales concernant les exigences d'arrimage et de remorquage.
Il est dangereux de conduire sur la voie publique sans clignotants, éclairages, réflecteurs ou panneau « véhicule lent ». Vous risquez de provoquer un accident et de vous blesser.
Ne conduisez pas la machine sur la voie publique.
Le chargement ou le déchargement de la machine sur une remorque ou un camion augmente le risque de basculement, et donc de blessures graves ou mortelles (Figure 21).
Utilisez uniquement des rampes d'une seule pièce.
La longueur de la rampe doit être au moins 4 fois supérieure à la hauteur du plateau de la remorque ou du camion par rapport au sol. Ainsi, l'angle de la rampe ne dépassera pas 15 degrés par rapport au sol plat.

Le chargement ou le déchargement de la machine sur une remorque ou un camion augmente le risque de basculement, et donc de blessures graves ou mortelles.
Procédez avec la plus grande prudence lorsque vous manÅ“uvrez la machine sur une rampe.
Placez toujours l'extrémité la plus lourde de la machine en haut de la rampe pour la charger ou la décharger.
Évitez d'accélérer ou de décélérer brutalement lorsque vous conduisez la machine sur une rampe, car vous pourriez en perdre le contrôle ou la renverser.
Si vous utilisez une remorque, attelez-la au véhicule de remorquage et attachez les chaînes de sécurité.
Le cas échéant, raccordez les freins de la remorque.
Abaissez la ou les rampes.
Abaissez les bras de chargeuse.
Montez la machine sur la remorque en gardant le côté le plus lourd en haut de la rampe et en maintenant la charge en bas, comme illustré.
Si la machine est équipée d'un outil porte-charge plein (par ex. godet) ou d'un outil non porte-charge (par ex. trancheuse), montez la rampe en marche avant.
Si la machine est équipée d'un outil porte-charge vide ou n'a pas d'outil, montez la rampe en marche arrière.

Abaissez complètement les bras de chargeuse au sol.
Serrez le frein de stationnement, coupez le moteur et enlevez la clé de contact.
Servez-vous des points d'attache en métal de la machine pour l'arrimer solidement sur la remorque ou le véhicule de transport au moyen de sangles, chaînes, câbles ou cordes. Voir la réglementation locale concernant les exigences en matière d'arrimage.

Abaissez la ou les rampes.
Descendez la machine de la remorque en gardant le côté le plus lourd en haut de la rampe et en maintenant la charge en bas.
Si la machine est équipée d'un outil porte-charge plein (par ex. godet) ou d'un outil non porte-charge (par ex. trancheuse), descendez la rampe en marche arrière.
Si la machine est équipée d'un outil porte-charge vide ou n'a pas d'outil, descendez la rampe en marche avant.

| Périodicité d'entretien | Procédure d'entretien |
|---|---|
| À chaque utilisation ou une fois par jour |
|
Retirez les outils éventuellement montés et soulevez la machine par les points d'attache/de levage.

Note: Les côtés gauche et droit de la machine sont déterminés d'après la position d'utilisation normale.
Si vous laissez la clé dans le commutateur d'allumage, quelqu'un pourrait mettre le moteur en marche accidentellement et vous blesser gravement, ainsi que toute personne à proximité.
Retirez la clé du commutateur d'allumage avant tout entretien.
Garez la machine sur une surface plane et horizontale, débrayez les commandes hydrauliques auxiliaires, abaissez l'outil, serrez le frein de stationnement (selon l'équipement), coupez le moteur et enlevez la clé. Attendez l'arrêt complet de tout mouvement et laissez refroidir la machine avant de la régler, la nettoyer, la remiser ou la réparer.
Nettoyez les coulées éventuelles d'huile ou de carburant.
Ne confiez pas l'entretien de la machine à des personnes non qualifiées.
Utilisez des chandelles pour soutenir les composants au besoin.
Libérez la pression emmagasinée dans les composants avec précaution ; voir Évacuer la pression hydraulique.
Débranchez la batterie avant d'entreprendre des réparations ; voir Retrait de la batterie.
N'approchez jamais les mains ou les pieds des pièces mobiles. Dans la mesure du possible, évitez de procéder à des réglages sur la machine quand le moteur tourne.
Maintenez toutes les pièces en bon état de marche et toutes les fixations bien serrées. Remplacez tous les autocollants usés ou endommagés.
Ne modifiez pas les dispositifs de sécurité.
Utilisez uniquement des outils agréés par Toro. Les outils peuvent modifier la stabilité et les caractéristiques de fonctionnement de la machine. L'utilisation de la machine avec des outils non agréés risque d'annuler la garantie.
Utilisez exclusivement des pièces de rechange d'origine Toro.
Si un entretien ou une réparation exige que les bras de chargeuse soient levés, bloquez-les en position levée à l'aide du dispositif de verrouillage de vérins hydrauliques.
Reportez-vous à la réglementation locale concernant la sécurité d'entretien de la machine et apposez une étiquette d'avertissement sur le panneau de commande pour informer les autres utilisateurs de l'entretien en cours.
| Périodicité d'entretien | Procédure d'entretien |
|---|---|
| Après les 8 premières heures de fonctionnement |
|
| Après les 50 premières heures de fonctionnement |
|
| À chaque utilisation ou une fois par jour |
|
| Toutes les 25 heures |
|
| Toutes les 100 heures |
|
| Toutes les 200 heures |
|
| Toutes les 250 heures |
|
| Toutes les 400 heures |
|
| Toutes les 500 heures |
|
| Toutes les 1500 heures |
|
| Toutes les 1500 heures ou tous les 2 ans (la première échéance prévalant) |
|
| Une fois par an |
|
| Une fois par an ou avant le remisage |
|
| Tous les 2 ans |
|
Important: Reportez-vous au manuel du propriétaire du moteur pour toutes procédures d'entretien supplémentaires.
Lorsqu'ils sont levés, les bras de chargeuse peuvent s'abaisser accidentellement et d'écraser quelqu'un dans leur chute.
Pour cette raison, installez toujours le dispositif de blocage des vérins avant tout entretien exigeant d'élever les bras de chargeuse.
Retirez l'outil.
Levez les bras de chargeuse au maximum.
Coupez le moteur et enlevez la clé.
Retirez la goupille à anneau qui fixe le dispositif de blocage de vérin au bras de chargeuse.

Abaissez le dispositif de blocage sur la tige du vérin et fixez-le en position à l'aide de la goupille à anneau.
Abaissez lentement les bras de chargeuse jusqu'à ce que le dispositif de blocage rencontre le corps du vérin et l'extrémité de la tige.
Bloquez le verrou de levier de chargeuse ; voir Verrou des leviers de chargeuse.
Important: Retirez le dispositif de blocage de la tige et rangez-le correctement avant d'utiliser la machine.
Démarrez le moteur.
Levez les bras de chargeuse au maximum.
Coupez le moteur et enlevez la clé.
Enlevez la goupille à anneau qui retient le dispositif de blocage.
Tournez le dispositif de blocage vers le bras de chargeuse et fixez-le en position à l'aide de la goupille à anneau.
Abaissez les bras de chargeuse.
L'ouverture ou la dépose des couvercles, capots et écrans pendant que le moteur tourne, peut vous exposer à des pièces mobiles et vous blesser gravement.
Avant d'ouvrir tout couvercle, capot ou écran, coupez le moteur, enlevez la clé de contact et laissez refroidir le moteur.
Garez la machine sur une surface plane et horizontale, serrez le frein de stationnement et abaissez les bras de chargeuse.
Coupez le moteur, retirez la clé et laissez refroidir le moteur.
Déverrouillez le capot avec la clé et appuyez sur le bouton pour ouvrir le verrou.

Soulevez le capot.
Tirez la patte de fixation de la béquille.

Baissez le capot et appuyez sur le verrou pour bloquer le capot.
Garez la machine sur une surface plane et horizontale, serrez le frein de stationnement et abaissez les bras de chargeuse.
Coupez le moteur, retirez la clé et laissez refroidir le moteur.
Dévissez les 2 boutons à tige filetée qui fixent le couvercle d'accès arrière à la machine.

Basculez le couvercle d'accès arrière vers le bas et déposez-le pour accéder aux composants internes.
Placez le couvercle d'accès arrière sur l'arrière de la machine en prenant soin d'aligner les languettes dans les fentes.
Poussez le couvercle d'accès en avant, en alignant les boutons à tige filetée sur les trous filetés de la machine.
Vissez fermement les boutons pour fixer le couvercle d'accès arrière en place.
Garez la machine sur une surface plane et horizontale, serrez le frein de stationnement et abaissez les bras de chargeuse.
Coupez le moteur, retirez la clé et laissez refroidir le moteur.
Ouvrez le capot.
Faites coulisser les panneaux latéraux vers le haut et hors des fentes du panneau avant et du cadre.

Glissez les panneaux latéraux en position dans les fentes du panneau avant et du cadre.
| Périodicité d'entretien | Procédure d'entretien |
|---|---|
| À chaque utilisation ou une fois par jour |
|
Type de graisse : universelle.
Garez la machine sur une surface plane et horizontale, serrez le frein de stationnement et abaissez les bras de chargeuse.
Coupez le moteur et enlevez la clé.
Nettoyez les graisseurs avec un chiffon.

Raccordez un pistolet de graissage à chaque graisseur.
Injectez de la graisse dans les graisseurs jusqu'à ce qu'elle commence à sortir des roulements (environ 3 injections).
Essuyez tout excès de graisse.
Coupez le moteur avant de contrôler le niveau d'huile ou d'ajouter de l'huile dans le carter.
Ne modifiez pas le réglage du régulateur et ne faites pas tourner le moteur à un régime excessif.
Gardez les mains, les pieds, le visage et toute autre partie du corps ainsi que les vêtements à l'écart du silencieux et autres surfaces brûlantes.
| Périodicité d'entretien | Procédure d'entretien |
|---|---|
| À chaque utilisation ou une fois par jour |
|
| Toutes les 25 heures |
|
| Toutes les 200 heures |
|
Important: Pour ne pas endommager le moteur, ne le faites jamais tourner sans le filtre à air et sans le couvercle du filtre à air.
Important: Remplacez le préfiltre du filtre à air uniquement quand l'indicateur de colmatage est rouge. Ne remplacez pas le filtre à air plus fréquemment que nécessaire ; cela ne fait qu'accroître le risque de contamination du moteur par des impuretés quand le filtre est déposé.
Garez la machine sur une surface plane et horizontale, serrez le frein de stationnement et abaissez les bras de chargeuse.
Coupez le moteur et enlevez la clé.
Ouvrez le capot.
Vérifiez si le boîtier du filtre à air présente des dommages susceptibles d'occasionner des fuites d'air. Vérifiez que le système d'admission ne présente pas de fuites, de dommages ou de colliers de flexible desserrés. Remplacez ou réparez les composants endommagés.
Déverrouillez le filtre à air et détachez le couvercle du boîtier du filtre.
Important: Ne retirez pas le filtre à air.

Appuyez de chaque côté du capuchon protecteur pour l'ouvrir et vider la poussière.
Nettoyez l'intérieur du couvercle de l'air comprimé à moins de 2,05 bar.
Important: N'utilisez pas d'air comprimé pour nettoyer le corps du filtre à air.
Contrôlez l'indicateur de colmatage.
Si l'indicateur de colmatage est transparent, reposez le couvercle en orientant le capuchon protecteur vers le bas, puis refermez les attaches.
Si l'indicateur de colmatage est rouge, remplacez le filtre à air.

Reposez le couvercle du filtre à air, le capuchon protecteur orienté en bas, et fermez les verrous.
Fermez le capot.
Sortez délicatement l'élément filtrant du boîtier du filtre à air.
Note: Évitez de cogner l'élément à l'intérieur du boîtier.
Important: N'essayez pas de nettoyer l'élément filtrant.

Vérifiez que l'élément neuf n'est pas déchiré ou couvert d'une pellicule grasse, et que le joint de caoutchouc n'est pas endommagé. Examinez l'élément en le plaçant devant une lumière forte ; les trous éventuels apparaissent sous forme de points brillants.
N'utilisez pas l'élément s'il est endommagé.
Installez l'élément filtrant avec précaution.
Note: Assurez-vous que chacun des éléments est bien engagé en appuyant sur le rebord extérieur.
Important: N'appuyez pas sur la partie intérieure souple du filtre.
Reposez le couvercle du filtre à air, le capuchon protecteur orienté en bas, et fermez les verrous.
Fermez le capot.
| Périodicité d'entretien | Procédure d'entretien |
|---|---|
| Après les 50 premières heures de fonctionnement |
|
| À chaque utilisation ou une fois par jour |
|
| Toutes les 100 heures |
|
| Toutes les 200 heures |
|
Type d'huile : huile détergente pour moteur diesel (classe de service API CH-4 ou mieux).
Capacité du carter : 3,6 l avec filtre
Viscosité : voir le tableau ci-dessous

Garez la machine sur une surface plane et horizontale, serrez le frein de stationnement et abaissez les bras de chargeuse.
Coupez le moteur, retirez la clé et laissez refroidir le moteur.
Ouvrez le capot.
Nettoyez la surface autour de la jauge d'huile et du bouchon de remplissage.

Contrôlez le niveau d'huile et faites l'appoint au besoin.
Important: Ne remplissez pas excessivement le carter d'huile ; si le niveau d'huile est trop élevé, vous risquez d'endommager le moteur.

Fermez le capot.
Démarrez le moteur et laissez-le tourner pendant 5 minutes.
Note: Cela permet de réchauffer l'huile qui s'écoule alors plus facilement.
Garez la machine avec le côté de la vidange légèrement plus bas que l'autre côté, pour pouvoir évacuer toute l'huile.
Abaissez les bras de chargeuse, serrez le frein de stationnement, coupez le moteur et enlevez la clé de contact.
Vidangez l'huile sous la machine.
Les composants sont très chauds si la machine vient de fonctionner. Tout contact avec des pièces chaudes peut entraîner des blessures légères ou modérées.
Prenez garde à ne pas toucher les composants chauds quand vous faites la vidange d'huile et/ou que vous remplacez le filtre à huile.


Serrez le bouchon de vidange à un couple de 46 à 56 N·m.
Ouvrez le capot.
Retirez le bouchon de remplissage et versez lentement environ 80 % de la quantité d'huile spécifiée dans le couvre-culasse.
Contrôlez le niveau d'huile.
Faites l'appoint d'huile avec précaution pour faire monter le niveau jusqu'au trou supérieur de la jauge.
Remettez le bouchon de remplissage.
Fermez le capot.
Note: Débarrassez-vous de l'huile usagée dans un centre de recyclage agréé.
Vidangez l'huile moteur ; voir Vidange de l'huile moteur.
Lorsque toute l'huile s'est écoulée, remettez le bouchon de vidange et serrez-le entre 46 et 56 N·m.
Note: Débarrassez-vous de l'huile usagée dans un centre de recyclage agréé.
Déposez le panneau latéral gauche.
Placez un bac de vidange peu profond ou un chiffon sous le filtre pour récupérer l'huile.
Remplacez le filtre à huile.

Retirez le bouchon de remplissage et versez lentement environ 80 % de la quantité d'huile spécifiée dans le couvre-culasse.
Contrôlez le niveau d'huile.
Faites l'appoint d'huile avec précaution pour faire monter le niveau jusqu'au trou supérieur de la jauge.
Remettez le bouchon de remplissage.
Dans certaines circonstances, le carburant est extrêmement inflammable et hautement explosif. Un incendie ou une explosion causé(e) par du carburant peut vous brûler, ainsi que les personnes se tenant à proximité, et causer des dommages matériels.
Vous trouverez la liste complète des consignes de sécurité liées au carburant sous Consignes de sécurité pour le carburant.
| Périodicité d'entretien | Procédure d'entretien |
|---|---|
| À chaque utilisation ou une fois par jour |
|
Garez la machine sur une surface plane et horizontale, serrez le frein de stationnement et abaissez les bras de chargeuse.
Coupez le moteur et enlevez la clé.
Ouvrez le capot et déposez le panneau latéral droit.
Placez un bac de vidange sous le séparateur d'eau.

Desserrez le robinet de vidange en bas de la cartouche du filtre pour vidanger le liquide.
Resserrez le robinet de vidange.
Reposez le panneau latéral droit et refermez le capot.
| Périodicité d'entretien | Procédure d'entretien |
|---|---|
| Toutes les 400 heures |
|
Garez la machine sur une surface plane et horizontale, serrez le frein de stationnement et abaissez les bras de chargeuse.
Coupez le moteur et enlevez la clé.
Ouvrez le capot et déposez le panneau latéral droit.
Placez un bac de vidange propre sous la cartouche du filtre à carburant.

Déposez la cartouche du filtre et nettoyez la surface de montage.
Lubrifiez le joint de la cartouche neuve avec de l'huile propre.
Remplissez la cartouche de carburant.
Installez la cartouche à la main jusqu'à ce que le joint soit en appui contre la surface de montage. Serrez ensuite la cartouche d'un demi tour supplémentaire.
Reposez le panneau latéral droit et refermez le capot.
| Périodicité d'entretien | Procédure d'entretien |
|---|---|
| Toutes les 400 heures |
|
Vérifiez que les conduites et les raccords ne sont pas détériorés, endommagés ou desserrés. Serrez les raccords desserrés et demandez à un réparateur agréé de réparer les conduites de carburant endommagées.
| Périodicité d'entretien | Procédure d'entretien |
|---|---|
| Toutes les 400 heures |
|
Garez la machine sur une surface plane et horizontale, serrez le frein de stationnement et abaissez les bras de chargeuse.
Coupez le moteur et enlevez la clé.
Ouvrez le capot et déposez le panneau latéral droit.
Remplacez le filtre comme indiqué.
Note: Les repères sur le filtre doivent être dirigés dans le sens d'écoulement du carburant.

Reposez le panneau latéral droit et refermez le capot.
Vous devez purger le circuit d'alimentation avant de démarrer le moteur dans les cas suivants :
Lors du tout premier démarrage d'un moteur neuf..
Après un arrêt du moteur dû à une panne de carburant.
Après l'entretien des composants du circuit d'alimentation (remplacement du filtre, etc.).
Garez la machine sur une surface plane et horizontale, abaissez les bras de chargeuse et coupez le moteur.
Vérifiez que le réservoir de carburant est au moins à moitié plein.
Ouvrez le capot.
Desserrez la vis de purge d'air sur la pompe d'injection.

Tournez la clé dans le commutateur d'allumage en position CONTACT pour lancer la pompe à carburant électrique, ce qui va forcer l'air à sortir par la vis de purge. Laissez la clé à la position CONTACT jusqu'à ce que le carburant s'écoule régulièrement par la vis.
Serrez la vis et tournez la clé en position ARRêT.
Note: Le moteur devrait démarrer sans problème si vous suivez la procédure de purge ci-dessus. Toutefois, si le moteur refuse de démarrer, il se peut qu'il reste de l'air entre la pompe d'injection et les injecteurs ; contactez un réparateur agréé.
| Périodicité d'entretien | Procédure d'entretien |
|---|---|
| Tous les 2 ans |
|
Demandez à un concessionnaire-réparateur agréé de vidanger et de nettoyer les réservoirs de carburant.
Garez la machine sur une surface plane et horizontale, serrez le frein de stationnement et abaissez les bras de chargeuse.
Coupez le moteur et enlevez la clé.
Déposez le couvercle d'accès arrière ; voir Ouverture du couvercle d'accès arrière
Déposez le panneau de support gauche.

Déposez le support du réservoir de carburant.

Déposez le panneau arrière.

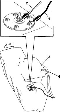
Faites un repère sur les conduites de carburant d'aspiration et de retour, ainsi que sur les raccords correspondants du réservoir, pour identifier les emplacements corrects des flexibles lors de la repose du réservoir de carburant.

Placez un collier sur chacune des conduites d'alimentation, à 5 cm de leur point de sortie du réservoir de carburant.
Débranchez les conduites d'alimentation des raccords sur le réservoir de carburant.
Obturez les raccords pour éviter les fuites de carburant.
Débranchez les 2 fils reliés au côté droit du réservoir.
Enlevez le réservoir avec précaution, en le gardant bien droit pour ne pas renverser de carburant.
Important: Maintenez les conduites d'alimentation et les fils doivent être à l'écart des poulies du moteur et du cadre.
Important: Maintenez les conduites d'alimentation et les fils doivent être à l'écart des poulies du moteur et du cadre.
Glissez le réservoir partiellement dans le châssis.
Retirez les bouchons des raccords du réservoir et branchez les conduites de retour et d'aspiration sur les raccords correspondants. Retirez les colliers.

Connectez le fil orange à la borne centrale et le fil noir à la borne extérieure.
Poussez le réservoir complètement dans la machine.
Reposez le panneau arrière.

Reposez le support de réservoir du carburant.

Reposez le panneau de support gauche.

Reposez le couvercle d'accès arrière.
Débranchez le câble de la borne négative de la batterie avant de réparer la machine.
Chargez la batterie dans un endroit dégagé et bien aéré, à l'écart des flammes ou sources d'étincelles. Débranchez le chargeur du secteur avant de brancher ou de débrancher la batterie. Portez des vêtements de protection et utilisez des outils isolés.
L'acide de la batterie est toxique et peut causer des brûlures. Évitez tout contact avec la peau, les yeux et les vêtements. Protégez-vous le visage, les yeux et les vêtements quand vous manipulez la batterie.
Les gaz de la batterie sont explosifs. Gardez la batterie éloignée des cigarettes, des flammes ou des sources d'étincelles.
Spécifications : 12 V, 585 A (démarrage à froid)
Les bornes de la batterie ou les outils en métal peuvent causer des courts-circuits au contact des pièces métalliques de la machine et produire des étincelles. Les étincelles peuvent provoquer l'explosion des gaz de la batterie et vous blesser.
Lors du retrait ou de la mise en place de la batterie, les bornes ne doivent toucher aucune partie métallique de la machine.
Évitez de créer des courts-circuits entre les bornes de la batterie et les parties métalliques de la machine avec des outils en métal.
S'ils sont mal acheminés, les câbles de la batterie peuvent subir des dommages ou endommager la machine et produire des étincelles. Les étincelles peuvent provoquer l'explosion des gaz de la batterie et vous blesser.
Débranchez toujours le câble négatif (noir) de la batterie avant le câble positif (rouge).
Garez la machine sur une surface plane et horizontale, serrez le frein de stationnement et abaissez les bras de chargeuse.
Coupez le moteur et enlevez la clé.
Ouvrez le couvercle d'accès arrière.
Déposez le couvercle d'accès à la batterie.

Retirez le boulon, la rondelle et la barre de fixation de la batterie.

Débranchez le câble de masse négatif (noir) de la borne de la batterie. Conservez les fixations.
Repoussez le capuchon en caoutchouc sur le câble positif (rouge).
Débranchez le câble positif (rouge) de la borne de la batterie. Conservez les fixations.
Soulevez la batterie hors du châssis.
La batterie en charge produit des gaz qui peuvent exploser et causer des blessures graves ou mortelles.
Ne fumez jamais à côté de la batterie et tenez-la à l'écart des flammes ou sources d'étincelles.
Important: Gardez toujours la batterie chargée au maximum (densité 1,265). Cela est particulièrement important pour prévenir la dégradation de la batterie si la température tombe en dessous de 0 °C.
Retirez la batterie de la machine ; voir Retrait de la batterie.
Chargez la batterie pendant 10 à 15 minutes entre 25 et 30 A, ou pendant 30 minutes à 6 A. Ne la chargez pas excessivement.

Quand la batterie est chargée au maximum, débranchez le chargeur de la prise, puis débranchez les fils du chargeur des bornes de la batterie.
Note: Maintenez propres les bornes et le bac de la batterie pour prolonger la vie de la batterie.
Garez la machine sur une surface plane et horizontale, serrez le frein de stationnement (selon l'équipement) et abaissez les bras de chargeuse.
Coupez le moteur et enlevez la clé.
Retirez la batterie de la machine ; voir Retrait de la batterie.
Lavez le bac complet avec un mélange d'eau et de bicarbonate de soude.
Rincez la batterie à l'eau claire.
Pour prévenir la corrosion, enduisez les bornes de la batterie et les cosses des câbles de graisse Grafo 112X (Skin-Over) ou de vaseline.
Reposez la batterie ; voir Mise en place de la batterie.
S'ils sont mal acheminés, les câbles de la batterie peuvent subir des dommages ou endommager la machine et produire des étincelles. Les étincelles peuvent provoquer l'explosion des gaz de la batterie et vous blesser.
Connectez toujours le câble positif (rouge) de la batterie avant le câble négatif (noir).
Branchez le câble positif (rouge) de la batterie à la borne positive (+) à l'aide des fixations retirées précédemment.

Placez le capuchon rouge sur la borne positive de la batterie.
Branchez le câble négatif (noir) de la batterie à la borne négative (-) à l'aide des fixations retirées précédemment.
Fixez la batterie au moyen de la barre, du boulon et de la rondelle.
Important: Les câbles de la batterie ne doivent pas frotter contre des arêtes tranchantes ni se toucher.
Reposez le couvercle d'accès à la batterie.

Refermez le couvercle d'accès arrière ; voir Fermeture du couvercle d’accès arrière.
La batterie d'origine ne nécessite aucun entretien. Pour savoir comment faire l'entretien d'une batterie de rechange, reportez-vous aux instructions du fabricant de la batterie.
Le système électrique est protégé par des fusibles. Il ne nécessite donc aucun entretien. Toutefois, si un fusible grille, contrôlez la pièce ou le circuit pour vérifier son état et vous assurer qu'il n'y a pas de court-circuit.

Note: Si la machine refuse de démarrer, il se peut que le fusible du panneau de commande/relais ou du circuit principal soit grillé.
Garez la machine sur une surface plane et horizontale, serrez le frein de stationnement et abaissez les bras de chargeuse.
Coupez le moteur et enlevez la clé.
Ouvrez le capot.
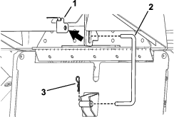
Dépose de la béquille.

Déposez le panneau des fusibles.

Contrôlez les fusibles.
Reposez le panneau des fusibles.
Montage de la béquille.
Fermez le capot.
| Périodicité d'entretien | Procédure d'entretien |
|---|---|
| Après les 50 premières heures de fonctionnement |
|
| À chaque utilisation ou une fois par jour |
|
| Toutes les 100 heures |
|
| Toutes les 250 heures |
|
Garez la machine sur une surface plane et horizontale, et serrez le frein de stationnement.
Le godet étant monté et incliné vers le bas, abaissez-le au sol afin que l'avant du groupe de déplacement se soulève de quelques centimètres.

Coupez le moteur et enlevez la clé.
Nettoyez les chenilles au tuyau d'arrosage ou au jet haute pression.
Important: Le jet haute pression ne doit servir qu'au nettoyage des chenilles. Ne l'utilisez pas pour nettoyer le reste de la machine. N'utilisez pas de jet d'eau haute pression entre le pignon d'entraînement et la machine au risque d'endommager les joints du moteur. Le lavage au jet d'eau haute pression peut endommager le système électrique et les vannes hydrauliques, ou enlever la graisse.
Important: Nettoyez soigneusement les galets de roulement, la roue de tension et le pignon d'entraînement. Les galets de roulement doivent tourner librement lorsqu'ils sont propres.
Garez la machine sur une surface plane et horizontale, serrez le frein de stationnement et abaissez les bras de chargeuse.
Coupez le moteur et enlevez la clé.
Déposez le couvercle.

Vérifiez que la distance entre l'écrou de tension et l'arrière du tube de tension et de 7 cm.
Si la distance est incorrecte, poursuivez cette procédure.
Si la distance est correct, passez à l'opération 10.

Soulevez/soutenez le côté de la machine sur lequel vous voulez travailler de sorte que la chenille soit décollée du sol.
Retirez le boulon de blocage, l'entretoise et l'écrou.

À l'aide d'une clé à cliquet de ½ pouce, tournez la vis de tension dans le sens antihoraire jusqu'à obtention d'un espacement de 7 cm entre l'écrou de tension et l'arrière du tube de tension.

Alignez l'encoche la plus proche de la vis de tension et le trou du boulon de blocage, et fixez la vis avec le boulon de blocage, l'entretoise et l'écrou.
Abaissez la machine sur le sol.
Reposez le couvercle.
Remplacez les chenilles lorsqu'elles sont très usées.
Garez la machine sur une surface plane et horizontale, serrez le frein de stationnement et abaissez les bras de chargeuse.
Coupez le moteur et enlevez la clé.
Soulevez/soutenez le côté de la machine sur lequel vous voulez travailler de sorte que la chenille se trouve de 8 à 10 cm au-dessus du sol.
Retirez le boulon de blocage, l'entretoise et l'écrou.

À l'aide d'un rochet de 1/2 pouce, tournez la vis de tension dans le sens horaire pour détendre la transmission.

Poussez la roue de tension vers l'arrière de la machine pour appuyer le tube de tension contre le cadre.
Note: S'il ne touche pas le cadre, continuez de tourner la vis de tension jusqu'à ce qu'il le touche.

Tournez la chenille en avant pour la déchausser de la roue de tension en commençant en haut de la roue.
Lorsque la chenille est déchaussée, retirez-la du pignon d'entraînement et des galets de roulement.
Pour installer la chenille neuve, commencez par l'enrouler autour du pignon, en veillant à ce que les crampons s'engagent correctement entre les dents du pignon.
Poussez la chenille sous et entre les galets de roulement.
Enroulez ensuite la chenille autour de la roue de tension en commençant par le bas et en tournant la chenille en arrière tout en poussant les crampons dans la roue.
Tournez la vis de tension dans le sens antihoraire jusqu'à obtention d'un écartement de 7 cm entre l'écrou de tension et l'arrière du tube de tension.

Alignez l'encoche la plus proche dans la vis de tension et le trou du boulon de blocage, et fixez la vis avec le boulon et l'écrou de blocage.
Abaissez la machine sur le sol.
Répétez les opérations 3 à 14 pour remplacer l'autre chenille.
Déposez les chenilles ; voir Remplacement des chenilles.
Retirez les 4 boulons qui fixent le guide-chenille inférieur et déposez le guide.

Retirez le circlip et le cache-moyeu d'un galet de roulement.

Vérifiez la graisse sous le cache-moyeu et autour du joint. Si elle est encrassée, granuleuse ou en quantité insuffisante, enlevez toute la graisse, remplacez le joint et ajoutez de la graisse neuve.
Vérifiez que le galet de roulement tourne en douceur sur le roulement. Si ce n'est pas le cas, remplacez le galet de roulement ; voir les Instructions d'installation d'un kit galet de roulement ou contactez un concessionnaire-réparateur agréé pour faire effectuer une réparation.
Reposez le cache-moyeu graissé et fixez-le en place avec le circlip.
Répétez les opérations 3 à 6 pour les autres galets de roulement.
Montez les guide-chenilles sur la machine. Serrez les boulons à un couple de 91 à 112 N·m.
Reposez les chenilles ; voir Remplacement des chenilles.
L'ingestion de liquide de refroidissement peut être toxique ; rangez-le hors de la portée des enfants et des animaux domestiques.
Les projections de liquide de refroidissement brûlant sous pression ou le contact avec le radiateur brûlant et les pièces qui l'entourent peuvent causer des brûlures graves.
Laissez toujours refroidir le moteur pendant au moins 15 minutes avant d'enlever le bouchon du radiateur.
Servez-vous d'un chiffon pour ouvrir le bouchon du radiateur et desserrez-le lentement pour laisser la vapeur s'échapper.
| Périodicité d'entretien | Procédure d'entretien |
|---|---|
| À chaque utilisation ou une fois par jour |
|
| Toutes les 100 heures |
|
L'arbre en rotation et le ventilateur peuvent causer des blessures.
N'utilisez jamais la machine sans les capots de protection.
N'approchez pas les doigts, les mains et les vêtements du ventilateur et de l'arbre d'entraînement en rotation.
Garez la machine sur une surface plane et horizontale, abaissez les bras de chargeuse, serrez le frein de stationnement, coupez le contact et enlevez la clé du commutateur d'allumage avant de faire l'entretien.
| Périodicité d'entretien | Procédure d'entretien |
|---|---|
| À chaque utilisation ou une fois par jour |
|
Enlevez à l'air comprimé l'herbe, les saletés et autres débris accumulés sur la grille de radiateur.
Capacité : 3,8 litres
Type : mélange 50/50 d'eau et d'antigel permanent l'éthylène glycol.
Garez la machine sur une surface plane et horizontale, abaissez les bras de chargeuse, serrez le frein de stationnement et coupez le moteur.
Enlevez la clé du commutateur d'allumage et laissez refroidir le moteur.
Vérifiez le niveau de liquide de refroidissement dans le vase d'expansion.
Il doit se situer au même niveau ou au-dessus du repère qui figure sur le côté du vase d'expansion.

Si le niveau de liquide de refroidissement est bas, procédez comme suit :
Retirez le bouchon de remplissage de liquide de refroidissement.

Ouvrez les vannes de purge de liquide de refroidissement avant et supérieure.
Versez du liquide de refroidissement dans le goulot de remplissage jusqu'à ce qu'il commence à sortir par la vanne de purge avant.
Fermez la vanne de purge avant.
Versez du liquide de refroidissement dans le goulot de remplissage jusqu'à ce qu'il commence à sortir par la vanne de purge supérieure.
Fermez la vanne de purge supérieure.
Versez du liquide de refroidissement dans le goulot de remplissage jusqu'à ce qu'il monte dans le goulot.
Remettez le bouchon de remplissage de liquide de refroidissement en place.
Ajoutez du liquide de refroidissement dans le vase d'expansion jusqu'à ce qu'il atteigne le repère du plein sur le côté du vase.
Revissez le bouchon du vase d'expansion.
| Périodicité d'entretien | Procédure d'entretien |
|---|---|
| Toutes les 1500 heures |
|
Demandez à un réparateur agréé d'effectuer la vidange du liquide de refroidissement une fois par an.
S'il est nécessaire de faire l'appoint de liquide de refroidissement moteur, voir Contrôle du niveau du liquide de refroidissement.
| Périodicité d'entretien | Procédure d'entretien |
|---|---|
| À chaque utilisation ou une fois par jour |
|
Serrez le frein de stationnement ; voir Levier de frein de stationnement.
Démarrez le moteur.
Essayez lentement de conduire la machine en marche avant ou arrière.
Note: Il se peut que la machine roule légèrement avant que les freins s'engagent dans le pignon d'entraînement.
Si les freins n'immobilisent pas la machine après un léger déplacement initial, faites-la réviser par votre concessionnaire-réparateur agréé.
| Périodicité d'entretien | Procédure d'entretien |
|---|---|
| Une fois par an |
|
Vérifiez l'état de la courroie de pompe hydraulique une fois par an. Faites-la remplacer par un réparateur agréé si elle est usée ou endommagée.

Les commandes sont réglées en usine avant l'expédition de la machine. Toutefois, après de nombreuses heures d'utilisation, il faudra éventuellement ajuster l'alignement, la position POINT MORT et le centrage de la commande de déplacement quand elle est à la position avant maximale.
Important: Pour régler les commandes correctement, effectuez chaque procédure dans l'ordre indiqué.
Si la barre de commande de déplacement n'est pas de niveau et d'équerre avec la barre de référence quand elle est ramenée complètement en arrière, effectuez immédiatement la procédure suivante :
Garez la machine sur une surface plane et horizontale, serrez le frein de stationnement et abaissez les bras de chargeuse.
Coupez le moteur et enlevez la clé.
Tirez la commande de déplacement tout droit en arrière pour que l'avant vienne toucher la barre de référence.

Si l'avant de la commande de déplacement n'est pas d'équerre et de niveau avec la barre de référence, desserrez l'écrou et le boulon à embase de la tige de la commande de déplacement.

Réglez la commande de déplacement de sorte qu'elle soit de niveau et en appui contre la barre de référence lorsqu'elle est tirée tout droit en arrière.

Serrez l'écrou et le boulon à embase dans la tige de la commande de déplacement.
Si la machine à tendance à avancer ou à reculer quand la commande de déplacement est à la position POINT MORT et que le moteur vient de tourner, suivez immédiatement la procédure ci-après :
Soulevez/soutenez la machine de sorte que les chenilles ne touchent plus le sol.
Ouvrez le couvercle d'accès arrière.
Desserrez les écrous de blocage sur les tiges de déplacement, sous le panneau de commande.

Mettez le moteur en marche et réglez la commande d'accélérateur de manière que le papillon soit 1/3 ouvert.
Lorsque la machine est en marche, vous risquez d'être happé et blessé par les pièces en mouvement, ou de vous brûler sur des surfaces chaudes.
Ne vous approchez pas des points de pincement, des pièces mobiles et des surfaces chaudes lorsque vous effectuez des réglages sur la machine en marche.
Si la chenille gauche bouge, allongez ou raccourcissez la tige de déplacement droite jusqu'à ce que la chenille ne bouge plus.
Si la chenille droite bouge, allongez ou raccourcissez la tige de déplacement gauche jusqu'à ce que la chenille ne bouge plus.
Resserrez les écrous de blocage.
Refermez le couvercle d'accès arrière.
Coupez le moteur et abaissez la machine au sol.
Conduisez la machine en marche arrière en vérifiant qu'elle se déplace en ligne droite. Si ce n'est pas le cas, notez de quel côté elle a tendance à se déporter. Répétez le réglage décrit plus haut jusqu'à ce que la machine se déplace en marche arrière en ligne droite.
Si la machine ne se déplace pas correctement en ligne droite quand vous maintenez la commande de déplacement contre la barre de référence, procédez comme suit :
Conduisez la machine en maintenant la commande de déplacement contre la barre de référence, et notez de quel côté elle a tendance à se déporter.
Relâchez la commande de déplacement.
Si la machine se déporte vers la gauche, desserrez l'écrou de blocage droit et ajustez la vis de réglage du centrage à l'avant de la commande de déplacement.
Si la machine se déporte vers la droite, desserrez l'écrou de blocage gauche et ajustez la vis de réglage de centrage à l'avant de la commande de déplacement.

Répétez la procédure jusqu'à ce que la machine se déplace en ligne droite lorsque la commande de déplacement est en position avant maximale.
Important: Vérifiez que les vis de réglage de l'alignement touchent les butées en position avant maximale pour éviter une course excessive des pompes hydrauliques.
Consultez immédiatement un médecin si du liquide est injecté sous la peau. Toute injection de liquide hydraulique sous la peau doit être éliminée dans les quelques heures qui suivent par une intervention chirurgicale réalisée par un médecin.
Vérifiez l'état de tous les flexibles et conduits de liquide hydraulique, ainsi que le serrage de tous les branchements et raccords avant de mettre le système hydraulique sous pression.
N'approchez pas les mains ni aucune autre partie du corps des fuites en trou d'épingle ou des gicleurs d'où sort du liquide hydraulique sous haute pression.
Utilisez un morceau de papier ou de carton pour détecter les fuites.
Évacuez avec précaution toute la pression du système hydraulique avant toute intervention sur le système.
Pour évacuer la pression hydraulique moteur en marche, désengagez le système hydraulique auxiliaire et baissez complètement les bras de chargeuse.
Pour évacuer la pression moteur coupé, amenez le levier de commande hydraulique auxiliaire entre les positions de débit avant et arrière et actionnez le levier de commande des bras de chargeuse/basculement de l'outil entre les positions avant pour baisser les bras de chargeuse.

| Périodicité d'entretien | Procédure d'entretien |
|---|---|
| Toutes les 100 heures |
|
Capacité du réservoir de liquide hydraulique : 45 litres
Utilisez un seul des liquides suivants dans le système hydraulique :
Liquide hydraulique/de transmission « Toro Premium Transmission/Hydraulic Tractor Fluid » (pour plus de renseignements, adressez-vous à votre concessionnaire Toro agréé)
Liquide hydraulique longue durée « Toro PX Extended Life Hydraulic Fluid » (pour plus de renseignements, adressez-vous à votre concessionnaire Toro agréé)
Si aucun des liquides Toro ci-dessus n'est disponible, vous pouvez utiliser un autre liquide hydraulique universel pour tracteur (UTHF), à condition que ce soit un produit ordinaire à base de pétrole. Les spécifications doivent rester dans la plage des caractéristiques matérielles et le liquide doit être conforme aux normes industrielles ci-dessous. Vérifiez auprès de votre fournisseur de liquide hydraulique que le liquide est conforme à ces spécifications.
Note: Toro décline toute responsabilité en cas de dommage causé par l'utilisation d'huiles de remplacement inadéquates. Utilisez uniquement des produits provenant de fabricants réputés qui répondent de leur recommandations.
| Propriétés physiques | |
| Viscosité, ASTM D445 | cSt à 40 °C : 55 à 62 |
| cSt à 100 °C : 9,1 à 9,8 | |
| Indice de viscosité, ASTM D2270 | 140 à 152 |
| Point d'écoulement, ASTM D97 | -37 à -43 °C |
| Normes industrielles | |
| API GL-4, AGCO Powerfluid 821 XL, Ford New Holland FNHA-2-C-201.00, Kubota UDT, John Deere J20C, Vickers 35VQ25 et Volvo WB-101/BM | |
Note: De nombreux liquides hydrauliques sont presque incolores, ce qui rend difficile la détection des fuites. Un additif colorant rouge pour liquide hydraulique est disponible en bouteilles de 20 ml. Une bouteille suffit pour 15 à 22 litres de liquide hydraulique. Vous pouvez commander ces bouteilles chez les concessionnaires-réparateurs agréés (réf. 44-2500).
| Périodicité d'entretien | Procédure d'entretien |
|---|---|
| Toutes les 25 heures |
|
Important: Utilisez toujours le liquide hydraulique correct. L'utilisation de liquides non spécifiés endommagera le système hydraulique. Voir Liquides hydrauliques spécifiés.
Retirez les outils éventuellement montés.
Placez la machine sur une surface plane et horizontale, abaissez les bras de chargeuse et rétractez complètement le vérin d'inclinaison.
Coupez le moteur, retirez la clé et laissez refroidir le moteur.
Ouvrez le capot.
Nettoyez la surface autour du goulot de remplissage du réservoir hydraulique.

Enlevez le bouchon du goulot de remplissage et vérifiez le niveau de liquide sur la jauge.
Note: Il doit se situer entre les repères sur la jauge.

Si le niveau est bas, ajoutez suffisamment d'huile hydraulique pour le rectifier.
Remettez en place le bouchon du goulot de remplissage.
Fermez le capot.
| Périodicité d'entretien | Procédure d'entretien |
|---|---|
| Après les 8 premières heures de fonctionnement |
|
| Toutes les 200 heures |
|
Important: N'utilisez pas un filtre à huile de type automobile au risque d'endommager gravement le système hydraulique.
Garez la machine sur une surface plane et horizontale, serrez le frein de stationnement et abaissez les bras de chargeuse.
Coupez le moteur et enlevez la clé.
Ouvrez le couvercle d'accès arrière.
Placez un bac de vidange sous le filtre et remplacez le filtre.

Essuyez le liquide éventuellement répandu.
Mettez le moteur en marche et laissez-le tourner environ 2 minutes pour purger l'air du circuit.
Coupez le moteur, enlevez la clé et recherchez d'éventuelles fuites.
Vérifiez le niveau de liquide dans le réservoir de liquide hydraulique et faites l'appoint jusqu'à ce que le niveau atteigne le repère sur la jauge ; voir Liquides hydrauliques spécifiés.
Important: Ne remplissez pas excessivement le réservoir.
Refermez le couvercle d'accès arrière.
| Périodicité d'entretien | Procédure d'entretien |
|---|---|
| Toutes les 400 heures |
|
Garez la machine sur une surface plane et horizontale.
Levez les bras de chargeuse et montez le dispositif de blocage de vérin.
Coupez le moteur, retirez la clé et laissez refroidir le moteur.
Ouvrez le capot.
Enlevez le bouchon et la jauge du réservoir hydraulique.
Note: Le bouchon de remplissage se trouve derrière le déflecteur avant. Pour y accéder plus facilement, enlevez le déflecteur.

Placez un grand bac de vidange (d'au moins 57 litres de capacité) sous le bouchon de vidange à l'avant de la machine.

Retirez le bouchon de vidange pour permettre à l'huile de s'écouler dans le bac de vidange.
Remettez et resserrez le bouchon de vidange quand toute l'huile s'est écoulée.
Note: Débarrassez-vous de l'huile usagée dans un centre de recyclage agréé.
Remplissez le réservoir du liquide hydraulique recommandé, comme spécifié sous Liquides hydrauliques spécifiés.
Mettez le moteur en marche et laissez-le tourner quelques minutes.
Coupez le moteur.
Contrôlez le niveau de liquide hydraulique et faites l'appoint au besoin ; voir Contrôle du niveau de liquide hydraulique.
Fermez le capot.
| Périodicité d'entretien | Procédure d'entretien |
|---|---|
| À chaque utilisation ou une fois par jour |
|
Important: Le moteur peut surchauffer et être endommagé si vous utilisez la machine alors que les déflecteurs sont obstrués et/ou les carénages de refroidissement sont déposés.
Garez la machine sur une surface plane et horizontale et abaissez les bras de chargeuse.
Coupez le moteur, retirez la clé et laissez refroidir le moteur.
Ouvrez le capot et bloquez-le en position avec la béquille.
Enlevez les débris éventuellement accumulés sur les déflecteurs avant et latéraux.
Essuyez le filtre à air pour enlever les débris.
À l'aide d'une brosse ou d'air comprimé, enlevez les débris accumulés sur le moteur et les ailettes du refroidisseur d'huile.
Important: Le moteur peut surchauffer et être endommagé si vous utilisez la machine alors que les déflecteurs sont obstrués et/ou les carénages de refroidissement sont déposés.
Enlevez les débris accumulés sur l'ouverture du capot, le silencieux, les écrans pare-chaleur et la grille du radiateur (le cas échéant).
Fermez le capot.
Lorsque vous lavez la machine au jet d'eau haute pression, procédez comme suit :
Portez un équipement de protection individuelle adapté pour utiliser le nettoyeur haute pression.
Maintenez toutes les protections en place sur la machine.
Évitez d'utiliser le jet d'eau sous pression sur les composants électroniques.
Évitez d'utiliser le jet d'eau sous pression autour des autocollants.
Utilisez le jet d'eau sous pression uniquement sur l'extérieur de la machine. Ne dirigez pas le jet sous pression dans les ouvertures de la machine.
Utilisez le jet sous pression uniquement sur les parties sales de la machine.
Utilisez un embout de pulvérisation de 40 degrés ou plus. Les embouts de 40 degrés sont généralement blancs.
Maintenez le bout du nettoyeur haute pression à 61 cm au moins de la surface que vous lavez.
Utilisez uniquement des nettoyeurs haute pression de pression inférieure à 138 bar et de débit inférieur à 7,6 l par minute.
Remplacez les autocollants endommagés ou qui se décollent.
Graissez tous les points de graissage après le lavage ; voir Graissage de la machine.
| Périodicité d'entretien | Procédure d'entretien |
|---|---|
| Toutes les 100 heures |
|
Avec le temps, le châssis s'encrasse sous le moteur et doit être nettoyé. Pour cette raison, ouvrez régulièrement le capot et inspectez la zone au-dessous du moteur à l'aide d'une torche. Si des débris sont accumulés sur plus de 2,5 à 5 cm d'épaisseur, nettoyez le châssis.
Retirez les outils éventuellement montés.
Garez la machine sur une surface plane et horizontale, serrez le frein de stationnement et abaissez les bras de chargeuse.
Coupez le moteur et enlevez la clé.
Soulevez et soutenez l'avant de la machine.
Les crics mécaniques ou hydrauliques peuvent céder sous le poids de la machine et causer des blessures graves ou mortelles.
Utilisez des chandelles pour soutenir la machine.
Ouvrez le couvercle d'accès arrière.
Déposez le réservoir de carburant ; voir Dépose du réservoir de carburant.
Enlevez les débris accumulés sur une grande épaisseur.
Lavez le châssis à l'eau, jusqu'à ce que l'eau ressorte claire à l'arrière de la machine.
Important: Veillez à ne pas mouiller le moteur ou les composants électriques.
Reposez le réservoir de carburant ; voir Pose du réservoir de carburant.
Refermez le couvercle d'accès arrière.
Abaissez la machine au sol.
Coupez le moteur, enlevez la clé, attendez l'arrêt complet de toutes les pièces mobiles et faites refroidir la machine avant de la remiser.
Ne rangez pas la machine ou le carburant à proximité d'une flamme.
Garez la machine sur une surface plane et horizontale, serrez le frein de stationnement et abaissez les bras de chargeuse.
Coupez le moteur et enlevez la clé.
Nettoyez soigneusement toute la machine.
Important: Vous pouvez laver la machine avec de l'eau et un détergent doux. N'utilisez pas de nettoyeur haute pression. N'utilisez pas trop d'eau, surtout près du panneau de commande, du moteur, des pompes hydrauliques et des moteurs électriques.
Faites l'entretien du filtre à air ; voir Entretien du filtre à air.
Graissez la machine ; voir Graissage de la machine.
Vidangez l'huile moteur ; voir Vidange de l'huile moteur.
Chargez la batterie ; voir Charge de la batterie.
Vérifiez et ajustez la tension des chenilles ; voir Contrôle et réglage de la tension des chenilles.
Contrôlez et resserrez tous les boulons, écrous et vis. Réparez ou remplacez toute pièce endommagée.
Peignez toutes les surfaces métalliques éraflées ou mises à nu. Une peinture pour retouches est disponible chez les concessionnaires-réparateurs agréés.
Rangez la machine dans un endroit propre et sec, comme un garage ou une remise. Enlevez la clé de contact et rangez-la en lieu sûr.
Couvrez la machine pour la protéger et la garder propre.
Avant de mettre la machine hors service, observez la réglementation locale en matière d'élimination des substances dangereuses. Pour plus d'information sur la vidange des liquides, voir le chapitre Entretien, ou contactez votre concessionnaire-réparateur agréé.
| Problem | Possible Cause | Corrective Action |
|---|---|---|
| Le démarreur ne fonctionne pas. |
|
|
| Le démarreur fonctionne mais le moteur ne démarre pas. |
|
|
| Le moteur démarre, mais s'arrête aussitôt. |
|
|
| Le moteur tourne, mais cogne et a des ratés. |
|
|
| Le moteur ne tourne pas au ralenti. |
|
|
| Le moteur surchauffe. |
|
|
| Le moteur perd de la puissance. |
|
|
| L'échappement produit une fumée noire abondante. |
|
|
| L'échappement produit une fumée blanche abondante. |
|
|
| La machine ne se déplace pas. |
|
|