| Intervalo de mantenimiento y servicio | Procedimiento de mantenimiento |
|---|---|
| Cada vez que se utilice o diariamente |
|
Esta máquina es una minicargadora compacta indicada para utilizarse en diversas actividades de movimientos de tierras y otros materiales en trabajos de jardinería y construcción. Se ha diseñado para funcionar con una gran variedad de aperos, cada uno de los cuales realiza una función específica. El uso de este producto para otros propósitos que los previstos podría ser peligroso para usted y para otras personas. No modifique la máquina ni los aperos.
Esta máquina debe ser utilizada, mantenida y reparada únicamente por profesionales que estén familiarizados con sus características y con los procedimientos de seguridad pertinentes.
Utilice esta máquina en temperaturas ambiente de -18 °C a 38 °C. Póngase en contacto con su Servicio Técnico Autorizado si necesita adquirir los materiales necesarios para trabajar en temperaturas extremas.
Lea este manual detenidamente para aprender a utilizar y mantener correctamente su producto, y para evitar lesiones y daños al producto. Usted es responsable de utilizar el producto de forma correcta y segura.
Visite www.Toro.com para buscar materiales de formación y seguridad o información sobre accesorios, para localizar un distribuidor o para registrar su producto.
Cuando necesite asistencia técnica, piezas genuinas Toro o información adicional, póngase en contacto con un Servicio Técnico Autorizado o con Asistencia al Cliente Toro, y tenga a mano los números de modelo y serie de su producto. Figura 1 identifica la ubicación de los números de modelo y serie en el producto. Escriba los números en el espacio provisto.
Important: Con su dispositivo móvil, puede escanear el código QR de la calcomanía del número de serie (si se incluye) para acceder a información sobre la garantía, las piezas y otros datos sobre el producto.

Este manual identifica peligros potenciales y contiene mensajes de seguridad identificados por el símbolo de alerta de seguridad (Figura 2), que señala un peligro que puede causar lesiones graves o la muerte si usted no sigue las precauciones recomendadas.

El símbolo de alerta de seguridad aparece encima de información que le alerta ante acciones o situaciones inseguras, y va seguido de la palabra PELIGRO, ADVERTENCIA, o CUIDADO.
PELIGRO: Indica una situación peligrosa inminente, que si no se evita, causará la muerte o lesiones graves.
ADVERTENCIA: indica una situación potencialmente peligrosa que si no se evita, podría causar la muerte o lesiones graves.
CUIDADO: Indica una situación potencialmente peligrosa que si no se evita, podría causar lesiones menores o moderadas.
Este manual utiliza dos palabras más para resaltar información. Importante llama la atención sobre información mecánica especial, y Nota resalta información general que merece una atención especial.
Este producto cumple todas las directivas europeas aplicables; si desea más detalles, consulte la Declaración de Conformidad (Declaration of Conformity – DOC) de cada producto.
El uso o la operación del motor en cualquier terreno forestal, de monte o cubierto de hierba a menos que el motor esté equipado con parachispas (conforme a la definición de la sección 4442) correctamente mantenido en buenas condiciones de funcionamiento, o que el motor haya sido fabricado, equipado y mantenido para la prevención de incendios, constituye una infracción de la legislación de California (California Public Resource Code Section 4442 o 4443).
El manual del propietario del motor (adjunto) ofrece información sobre las normas de la US Environmental Protection Agency (EPA) y de la California Emission Control Regulation sobre sistemas de emisiones, mantenimiento y garantía. Puede solicitarse un manual nuevo al fabricante del motor.
CALIFORNIA
Advertencia de la Propuesta 65
Es sabido por el Estado de California que los gases de escape de los motores diesel y algunos de sus componentes causan cáncer, defectos congénitos y otros peligros para la reproducción.
Los bornes, terminales y otros accesorios de la batería contienen plomo y compuestos de plomo, productos químicos reconocidos por el Estado de California como causantes de cáncer y daños reproductivos. Lávese las manos después de manejar el material.
El uso de este producto puede provocar la exposición a sustancias químicas que el Estado de California considera causantes de cáncer, defectos congénitos u otros trastornos del sistema reproductor.
Puede haber conducciones de servicios enterradas en la zona de trabajo. Si se perforan, pueden causar descargas eléctricas o explosiones.
Marque las áreas de la zona de trabajo que contienen tendidos enterrados, y no excave en las zonas marcadas. Póngase en contacto con su servicio de marcado local o con su compañía de electricidad/agua, etc., para que marquen la finca (por ejemplo, en Estados Unidos, llame al 811, o en Australia, llame al 1100 para contactar con el servicio de marcado nacional).
Siga siempre todas las instrucciones de seguridad con el fin de evitar lesiones corporales graves e incluso la muerte.
No supere la capacidad nominal de trabajo, puesto que la máquina puede desestabilizarse y causar una pérdida de control.
No lleve cargas con los brazos elevados; lleve las cargas siempre cerca del suelo.
Las pendientes son una de las principales causas de accidentes por pérdida de control y vuelcos, que pueden causar lesiones graves o la muerte. La conducción de la máquina en cualquier pendiente o terreno irregular requiere extremar la precaución.
Al subir y bajar pendientes, hágalo con el extremo más pesado de la máquina cuesta arriba y la carga cerca del suelo. La distribución del peso varía dependiendo del apero. Si el cazo está vacío, el extremo más pesado de la máquina será la parte de atrás y, si el cazo está lleno, el extremo más pesado de la máquina será la parte delantera. Con la mayoría de los demás aperos, la parte delantera de la máquina será el extremo más pesado.
Marque las áreas de la zona de trabajo que contienen tendidos enterrados y otros objetos, y no excave en las zonas marcadas.
Lea y comprenda el contenido de este Manual del operador antes de arrancar el motor.
Dedique toda su atención al manejo de la máquina. No realice ninguna actividad que pudiera distraerle; de lo contrario, podrían producirse lesiones o daños materiales.
No deje nunca que la máquina sea utilizada por niños o por personas que no hayan recibido la formación adecuada.
Mantenga las manos y los pies alejados de componentes y aperos en movimiento.
No haga funcionar la máquina si no están colocados y funcionando los protectores y dispositivos de seguridad.
Mantenga a otras personas, especialmente a los niños, alejadas de la zona de trabajo.
Pare la máquina, apague el motor y retire la llave antes de realizar tareas de mantenimiento o repostaje y antes de eliminar obstrucciones en la máquina.
El uso o mantenimiento incorrecto de esta máquina puede
causar lesiones. Para reducir el peligro de lesiones, cumpla estas
instrucciones de seguridad y preste atención siempre al símbolo
de alerta de seguridad
, que significa: Cuidado, Advertencia o Peligro
– instrucción relativa a la seguridad personal. El incumplimiento
de estas instrucciones puede dar lugar a lesiones personales o la
muerte.
![]() |
Las pegatinas de seguridad e instrucciones están a la vista del operador y están ubicadas cerca de cualquier zona de peligro potencial. Sustituya cualquier pegatina que esté dañada o que falte. |
























Familiarícese con todos los controles antes de poner en marcha el motor y trabajar con la unidad de tracción.

La llave de contacto, que se utiliza para arrancar y apagar el motor, tiene tres posiciones: PARADA, MARCHA y ARRANQUE.
Mueva el control hacia adelante para aumentar la velocidad del motor, y hacia atrás para reducir la velocidad.
Al conducir la unidad de tracción, utilice la barra de referencia como manillar y punto de apoyo para controlar el control de tracción y la palanca del sistema hidráulico auxiliar. Para asegurar una operación suave y controlada, no quite las dos manos de la barra de referencia mientras utiliza la máquina.
Utilice el control de tracción para desplazar la máquina. Cuanto más mueva el control de tracción en cualquier sentido, más rápido se moverá la máquina en dicha dirección. Suelte el control de tracción para detener la máquina.

Para desplazarse hacia adelante, mueva el control de tracción hacia adelante.

Para desplazarse hacia atrás, mueva el control de tracción hacia atrás.
Important: Mientras conduzca en marcha atrás, mire hacia atrás para asegurarse de que el camino está despejado, y mantenga ambas manos en la barra de referencia.

Para girar a la derecha, gire el control de tracción en sentido horario.

Para girar a la izquierda, gire el control de tracción en sentido antihorario.

Para detener la máquina, suelte el control de tracción.
Mueva lentamente la palanca para accionar los brazos de carga e inclinar el apero.
Note: La posición de retención (flotar) permite que aperos tales como el nivelador y la pala hidráulica sigan los contornos del terreno (es decir, que 'floten') durante las operaciones de nivelación.

Si mueve la palanca a una posición intermedia (por ejemplo, hacia adelante y a la izquierda), puede mover los brazos de carga e inclinar el apero al mismo tiempo.
El bloqueo de la válvula de carga inmoviliza la palanca de los brazos de carga/inclinación del accesorio para que de no se pueda mover hacia adelante. Esto ayuda a asegurar que nadie pueda bajar accidentalmente los brazos de carga durante las operaciones de mantenimiento. Asegure la válvula de carga con el bloqueo, además de usar los bloqueos de los cilindros, si llega a ser necesario apagar la máquina con los brazos de carga elevados. Consulte Retirada y almacenamiento del bloqueo del cilindro.
Para ajustar el bloqueo, levántelo para que salga del taladro del panel de control y gírelo por delante de la palanca del brazo de carga. Presiónelo hacia abajo hasta la posición de bloqueado.

La barra de referencia del control de carga ayuda a estabilizar la mano mientras utiliza la palanca de inclinación del accesorio/brazo de carga.
Para accionar un apero hidráulico en dirección hacia adelante, gire la palanca del sistema hidráulico auxiliar hacia atrás y presiónela hacia abajo, hacia la barra de referencia.
Para accionar un accesorio hidráulico en dirección hacia atrás, gire la palanca del sistema hidráulico auxiliar hacia atrás y, a continuación, muévala hacia la izquierda, a la ranura superior.
Note: Si suelta la palanca cuando está en posición HACIA ADELANTE, la palanca vuelve automáticamente a la posición de PUNTO MUERTO. Si está en la posición de MARCHA ATRáS, permanecerá en ella hasta que la saque de la ranura.

El horímetro muestra el número de horas de uso de la máquina.
Para accionar el freno de estacionamiento, empuje la palanca hacia adelante y hacia la izquierda, y luego tire de ella hacia atrás.
Note: La unidad de tracción puede seguir desplazándose un poco hasta que los frenos se engranen en el piñón de transmisión.
Para quitar el freno, empuje la palanca hacia adelante y luego a la derecha, a la muesca.

Este indicador mide la cantidad de combustible que queda en el/los depósito(s).
Si la presión del aceite del motor desciende demasiado, se enciende esta luz y suena una alarma. Si esto ocurre, apague el motor inmediatamente y compruebe el nivel de aceite. Si el nivel es bajo, añada aceite y busque posibles fugas.

Si la carga de la batería desciende demasiado, se enciende esta luz y suena una alarma. Si esto ocurre, apague el motor inmediatamente y cargue o cambie la batería. Compruebe la tensión de la correa del alternador; consulte el Manual del propietario del motor.
Si el refrigerante del motor se calienta demasiado, se enciende esta luz y suena una alarma. Si esto ocurre, apague el motor y deje que se enfríe la unidad de tracción. Compruebe el nivel de refrigerante cuando el motor se haya enfriado completamente.
Este indicador se enciende mientras las bujías están con carga y calentando el motor.
Mantenga pulsado este interruptor durante 10 segundos para activar las bujías antes de arrancar el motor.
Note: Las especificaciones y el diseño están sujetos a modificación sin previo aviso.
| Anchura | 86 cm |
| Longitud | 180 cm |
| Altura | 117 cm |
| Peso | 864 kg |
| Capacidad operativa (con cuba de serie) | 251 kg |
| Capacidad de vuelco (con cuba de serie) | 717 kg |
| Distancia entre ejes | 79 cm |
| Altura de volcado (con cuba estrecha) | 119 cm |
| Alcance – elevación máxima (con cuba estrecha) | 55 cm |
| Altura hasta el pasador de la bisagra (cuba estrecha en posición de elevación máxima) | 168 cm |
| Anchura | 104 cm |
| Longitud | 180 cm |
| Altura | 109 cm |
| Peso | 913 kg |
| Capacidad operativa (con cuba de serie) | 251 kg |
| Capacidad de vuelco (con cuba de serie) | 717 kg |
| Distancia entre ejes | 79 cm |
| Altura de volcado (con cuba estrecha) | 119 cm |
| Alcance – elevación máxima (con cuba estrecha) | 55 cm |
| Altura hasta el pasador de la bisagra (cuba estrecha en posición de elevación máxima) | 168 cm |
Está disponible una selección de aperos y accesorios homologados por Toro que pueden utilizarse con la máquina a fin de potenciar y aumentar sus prestaciones. Póngase en contacto con su Servicio Técnico Autorizado o con su distribuidor Toro autorizado, o bien visite www.Toro.com para obtener una lista de todos los aperos y accesorios homologados.
Para asegurar un rendimiento óptimo y la continuada certificación de seguridad de la máquina, utilice únicamente piezas y accesorios genuinos Toro. Las piezas de repuesto y accesorios de otros fabricantes podrían ser peligrosos, y su uso podría invalidar la garantía del producto.
Note: Los lados derecho e izquierdo de la máquina se determinan desde la posición normal del operador.
No deje nunca que la máquina la utilicen o mantengan niños o personas que no hayan recibido la formación adecuada. La normativa local puede imponer límites sobre la edad del operador o requerir que éste haya recibido una formación homologada. El propietario es responsable de proporcionar formación a todos los operarios y mecánicos.
Familiarícese con la operación segura del equipo, los controles del operador y las calcomanías de seguridad.
Accione siempre el freno de estacionamiento (si está equipado), apague el motor, retire la llave, espere a que se detengan todas las piezas en movimiento y deje que la máquina se enfríe antes de ajustarla, revisarla, limpiarla o guardarla.
Sepa cómo parar rápidamente la máquina y apagar el motor.
Compruebe que los controles de presencia del operador, los interruptores de seguridad y los protectores de seguridad están instalados y que funcionan correctamente. No utilice la máquina si no funcionan correctamente.
Localice las zonas de aprisionamiento señaladas en la máquina y en los aperos, y mantenga los pies y las manos alejados de estas zonas.
Antes de utilizar la máquina con un apero, asegúrese de que el apero ha sido instalado correctamente y que es un apero Toro genuino. Lea los manuales de todos los aperos.
Evalúe el terreno para determinar los aperos y accesorios necesarios para realizar el trabajo de manera correcta y segura.
Haga que se marquen las áreas de la zona de trabajo que contienen tendidos enterrados y otros objetos, y no excave en las zonas marcadas; anote la posición de obstáculos y estructuras sin señalizar, como pueden ser tanques de almacenamiento subterráneo, pozos o fosas sépticas.
Inspeccione la zona en la que va a utilizar el equipo en busca de superficies irregulares o peligros ocultos.
Asegúrese de que no haya nadie en la zona antes de poner en marcha la máquina. Pare la máquina si alguien entra en la zona.
Extreme las precauciones al manejar el combustible. Es inflamable y sus vapores son explosivos.
Apague cualquier cigarrillo, cigarro, pipa u otra fuente de ignición.
Utilice solamente un recipiente de combustible homologado.
No retire el tapón de combustible ni rellene de combustible el depósito mientras el motor está en marcha o está caliente.
No añada ni drene combustible en un lugar cerrado.
No guarde la máquina o un recipiente de combustible en un lugar donde pudiera haber una llama desnuda, chispas o una llama piloto, por ejemplo en un calentador de agua u otro electrodoméstico.
Si se derrama combustible, no intente arrancar el motor; evite crear fuentes de ignición hasta que los vapores del combustible se hayan disipado.
Para evitar que una carga estática incendie el combustible, retire la máquina del camión o del remolque y repóstela en el suelo, alejada de todos los vehículos. Si no es posible, coloque un recipiente portátil de combustible en el suelo, alejado de todos los vehículos y llénelo; a continuación, reposte la máquina con el recipiente en lugar de un surtidor de combustible.
Mantenga la boquilla en contacto con el borde del depósito de combustible o el orificio del recipiente en todo momento hasta que termine de repostar. No utilice dispositivos que mantengan abierta la boquilla.
Utilice únicamente combustible diésel o combustible biodiésel limpio y nuevo con contenido sulfúrico bajo (<500 ppm) o muy bajo (<15 ppm). El número mínimo de cetanos debe ser de 40. Compre el combustible en cantidades que puedan ser consumidas en 180 días para asegurarse de que el combustible es nuevo.
Utilice combustible diésel tipo verano (N.º 2-D) a temperaturas superiores a -7 °C y combustible diésel tipo invierno (N.º 1-D o mezcla de N.º 1-D/2-D) a temperaturas inferiores. El uso de combustible tipo invierno a bajas temperaturas proporciona un punto de inflamación menor y características de flujo en frío que facilitarán el arranque y reducirán la obturación del filtro del combustible.
El uso de combustible tipo verano con temperaturas por encima de los -7 °C contribuirá a alargar la vida útil de la bomba de combustible y a incrementar la potencia en comparación con el combustible tipo invierno.
Important: No utilice queroseno o gasolina en lugar de combustible diésel. El incumplimiento de esta precaución dañará el motor.
Esta máquina también puede utilizar una mezcla de combustible biodiésel de hasta B20 (20% biodiésel, 80% petrodiésel). La porción de petrodiésel debe ser bajo o ultrabajo en azufre. Tome las siguientes precauciones:
La parte de biodiésel del combustible deberá cumplir con la especificación ASTM D6751 o EN 14214.
La composición de la mezcla de combustible debe cumplir la norma ASTM D975 o EN 590.
Las superficies pintadas pueden ser dañadas por mezclas de combustible biodiésel.
Utilice B5 (contenido de biodiésel del 5%) o mezclas menores cuando hace frío.
Vigile los retenes, las mangueras y las juntas que estén en contacto con el combustible porque pueden degradarse con el tiempo.
El filtro de combustible puede obstruirse durante cierto tiempo después de la conversión a una mezcla de biodiésel.
Póngase en contacto con su distribuidor si desea más información acerca del biodiésel.
Capacidad del depósito de combustible: 23 litros
Aparque la máquina en una superficie nivelada, ponga el freno de estacionamiento (si hay) y baje los brazos de carga.
Apague el motor, retire la llave y deje que el motor se enfríe.
Limpie la zona alrededor del tapón del depósito de combustible y retire el tapón.

Llene el depósito hasta 2,5 cm aproximadamente por debajo del borde superior del depósito, no del cuello de llenado, con combustible.
Important: Este espacio vacío en el depósito permite la dilatación del combustible. No llene completamente el depósito de combustible.
Instale el tapón del depósito de combustible firmemente, girándolo hasta que encaje con un clic.
Limpie cualquier combustible derramado.
Cada día, antes de arrancar la máquina, siga los procedimientos marcados como “Cada uso/A diario” en la sección .
Important: Compruebe el nivel de fluido hidráulico y purgue el sistema de combustible antes de arrancar el motor por primera vez; consulte Comprobación del nivel de fluido hidráulico y Purga del sistema de combustible.
No supere la capacidad nominal de trabajo, puesto que la máquina puede desestabilizarse y causar una pérdida de control.
No lleve cargas con los brazos de carga elevados. Siempre lleve las cargas cerca del suelo.
Utilice solamente aperos y accesorios autorizados por Toro. Los aperos y accesorios pueden cambiar la estabilidad y las características operativas de la máquina.
Máquinas con plataforma:
Baje los brazos de carga antes de bajarse de la plataforma.
No intente estabilizar la máquina poniendo el pie en el suelo. Si usted pierde el control de la máquina, bájese de la plataforma y aléjese de la máquina.
No coloque los pies debajo de la plataforma.
No mueva la máquina a menos que esté de pie con ambos pies en la plataforma, sujetando las barras de referencia con las manos.
Dedique toda su atención al manejo de la máquina. No realice ninguna actividad que pudiera distraerle; de lo contrario, podrían producirse lesiones o daños materiales.
Mire hacia atrás y hacia abajo antes de conducir hacia atrás, para asegurarse de que el camino está despejado.
Nunca mueva bruscamente los controles; utilice movimientos suaves y continuos.
El propietario/usuario puede prevenir, y es responsable de, cualquier accidente que pueda causar lesiones personales o daños materiales.
Lleve ropa adecuada, incluyendo guantes, protección ocular, pantalón largo, calzado resistente y antideslizante y protección auditiva. Si tiene el pelo largo, recójaselo, y no lleve joyas o prendas sueltas.
No utilice la máquina si está cansado, enfermo o bajo la influencia de alcohol o drogas.
No lleve nunca pasajeros, y no deje que se acerquen a la máquina animales domésticos u otras personas.
Utilice la máquina únicamente con buena luz, alejándose de agujeros y peligros ocultos.
Asegúrese de que todas las transmisiones están en punto muerto y ponga el freno de estacionamiento (si está instalado) antes de arrancar el motor. Arranque el motor únicamente desde el puesto del operador.
Tenga cuidado al acercarse a esquinas ciegas, arbustos, árboles u otros objetos que puedan dificultar la visión.
Vaya más despacio y tenga cuidado al girar y al cruzar calles y aceras. Esté atento al tráfico.
Pare el apero si usted no está trabajando.
Pare la máquina, apague el motor, retire la llave e inspeccione la máquina después de golpear un objeto. Haga las reparaciones necesarias antes de volver a utilizar la máquina.
No haga funcionar nunca el motor en un lugar cerrado.
No deje nunca desatendida la máquina si está en marcha.
Antes de abandonar el puesto del operador, haga lo siguiente:
Aparque la máquina en una superficie nivelada.
Baje los brazos de carga y desengrane el sistema hidráulico auxiliar.
Ponga el freno de estacionamiento (si está instalado).
Apague el motor y retire la llave.
No utilice la máquina cuando exista riesgo de caída de rayos.
Utilice la máquina únicamente en zonas en las que tenga suficiente espacio para maniobrarla con seguridad. Esté atento a obstáculos situados muy cerca de usted. Si no se mantiene a una distancia apropiada de árboles, paredes, muros y otras barreras puede dar lugar a lesiones durante la operación de la máquina en marcha atrás, si usted no está atento a lo que le rodea.
Compruebe que hay espacio suficiente antes de conducir por debajo de cualquier objeto (por ejemplo, cables eléctricos, ramas o portales), y no entre en contacto con ellos.
No sobrecargue el apero y mantenga siempre la carga nivelada mientras eleva los brazos de carga. Los objetos transportados en el apero podrían caerse, causando lesiones.
Al subir y bajar pendientes, hágalo con el extremo más pesado de la máquina cuesta arriba. La distribución del peso varía dependiendo del apero. Si el cazo está vacío, el extremo más pesado de la máquina será la parte de atrás y, si el cazo está lleno, el extremo más pesado de la máquina será la parte delantera. Con la mayoría de los demás aperos, la parte delantera de la máquina será el extremo más pesado.
La elevación de los brazos de carga en una pendiente afecta a la estabilidad de la máquina. Mantenga los brazos de carga en posición bajada mientras está en una pendiente.
Las pendientes son un factor de primera importancia relacionado con los accidentes por pérdida de control y vuelcos, que pueden causar lesiones graves o la muerte. La conducción de la máquina en cualquier pendiente o terreno irregular requiere extremar la precaución.
Establezca sus propios procedimientos y reglas para trabajar en pendientes. Estos procedimientos deben incluir un estudio del lugar de trabajo para determinar en qué cuestas o pendientes es seguro trabajar con la máquina. Utilice siempre el sentido común y el buen juicio al realizar este estudio.
Vaya más despacio y extreme la precaución en las pendientes. Las condiciones del suelo pueden afectar a la estabilidad de la máquina.
Evite arrancar o parar en una cuesta o pendiente. Si la máquina pierde tracción, vaya lentamente, cuesta abajo, en línea recta.
Evite girar en pendientes y cuestas. Si es imprescindible girar, hágalo lentamente y mantenga el extremo más pesado de la máquina cuesta arriba.
Haga todos los movimientos en cuestas y pendientes de forma lenta y gradual. No haga cambios bruscos de velocidad o de dirección.
Si no se siente cómodo usando la máquina en una pendiente, no lo haga.
Esté atento a baches, surcos o montículos, puesto que un terreno desigual puede hacer que la máquina vuelque. La hierba alta puede ocultar obstáculos.
Extreme las precauciones al utilizar la máquina sobre superficies mojadas. Una reducción en la tracción podría causar derrapes.
Evalúe el área para garantizar que el terreno es lo suficientemente estable para sostener la máquina.
Tenga cuidado al utilizar la máquina cerca de las siguientes áreas:
Terraplenes
Fosas
Taludes
Masas de agua
La máquina podría volcar repentinamente si una oruga pasa por un borde o si se desploma el borde. Mantenga una distancia segura entre la máquina y cualquier peligro.
No desmonte ni monte aperos en una pendiente.
No aparque la máquina en una cuesta o pendiente.
Si golpea una conducción de servicios públicos, realice lo siguiente:
Apague la máquina y retire la llave.
Aleje a todas las personas del área de trabajo.
Avise inmediatamente a los servicios de emergencia y a las compañías de servicios.
Si daña un cable de fibra óptica, no mire a la luz expuesta.
No abandone la plataforma del operador si la máquina está cargada con electricidad. Estará seguro mientras permanezca en la plataforma.
El contacto con cualquier parte de la máquina puede cerrar el circuito a tierra.
No deje que otras personas toquen o se acerquen a la máquina si está cargada.
Dé por sentado siempre que la máquina está cargada si golpea una conducción eléctrica o de comunicación. No intente abandonar la máquina.
Las fugas de gas son inflamables y explosivas y pueden causar lesiones graves o la muerte. No fume mientras trabaja con la máquina.
Asegúrese de que la palanca del sistema hidráulico auxiliar está en la posición de PUNTO MUERTO.
Mueva la palanca del acelerador a un punto intermedio entre las posiciones de LENTO y RáPIDO.
Introduzca la llave en el interruptor de encendido y gírela a la posición de MARCHA.
Pulse el interruptor de la bujía y manténgalo pulsado durante 10 segundos.
Gire la llave de contacto a la posición de ARRANQUE. Cuando el motor arranque, suelte la llave.
Important: No active el motor de arranque durante más de 10 segundos cada vez. Si el motor no arranca, espere 30 segundos entre intentos para que el motor de arranque se enfríe. Si no se siguen estas instrucciones, puede quemarse el motor de arranque.
Mueva el acelerador a la posición de RáPIDO.
Important: Si se hace funcionar el motor a alta velocidad cuando el sistema hidráulico está frío (por ejemplo, cuando la temperatura del aire ambiente es de 0 °C o menos), pueden producirse daños en el sistema hidráulico. Al arrancar el motor en condiciones de mucho frío, déjelo en marcha con el acelerador en una posición intermedia durante 2 a 5 minutos antes de mover el acelerador a la posición de RáPIDO.
Note: Si la temperatura al aire libre está por debajo de 0 °C, almacene la unidad de tracción en un garaje para mantenerla caliente y facilitar el arranque.
Utilice el control de tracción para desplazar la máquina. Cuanto más mueva el control de tracción en cualquier sentido, más rápido se moverá la máquina en dicha dirección. Suelte el control de tracción para detener la máquina.
El control del acelerador regula la velocidad del motor en rpm (revoluciones por minuto). Ponga el acelerador en la posición de RáPIDO para conseguir el mejor rendimiento. No obstante, también puede cambiar la posición del acelerador para operar a una velocidad más baja.
Aparque la máquina en una superficie nivelada, ponga el freno de estacionamiento (si hay) y baje los brazos de carga.
Asegúrese de que la palanca del sistema hidráulico auxiliar está en la posición de PUNTO MUERTO.
Mueva la palanca del acelerador a la posición de LENTO.
Si el motor ha estado trabajando duro o si está muy caliente, déjelo funcionar en ralentí durante un minuto antes de girar el interruptor de encendido a DESCONECTADO.
Note: Esto ayuda a enfriar el motor antes de apagarlo. En una situación de emergencia, puede apagar el motor inmediatamente.
Gire la llave de contacto a la posición de DESCONECTADO y retire la llave.
Un niño u otra persona no preparada podría intentar operar la unidad de tracción y lesionarse.
Retire la llave del interruptor siempre que deje la unidad de tracción desatendida, aunque sea por pocos segundos.
Important: Utilice solamente aperos homologados por Toro. Los aperos y accesorios pueden cambiar la estabilidad y las características operativas de la máquina. La garantía de la máquina puede quedar anulada si se utiliza la máquina con aperos no homologados.
Important: Antes de instalar el apero, asegúrese de que las placas de montaje están libres de suciedad o residuos y de que los pasadores se mueven libremente. Si los pasadores no se mueven libremente, engráselos.
Coloque el apero en una superficie nivelada con suficiente espacio detrás para colocar la máquina.
Arranque el motor.
Incline hacia adelante la placa de montaje del apero.
Coloque la placa de montaje debajo del reborde superior de la placa receptora del apero.

Eleve los brazos de carga, inclinando hacia atrás la placa de montaje al mismo tiempo.
Important: El apero debe elevarse lo suficiente para que no toque el suelo, y la placa de montaje debe inclinarse hacia atrás hasta hacer tope.
Apague el motor y retire la llave.
Acople los pasadores de enganche rápido, asegurándose de que están correctamente introducidos hasta el fondo en la placa de montaje.
Important: Si los pasadores no giran a la posición de engranado, la placa de montaje no está correctamente alineada con los taladros de la placa receptora del apero. Compruebe la placa receptora y límpiela si es necesario.
Si los pasadores de enganche rápido no pasan completamente a través de la placa de montaje del apero, el apero podría caerse de la máquina, aplastándole a usted o a otra persona.
Asegúrese de que los pasadores de enganche rápido están correctamente introducidos en la placa de montaje del apero.

Las fugas de fluido hidráulico bajo presión pueden penetrar en la piel y causar lesiones. Cualquier fluido inyectado bajo la piel debe ser eliminado quirúrgicamente en unas horas por un médico familiarizado con este tipo de lesión, de lo contrario podría producirse gangrena.
Asegúrese de que todas las mangueras y líneas de fluido hidráulico están en buenas condiciones de uso, y que todos los acoplamientos y conexiones hidráulicos están apretados, antes de aplicar presión al sistema hidráulico.
Mantenga el cuerpo y las manos alejados de fugas pequeñas o de boquillas que liberan fluido hidráulico a alta presión.
Utilice un cartón o un papel para buscar fugas hidráulicas; no utilice nunca las manos.
Los acoplamientos hidráulicos, las mangueras/válvulas hidráulicos y el fluido hidráulico pueden estar calientes. Si usted toca un componente caliente, puede quemarse.
Lleve guantes al manejar los acoplamientos hidráulicos.
Deje que la máquina se enfríe antes de tocar los componentes hidráulicos.
No toque los derrames de fluido hidráulico.
Si el accesorio requiere el sistema hidráulico para su operación, conecte las mangueras hidráulicas de la manera siguiente:
Apague el motor y retire la llave.
Mueva la palanca del sistema hidráulico auxiliar hacia adelante, hacia atrás y otra vez a la posición de PUNTO MUERTO para aliviar la presión en los acoplamientos hidráulicos.
Retire los protectores de los conectores hidráulicos de la máquina.
Asegúrese de limpiar cualquier materia extraña de los conectores hidráulicos.
Enchufe el conector macho del apero en el conector hembra de la máquina.
Note: Al conectar primero el conector macho del apero, se alivia cualquier presión residual en el apero.
Enchufe el conector hembra del apero en el conector macho de la máquina.
Confirme que la conexión es segura tirando de las mangueras.
Aparque la máquina en una superficie nivelada.
Baje el apero al suelo.
Apague el motor y retire la llave.
Desacople los pasadores de enganche rápido girándolos hacia fuera.
Si el accesorio utiliza el sistema hidráulico, mueva la palanca del sistema hidráulico auxiliar hacia adelante, hacia atrás y otra vez a la posición de PUNTO MUERTO para aliviar la presión en los acoplamientos hidráulicos.
Si el accesorio utiliza el sistema hidráulico, deslice hacia atrás los collares de los acoplamientos hidráulicos y desconéctelos.
Important: Conecte entre sí las mangueras del apero para evitar la contaminación del sistema hidráulico durante el almacenamiento.
Instale los tapones de protección en los acoplamientos hidráulicos de la máquina.
Arranque el motor, incline hacia adelante la placa de montaje, y aleje la máquina del apero en marcha atrás.
Accione el freno de estacionamiento (si está equipado), baje los brazos de carga, apague el motor, retire la llave, espere a que se detengan todas las piezas en movimiento y deje que la máquina se enfríe antes de realizar trabajos de ajuste, limpieza, almacenamiento o mantenimiento.
Limpie cualquier residuo de los aperos, las transmisiones, los silenciadores y el motor para ayudar a prevenir incendios. Limpie cualquier aceite o combustible derramado.
Mantenga todas las piezas en buenas condiciones de funcionamiento, y todos los herrajes bien apretados.
No toque piezas que pueden estar calientes después de estar en funcionamiento. Deje que se enfríen antes de intentar mantener, ajustar o revisar la máquina.
Tenga cuidado al cargar o descargar la máquina en/desde un remolque o un camión.
Si la máquina se queda atascada (por ejemplo, en condiciones con barro), tire de la máquina hasta dejarla en una posición estable con los dos puntos de amarre/elevación delanteros o con los dos puntos de amarre traseros simultáneamente.

Important: No remolque ni tire de la máquina sin antes abrir las válvulas de remolcado, o se dañará el sistema hidráulico.
Apague el motor y retire la llave.
Abra el panel de acceso trasero.
Usando una llave inglesa, gire las válvulas de remolcado de las bombas hidráulicas dos vueltas en el sentido contrario a las agujas del reloj.

Remolque la máquina según sea necesario.
Después de reparar la máquina, cierre las válvulas de remolcado antes de usarla.
Utilice un remolque para cargas pesadas o un camión para transportar la máquina. Utilice una rampa de ancho completo. Asegúrese de que el remolque o el camión está equipado con todos los frenos, luces y señalizaciones que requiera la ley. Por favor, lea cuidadosamente todas las instrucciones de seguridad. El conocer esta información puede ayudar a evitarle lesiones a usted o a otras personas. Consulte en la normativa local los requisitos aplicables al remolque y al sistema de amarre.
Conducir en una calle o carretera sin señales de giro, luces, marcas reflectantes o un indicador de vehículo lento es peligroso y puede ser causa de accidentes que pueden provocar lesiones personales.
No conduzca la máquina en una calle o carretera pública.
Cargar o descargar la máquina en/de un remolque o un camión aumenta la posibilidad de vuelco y podría causar lesiones graves o la muerte (Figura 21).
Utilice únicamente rampas de ancho completo.
Asegúrese de que la rampa tiene una longitud de al menos cuatro veces la altura de la plataforma del remolque o del camión sobre el suelo. De esta forma se asegura que el ángulo de la rampa no supere los 15 grados en terreno llano.

Cargar o descargar la máquina en/de un remolque o un camión aumenta la posibilidad de vuelco y podría causar lesiones graves o la muerte.
Extreme las precauciones al manejar la máquina en una rampa.
Suba y baje la máquina por la rampa con el extremo más pesado hacia arriba.
Evite acelerar o desacelerar bruscamente al conducir la máquina en una rampa, porque esto podría provocar un vuelco o una pérdida de control.
Si utiliza un remolque, conéctelo al vehículo de remolque y conecte las cadenas de seguridad.
En su caso, conecte los frenos del remolque.
Baje la(s) rampa(s).
Baje los brazos de carga.
Cargue la máquina en el remolque por la rampa con el extremo más pesado hacia arriba y la carga en la posición más baja posible, tal y como se muestra.
Si la máquina tiene un apero de carga lleno (por ejemplo, un cazo) o un apero que no sea de carga (por ejemplo, una zanjadora), suba la máquina por la rampa conduciendo hacia adelante.
Si la máquina tiene un apero de carga vacío o si no tiene apero acoplado, suba la máquina por la rampa en marcha atrás.

Baje del todo los brazos de carga.
Ponga el freno de estacionamiento, apague el motor y retire la llave.
Utilice los puntos de amarre metálicos de la máquina para sujetar la máquina con firmeza al remolque o al camión con correas, cadenas, cables o cuerdas. Consulte la normativa local respecto a los requisitos de amarre.

Baje la(s) rampa(s).
Descargue la máquina del remolque por la rampa con el extremo más pesado hacia arriba y la carga en la posición más baja posible.
Si la máquina tiene un apero de carga lleno (por ejemplo, un cazo) o un apero que no sea de carga (por ejemplo, una zanjadora), baje la máquina por la rampa en marcha atrás.
Si la máquina tiene un apero de carga vacío, o si no tiene apero acoplado, baje la máquina por la rampa conduciendo hacia adelante.

| Intervalo de mantenimiento y servicio | Procedimiento de mantenimiento |
|---|---|
| Cada vez que se utilice o diariamente |
|
Retire los accesorios y eleve la máquina con los puntos de amarre/elevación.

Note: Los lados derecho e izquierdo de la máquina se determinan desde la posición normal del operador.
Si deja la llave en el interruptor de encendido, alguien podría arrancar el motor accidentalmente y causar lesiones graves a usted o a otras personas.
Retire la llave del interruptor antes de realizar cualquier operación de mantenimiento.
Aparque la máquina en una superficie nivelada, desengrane el sistema hidráulico auxiliar, baje el apero, ponga el freno de estacionamiento (si está instalado), apague el motor y retire la llave. Espere a que se detengan todas las piezas en movimiento y deje que se enfríe la máquina antes de hacer trabajos de ajuste, limpieza, almacenamiento o reparación.
Limpie cualquier aceite o combustible derramado.
No permita que personas que no hayan recibido formación realicen mantenimiento en la máquina.
Utilice caballetes para apoyar los componentes cuando sea necesario.
Alivie con cuidado la tensión de aquellos componentes que tengan energía almacenada; consulte Alivio de presión hidráulica.
Desconecte la batería antes de efectuar cualquier reparación; consulte Retirada de la batería.
Mantenga las manos y los pies alejados de las piezas en movimiento. Si es posible, no haga ajustes mientras el motor está funcionando.
Mantenga todas las piezas en buenas condiciones de funcionamiento, y todos los herrajes bien apretados. Sustituya cualquier calcomanía desgastada o deteriorada.
No manipule los dispositivos de seguridad.
Utilice solamente aperos homologados por Toro. Los aperos y accesorios pueden cambiar la estabilidad y las características operativas de la máquina. La garantía puede quedar anulada si se utiliza la máquina con aperos no autorizados.
Utilice solamente piezas de repuesto genuinas de Toro.
Si alguna operación de mantenimiento o reparación requiere que los brazos de carga estén en posición elevada, bloquee los brazos en la posición elevada usando el/los bloqueo(s) del/de los cilindro(s) hidráulico(s).
Consulte la normativa local respecto al mantenimiento seguro de la máquina, y conecte una etiqueta de advertencia al panel de control para informar a otras personas que la máquina está en mantenimiento.
| Intervalo de mantenimiento y servicio | Procedimiento de mantenimiento |
|---|---|
| Después de las primeras 8 horas |
|
| Después de las primeras 50 horas |
|
| Cada vez que se utilice o diariamente |
|
| Cada 25 horas |
|
| Cada 100 horas |
|
| Cada 200 horas |
|
| Cada 250 horas |
|
| Cada 400 horas |
|
| Cada 500 horas |
|
| Cada 1500 horas |
|
| Cada 1500 horas o cada 2 años, lo que ocurra primero |
|
| Cada año |
|
| Cada año o antes del almacenamiento |
|
| Cada 2 años |
|
Important: Consulte los procedimientos adicionales de mantenimiento del manual del propietario del motor.
Los brazos de carga pueden bajarse accidentalmente cuando están en posición elevada, aplastando a cualquier persona que se encuentre debajo de ellos.
Instale los bloqueos de los cilindros antes de realizar cualquier operación de mantenimiento que requiera que los brazos de carga estén elevados.
Retire el apero.
Lleve los brazos de carga a su posición de elevación máxima.
Apague el motor y retire la llave.
Retire la pasador de seguridad que fija el bloqueo del cilindro al brazo de carga.

Baje el bloqueo del cilindro sobre la barra del cilindro y fíjelo con el pasador de seguridad.
Baje lentamente los brazos de carga hasta que el bloqueo del cilindro toque el extremo del cuerpo del cilindro y de la barra.
Fije el bloqueo de la válvula de carga; consulte Bloqueo de la válvula de carga.
Important: Retire el bloqueo del cilindro de la varilla y sujételo en la posición de almacenamiento antes de utilizar la máquina.
Arranque el motor.
Lleve los brazos de carga a su posición de elevación máxima.
Apague el motor y retire la llave.
Retire el pasador de seguridad que fija el bloqueo del cilindro.
Suba el bloqueo del cilindro al brazo de carga, girándolo, y fíjelo con el pasador de seguridad.
Baje los brazos de carga.
Si abre o retira una cubierta, un capó, o una rejilla con el motor en marcha, podría tocar alguna pieza en movimiento y sufrir graves lesiones.
Antes de abrir una cubierta, un capó o una rejilla, apague el motor, retire la llave del interruptor y deje que el motor se enfríe.
Aparque la máquina en una superficie nivelada, ponga el freno de estacionamiento y baje los brazos de carga.
Apague el motor, retire la llave y deje que el motor se enfríe.
Abra el capó con la llave de cierre y pulse el botón para liberar el cierre.

Levante el capó para abrirlo.
Levante la pestaña que sujeta la varilla de sujeción.

Baje el capó y presione hacia abajo el cierre para asegurar el capó.
Aparque la máquina en una superficie nivelada, ponga el freno de estacionamiento y baje los brazos de carga.
Apague el motor, retire la llave y deje que el motor se enfríe.
Desenrosque los 2 pomos que fijan la cubierta de acceso trasero a la máquina.

Incline la cubierta de acceso trasero y retírela para tener acceso a los componentes internos.
Coloque el panel de acceso trasero en su sitio sobre la parte trasera de la máquina; asegúrese de alinear las pestañas con las ranuras.
Empuje hacia adelante la tapa de acceso, alineando las roscas de los pomos con los taladros de la máquina.
Apriete los pomos para sujetar firmemente el panel de acceso trasero.
Aparque la máquina en una superficie nivelada, ponga el freno de estacionamiento y baje los brazos de carga.
Apague el motor, retire la llave y deje que el motor se enfríe.
Abra el capó.
Deslice las rejillas laterales hacia arriba y retírelas de las ranuras de la rejilla delantera y del bastidor.

Deslice las rejillas laterales a su lugar, encajándolas en las ranuras de la rejilla delantera y del bastidor.
| Intervalo de mantenimiento y servicio | Procedimiento de mantenimiento |
|---|---|
| Cada vez que se utilice o diariamente |
|
Tipo de grasa: Grasa de propósito general.
Aparque la máquina en una superficie nivelada, ponga el freno de estacionamiento y baje los brazos de carga.
Apague el motor y retire la llave.
Limpie con un trapo los puntos de engrase.

Conecte una pistola de engrasar a cada punto de engrase.
Bombee grasa hasta que empiece a rezumar grasa de los cojinetes (3 aplicaciones aproximadamente)
Limpie cualquier exceso de grasa.
Apague el motor antes de comprobar el aceite o añadir aceite al cárter.
No cambie los ajustes del regulador del motor ni haga funcionar el motor a una velocidad excesiva.
Mantenga las manos, los pies, la cara, otras partes del cuerpo y la ropa alejados del silenciador y de otras superficies calientes.
| Intervalo de mantenimiento y servicio | Procedimiento de mantenimiento |
|---|---|
| Cada vez que se utilice o diariamente |
|
| Cada 25 horas |
|
| Cada 200 horas |
|
Important: Para evitar dañar el motor, no haga funcionar nunca el motor sin que estén instalados el filtro de aire y la tapa.
Important: Cambie el filtro del limpiador de aire primario únicamente cuando el indicador de mantenimiento se muestre en rojo. El cambiar el filtro antes de que sea necesario sólo aumenta la posibilidad de que entre suciedad en el motor al retirar el filtro.
Aparque la máquina en una superficie nivelada, ponga el freno de estacionamiento y baje los brazos de carga.
Apague el motor y retire la llave.
Abra el capó.
Inspeccione la carcasa del limpiador de aire en busca de daños que pudieran causar una fuga de aire. Compruebe todo el sistema de admisión en busca de fugas, daños o abrazaderas sueltas. Sustituya o repare cualquier componente dañado.
Abra los cierres del limpiador de aire y tire de la cubierta del limpiador de aire para separarla del cuerpo del limpiador de aire.
Important: No retire el filtro de aire.

Apriete los lados del tapón antipolvo para abrirlo, y golpéelo para vaciarlo de polvo.
Limpie el interior de la cubierta con aire comprimido a menos de 2,05 bar.
Important: No utilice aire comprimido en el cuerpo del limpiador de aire.
Compruebe el indicador de mantenimiento.
Si el indicador de mantenimiento se ve transparente, instale la cubierta con el tapón antipolvo orientado hacia abajo y cierre los enganches.
Si el indicador de mantenimiento se muestra en rojo, sustituya el filtro de aire.

Instale la cubierta del limpiador de aire con el tapón antipolvo orientado hacia abajo y cierre los enganches.
Cierre el capó.
Extraiga con cuidado el filtro del cuerpo del limpiador de aire.
Note: Evite golpear el filtro contra el lado de la carcasa.
Important: No intente limpiar el filtro.

Inspeccione el filtro nuevo por si estuviera roto, tuviera una película aceitosa o la junta de goma estuviera dañada. Mire dentro del filtro mientras dirige una luz potente sobre el exterior del filtro; los agujeros del filtro aparecerán en forma de puntos luminosos.
Si el filtro está dañado, no lo use.
Instale el filtro con cuidado.
Note: Asegúrese de que cada filtro esté bien asentado empujando sobre el borde exterior del filtro mientras lo instala.
Important: No empuje sobre la zona blanda interior del filtro.
Instale la cubierta del limpiador de aire con el tapón antipolvo orientado hacia abajo y cierre los enganches.
Cierre el capó.
| Intervalo de mantenimiento y servicio | Procedimiento de mantenimiento |
|---|---|
| Después de las primeras 50 horas |
|
| Cada vez que se utilice o diariamente |
|
| Cada 100 horas |
|
| Cada 200 horas |
|
Tipo de aceite: Aceite detergente para motores diésel (servicio API CH-4 o superior)
Capacidad del cárter: con filtro, 3,6 L
Viscosidad: consulte la tabla siguiente

Aparque la máquina en una superficie nivelada, ponga el freno de estacionamiento y baje los brazos de carga.
Apague el motor, retire la llave y deje que el motor se enfríe.
Abra el capó.
Limpie la zona alrededor de la varilla de aceite y el tapón de llenado de aceite.

Compruebe el nivel de aceite y añada más si es necesario.
Important: No llene excesivamente el cárter de aceite; si el nivel de aceite del cárter es demasiado alto y usted arranca el motor, puede dañar el motor.

Cierre el capó.
Arranque el motor y déjelo funcionar durante 5 minutos.
Note: De esta forma, el aceite se calentará y será más fácil drenarlo.
Aparque la máquina de manera que el lado de drenaje esté ligeramente más bajo que el lado opuesto para asegurar que el aceite se drene completamente.
Baje los brazos de carga, accione el freno de estacionamiento, apague el motor y retire la llave.
Drene el aceite por debajo de la máquina.
Los componentes estarán calientes si la máquina ha estado funcionando. El contacto con piezas calientes podría causar lesiones leves o moderadas.
Tenga cuidado de evitar cualquier contacto con los componentes calientes mientras cambia el aceite y/o el filtro.


Apriete el tapón de vaciado a entre 46 y 56 N∙m.
Abra el capó.
Retire el tapón de llenado de aceite y vierta lentamente alrededor del 80 % de la cantidad especificada de aceite a través de la cubierta de la válvula.
Compruebe el nivel de aceite.
Añada lentamente más aceite hasta que el nivel llegue al orificio superior de la varilla.
Vuelva a colocar el tapón de llenado.
Cierre el capó.
Note: Elimine el aceite usado en un centro de reciclaje homologado.
Drene el aceite del motor; consulte Cómo cambiar el aceite del motor.
Cuando se haya vaciado todo el aceite, coloque el tapón de vaciado y apriételo a entre 46 y 56 N·m.
Note: Elimine el aceite usado en un centro de reciclaje homologado.
Retire la rejilla lateral izquierda.
Coloque un recipiente poco hondo o un paño debajo del filtro para recoger el aceite.
Cambie el filtro de aceite.

Retire el tapón de llenado de aceite y vierta lentamente alrededor del 80 % de la cantidad especificada de aceite a través de la cubierta de la válvula.
Compruebe el nivel de aceite.
Añada lentamente más aceite hasta que el nivel llegue al orificio superior de la varilla.
Vuelva a colocar el tapón de llenado.
En ciertas condiciones, el combustible es extremadamente inflamable y altamente explosivo. Un incendio o una explosión provocados por el combustible puede causarle quemaduras a usted y a otras personas así como daños materiales.
Consulte Seguridad del combustible para obtener una lista completa de precauciones relacionadas con el sistema de combustible.
| Intervalo de mantenimiento y servicio | Procedimiento de mantenimiento |
|---|---|
| Cada vez que se utilice o diariamente |
|
Aparque la máquina en una superficie nivelada, ponga el freno de estacionamiento y baje los brazos de carga.
Apague el motor y retire la llave.
Abra el capó y retire la rejilla lateral derecha.
Coloque un envase bajo el separador de agua.

Afloje la válvula de vaciado de la parte inferior del cartucho del filtro y deje que se vacíe el agua.
Apriete la válvula de vaciado.
Instale la rejilla lateral derecha y cierre el capó.
| Intervalo de mantenimiento y servicio | Procedimiento de mantenimiento |
|---|---|
| Cada 400 horas |
|
Aparque la máquina en una superficie nivelada, ponga el freno de estacionamiento y baje los brazos de carga.
Apague el motor y retire la llave.
Abra el capó y retire la rejilla lateral derecha.
Coloque un recipiente limpio debajo del cartucho del filtro.

Retire el cartucho del filtro y limpie la superficie de montaje.
Lubrique la junta del cartucho del filtro nuevo con aceite limpio.
Llene el cartucho con combustible.
Instale el cartucho del filtro a mano hasta que la junta entre en contacto con la superficie de montaje y, a continuación, gírelo media vuelta más.
Instale la rejilla lateral derecha y cierre el capó.
| Intervalo de mantenimiento y servicio | Procedimiento de mantenimiento |
|---|---|
| Cada 400 horas |
|
Compruebe que los tubos y las conexiones del sistema de combustible no están deteriorados o dañados, y que las conexiones no están sueltas. Apriete cualquier conexión que esté floja y póngase en contacto con su Servicio Técnico Autorizado si necesita ayuda para reparar tubos de combustible dañados.
| Intervalo de mantenimiento y servicio | Procedimiento de mantenimiento |
|---|---|
| Cada 400 horas |
|
Aparque la máquina en una superficie nivelada, ponga el freno de estacionamiento y baje los brazos de carga.
Apague el motor y retire la llave.
Abra el capó y retire la rejilla lateral derecha.
Sustituya el filtro de combustible tal y como se muestra.
Note: Asegúrese de que las marcas en el filtro siguen la dirección del flujo de combustible.

Instale la rejilla lateral derecha y cierre el capó.
El sistema de combustible debe purgarse antes de arrancar el motor si ha ocurrido alguna de las situaciones siguientes:
Arranque inicial de una máquina nueva.
El motor ha dejado de funcionar debido a falta de combustible.
Se han realizado tareas de mantenimiento en componentes del sistema de combustible (por ejemplo, sustitución del filtro).
Aparque la máquina en una superficie nivelada, baje los brazos de carga y apague el motor.
Asegúrese de que el depósito de combustible está al menos medio lleno.
Abra el capó.
Abra el tornillo de purga de aire de la bomba de inyección de combustible.

Gire la llave del interruptor de llave a la posición de CONECTADO para empezar a accionar la bomba de combustible eléctrica y forzar la salida del aire alrededor del tornillo de purga de aire. Deje la llave en posición de CONECTADO hasta que fluya una corriente continua de combustible alrededor del tornillo.
Apriete el tornillo y gire la llave a la posición de DESCONECTADO.
Note: El motor debe arrancar una vez que se haya realizado el procedimiento de purga descrito anteriormente. No obstante, si el motor no arranca, es posible que haya aire atrapado entre la bomba de inyección y los inyectores; póngase en contacto con su Servicio Técnico Autorizado.
| Intervalo de mantenimiento y servicio | Procedimiento de mantenimiento |
|---|---|
| Cada 2 años |
|
Póngase en contacto con el servicio técnico autorizado para que drene y limpie el depósito o los depósitos de combustible.
Aparque la máquina en una superficie nivelada, ponga el freno de estacionamiento y baje los brazos de carga.
Apague el motor y retire la llave.
Retire la cubierta de acceso trasero; consulte Cómo abrir el panel de acceso trasero
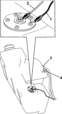
Retire el panel de soporte izquierdo.

Retire el soporte del depósito de combustible.

Retire el panel trasero.

Marque los tubos de retorno y aspiración del combustible y los acoplamientos correspondientes del depósito para identificar las ubicaciones correctas de las mangueras cuando instale posteriormente el depósito de combustible.

Coloque pinzas en los tubos de combustible unos 5 cm del punto en que salen del depósito.
Desconecte los tubos de combustible de los acoplamientos del depósito de combustible.
Tapone los acoplamientos de manera que no pueda salir combustible.
Desconecte los 2 cables que van al lado derecho del depósito.
Retire con cuidado el depósito y colóquelo en posición vertical para evitar derramar el combustible.
Important: Mantenga los tubos de combustible y los cables alejados de las poleas del motor y del bastidor.
Important: Mantenga los tubos de combustible y los cables alejados de las poleas del motor y del bastidor.
Introduzca el depósito de combustible parcialmente en el chasis.
Retire los tapones de los acoplamientos del depósito y conecte los tubos de retorno y aspiración en los acoplamientos correspondientes. Retire las pinzas.

Conecte el cable naranja en el borne central y el cable negro en el borne exterior.
Introduzca el depósito completamente en la máquina.
Instale el panel trasero.

Instale el soporte del depósito de combustible.

Instale el panel de soporte izquierdo.

Instale el panel de acceso trasero.
Desconecte el cable del terminal negativo de la batería antes de reparar la máquina.
Cargue la batería en una zona abierta y bien ventilada, lejos de chispas y llamas. Desenchufe el cargador antes de conectar o desconectar la batería. Lleve ropa protectora y utilice herramientas aisladas.
El ácido de la batería es venenoso y puede causar quemaduras. Evite el contacto con la piel, los ojos y la ropa. Protéjase la cara, los ojos y la ropa cuando trabaje con una batería.
Los gases de la batería pueden explotar. Mantenga alejados de la batería los cigarrillos, las chispas y las llamas.
Especificaciones: 12 v, 585 amperios (arranque en frío)
Los bornes de la batería o una herramienta metálica podrían hacer cortocircuito si entran en contacto con los componentes metálicos de la máquina, causando chispas. Las chispas podrían hacer explotar los gases de la batería, causando lesiones personales.
Al retirar o colocar la batería, no deje que los bornes toquen ninguna parte metálica de la máquina.
No deje que las herramientas metálicas hagan cortocircuito entre los bornes de la batería y las partes metálicas de la máquina.
Un enrutado incorrecto de los cables de la batería podría dañar la máquina y los cables, causando chispas. Las chispas podrían hacer explotar los gases de la batería, causando lesiones personales.
Desconecte siempre el cable negativo (negro) de la batería antes de desconectar el cable positivo (rojo).
Aparque la máquina en una superficie nivelada, ponga el freno de estacionamiento y baje los brazos de carga.
Apague el motor y retire la llave.
Abra el panel de acceso trasero.
Retire el panel de acceso de la batería.

Retire el perno, la arandela y la barra que sujetan la batería.

Desconecte el cable negativo de tierra (negro) del borne de la batería. Guarde las fijaciones.
Levante la cubierta de goma del cable positivo (rojo).
Desconecte el cable positivo (rojo) del borne de la batería. Guarde las fijaciones.
Levante la batería para retirarla del chasis.
La carga de la batería genera gases que pueden explotar, lo que podría producir lesiones graves o la muerte.
No fume cerca de la batería, y mantenga alejada de la batería cualquier chispa o llama.
Important: Mantenga siempre la batería completamente cargada (densidad de 1.265). Esto es especialmente importante para evitar daños a la batería cuando la temperatura está por debajo de los 0 °C.
Retire la batería de la máquina; consulte Retirada de la batería.
Cargue la batería durante 10 a 15 minutos a 25–30 amperios, o durante 30 minutos a 4–6 amperios. No sobrecargue la batería.

Cuando la batería esté completamente cargada, desconecte el cargador de la toma de electricidad, luego desconecte los cables del cargador de los bornes de la batería.
Note: Mantenga limpios los terminales y toda la carcasa de la batería para alargar la vida de la batería.
Aparque la máquina en una superficie nivelada, ponga el freno de estacionamiento (si hay) y baje los brazos de carga.
Apague el motor y retire la llave.
Retire la batería de la máquina; Retirada de la batería.
Lave toda la caja con una solución de bicarbonato y agua.
Enjuague la batería con agua clara.
Aplique una capa de grasa Grafo 112X o de vaselina a los conectores de los cables y a los bornes de la batería para evitar la corrosión.
Instale la batería; consulte Instalación de la batería.
Un enrutado incorrecto de los cables de la batería podría dañar la máquina y los cables, causando chispas. Las chispas podrían hacer explotar los gases de la batería, causando lesiones personales.
Conecte siempre el cable positivo (rojo) de la batería antes de conectar el cable negativo (negro).
Con las fijaciones que retiró antes, conecte el cable positivo (rojo) de la batería en el borne positivo (+) de la batería.

Deslice el protector de borne rojo sobre el borne positivo de la batería.
Con las fijaciones que retiró antes, conecte el cable negativo (negro) en el borne negativo (-) de la batería.
Sujete la batería con la barra, el perno y la arandela.
Important: Asegúrese de que los cables de la batería no entren en contacto con bordes cortantes, y que no se toquen entre sí.
Instale el panel de acceso de la batería.

Cierre el panel de acceso trasero; consulte Cierre del panel de acceso trasero.
La batería original no requiere mantenimiento. Consulte las instrucciones del fabricante de la batería respecto al mantenimiento de una batería de recambio.
El sistema eléctrico está protegido con fusibles. No requiere mantenimiento; no obstante, si se funde un fusible, compruebe que no hay avería ni cortocircuito en el componente/circuito.

Note: Si la máquina no arranca, podría estar fundido el fusible del circuito principal o del panel de control/relé.
Aparque la máquina en una superficie nivelada, ponga el freno de estacionamiento y baje los brazos de carga.
Apague el motor y retire la llave.
Abra el capó.
Retirada de la varilla de sujeción.

Retire el panel de fusibles.

Compruebe los fusibles.
Instale el panel de fusibles.
Instalación de la varilla de sujeción.
Cierre el capó.
| Intervalo de mantenimiento y servicio | Procedimiento de mantenimiento |
|---|---|
| Después de las primeras 50 horas |
|
| Cada vez que se utilice o diariamente |
|
| Cada 100 horas |
|
| Cada 250 horas |
|
Aparque la máquina en una superficie nivelada y ponga el freno de estacionamiento.
Con la cuba instalada y orientada hacia abajo, bájela al suelo para que la parte delantera de la unidad de tracción se levante unos centímetros del suelo.

Apague el motor y retire la llave.
Usando una manguera de agua o una lavadora a presión, retire la suciedad de cada conjunto de oruga.
Important: Solamente lave con agua a alta presión la zona de las orugas. No utilice un sistema de lavado a alta presión para limpiar el resto de la máquina. No utilice agua a alta presión entre el piñón de arrastre y la máquina, porque podría dañar las juntas del motor. El lavado a alta presión puede dañar el sistema eléctrico y las válvulas hidráulicas, o eliminar grasa.
Important: Asegúrese de limpiar completamente las ruedas de rodaje, la rueda tensora y la rueda motriz. Las ruedas de rodaje deben rodar libremente cuando están limpias.
Aparque la máquina en una superficie nivelada, ponga el freno de estacionamiento y baje los brazos de carga.
Apague el motor y retire la llave.
Retire el embellecedor.

Compruebe que la distancia entre la tuerca tensora y la parte de atrás del tubo tensor sea de 7 cm.
S la distancia es incorrecta, continúe este procedimiento.
Si la distancia es correcta, continúe con el paso 10.

Levante/apoye el lado de la unidad de tracción en el que va a trabajar hasta que la oruga esté separada del suelo.
Retire el perno de bloqueo, el espaciador y la tuerca.

Con una llave de carraca de ½", gire el tornillo tensor en sentido antihorario hasta que la distancia entre la tuerca tensora y la parte de atrás del tubo tensor sea de 7 cm.

Alinee la muesca más próxima del tornillo tensor con el taladro del perno de bloqueo y fije el tornillo con el perno de bloqueo, el espaciador y la tuerca.
Baje la unidad de tracción al suelo.
Instalación de la cubierta.
Cuando las orugas estén muy desgastadas, cámbielas.
Aparque la máquina en una superficie nivelada, ponga el freno de estacionamiento y baje los brazos de carga.
Apague el motor y retire la llave.
Levante/apoye el lado de la unidad de tracción en el que va a trabajar hasta que la oruga esté a 8–10 cm del suelo.
Retire el perno de bloqueo, el espaciador y la tuerca.

Con una llave de carraca de ½", alivie la tensión en la transmisión girando el tornillo tensor en sentido horario.

Empuje la rueda tensora hacia la parte de atrás de la unidad para mover el tubo tensor contra el bastidor.
Note: Si no toca el bastidor, siga girando el tornillo tensor hasta que lo toque.

Retire la oruga empezando en la parte superior de la rueda tensora, retirándola de la rueda mientras mueve la oruga hacia adelante.
Cuando haya retirado la oruga de la rueda tensora, retírela del piñón de arrastre y de las ruedas de rodaje.
Empezando en la rueda motriz, pase la oruga nueva alrededor de dicha rueda, asegurándose de que los salientes de la oruga encajen entre los dientes del piñón.
Empuje la oruga por debajo de las ruedas de rodaje y entre ellas.
Empezando en la parte de abajo de la rueda tensora, instale la oruga alrededor de dicha rueda moviendo la oruga hacia atrás mientras empuja los dientes para que encajen en la rueda.
Gire el tornillo tensor en sentido antihorario hasta que la distancia entre la tuerca tensora y la parte de atrás del tubo tensor sea de 7 cm.

Alinee la muesca más próxima del tornillo tensor con el taladro del perno de bloqueo, y fije el tornillo con el perno de bloqueo y la tuerca.
Baje la unidad de tracción al suelo.
Repita los pasos 3 a 14 para cambiar la otra oruga.
Retire las orugas; consulte Cómo cambiar las orugas.
Retire los 4 pernos que fijan cada guía de oruga inferior y retire la guía de oruga.

Retire la anilla a presión y el tapón de una de las ruedas de rodaje.

Compruebe la grasa que hay debajo del tapón y alrededor de la junta. Si está sucia, tiene arenilla o queda poca grasa, elimine toda la grasa, cambie la junta, y añada grasa nueva.
Asegúrese de que la rueda de rodaje gira libremente sobre el cojinete. Si no es así, sustituya la rueda de rodaje; consulte las Instrucciones de instalación para obtener un kit de rueda de rodaje o póngase en contacto con su Servicio Técnico Autorizado para que realice la reparación.
Instale el tapón engrasado y fíjelo con la anilla a presión.
Repita los pasos 3 a 6 en las demás ruedas de rodaje.
Instale las guías de orugas en la máquina. Apriete los pernos a 91–112 N∙m.
Instale las orugas; consulte Cómo cambiar las orugas.
La ingestión del refrigerante del motor puede causar envenenamiento; manténgalo fuera del alcance de niños y animales domésticos.
Una descarga de refrigerante caliente bajo presión, o cualquier contacto con el radiador caliente y los componentes que lo rodean, puede causar quemaduras graves.
Siempre deje que el motor se enfríe durante al menos 15 minutos antes de retirar el tapón del radiador.
Utilice un trapo al abrir el tapón del radiador, y ábralo lentamente para permitir la salida del vapor.
| Intervalo de mantenimiento y servicio | Procedimiento de mantenimiento |
|---|---|
| Cada vez que se utilice o diariamente |
|
| Cada 100 horas |
|
El ventilador y el eje de transmisión, al girar, pueden causar lesiones.
No haga funcionar la máquina sin que las cubiertas estén colocadas.
Mantenga los dedos, las manos y la ropa alejados del ventilador y del eje en movimiento.
Aparque la máquina en una superficie nivelada, baje los brazos de carga, ponga el freno de estacionamiento, apague el motor y retire la llave del interruptor antes de realizar tareas de mantenimiento.
| Intervalo de mantenimiento y servicio | Procedimiento de mantenimiento |
|---|---|
| Cada vez que se utilice o diariamente |
|
Elimine cualquier acumulación de hierba, suciedad u otros residuos de la rejilla del radiador con aire comprimido.
Capacidad: 3,8 litros
Tipo: una solución al 50 % de agua y anticongelante permanente de etilenglicol.
Aparque la máquina en una superficie nivelada, baje los brazos de carga, ponga el freno de estacionamiento y apague el motor.
Retire la llave del interruptor y deje que el motor se enfríe.
Compruebe el nivel de refrigerante en el depósito de expansión.
El nivel del refrigerante debe estar entre o encima de las marcas en el lateral del depósito.

Si el nivel de refrigerante es bajo, complete el procedimiento siguiente:
Retire el tapón de llenado de refrigerante.

Abra las válvulas de purga de refrigerante delantera y superior.
Vierta refrigerante por el cuello de llenado de refrigerante hasta que el refrigerante empiece a salir de la válvula de purga de refrigerante delantera.
Cierre la válvula de purga de refrigerante delantera.
Vierta refrigerante por el cuello de llenado de refrigerante hasta que el refrigerante empiece a salir de la válvula de purga de refrigerante superior.
Cierre la válvula de purga de refrigerante superior.
Vierta refrigerante en el cuello de llenado de refrigerante hasta que el nivel de refrigerante llegue al cuello de llenado.
Coloque el tapón de llenado de refrigerante.
Añada refrigerante al depósito de expansión hasta que llegue a la marca de Lleno del lateral del depósito.
Coloque el tapón del depósito de expansión.
| Intervalo de mantenimiento y servicio | Procedimiento de mantenimiento |
|---|---|
| Cada 1500 horas |
|
Haga que un Servicio Técnico Autorizado cambie el refrigerante del motor cada año.
Si necesita añadir refrigerante del motor, consulte Comprobación del nivel de refrigerante del motor.
| Intervalo de mantenimiento y servicio | Procedimiento de mantenimiento |
|---|---|
| Cada vez que se utilice o diariamente |
|
Ponga el freno de estacionamiento; consulte Palanca del freno de estacionamiento.
Arranque el motor.
Intente conducir la máquina lentamente hacia adelante o hacia atrás.
Note: La máquina puede seguir desplazándose un poco hasta que los frenos se engranen en el piñón de arrastre.
Si los frenos no sostienen la máquina tras el movimiento ligero inicial, póngase en contacto con un servicio técnico autorizado para que la revise.
| Intervalo de mantenimiento y servicio | Procedimiento de mantenimiento |
|---|---|
| Cada año |
|
Compruebe el estado de la correa de la bomba hidráulica cada año. Haga que un Servicio Técnico Autorizado cambie la correa si llega a dañarse o desgastarse.

Los controles son ajustados en fábrica antes del envío de la máquina. No obstante, tras muchas horas de uso, es posible que usted necesite ajustar la alineación del control de tracción, la posición de PUNTO MUERTO del control de tracción y el desplazamiento del control de tracción en posición hacia adelante a velocidad máxima.
Important: Para ajustar correctamente los controles, complete cada procedimiento en el orden señalado.
Si la barra de control de tracción no queda enrasada con y paralela a la barra de referencia cuando está en la posición de marcha atrás, complete inmediatamente el procedimiento siguiente:
Aparque la máquina en una superficie nivelada, ponga el freno de estacionamiento y baje los brazos de carga.
Apague el motor y retire la llave.
Tire hacia atrás del control de tracción hasta que la parte delantera del control entre en contacto con la barra de referencia.

Si la parte delantera del control de tracción no queda enrasada con a la barra de referencia y paralela a ella, afloje la tuerca con arandela prensada y el perno del tubo del control de tracción.

Ajuste el control de tracción hasta que quede enrasado con la barra de referencia al tirar del mismo hacia atrás del todo.

Apriete la tuerca con arandela prensada y el perno del tubo del control de tracción.
Si la máquina se desplaza lentamente hacia adelante o hacia atrás cuando el control de tracción está en PUNTO MUERTO y la unidad está caliente, realice inmediatamente el procedimiento siguiente:
Levante/apoye la máquina de manera que ambas orugas estén levantadas del suelo.
Abra el panel de acceso trasero.
Afloje las contratuercas de las varillas de tracción, debajo del panel de control.

Arranque la unidad de tracción y ponga el acelerador en posición 1/3 abierto aproximadamente.
Si la máquina está en marcha, usted podría quedar atrapado por las piezas en movimiento y lesionarse, o quemarse en las superficies calientes.
Manténgase alejado de los puntos de peligro, las piezas en movimiento y las superficies calientes si ajusta la máquina cuando está funcionando.
Si se mueva la oruga izquierda, alargue o acorte la varilla de tracción derecha hasta que la oruga se pare.
Si se mueva la oruga derecha, alargue o acorte la varilla de tracción izquierda hasta que la oruga se pare.
Apriete las contratuercas.
Cierre el panel de acceso trasero.
Apague el motor y baje la máquina al suelo.
Conduzca la máquina en marcha atrás a velocidad máxima, comprobando que la unidad va en línea recta. Si no es así, observe en qué sentido se desvía. Repita el ajuste anterior hasta que se desplace en línea recta en marcha atrás.
Si la máquina no se desplaza en línea recta cuando sostiene el control de tracción contra la barra de referencia, realice el procedimiento siguiente:
Conduzca la máquina con el control de tracción contra la barra de referencia, observando en qué dirección se desplaza la unidad de tracción.
Suelte el control de tracción.
Si la unidad de tracción se desvía a la izquierda, afloje la contratuerca de la derecha y ajuste el tornillo de fijación de desplazamiento en la parte delantera del control de tracción.
Si la unidad de tracción se desvía a la derecha, afloje la contratuerca de la izquierda y ajuste el tornillo de fijación de desplazamiento en la parte delantera del control de tracción.

Repita el procedimientos hasta que la máquina avance en línea recta en posición de marcha adelante a velocidad máxima.
Important: Asegúrese de que los tornillos de fijación entran en contacto con los topes en la posición de velocidad máxima hacia adelante para evitar forzar los émbolos de las bombas hidráulicas.
Busque atención médica inmediatamente si el fluido penetra en la piel. Un médico deberá eliminar quirúrgicamente el fluido inyectado en pocas horas.
Asegúrese de que todas las mangueras y líneas de fluido hidráulico están en buenas condiciones de uso, y que todos los acoplamientos y conexiones hidráulicos están apretados, antes de aplicar presión al sistema hidráulico.
Mantenga el cuerpo y las manos alejados de fugas pequeñas o de boquillas que liberan fluido hidráulico a alta presión.
Utilice un cartón o un papel para buscar fugas hidráulicas.
Alivie de manera segura toda la presión del sistema hidráulico antes de realizar trabajo alguno en el sistema hidráulico.
Para aliviar la presión hidráulica mientras el motor está en marcha, desengrane el sistema hidráulico auxiliar y baje totalmente los brazos de carga.
Para aliviar la presión mientras el motor está apagado, mueva la palanca del sistema hidráulico auxiliar entre las posiciones de flujo hacia delante y hacia atrás para aliviar la presión del sistema hidráulico auxiliar y active y desactive la palanca de inclinación del accesorio/los brazos de carga entre las posiciones hacia delante para bajar los brazos de carga.

| Intervalo de mantenimiento y servicio | Procedimiento de mantenimiento |
|---|---|
| Cada 100 horas |
|
Capacidad del depósito hidráulico: 45 litros
Utilice solamente uno de los fluidos siguientes en el sistema hidráulico:
Toro Premium Transmission/Hydraulic Tractor Fluid (consulte a su Distribuidor Autorizado Toro si desea más información)
Fluido hidráulico Toro PX Extended Life (consulte a su distribuidor Toro autorizado si desea más información)
Si ninguno de los fluidos Toro anteriores no está disponible, puede utilizar otro fluido hidráulico universal para tractores (UTHF ), pero en este caso utilice únicamente productos convencionales a base de petróleo. Las especificaciones de todas las propiedades materiales deben estar dentro de los intervalos citados a continuación, y el fluido debe cumplir las normas industriales citadas. Consulte a su proveedor de fluido hidráulico para determinar si el fluido cumple estas especificaciones.
Note: Toro no asume responsabilidad alguna por daños causados por sustitutos no adecuados, así que usted debe utilizar solamente productos de fabricantes responsables que respaldan sus recomendaciones.
| Propiedades de materiales | |
| Viscosidad, ASTM D445 | cSt a 40 °C: 55 a 62 |
| cSt a 100 °C: 9,1 a 9,8 | |
| Índice de viscosidad ASTM D2270: | 140 a 152 |
| Punto de descongelación, ASTMD97 | -37 °C a -43 °C |
| Normas industriales | |
| API GL-4, AGCO Powerfluid 821 XL, Ford New Holland FNHA-2-C-201.00, Kubota UDT, John Deere J20C, Vickers 35VQ25 y Volvo WB-101/BM | |
Note: Muchos fluidos hidráulicos son casi incoloros, por lo que es difícil detectar fugas. Está disponible un aditivo de tinte rojo para el fluido del sistema hidráulico, en botellas de 20 ml. Una botella es suficiente para 15 a 22 litros de fluido hidráulico. Solicite la pieza N.º 44-2500 a su servicio técnico autorizado.
| Intervalo de mantenimiento y servicio | Procedimiento de mantenimiento |
|---|---|
| Cada 25 horas |
|
Important: Utilice siempre el tipo correcto de fluido hidráulico. Los fluidos que no cumplan las especificaciones dañarán el sistema hidráulico. Consulte Especificación del fluido hidráulico.
Retire todos los accesorios.
Aparque la máquina sobre una superficie nivelada, baje los brazos de carga y retraiga totalmente el cilindro de inclinación.
Apague el motor, retire la llave y deje que el motor se enfríe.
Abra el capó.
Limpie la zona alrededor del cuello de llenado del depósito de fluido hidráulico.

Retire el tapón del cuello de llenado y compruebe el nivel de fluido en la varilla.
Note: El nivel del fluido debe estar entre las marcas de la varilla.

Si el nivel es bajo, añada fluido suficiente para que llegue al nivel correcto.
Instale el tapón del cuello de llenado.
Cierre el capó.
| Intervalo de mantenimiento y servicio | Procedimiento de mantenimiento |
|---|---|
| Después de las primeras 8 horas |
|
| Cada 200 horas |
|
Important: No utilice un filtro de aceite para automóviles, de lo contrario se pueden producir graves daños en el sistema hidráulico.
Aparque la máquina en una superficie nivelada, ponga el freno de estacionamiento y baje los brazos de carga.
Apague el motor y retire la llave.
Abra el panel de acceso trasero.
Coloque un recipiente debajo del filtro y cambie el filtro.

Limpie cualquier fluido derramado.
Arranque el motor y déjelo funcionar durante unos dos minutos para purgar el aire del sistema.
Apague el motor, retire la llave y compruebe que no haya fugas.
Compruebe el nivel de fluido del depósito hidráulico y añada fluido para que el nivel llegue a la marca de la varilla; consulte Especificación del fluido hidráulico.
Important: No llene demasiado el depósito.
Cierre el panel de acceso trasero.
| Intervalo de mantenimiento y servicio | Procedimiento de mantenimiento |
|---|---|
| Cada 400 horas |
|
Aparque la máquina en una superficie nivelada.
Eleve los brazos de carga e instale el bloqueo del cilindro.
Apague el motor, retire la llave y deje que el motor se enfríe.
Abra el capó.
Retire el tapón y la varilla del depósito hidráulico.
Note: El tapón de llenado está detrás de la rejilla delantera. Si desea mejorar el acceso, retire el filtro de malla.

Coloque un recipiente grande con capacidad para 57 litros debajo del tapón de vaciado situado en la parte delantera de la máquina.

Retire el tapón de vaciado y deje fluir el aceite al recipiente.
Cuando termine, instale el tapón de vaciado y apriételo.
Note: Elimine el aceite usado en un centro de reciclaje homologado.
Llene el depósito hidráulico con fluido hidráulico, tal y como se especifica en Especificación del fluido hidráulico.
Arranque el motor y déjelo funcionar durante unos minutos.
Apague el motor.
Compruebe el nivel de fluido hidráulico y añada fluido para llenar el depósito, si es necesario; consulte Comprobación del nivel de fluido hidráulico.
Cierre el capó.
| Intervalo de mantenimiento y servicio | Procedimiento de mantenimiento |
|---|---|
| Cada vez que se utilice o diariamente |
|
Important: La operación del motor con las rejillas obstruidas y/o sin las tapas de ventilación dañará el motor debido al sobrecalentamiento.
Aparque la máquina en una superficie nivelada y baje los brazos de carga.
Apague el motor, retire la llave y deje que el motor se enfríe.
Abra el capó y coloque la varilla de sujeción.
Limpie cualquier residuo de las rejillas delantera y laterales.
Retire cualquier residuo del limpiador de aire.
Elimine cualquier acumulación de residuos en el motor y en las aletas del enfriador de aceite con un cepillo o un soplador.
Important: La operación del motor con las rejillas obstruidas y/o sin las tapas de ventilación dañará el motor debido al sobrecalentamiento.
Limpie cualquier residuo del orificio del capó, el silenciador, los protectores térmicos y la rejilla del radiador (en su caso).
Cierre el capó.
Cuando lave la máquina a presión, haga lo siguiente:
Lleve equipos de protección personal apropiados para la lavadora a presión.
Mantenga colocados todos los protectores en la máquina.
Evite dirigir el agua hacia los componentes electrónicos.
Evite dirigir el agua hacia los bordes de las calcomanías.
Pulverice el exterior de la máquina solamente. No pulverice directamente en los orificios de la máquina.
Pulverice únicamente las partes sucias de la máquina.
Utilice una boquilla de 40 grados o más. Las boquillas de 40 grados suelen ser blancas.
Mantenga la punta de la lavadora a presión a una distancia mínima de 60 cm de la superficie a lavar.
Utilice únicamente lavadoras con una presión inferior a 137,9 bar y un caudal inferior a 7,6 litros por minuto.
Cambie cualquier calcomanía que esté dañada o que se esté despegando.
Engrase todos los puntos de engrase después del lavado; consulte Engrasado de la máquina.
| Intervalo de mantenimiento y servicio | Procedimiento de mantenimiento |
|---|---|
| Cada 100 horas |
|
Con el tiempo, el chasis debajo del motor acumula suciedad y residuos que deben ser eliminados. Abra el capó e inspeccione frecuentemente la zona debajo del motor con una linterna. Cuando la acumulación de residuos llegue a tener una profundidad de 2,5–5 cm, limpie el chasis.
Retire todos los accesorios.
Aparque la máquina en una superficie nivelada, ponga el freno de estacionamiento y baje los brazos de carga.
Apague el motor y retire la llave.
Levante y apoye la parte delantera de la máquina.
Los gatos mecánicos o hidráulicos podrían dejar de sostener la máquina, lo que podría provocar lesiones graves o la muerte.
Utilice caballetes para apoyar la máquina.
Abra el panel de acceso trasero.
Retire el depósito de combustible; consulte Retirada del depósito de combustible.
Retire cualquier gran acumulación de residuos.
Lave el chasis con agua limpia hasta que el agua que sale por la parte de atrás de la unidad de tracción esté limpia.
Important: Asegúrese de que no se introduce agua en el motor o en los componentes eléctricos.
Instale el depósito de combustible; consulte Instalación del depósito de combustible.
Cierre el panel de acceso trasero.
Baje la máquina al suelo.
Apague el motor, retire la llave, espere a que se detengan todas las piezas en movimiento y deje que el motor se enfríe antes de guardar la máquina.
No almacene la máquina o el combustible cerca de una llama.
Aparque la máquina en una superficie nivelada, ponga el freno de estacionamiento y baje los brazos de carga.
Apague el motor y retire la llave.
Limpie la suciedad de toda la máquina.
Important: La máquina puede lavarse con un detergente suave y agua. No lave la máquina a presión. Evite el uso excesivo de agua, especialmente cerca del panel de control, el motor, las bombas hidráulicas y los motores eléctricos.
Revise el limpiador de aire; consulte Mantenimiento del limpiador de aire.
Engrase la máquina; consulte Engrasado de la máquina.
Cambie el aceite del motor; consulte Cómo cambiar el aceite del motor.
Cargue la batería; consulte Carga de la batería.
Compruebe y ajuste la tensión de las orugas; consulte Comprobación y ajuste de la tensión de las orugas.
Revise y apriete todos los pernos, tuercas y tornillos. Repare o sustituya cualquier pieza dañada.
Pinte las superficies que estén arañadas o donde esté visible el metal. Puede adquirir la pintura en su Servicio Técnico Autorizado.
Guarde la máquina en un garaje o almacén seco y limpio. Retire la llave de contacto y guárdela en un lugar seguro que le sea fácil de recordar.
Cubra la máquina para protegerla y para conservarla limpia.
Antes de retirar la máquina de servicio, observe la normativa local sobre la eliminación de sustancias peligrosas. Para obtener más información sobre el vaciado de los fluidos, consulte el capítulo sobre Mantenimiento o póngase en contacto con un Servicio Técnico Autorizado.
| Problem | Possible Cause | Corrective Action |
|---|---|---|
| El motor de arranque no se engrana. |
|
|
| El motor gira pero no arranca. |
|
|
| El motor arranca, pero no sigue funcionando. |
|
|
| El motor funciona, pero irregularmente. |
|
|
| El motor no funciona al ralentí. |
|
|
| El motor se sobrecalienta. |
|
|
| El motor pierde potencia. |
|
|
| El escape produce un exceso de humo negro. |
|
|
| El escape produce un exceso de humo blanco. |
|
|
| No es posible conducir la máquina. |
|
|