| Периодичность технического обслуживания | Порядок технического обслуживания |
|---|---|
| Перед каждым использованием или ежедневно |
|
Эта ездовая газонокосилка с плосковращательными ножами предназначена для использования профессиональными наемными операторами. Она предназначена в основном для стрижки травы на ухоженных зеленых территориях жилых и коммерческих объектов. Использование этого изделия не по прямому назначению может быть опасным для пользователя и находящихся рядом людей.
Внимательно прочтите данное Руководство, чтобы знать, как правильно использовать и обслуживать машину, не допуская ее повреждения и травмирования персонала. Вы несете ответственность за правильное и безопасное использование машины.
Посетите веб-сайт www.Toro.com для получения информации о технике безопасности при работе с изделием, обучающих материалов по эксплуатации изделия, информации о принадлежностях, а также для получения помощи в поисках дилера или для регистрации вашего изделия.
Для выполнения технического обслуживания, приобретения оригинальных запчастей Toro или получения дополнительной информации обращайтесь в сервисный центр официального дилера или в отдел технического обслуживания компании Toro. Не забудьте при этом указать модель и серийный номер изделия. На Рисунок 1 показано расположение номера модели и серийного номера. Запишите номера в предусмотренном для этого месте.
Important: С помощью мобильного устройства вы можете отсканировать QR-код на табличке с серийным номером (при наличии), чтобы получить информацию по гарантии и запчастям, а также другие сведения об изделии.

Для выделения информации в данном руководстве используются два слова. Внимание — привлекает внимание к специальной информации, относящейся к механической части машины, и Примечание — выделяет общую информацию, требующую специального внимания.
Символ предупреждения об опасности (Рисунок 2) используется как в этом руководстве, так и на машине, чтобы обозначить важные указания о безопасности, которые следует выполнять для предотвращения несчастных случаев. Этот символ также сопровождается надписью Опасно!, Предупреждение! или Осторожно!.
«Опасно!» указывает на неизбежную опасную ситуацию, которая, если ее не предотвратить, приведет к гибели или серьезным травмам людей.
«Предупреждение!» указывает на потенциально опасную ситуацию, которая, если ее не предотвратить, может привести к серьезной травме, в том числе с летальным исходом.
«Осторожно!» указывает на потенциально опасную ситуацию, которая, если ее не предотвратить, может привести к травмам легкой или средней тяжести.

Данное изделие удовлетворяет всем соответствующим европейским директивам; подробные сведения содержатся в документе «Декларация соответствия» на каждое отдельное изделие.
См. информацию производителя двигателя, прилагаемую к машине.
Максимальный полезный крутящий момент (нетто): максимальный полезный крутящий момент (нетто) данного двигателя установлен в лабораторных условиях производителем двигателя в соответствии с требованиями J1940 или J2723 Сообщества автомобильных инженеров (SAE). Так как конфигурация двигателя была изменена для удовлетворения требований по безопасности, составу выхлопа и эксплуатации, фактический крутящий момент двигателя газонокосилки этого класса будет значительно ниже. См. информацию производителя двигателя, прилагаемую к машине.
Данная машина была спроектирована в соответствии с требованиями стандарта EN ISO 5395.
Данное изделие может привести к травматической ампутации конечностей, а также к травмированию отброшенными предметами. Во избежание тяжелых травм или гибели следует всегда соблюдать все правила техники безопасности.
Перед запуском двигателя прочтите и усвойте содержание настоящего Руководства оператора.
Следите, чтобы посторонние лица и дети находились на безопасном расстоянии.
Запрещается допускать детей или неподготовленных людей к эксплуатации или обслуживанию машины. К эксплуатации данной машины разрешается допускать только ответственных, обученных лиц, знающих инструкции и физически способных управлять машиной или обслуживать ее.
Всегда держите защитную штангу в полностью поднятом и зафиксированном положении, а также используйте ремень безопасности.
Запрещается эксплуатировать машину рядом с обрывами, канавами, насыпями, водоемами, другими опасностями или на склонах с крутизной более 15 градусов.
Запрещается помещать руки и ноги рядом с движущимися компонентами машины.
Не эксплуатируйте данную машину без ограждений, предохранительных выключателей и других защитных устройств, находящихся на своих местах в исправном рабочем состоянии.
Прежде чем покинуть рабочее место оператора, выключите двигатель, извлеките ключ и дождитесь остановки всех движущихся частей машины. Дайте машине остыть перед техническим обслуживанием, регулировкой, заправкой топливом, очисткой или помещением на хранение.

![]() |
Предупреждающие наклейки и инструкции по технике безопасности должны быть хорошо видны оператору и установлены во всех местах потенциальной опасности. При отсутствии или повреждении наклейки следует установить новую наклейку. |





















Прежде чем запустить двигатель и начать эксплуатацию машины, ознакомьтесь со всеми органами управления.

Выключатель зажигания, используемый для пуска и останова двигателя, имеет три положения: ВЫКЛ, РАБОТА и ПУСК. См. Пуск двигателя.
Выключатель освещения предназначен для включения и выключения световых приборов (Рисунок 5).
Используйте воздушную заслонку для запуска холодного двигателя.
Рычаг дроссельной заслонки позволяет плавно регулировать частоту вращения двигателя от положения Медленно до положения Быстро (Рисунок 5).
Переключатель управления ножами, обозначенный символом вала отбора мощности (ВОМ), включает и выключает подачу мощности на ножи газонокосилки (Рисунок 5).
Счетчик моточасов показывает общую наработку двигателя в часах. Моточасы подсчитываются только при работающем двигателе. Используйте его показания для планирования регулярного технического обслуживания (Рисунок 6).

На счетчике моточасов имеются символы в виде черных треугольников, которые показывают, что соответствующие компоненты защитных блокировок находятся в правильных положениях (Рисунок 6).
При повороте на несколько секунд выключателя зажигания в положение ВЫКЛ напряжение аккумулятора отображается вместо показателя моточасов.
Индикатор аккумулятора загорается при повороте выключателя зажигания в положение ПУСК, а также когда уровень заряда аккумулятора опускается ниже рабочего значения (Рисунок 6).
Рычаги управления движением предназначены для перемещения машины вперед/назад и выполнения поворотов в любом направлении (Рисунок 4).
Прежде чем покинуть машину переведите рычаги управления движением наружу, из центрального положения в нейтральное фиксированное положение (Рисунок 25). Всегда переводите рычаги управления движением в нейтральное фиксированное положение, когда вы останавливаете машину или оставляете ее без присмотра.
Для предотвращения случайного движения машины всегда включайте стояночный тормоз при выключении двигателя.
Перед транспортировкой или хранением машины закройте клапан отключения подачи топлива; см. раздел Использование клапана отключения подачи топлива.
Note: Технические характеристики и конструкция могут быть изменены без уведомления.
| Дека 122 см | Дека 132 см | Дека 152 см | |
|---|---|---|---|
| Без деки газонокосилки | 129 см | 137 см | 140 см |
| Отражатель поднят | 141 см | 150 см | 166 см |
| Отражатель опущен | 160 см | 171 см | 191 см |
| Отражатель снят | 132 см | 141 см | 156 см |
| 24-дюймовые шины | 26-дюймовые шины | |
|---|---|---|
| Длина | 219 см | 220 см |
| 24-дюймовые шины | 26-дюймовые шины | |
|---|---|---|
| Защитная дуга поднята | 182 см | 185 см |
| Защитная дуга опущена | 126 см | 129 см |
| Машины | Масса |
| Машины 122 см | 512 кг |
| Машины 132 см | От 531 до 540 кг |
| Машины 152 см | От 535 до 590 кг |
Для улучшения и расширения возможностей машины можно использовать ряд утвержденных компанией Toro вспомогательных приспособлений и навесного оборудования. Обратитесь в сервисный центр официального дилера, к официальному дистрибьютору компании Toro или посетите сайт www.Toro.com, на котором приведен список всего утвержденного навесного оборудования и принадлежностей.
Для поддержания оптимальных рабочих характеристик машины и регулярного прохождения сертификации безопасности всегда приобретайте только оригинальные запасные части и приспособления компании Toro. Использование запасных частей и приспособлений, изготовленных другими производителями, может быть опасным и привести к аннулированию гарантии на изделие.
Note: Определите левую и правую стороны машины относительно места оператора.
Запрещается допускать детей или неподготовленных людей к эксплуатации или обслуживанию машины. Минимальный возраст оператора устанавливается местными правилами и нормами. Владелец несет ответственность за подготовку всех операторов и механиков.
Осмотрите участок, где будет использоваться машина, и удалите все посторонние предметы, которые могут мешать при работе машины или которые могут быть отброшены машиной.
Ознакомьтесь с приемами безопасной эксплуатации оборудования, органами управления и знаками безопасности.
Проверьте надежность крепления и исправность работы органов контроля присутствия оператора, предохранительных выключателей и ограждений. Не приступайте к эксплуатации машины, пока не убедитесь в правильной работе этих устройств.
Прежде чем покинуть рабочее место оператора, выключите двигатель, извлеките ключ и дождитесь остановки всех движущихся частей машины. Дайте машине остыть перед техническим обслуживанием, регулировкой, заправкой топливом, очисткой или помещением на хранение.
Перед скашиванием проверьте машину, чтобы убедиться в правильной работе режущих блоков.
Оцените рельеф участка и определите подходящие навесные орудия или принадлежности, необходимые для правильной и безопасной эксплуатации машины.
Используйте подходящую одежду, включая защитные очки, длинные брюки, нескользящую прочную обувь и средства защиты органов слуха. Закрепляйте длинные волосы на затылке и не носите свободную одежду и ювелирные украшения.
Перевозка пассажиров на машине запрещена.
Следите, чтобы посторонние лица и домашние животные находились на достаточном расстоянии от машины во время ее работы. Выключайте машину и навесное оборудование, если кто-либо входит в рабочую зону.
Эксплуатация машины разрешается, только когда все ограждения и защитные устройства, такие как отражатели и весь узел подхватчика травы, находятся на штатных местах и работают правильно. При необходимости заменяйте изношенные или потерявшие свои качества компоненты.
Топливо является легковоспламеняющейся и крайне взрывоопасной жидкостью. Возгорание или взрыв топлива могут вызвать ожоги у людей и повреждение имущества.
Чтобы предотвратить воспламенение топлива разрядом статического электричества, перед заправкой устанавливайте емкость с топливом и(или) машину непосредственно на землю, а не на транспортное средство или другой объект.
Заправляйте топливный бак вне помещения на открытом воздухе, ровной поверхности и при холодном двигателе. Сразу же вытирайте пролитое топливо.
Не курите при заправке и не заправляйте машину вблизи источников огня или искрения.
Не снимайте крышку топливного бака и не доливайте топливо в бак при работающем или горячем двигателе.
В случае пролива топлива не пытайтесь запустить двигатель. Не допускайте создания источника возгорания, пока пары топлива не испарятся.
Храните топливо в штатной емкости в месте, недоступном для детей.
Топливо опасно для здоровья и может привести к гибели при проглатывании. Продолжительное воздействие паров топлива может привести к тяжелой травме или заболеванию.
Не вдыхать пары топлива.
Не приближайте лицо и руки к патрубку и отверстию топливного бака.
Не допускайте попадания топлива в глаза и на кожу.
Запрещается хранить машину или емкость с топливом в местах, где есть открытое пламя, искры или малая горелка, используемая, например, в водонагревателе или другом оборудовании.
Запрещается заправлять емкости, находящиеся внутри машины, на грузовике или платформе прицепа с пластиковым настилом. Перед заполнением поставьте канистры на землю в стороне от транспортного средства.
Снимайте оборудование с грузовика или прицепа и заправляйте его топливом на земле. Если снять оборудование невозможно, заправляйте его из переносной канистры, а не с помощью заправочного пистолета.
Не эксплуатируйте машину без установки полностью комплектной и исправной выхлопной системы.
Заправочный пистолет должен касаться ободка горловины бака с топливом или емкости до окончания заправки. Не используйте пистолет с фиксатором открытого положения.
При попадании топлива на одежду немедленно переоденьтесь.
Не переполняйте топливный бак. Установите крышку топливного бака на место и надежно затяните.
Для предотвращения возгорания очищайте от травы и мусора режущий блок, глушитель, приводы, подхватчик травы и моторный отсек. Удалите следы утечек масла или топлива.
Для наилучших результатов используйте только чистый, свежий (полученный в течение последних 30 дней), неэтилированный бензин с октановым числом 87 или выше (метод оценки (R+M)/2).
Этиловый спирт: приемлемым считается бензин, содержащий по объему до 10% этилового спирта или 15% MTBE (метил-трет-бутилового эфира). Этиловый спирт и MTBE — это разные вещества. Запрещается использовать бензин с содержанием этилового спирта 15% (E15) по объему. Запрещается использовать бензин, содержащий более 10% этилового спирта по объему, такой как E15 (содержит 15% этилового спирта), E20 (содержит 20% этилового спирта) или E85 (содержит до 85% этилового спирта). Использование запрещенного к применению бензина может привести к нарушениям эксплуатационных характеристик и (или) повреждениям двигателя, которые не будут покрываться гарантией.
Запрещается использовать бензин, содержащий метанол.
Запрещается хранить топливо без стабилизирующей присадки в топливных баках или емкостях на протяжении всего зимнего периода.
Не добавляйте в бензин масло.
Использование стабилизирующих (кондиционирующих) топливных присадок дает следующие преимущества:
Использование стабилизатора топлива в соответствии с рекомендациями его изготовителя позволяет дольше сохранять топливо свежим.
Очистка двигателя в процессе работы
Предотвращение образования смолистых отложений в топливной системе, вызывающих затруднение запуска
Important: Не допускается использовать топливные присадки, содержащие метанол или этанол.
Добавляйте в топливо надлежащее количество стабилизирующих (кондиционирующих) топливных присадок.
Note: Стабилизирующие (кондиционирующие) топливные присадки наиболее эффективны при смешивании со свежим топливом. Чтобы свести к минимуму вероятность образования смолистых отложений в топливной системе, всегда используйте стабилизирующую присадку.
Установите машину на ровной поверхности.
Включите стояночный тормоз.
Выключите двигатель и извлеките ключ из замка зажигания.
Очистите поверхность вокруг крышки топливного бака.
Заполните топливный бак до нижней кромки заливной горловины (Рисунок 7).
Note: Не заправляйте топливный бак до предела. Пустое пространство в баке позволит топливу расширяться.

Каждый день перед запуском машины необходимо выполнять «Процедуру ежедневного обслуживания», описанную в разделе .
Новым двигателям требуется определенное время, чтобы начать работать на полную мощность. В новых деках газонокосилок и системах привода трение деталей выше, поэтому на двигатель воздействует дополнительная нагрузка. Для достижения полной мощности и наилучших эксплуатационных характеристик выполняйте обкатку новых машин в течение 40–50 часов.
Чтобы при опрокидывании машины избежать травмы или гибели, держите защитную дугу в поднятом положении и пристегивайтесь ремнем безопасности.
Убедитесь, что ремень безопасности прикреплен к машине.
Когда защитная дуга опущена, система защиты при опрокидывании отсутствует.
Опускайте защитную дугу только в случае крайней необходимости.
Когда защитная дуга опущена, не пристегивайтесь ремнем безопасности.
Водите машину медленно и осторожно.
Поднимайте защитную дугу, как только позволит верхний габарит.
Тщательно проверяйте верхний габарит перед проездом под нависающими объектами (например, ветками деревьев, дверными проемами, электрическими проводами), чтобы не задеть их.
В случае отсоединения или повреждения защитных блокировочных выключателей возможно непредвиденное срабатывание машины, которое может привести к травмированию.
Не вмешивайтесь в работу блокировочных выключателей.
Ежедневно проверяйте работу блокировочных выключателей и заменяйте все поврежденные выключатели перед эксплуатацией машины.
Система защитных блокировок предотвращает запуск двигателя, если не выполнены следующие условия:
Стояночный тормоз включен.
Переключатель управления ножами (ВОМ) установлен в положение ВЫКЛ.
Рычаги управления движением находятся в нейтральном фиксированном положении.
Система защитных блокировок предназначена также для останова двигателя, когда рычаги управления перемещаются из нейтрального фиксированного положения или если вы встаете с сиденья при включенном ВОМ.
На счетчике моточасов имеются индикаторы, показывающие пользователю, что все компоненты защитной блокировки находятся в правильных положениях. Когда компонент находится в правильном положении, на экране отображается соответствующий индикатор.

| Периодичность технического обслуживания | Порядок технического обслуживания |
|---|---|
| Перед каждым использованием или ежедневно |
|
Проверяйте систему защитных блокировок перед каждым использованием машины. Если система защиты не работает так, как описано ниже, немедленно отремонтируйте ее в сервисном центре официального дилера.
Сядьте на сиденье, включите стояночный тормоз и переведите переключатель управления ножами (ВОМ) в положение ВКЛ. Попробуйте запустить двигатель; двигатель не должен запускаться.
Сядьте на сиденье, включите стояночный тормоз и переведите переключатель управления ножами (ВОМ) в положение ВЫКЛ. Выведите любой из рычагов управления движением из нейтрального фиксированного положения. Попробуйте запустить двигатель; двигатель не должен запускаться. Повторите эти действия для другого рычага управления.
Сядьте на сиденье, включите стояночный тормоз, переведите переключатель управления ножами (ВОМ) в положение ВЫКЛ и переведите рычаги управления движением в нейтральное фиксированное положение. Теперь запустите двигатель. При работающем двигателе выключите стояночный тормоз, установите переключатель управления ножами (ВОМ) в положение ВКЛ и привстаньте с сиденья. Двигатель должен остановиться.
Сядьте на сиденье, включите стояночный тормоз, переведите переключатель управления ножами (ВОМ) в положение ВЫКЛ и переведите рычаги управления движением в нейтральное фиксированное положение. Теперь запустите двигатель. При работающем двигателе переведите в среднее положение любой из органов управления движением, затем переместите его (вперед или назад); двигатель должен остановиться. Повторите эти действия для другого органа управления движением.
Сядьте на сиденье, выключите стояночный тормоз, переведите переключатель управления ножами (ВОМ) в положение ВЫКЛ и переведите рычаги управления движением в нейтральное фиксированное положение. Попробуйте запустить двигатель; двигатель не должен запускаться.
Сиденье можно передвинуть вперед и назад. Установите сиденье в наиболее удобное положение для управления машиной. (Рисунок 11).

Систему подвески MyRide™ можно отрегулировать для обеспечения плавного и комфортного хода машины. Два узла задних амортизаторов можно отрегулировать, чтобы быстро и легко изменить настройки системы подвески. Установите систему подвески в наиболее удобное положение.
В пазах узлов задних амортизаторов есть положения с фиксацией для ориентации. Узлы задних амортизаторов можно установить в любые положения в пазах, не только в положения с фиксацией. На следующем рисунке показаны положения для мягкого или жесткого хода и различные положения с фиксацией (Рисунок 12).

Note: Следите, чтобы левый и правый узлы амортизаторов всегда были установлены в одинаковые положения.
Отрегулируйте узлы задних амортизаторов (Рисунок 13).


Владелец или пользователь несет полную ответственность за любые несчастные случаи с людьми, а также за нанесение ущерба имуществу, и должен предпринять все меры для предотвращения таких случаев.
При работе на данной машине следует быть предельно внимательным. Во избежание травмирования людей или повреждения имущества запрещается отвлекаться во время работы.
Запрещается управлять машиной в состоянии болезни, усталости, а также под воздействием алкоголя или сильнодействующих лекарственных препаратов.
Персонал может получить серьезную травму при контакте с ножом. Прежде чем покинуть рабочее место оператора, выключите двигатель, извлеките ключ и дождитесь остановки всех движущихся частей машины. При повороте ключа в положение ВЫКЛ. двигатель должен выключиться и нож должен остановиться. Если этого не происходит, незамедлительно прекратите эксплуатацию машины и обратитесь в сервисный центр официального дилера.
Эксплуатируйте машину только при наличии хорошего обзора и в подходящих погодных условиях. Запрещается работать на машине, если существует вероятность удара молнией.
Следите, чтобы руки и ноги находились на безопасном расстоянии от режущих блоков. Держитесь на достаточном расстоянии от отверстия выброса материала.
Запрещается косить, если отражатель поднят, снят или его конструкция изменена, кроме случаев, когда установлена исправная система сбора травы или комплект для мульчирования.
Не косите, двигаясь задним ходом, если в этом нет особой необходимости. Прежде чем начать движение на машине задним ходом, посмотрите назад и вниз и убедитесь, что путь свободен.
Будьте крайне осторожны при приближении к закрытым поворотам, кустарникам, деревьям или другим предметам, которые могут ограничить обзор.
Всегда останавливайте ножи, когда не косите.
Если машина ударилась о какой-либо предмет или начала вибрировать, немедленно остановите двигатель, извлеките ключ (при наличии) и дождитесь остановки всех движущихся частей, прежде чем приступать к осмотру машины на наличие повреждений. Перед возобновлением работы необходимо устранить все неисправности.
При выполнении поворотов, а также при пересечении дорог и тротуаров на машине замедляйте ход и будьте внимательны. Всегда уступайте дорогу другим транспортным средствам.
Прежде чем покинуть рабочее место оператора, выполните следующие действия:
Установите машину на ровной поверхности.
Выключите вал механизма отбора мощности и опустите навесное оборудование.
Включите стояночный тормоз.
Выключите двигатель и извлеките ключ из замка зажигания.
Дождитесь остановки всех движущихся частей.
Эксплуатируйте двигатель только в хорошо проветриваемых зонах. Выхлопные газы содержат угарный газ, который может привести к гибели при вдыхании.
Запрещается оставлять работающую машину без присмотра.
Присоединяйте буксируемое оборудование только к сцепному устройству машины.
Эксплуатация машины разрешается, только когда все ограждения и защитные устройства, такие как отражатели и весь узел подхватчика травы, находятся на штатных местах и работают правильно. При необходимости заменяйте изношенные или потерявшие свои качества компоненты.
Используйте только принадлежности и навесное оборудование, утвержденные Toro.
Производимый данной машиной уровень звукового давления на органы слуха оператора превышает 85 дБА и при длительном воздействии может привести к потере слуха.

Для предотвращения возгорания очищайте от травы и мусора режущие блоки, приводы, глушители и двигатель.
При запуске двигателя ноги должны находиться на безопасном расстоянии от ножей.
Следите за направлением выброса газонокосилки и направляйте выброс в сторону от других людей. Следите, чтобы отбрасываемый материал не попадал в стену или другое препятствие, поскольку он может отскочить рикошетом в вашу сторону.
При пересечении участков, не имеющих травяного покрова, а также при транспортировке машины к рабочей зоне и обратно остановите ножи, снизьте скорость машины и соблюдайте меры предосторожности.
Не изменяйте настройку регулятора оборотов двигателя и не превышайте его допустимую частоту вращения.
Детям часто нравится наблюдать за работой машины и процессом скашивания травы. Никогда не исходите из предположения, что дети останутся в том месте, где вы видели их в последний раз.
Следите, чтобы дети находились за пределами рабочей зоны и под наблюдением ответственного взрослого человека (не оператора).
Будьте внимательны и выключайте машину при появлении детей в рабочей зоне.
Прежде чем начать движение задним ходом или выполнение поворота, посмотрите вниз и вокруг машины, чтобы убедиться в отсутствии детей.
Не перевозите детей на машине, даже когда ножи не движутся. Дети могут упасть и получить серьезную травму или помешать безопасной работе машины. Дети, которым разрешали прокатиться ранее, могут без предупреждения появиться в рабочей зоне, и машина может наехать на них передним или задним ходом.
Конструкция ROPS является неотъемлемым защитным устройством. Не снимайте с машины какие-либо компоненты конструкции ROPS.
Убедитесь, что ремень безопасности застегнут и вы можете быстро отстегнуть его в экстренной ситуации.
Следите, чтобы защитная дуга была полностью поднята и зафиксирована, и всегда используйте ремень безопасности, когда защитная дуга поднята.
Тщательно проверяйте верхний габарит перед проездом под нависающими объектами, чтобы не задеть их.
Заменяйте поврежденные компоненты конструкции ROPS. Ремонт или переделка запрещены.
При опущенной защитной дуге система защиты при опрокидывании отсутствует.
Переезд колес через край, крутые откосы или воду может вызвать опрокидывание и привести к тяжелой травме, в том числе с летальным исходом.
Не используйте ремень безопасности, когда защитная дуга находится в опущенном положении.
Опускайте защитную дугу только в случае крайней необходимости; поднимайте ее сразу, как только позволит высота дорожного просвета.
В случае опрокидывания отвезите машину в сервисный центр официального дилера для проверки конструкции ROPS.
Используйте только утвержденные компанией Toro принадлежности и навесное оборудование для конструкции ROPS.
Основная опасность при работе на склонах — потеря управляемости и опрокидывание машины, которое может привести к травме или гибели. Оператор несет ответственность за безопасную работу на склонах. Эксплуатация машины на любых склонах требует максимальной осторожности. Перед использованием машины на склоне выполните следующие действия:
Прочитайте и изучите инструкции по работе на склонах, приведенные в руководстве и имеющиеся на машине.
Используйте индикатор угла, чтобы определить приблизительный угол наклона рабочей площадки.
Запрещается работать на склонах крутизной более 15 градусов.
Оцените условия на рабочей площадке, чтобы определить, безопасно ли эксплуатировать машину на склоне в этот день. При осмотре площадки всегда руководствуйтесь здравым смыслом и правильно оценивайте ситуацию. Изменения характера поверхности, например влага, могут мгновенно повлиять на работу машины на склоне.
Находясь у основания склона, оцените степень его опасности. Запрещается эксплуатировать машину рядом с обрывами, канавами, насыпями, водоемами или другими опасностями. Машина может внезапно опрокинуться, если колесо пройдет по кромке или кромка обрушится. Сохраняйте безопасное расстояние (в два раза больше ширины машины) между машиной и любыми опасностями. Для скашивания травы в таких зонах используйте машину, управляемую рядом идущим оператором, или ручной триммер.
Старайтесь не начинать движение, не останавливаться и не поворачивать на склоне. Не допускайте внезапного изменения скорости или направления движения; выполняйте повороты медленно и плавно.
Не эксплуатируйте машину в условиях, когда имеются сомнения относительно сцепления с грунтом, управляемости или устойчивости машины. Помните, что при работе на влажной траве, а также при движении поперек поверхности склонов или вниз по склону машина может потерять сцепление колес с поверхностью. Потеря сцепления с поверхностью ведущих колес может привести к соскальзыванию и потере рулевого управления и возможности торможения. Машина может начать скользить, даже если ведущие колеса не вращаются.
Удалите или пометьте препятствия, такие как канавы, ямы, колея, ухабы, камни или другие скрытые опасности. Высокая трава может скрывать различные препятствия. При движении по неровной поверхности машина может перевернуться.
Будьте крайне осторожны при использовании принадлежностей или навесного оборудования. Они могут изменить устойчивость машины и привести к потере управления. Выполните указания по установке противовесов.
Во время работы на склонах старайтесь держать деку опущенной на землю. Подъем деки во время работы на склонах может вызвать потерю устойчивости машины.

Используйте деку газонокосилки как подножку для доступа на рабочее место оператора (Рисунок 16).

Обязательно включайте стояночный тормоз, когда вы останавливаете машину или оставляете ее без присмотра.
Установите машину на ровной поверхности.


Переключатель управления ножами (ВОМ) запускает и останавливает ножи газонокосилки и любое навесное оборудование с приводом.
Note: Включение переключателя управления ножами (ВОМ), когда рычаг дроссельной заслонки находится в положении не выше средней частоты вращения, приведет к чрезмерно высокому износу ремней привода.


Рычаг дроссельной заслонки можно перемещать между положениями Быстро и Медленно (Рисунок 21).
При включении вала отбора мощности всегда используйте положение Быстро.

Note: На теплом или горячем двигателе использование воздушной заслонки не требуется.
Important: Не включайте стартер более чем на 5 секунд за один раз. Включение стартера более чем на 5 секунд может повредить электродвигатель стартера. Если двигатель не запускается, подождите 10 секунд, прежде чем снова включать стартер.

Дети и посторонние лица могут получить травмы при попытках двигать или включать машину, оставленную без присмотра.
Оставляя машину без присмотра, обязательно извлекайте ключ и включайте стояночный тормоз.


Ведущие колеса вращаются независимо, их приводят в действие гидромоторы на каждой полуоси. Вы можете вращать колесо на одной стороне назад, одновременно вращая колесо на другой стороне вперед, при этом машина может вращаться на месте, а не выполнять обычный поворот. Это значительно улучшает маневренность машины, но иногда оператору требуется время, чтобы привыкнуть к такому маневрированию.
Рычаг дроссельной заслонки регулирует частоту вращения двигателя, измеряемую в оборотах в минуту (об/мин). Для наиболее эффективной работы двигателя установите рычаг дроссельной заслонки в положение Быстро. При скашивании дроссельная заслонка всегда должна находиться в положении максимальной частоты вращения двигателя.
Машина может повернуть очень быстро. Вы можете потерять контроль над машиной, что может стать причиной травмы или привести к повреждению машины.
Будьте осторожны при выполнении поворотов.
Снижайте скорость машины перед крутыми поворотами.
Note: Двигатель остановится, если вы переместите рычаг управления движением, когда включен стояночный тормоз.
Чтобы остановить машину, переведите рычаги управления движением в нейтральное положение.
Выключите стояночный тормоз; см. раздел Выключение стояночного тормоза.
Переведите рычаги в среднее, нефиксированное положение.
Для перемещения вперед нажмите на рычаги управления движением вперед (Рисунок 26).

Переведите рычаги в среднее, нефиксированное положение.
Для перемещения назад медленно передвиньте рычаги управления движением назад (Рисунок 27).

У данной газонокосилки имеется отражатель травы на шарнирах, направляющий скошенную траву в сторону и вниз на травяной покров.
Работая на машине без отражателя травы, крышки выброса или подхватчика травы в сборе, вы подвергаете себя и других людей опасности контакта с ножами и выброса в вашу сторону мусора. Контакт с вращающимися ножами газонокосилки или отброшенным мусором может привести к травме или гибели.
Запрещается снимать отражатель травы с деки газонокосилки, так как он направляет скошенную траву в сторону травяного покрова. Если отражатель травы поврежден, немедленно замените его.
Запрещается помещать руки или ноги под деку газонокосилки.
Прежде чем пытаться очистить зону выброса или ножи газонокосилки, установите переключатель управления ножами (РТО) в положение ВЫКЛ, поверните выключатель зажигания в положение ВЫКЛ и извлеките ключ из выключателя зажигания.
Убедитесь, что отражатель травы находится в нижнем положении.
Высоту скашивания можно регулировать в диапазоне от 38 до 140 мм с шагом 6 мм, переставляя шплинтуемый штифт в соответствующие отверстия.
Нажмите педаль подъема деки до упора вперед, чтобы заблокировать деку газонокосилки в транспортном положении (также соответствующем положению высоты скашивания 140 мм), как показано на Рисунок 29.
Для регулировки положения извлеките штифт из кронштейна регулировки высоты скашивания (Рисунок 29).
Выберите отверстие в кронштейне высоты скашивания, соответствующее требуемой высоте скашивания, и вставьте штифт (Рисунок 29).
Нажмите вперед педаль подъема деки, нажмите вперед транспортный фиксатор и медленно опустите деку газонокосилки.

Каждый раз при изменении высоты скашивания регулируйте высоту защитных валиков.
Note: Отрегулируйте защитные валики таким образом, чтобы они не касались земли при работе на нормальных плоских участках скашивания.
Припаркуйте машину на ровной горизонтальной поверхности, переведите переключатель управления ножами в положение ВЫКЛ и включите стояночный тормоз.
Прежде чем покинуть рабочее место оператора, выключите двигатель, извлеките ключ и дождитесь остановки всех движущихся частей машины.
Отрегулируйте защитные валики, как показано на Рисунок 32.

Для наиболее эффективного скашивания и максимальной циркуляции воздуха двигатель должен работать с регулятором дроссельной заслонки в положении Быстро. Для тщательного среза травы необходим воздух, поэтому не устанавливайте высоту скашивания слишком низко, когда дека газонокосилки оказывается полностью окруженной нескошенной травой. Старайтесь, чтобы с одной стороны деки газонокосилки не было нескошенной травы, это позволит газонокосилке засасывать внутрь деки воздух.
При скашивании оставляйте траву чуть длиннее, чем обычно, чтобы газонокосилка не срезала грунт на неровной поверхности. Используемая в предыдущий раз высота скашивания, как правило, является оптимальной. При скашивании травы высотой более 15 см желательно скашивать газон за два прохода, чтобы получить приемлемое качество среза.
Лучше всего срезать только около одной трети высоты травы. Не рекомендуется срезать больше одной трети, кроме случаев, когда трава растет редко, или в конце осени, когда рост травы начинает замедляться.
Изменяйте направление движения при скашивании, чтобы трава осталась стоять прямо. Это также способствует более равномерному разбрасыванию скошенной травы, что ускоряет ее перегнивание и позволяет использовать в качестве удобрения.
Трава растет с разной скоростью в зависимости от времени года. Для поддержания одинаковой высоты скашивания косите чаще ранней весной. В середине лета косите реже, так как рост травы замедляется. Если трава не скашивалась длительное время, то первый проход сделайте с увеличенной высотой скашивания; а затем скосите траву через два дня, установив более низкую высоту скашивания.
Для повышения качества скашивания в определенных условиях необходимо двигаться на пониженной скорости.
При скашивании на неровном травяном покрове увеличьте высоту скашивания во избежание срезания поверхностного слоя почвы.
В случае вынужденной остановки газонокосилки во время движения вперед при скашивании на газоне может образоваться комок скошенной травы. Чтобы этого не произошло, перемещайте машину на ранее скошенный участок с включенными ножами или выключайте деку газонокосилки во время движения вперед.
После каждого использования очищайте нижнюю поверхность деки газонокосилки от скошенной травы и грязи. Если трава и грязь скапливаются внутри деки газонокосилки, качество скашивания со временем станет неудовлетворительным.
Остроту заточки ножей следует проверять в течение всего сезона скашивания, поскольку только остро заточенные ножи обеспечивают ровное срезание травы без разрывов и измельчения. При разрыве и измельчении трава становится коричневой по краям, что замедляет ее рост и увеличивает риск поражения болезнями. После каждого использования газонокосилки проверяйте остроту ножей, а также наличие износа или повреждений. При необходимости удалите зазубрины и заточите ножи. Если нож поврежден или изношен, немедленно замените его оригинальным сменным ножом компании Toro.
Прежде чем покинуть рабочее место оператора, выключите двигатель, извлеките ключ и дождитесь остановки всех движущихся частей машины. Дайте машине остыть перед техническим обслуживанием, регулировкой, заправкой топливом, очисткой или помещением на хранение.
Для предотвращения возгорания очищайте от травы и мусора режущий блок, глушитель, приводы, подхватчик травы и моторный отсек. Удалите следы утечек масла или топлива.
Перекройте подачу топлива и извлеките ключ перед размещением машины на хранение или ее транспортировкой.
Перед транспортировкой, техническим обслуживанием и помещением на хранение закрывайте клапан отключения подачи топлива (Рисунок 33).
При запуске двигателя убедитесь, что клапан отключения подачи топлива открыт.


Руки могут быть затянуты вращающимися компонентами под деку двигателя, что может привести к серьезной травме.
Выключите двигатель, извлеките ключ и дождитесь остановки всех движущихся частей, прежде чем прикасаться к клапанам отключения ведущих колес.
Двигатель и компоненты гидравлического привода могут быть очень горячими. Прикосновение к горячему двигателю или компонентам гидравлического привода может вызвать серьезные ожоги.
Дайте двигателю и компонентам гидравлического привода полностью остыть, прежде чем прикасаться к клапанам отключения ведущих колес.
Клапаны отключения ведущих колес расположены на левой и правой сторонах под декой двигателя.
Припаркуйте машину на ровной горизонтальной поверхности, переведите переключатель управления ножами в положение ВЫКЛ и включите стояночный тормоз.
Прежде чем покинуть рабочее место оператора, выключите двигатель, извлеките ключ и дождитесь остановки всех движущихся частей машины.
Чтобы перемещать машину толканием, переведите оба рычага перепуска вперед и зафиксируйте их на месте (Рисунок 34).
Прежде чем толкать машину, отключите стояночный тормоз.
Чтобы работать на машине, переведите рычаги перепуска назад и зафиксируйте их на месте (Рисунок 34).

Для перевозки машины используйте прицеп усиленной конструкции или грузовик. Используйте полноразмерный наклонный въезд. Убедитесь, что прицеп или грузовик оснащен тормозами, осветительными приборами и маркировкой в соответствии с требованием законодательства. Внимательно изучите все инструкции по технике безопасности. Знание этой информации поможет вам и находящимся рядом людям избежать травм. Изучите местные нормативные документы по прицепам и сцепным устройствам.
Передвижение по улицам или дорогам без сигналов поворота, световых приборов, отражателей или знака «тихоходное транспортное средство» опасно и может привести к авариям и травмам.
Проезд машины по улицам и дорогам общего пользования запрещен.
При погрузке машины на прицеп или грузовик повышается вероятность опрокидывания, что может привести к получению тяжелой травмы или гибели (Рисунок 35).
Используйте только один полноразмерный наклонный въезд; не используйте отдельные въезды с каждой стороны машины.
Угол между наклонным въездом и землей или между наклонным въездом и прицепом или грузовиком не должен превышать 15 градусов.
Убедитесь, что длина наклонного въезда по крайней мере в 4 раза превышает высоту платформы кузова прицепа или грузового автомобиля над землей. При этом угол наклонного въезда не превысит 15 градусов на ровной поверхности.

При погрузке машины на прицеп или грузовик повышается вероятность опрокидывания, что может привести к тяжелой травме или гибели.
Будьте предельно внимательны при управлении машиной на наклонном въезде.
Перемещайте машину задним ходом при движении вверх по наклонному въезду и передним ходом при движении вниз по наклонному въезду.
При движении машины по наклонному въезду не допускайте резкого ускорения или замедления машины во избежание потери управления или опрокидывания.
Если используется прицеп, подсоедините буксирный автомобиль и предохранительные цепи.
Подсоедините тормоза и световые приборы прицепа (если предусмотрены).
Опустите наклонный въезд, убедившись, что угол между наклонным въездом и поверхностью земли не превышает 15 градусов (Рисунок 35).
Перемещайте машину задним ходом при движении вверх по наклонному въезду (Рисунок 36).

Выключите двигатель, извлеките ключ и включите стояночный тормоз.
С помощью строп, цепей, тросов или канатов закрепите машину в точках, расположенных рядом с передними поворотными колесами и на задней части рамы (Рисунок 37). Изучите местные нормативные документы по требованиям к креплению оборудования.

Если вы оставите ключ в замке зажигания, кто-нибудь может случайно запустить двигатель и нанести серьезные травмы вам или окружающим. Перед выполнением любого технического обслуживания извлеките ключ из замка.
Прежде чем покинуть рабочее место оператора, выполните следующие действия:
Установите машину на ровной поверхности.
Отключите приводы.
Включите стояночный тормоз.
Выключите двигатель и извлеките ключ из замка зажигания.
Прежде чем выполнять техническое обслуживание, дайте компонентам машины остыть.
Не допускайте к обслуживанию машины неподготовленный персонал.
Следите, чтобы руки и ноги были на безопасном расстоянии от движущихся частей или горячих поверхностей. По возможности не выполняйте регулировки при работающем двигателе.
Осторожно сбрасывайте давление из компонентов с накопленной энергией.
Регулярно проверяйте работу стояночного тормоза. При необходимости регулируйте и обслуживайте его.
Запрещается изменять конструкцию защитных устройств. Регулярно проверяйте правильность работы таких устройств.
Для предотвращения возгорания очищайте от травы и мусора режущий блок, глушитель, приводы, подхватчик травы и моторный отсек.
Очищайте машину от следов масла и топлива, а также мусора, пропитанного топливом.
Не полагайтесь на гидравлические или механические домкраты в качестве опоры для машины; каждый раз при подъеме машины устанавливайте ее на подъемные опоры.
Все части машины должны быть исправными, и все крепежные детали должны быть затянуты, особенно детали крепления ножей. Заменяйте изношенные или поврежденные наклейки.
Прежде чем приступать к ремонту машины, отсоедините аккумулятор. Сначала отсоедините отрицательную клемму, затем положительную. При повторном подключении аккумулятора сначала подсоедините положительную, затем отрицательную клемму.
Для гарантии оптимальных рабочих характеристик машины используйте только оригинальные запасные части и принадлежности компании Toro. Использование запасных частей и приспособлений, изготовленных другими производителями, может быть опасным и привести к аннулированию гарантии на изделие.
| Периодичность технического обслуживания | Порядок технического обслуживания |
|---|---|
| Через первые 100 часа |
|
| Перед каждым использованием или ежедневно |
|
| После каждого использования |
|
| Через каждые 50 часов |
|
| Через каждые 100 часов |
|
| Через каждые 200 часов |
|
| Через каждые 250 часов |
|
| Через каждые 400 часов |
|
| Через каждые 400 часов или ежегодно (в зависимости от того, что наступит раньше) |
|
| Через каждые 500 часов |
|
| Ежемесячно |
|
| Ежегодно |
|
| Ежегодно, или до помещения на хранение |
|
Important: См. руководство владельца двигателя для получения информации о дополнительном техническом обслуживании.
Если вы оставите ключ в замке зажигания, кто-нибудь может случайно запустить двигатель и нанести серьезные травмы вам или окружающим.
Перед любым техническим обслуживанием выключите двигатель и извлеките ключ из замка зажигания.
Извлеките шплинт, чтобы освободить экран деки газонокосилки и получить доступ к верхней части деки. После выполнения техобслуживания установите экран и зафиксируйте его ранее снятым шплинтом.
Ослабьте два передних болта и снимите ограждение из листового металла, чтобы получить доступ к ремням и шпинделям газонокосилки (Рисунок 38). После выполнения техобслуживания установите ограждение из листового металла и затяните болты.

Смазывайте машину чаще в условиях сильного загрязнения или запыления.
Тип консистентной смазки: консистентная смазка № 2 на литиевой или молибденовой основе
Припаркуйте машину на ровной горизонтальной поверхности, переведите переключатель управления ножами в положение ВЫКЛ и включите стояночный тормоз.
Прежде чем покинуть рабочее место оператора, выключите двигатель, извлеките ключ и дождитесь остановки всех движущихся частей машины.
Очистите масленки с помощью ветоши.
Note: Полностью удалите остатки краски с передней части масленки (масленок).
Присоедините к масленке смазочный шприц.
Нагнетайте смазку в пресс-масленки до тех пор, пока смазка не начнет выходить из подшипников.
Удалите излишки смазки.
| Периодичность технического обслуживания | Порядок технического обслуживания |
|---|---|
| Через каждые 100 часов |
|
Используйте жидкое масло или смазку из распылителя для смазывания осей подъемного шарнира деки.

| Периодичность технического обслуживания | Порядок технического обслуживания |
|---|---|
| Через каждые 400 часов |
|
| Ежегодно |
|
Припаркуйте машину на ровной горизонтальной поверхности, переведите переключатель управления ножами в положение ВЫКЛ и включите стояночный тормоз.
Прежде чем покинуть рабочее место оператора, выключите двигатель, извлеките ключ и дождитесь остановки всех движущихся частей машины.
Снимите пылезащитную крышку и отрегулируйте оси поворота поворотных колес; пылезащитная крышка должна быть снята до окончания смазывания; см. раздел Смазка машины.
Удалите шестигранную заглушку.
Заверните масленку в это отверстие.
Нагнетайте смазку в масленку до тех пор, пока смазка не начнет выходить вокруг верхнего подшипника.
Выверните масленку из отверстия. Установите шестигранную заглушку и пылезащитную крышку.
| Периодичность технического обслуживания | Порядок технического обслуживания |
|---|---|
| Ежегодно |
|
Припаркуйте машину на ровной горизонтальной поверхности, переведите переключатель управления ножами в положение ВЫКЛ и включите стояночный тормоз.
Прежде чем покинуть рабочее место оператора, выключите двигатель, извлеките ключ и дождитесь остановки всех движущихся частей машины.
Поднимите газонокосилку для доступа к ее нижней стороне.
Снимите поворотное колесо с вилки поворотного колеса.
Снимите ограждения уплотнений со ступицы колеса.

Снимите распорную гайку с оси в сборе в поворотном колесе.
Note: Для фиксации соединения распорных гаек с осью на резьбовую поверхность был нанесен резьбовой герметик.
Извлеките ось (при этом другая распорная гайка останется подсоединенной к оси) из колеса в сборе.
Извлеките уплотнения, действуя подходящим инструментом как рычагом, проверьте подшипники на наличие износа или повреждений и при необходимости замените их.
Заполните подшипники консистентной смазкой общего назначения.
Вставьте 1 подшипник и 1 новое уплотнение в колесо.
Если обе распорные гайки были сняты с оси, нанесите резьбовой герметик на одну распорную гайку, наверните гайку на ось так, чтобы лыски под ключ были направлены наружу.
Note: Не наворачивайте распорную гайку до упора на конец оси. Оставьте расстояние приблизительно 3 мм от наружной поверхности распорной гайки до конца оси, на которую навернута гайка.
Вставьте гайку в сборе с осью в колесо на стороне с новым уплотнением и подшипником.
Установив колесо открытой стороной вверх, полностью заполните область вокруг оси внутри колеса консистентной смазкой общего назначения.
Вставьте второй подшипник и новое уплотнение в колесо.
Нанесите резьбовой герметик на вторую распорную гайку и наверните ее на мост так, чтобы лыски под ключ были направлены наружу.
Затяните гайку с моментом от 8 до 9 Н•м, ослабьте ее, затем затяните с моментом от 2 до 3 Н•м.
Note: Убедитесь, что ось не выступает за пределы обеих гаек.
Установите ограждения уплотнений поверх ступицы колеса и вставьте колесо в вилку поворотного колеса.
Вставьте болт поворотного колеса и полностью затяните гайку.
Important: Для предотвращения повреждения уплотнения и подшипника часто проверяйте регулировку подшипника. Попробуйте провернуть поворотное колесо. Колесо не должно вращаться свободно (делать более 1 или 2 оборотов) и не должно иметь боковой люфт. Если колесо вращается свободно, отрегулируйте момент затяжки распорной гайки так, чтобы было небольшое сопротивление вращению. Нанесите еще один слой резьбового герметика.
Следите, чтобы руки, ноги и другие части тела, а также одежда находились на безопасном расстоянии от глушителя и других горячих поверхностей. Прежде чем выполнять техническое обслуживание, дайте компонентам двигателя остыть.
Не изменяйте настройку регулятора оборотов двигателя и не превышайте его допустимую частоту вращения.
| Периодичность технического обслуживания | Порядок технического обслуживания |
|---|---|
| Через каждые 250 часов |
|
| Через каждые 500 часов |
|
Note: Чаще обслуживайте воздухоочиститель, если приходится работать в условиях особой запыленности или в песке.
Припаркуйте машину на ровной горизонтальной поверхности, переведите переключатель управления ножами (ВОМ) в положение ВЫКЛ и включите стояночный тормоз.
Прежде чем покинуть рабочее место оператора, выключите двигатель, извлеките ключ и дождитесь остановки всех движущихся частей машины.
Освободите защелки воздухоочистителя и отделите крышку от корпуса воздухоочистителя (Рисунок 41).

Очистите внутреннюю поверхность крышки воздухоочистителя сжатым воздухом.
Осторожно извлеките фильтр грубой очистки из корпуса воздухоочистителя (Рисунок 41).
Note: Старайтесь не ударять фильтр о боковую поверхность корпуса.
Снимайте контрольный фильтр только для его замены.
Проверьте контрольный фильтр. Если он грязный, замените как контрольный фильтр, так и фильтр грубой очистки.
Important: Не пытайтесь очистить контрольный фильтр. Если контрольный фильтр грязный, значит, фильтр грубой очистки поврежден.
Осмотрите фильтр грубой очистки на наличие повреждений; для этого следует заглянуть внутрь фильтра, осветив его снаружи яркой лампой. Если фильтр грубой очистки загрязнен, погнут или поврежден, замените его.
Note: Отверстия в фильтре будут выглядеть как яркие точки. Не очищайте фильтр грубой очистки.
Important: Чтобы предотвратить повреждение двигателя, запускайте его только при наличии обоих воздушных фильтров и крышки.
При установке новых фильтров проверьте каждый фильтр, не был ли он поврежден при транспортировке.
Note: Не используйте поврежденный фильтр.
При замене внутреннего фильтра осторожно вставьте его в корпус фильтра (Рисунок 41).
Осторожно вставьте фильтр грубой очистки поверх контрольного фильтра (Рисунок 41).
Note: Проследите, чтобы фильтр грубой полностью встал на место, надавливая на внешний обод фильтра во время его установки.
Important: Не надавливайте на мягкую внутреннюю область фильтра.
Установите крышку воздухоочистителя и закрепите ее защелками (Рисунок 41).
| Периодичность технического обслуживания | Порядок технического обслуживания |
|---|---|
| Перед каждым использованием или ежедневно |
|
| Через каждые 100 часов |
|
| Через каждые 200 часов |
|
Тип масла: Масло с моющими свойствами (эксплуатационный класс SF, SG, SH, SJ или SL по API)
Вместимость картера двигателя:
Двигатели Kawasaki FX691 – 2,0 л с заменой фильтра; 1,8 л без замены фильтра
Двигатели Kawasaki FX801 – 2,3 л с заменой фильтра; 2,1 л без замены фильтра
Вязкость: См. таблицу ниже.

Note: Хотя для большинства условий рекомендуется использовать моторное масло 10W-40, может потребоваться изменение вязкости масла в зависимости от атмосферных условий. При использовании моторного масла 20W-50 в условиях повышенной температуры окружающей среды расход масла может снизиться.
Note: Проверяйте масло на холодном двигателе.
Important: Если вы переполните или недостаточно заполните картер двигателя маслом и запустите двигатель, это может привести к его повреждению.
Припаркуйте машину на ровной горизонтальной поверхности, переведите переключатель управления ножами (ВОМ) в положение ВЫКЛ и включите стояночный тормоз.
Прежде чем покинуть рабочее место оператора, выключите двигатель, извлеките ключ и дождитесь остановки всех движущихся частей машины.
Note: Убедитесь, что двигатель остыл и прошло достаточно времени, чтобы масло стекло в поддон.
Чтобы не допустить попадание грязи, скошенной травы и т.п. в двигатель, очистите поверхность вокруг крышки маслозаливной горловины и масломерного щупа, прежде чем снимать их (Рисунок 43).


Note: Утилизируйте использованное масло в центре вторичной переработки отходов.
Запустите двигатель и дайте ему поработать в течение пяти минут.
Note: При этом масло нагреется и его будет легче слить.
Припаркуйте машину так, чтобы сторона, предназначенная для слива масла, была чуть ниже противоположной стороны, что обеспечит полный слив масла.
Выключите механизм управления ножами (ВОМ) и включите стояночный тормоз.
Прежде чем покинуть рабочее место оператора, выключите двигатель, извлеките ключ и дождитесь остановки всех движущихся частей машины.
Слейте масло из двигателя (Рисунок 44).


Медленно залейте приблизительно 80% масла указанного типа через заливную горловину и затем медленно добавляйте масло, чтобы довести его уровень до отметки «Полный» (Рисунок 45).

Запустите двигатель и передвиньте машину на ровную поверхность.
Снова проверьте уровень масла.
Слейте масло из двигателя, см. Замена масла в двигателе.
Замените масляный фильтр двигателя (Рисунок 46).


Note: Убедитесь, что уплотняющая прокладка масляного фильтра коснулась двигателя, затем доверните еще на 3/4 оборота для полной установки фильтра.
Залейте в картер свежее масло соответствующего типа; см. раздел Характеристики моторного масла.
| Периодичность технического обслуживания | Порядок технического обслуживания |
|---|---|
| Через каждые 100 часов |
|
Перед установкой свечи зажигания убедитесь, что зазор между центральным и боковым электродами свечи правильный. Для извлечения и установки свечи зажигания используйте свечной ключ, а для проверки и регулировки зазора — калибр. При необходимости установите новую свечу зажигания.
Тип свечи зажигания:
двигатели Kawasaki FX691 и FX801 – NGK® BPR4ES или эквивалентная
Воздушный зазор: 0,75 мм
Припаркуйте машину на ровной горизонтальной поверхности, переведите переключатель управления ножами (ВОМ) в положение ВЫКЛ и включите стояночный тормоз.
Прежде чем покинуть рабочее место оператора, выключите двигатель, извлеките ключ и дождитесь остановки всех движущихся частей машины.
Очистите зону вокруг основания свечи, чтобы не допустить попадания грязи и мусора в двигатель.
Найдите и снимите свечу (свечи) зажигания, как показано на Рисунок 47.


Important: Не очищайте свечи зажигания. При обнаружении черного налета, изношенных электродов, маслянистой пленки или трещин, обязательно замените свечу (свечи) зажигания.
Если на изоляторе заметен светло-коричневый или серый налет, то двигатель работает должным образом. Черный налет на изоляторе обычно означает, что загрязнен воздухоочиститель.
Выставьте на свече зазор в 0,75 мм.


При определенных условиях топливо является чрезвычайно огнеопасным и взрывоопасным веществом. Возгорание или взрыв топлива могут вызвать ожоги у людей и повреждение имущества.
Полное описание мер предосторожности, связанных с топливом, см. в разделе Правила техники безопасности при обращении с топливом.
| Периодичность технического обслуживания | Порядок технического обслуживания |
|---|---|
| Через каждые 500 часов |
|
Important: Установите шланги топливной линии и закрепите их пластмассовыми стяжками так же, как они были закреплены первоначально на заводе-изготовителе, чтобы не допустить соприкосновения топливной линии с компонентами и ее повреждения.
Запрещается устанавливать загрязненный фильтр, снятый с топливного трубопровода.
Топливный фильтр расположен рядом с двигателем в левой передней части двигателя.
Припаркуйте машину на ровной горизонтальной поверхности, переведите переключатель управления ножами (ВОМ) в положение ВЫКЛ и включите стояночный тормоз.
Прежде чем покинуть рабочее место оператора, выключите двигатель, извлеките ключ и дождитесь остановки всех движущихся частей машины.
Дайте машине остыть.
Замените топливный фильтр (Рисунок 50).
Note: Установите новый фильтр так, чтобы стрелка направления потока указывала в сторону двигателя.

Не пытайтесь слить топливо из топливного бака. Обращайтесь в сервисный центр официального дилера для слива топлива из топливного бака и технического обслуживания любых компонентов топливной системы.
Прежде чем приступать к ремонту машины, отсоедините аккумулятор. Сначала отсоедините отрицательную клемму, затем положительную. При повторном подключении аккумулятора сначала подсоедините положительную, затем отрицательную клемму.
Заряжайте аккумулятор в открытом, хорошо проветриваемом месте, вдали от искр и открытого огня. Отсоединяйте зарядное устройство перед подсоединением или отсоединением аккумулятора. Используйте защитную одежду и электроизолированный инструмент.
| Периодичность технического обслуживания | Порядок технического обслуживания |
|---|---|
| Ежемесячно |
|
Клеммы аккумулятора или металлические инструменты могут закоротить на металлические компоненты машины, вызвав искрение. Искры могут вызвать взрыв аккумуляторных газов, что приведет к получению травмы.
При демонтаже или установке аккумулятора не допускайте прикосновения его клемм к металлическим частям машины.
Не допускайте короткого замыкания клемм аккумулятора металлическими инструментами на металлические части машины.
Неправильное отсоединение кабелей от аккумулятора может повредить машину и кабели, вызвав искрение. Искры могут вызвать взрыв аккумуляторных газов, что приведет к получению травмы.
Всегда отсоединяйте отрицательный (черный) кабель аккумулятора перед отсоединением положительного (красного) кабеля.
Всегда присоединяйте положительный (красный) кабель аккумулятора перед присоединением отрицательного (черного) кабеля.
Припаркуйте машину на ровной горизонтальной поверхности, переведите переключатель управления ножами (РТО) в положение ВЫКЛ и включите стояночный тормоз.
Прежде чем покинуть рабочее место оператора, выключите двигатель, извлеките ключ и дождитесь остановки всех движущихся частей машины.
Снимите аккумулятор, как показано на Рисунок 51.


При зарядке аккумулятора выделяются взрывоопасные газы.
Запрещается курить около аккумуляторной батареи; не допускайте появления искр или пламени поблизости от нее.
Important: Аккумулятор всегда должен быть полностью заряжен (плотность электролита 1,265). Это особенно важно для предотвращения повреждения аккумулятора, когда температура опускается ниже 0°C (32°F).
Извлеките аккумулятор из шасси; см. Снятие аккумулятора.
Заряжайте аккумулятор в течение 10–15 минут током 25–30 А или 30 минут током 10 А.
Note: Не допускайте избыточного заряда аккумулятора.
После полной зарядки аккумулятора отсоедините зарядное устройство от электророзетки, а затем отсоедините провода зарядного устройства от штырей аккумулятора (Рисунок 52).
Установите аккумулятор в машину и подсоедините кабели аккумулятора; см. Установка аккумуляторной батареи.
Note: Во избежание повреждения электрической системы не запускайте машину с отсоединенной аккумуляторной батареей.

Установите аккумулятор в лоток так, чтобы клеммные штыри были расположены на противоположной стороне относительно гидравлического бака (Рисунок 51).
Подсоедините положительный (красный) кабель к положительной (+) клемме аккумулятора.
Подсоедините отрицательный (черный) кабель и провод заземления к отрицательной (-) клемме аккумулятора.
Note: На машинах с системой подвески MyRide проверьте, чтобы кабель заземления не мог тереться о продольный рычаг подвески или нижнее крепление амортизатора (Рисунок 54).

Закрепите кабели 2 болтами, 2 шайбами и 2 контргайками (Рисунок 51).
Наденьте красный изоляционный колпачок на положительную (+) клемму аккумулятора.
Закрепите аккумулятор с помощью резиновой ленты (Рисунок 51).
Электрическая система защищена с помощью плавких предохранителей. Она не требует технического обслуживания, однако в случае перегорания предохранителей проверьте соответствующий компонент и цепь на наличие неисправности или короткого замыкания.
Предохранители расположены на правой консоли рядом с сиденьем (Рисунок 54).
Чтобы заменить предохранитель, вытяните его из разъема.
Установите новый предохранитель (Рисунок 54).

| Периодичность технического обслуживания | Порядок технического обслуживания |
|---|---|
| Перед каждым использованием или ежедневно |
|
Проверьте ремень безопасности на отсутствие износа и порезов, а также правильность работы устройства выдвижения и пряжки. Замените ремень безопасности в случае его повреждения.
Установите переключатель управления ножами (ВОМ) в положение ВЫКЛ.
Выведите машину на открытую ровную местность и переведите рычаги управления движением в нейтральное фиксированное положение.
Передвиньте рычаг дроссельной заслонки в среднее положение между положениями Быстро и Медленно.
Переведите оба рычаг управления движением вперед до контакта с упорами в Т-образном пазу.
Проверьте, в какую сторону уводит машину при движении.
Если машину уводит вправо, вставьте шестигранный ключ на 3/16 дюйма в отверстие доступа в левой передней плоской панели и поверните винт регулировки прямолинейности движения по часовой стрелке или против часовой стрелки для регулировки хода рычага (Рисунок 55).
Если машину уводит влево, вставьте шестигранный ключ на 3/16 дюйма в отверстие доступа в правой передней плоской панели и поверните винт регулировки прямолинейности движения по часовой стрелке или против часовой стрелки для регулировки хода рычага (Рисунок 55).
Выполните пробную поездку на машине, проверив прямолинейность ее движения вперед на максимальной скорости.
Повторяйте эту регулировку, пока не будет достигнута необходимая прямолинейность движения.

| Периодичность технического обслуживания | Порядок технического обслуживания |
|---|---|
| Через каждые 50 часов |
|
Поддерживайте давление в поворотных колесах и задних шинах на уровне 0,9 бар. Неодинаковое давление в шинах приведет к неравномерному скашиванию. Для получения наиболее точных показаний проверяйте шины в холодном состоянии.

Проверьте моменты затяжки и затяните зажимные гайки колес с моментом 122–136 Н∙м.
| Периодичность технического обслуживания | Порядок технического обслуживания |
|---|---|
| Через первые 100 часа |
|
| Через каждые 500 часов |
|
Note: Убедитесь, что стояночный тормоз отрегулирован правильно. Эту процедуру необходимо выполнить после первых 100 часов работы или при снятии/замене компонента тормоза.
Установите машину на ровной поверхности.
Установите переключатель управления ножами (механизма отбора мощности (PTO)) в положение Выкл, переведите рычаги управления движением в Нейтральное фиксированное положение и включите стояночный тормоз.
Перед тем как покинуть рабочее место, выключите машину, извлеките ключ и дождитесь остановки всех движущихся частей.
Настройте машину для толкания руками. См. раздел Использование клапанов отключения ведущих колес.
Поднимите заднюю часть машины и установите ее на подъемные опоры.
Удержание поднятой машины для техобслуживания или ремонта с использованием исключительно механических или гидравлических домкратов может быть опасным, так как домкраты могут оказаться недостаточно прочными или выйти из строя, что может привести к падению машины и серьезной травме.
Не рассчитывайте исключительно на механические или гидравлические домкраты для опоры машины. Используйте подходящие подъемные или эквивалентные опоры.
Включите и выключите стояночный тормоз и проверьте каждое ведущее колесо, чтобы убедиться в том, что тормоз на каждом колесе включается и выключается.
Если необходима регулировка, выключите стояночный тормоз. Проверьте все компоненты тяги стояночного тормоза на наличие износа. Замените все изношенные компоненты (Рисунок 57) и повторите пункт 6.

Проверьте длину обеих пружин, как показано на Рисунок 58. Если необходима регулировка, поверните гайку крепления пружины по часовой стрелке для уменьшения длины пружины и против часовой стрелки для ее увеличения. Повторите пункт 6.

После завершения регулировки удалите подъемные или эквивалентные опоры и опустите машину.
Переведите машину в OPERATING (Рабочее) положение. См. раздел Использование клапанов отключения ведущих колес.
| Периодичность технического обслуживания | Порядок технического обслуживания |
|---|---|
| Через каждые 50 часов |
|
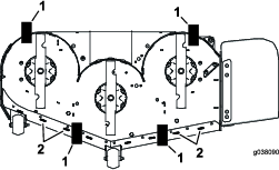
Замените ремень в случае его износа. Признаки износа ремня: визг при вращении ремня, проскальзывание ножей во время скашивания травы, бахрома по краям, следы подгорания и трещины на ремне.
Припаркуйте машину на ровной горизонтальной поверхности, переведите переключатель управления ножами (ВОМ) в положение ВЫКЛ и включите стояночный тормоз.
Прежде чем покинуть рабочее место оператора, выключите двигатель, извлеките ключ и дождитесь остановки всех движущихся частей машины.
Опустите газонокосилку в положение высоты скашивания 76 мм.
Ослабьте затяжку болта на каждой крышке ремня.
Освободите экран деки газонокосилки, сняв шплинт; см. раздел Освобождение экрана деки газонокосилки.
Снимите ограждение из листового металла; см. раздел Снятие ограждения из листового металла.
Снимите крышки ремней (Рисунок 59).

Вставьте ключ с храповым механизмом на ⅜ дюйма в квадратное отверстие в рычаге натяжного ролика, чтобы снять натяжение с пружины натяжного ролика (Рисунок 60).
Снимите ремень со шкивов деки газонокосилки и шкива муфты.
Снимите направляющую ремня с подпружиненного рычага натяжного ролика (Рисунок 60).
Снимите имеющийся ремень.
Проложите новый ремень вокруг шкивов газонокосилки и шкива муфты под двигателем (Рисунок 60).

Установите направляющую ремня на рычаг натяжного ролика (Рисунок 60).
Вставив ключ на ⅜ дюйма с храповым механизмом в квадратное отверстие, установите пружину натяжного ролика (Рисунок 60).
Note: Убедитесь, что концы пружины установлены в канавки пружинодержателей.
Установите крышки ремней (Рисунок 61).

Припаркуйте машину на ровной горизонтальной поверхности, переведите переключатель управления ножами (ВОМ) в положение ВЫКЛ и включите стояночный тормоз.
Прежде чем покинуть рабочее место оператора, выключите двигатель, извлеките ключ и дождитесь остановки всех движущихся частей машины.
Снимите ремень газонокосилки; см. раздел Замена ремня газонокосилки.
Поднимите машину и установите ее на подъемные опоры.
Вставьте ключ с храповым механизмом на ½ дюйма или монтировку в одно из квадратных отверстий рычага натяжного ролика, чтобы снять натяжение с пружины натяжного ролика (Рисунок 62).
Снимите имеющийся ремень с натяжного ролика, 2 шкивов привода гидравлических насосов и шкива двигателя (Рисунок 62).
Проложите новый ремень вокруг натяжного ролика, шкива двигателя и 2 шкивов гидравлических насосов (Рисунок 62).
Вставив ключ на ½ дюйма с храповым механизмом или монтировку в одно из квадратных отверстий, установите пружину натяжного ролика.
Note: Убедитесь, что концы пружины установлены в канавки пружинодержателей.
Установите ремень газонокосилки; см. раздел Замена ремня газонокосилки.

Если концы рычагов управления ударяются друг о друга, см. раздел Регулировка рычажного механизма управления движением.
Для максимального удобства оператора рычаги управления движением можно устанавливать выше или ниже.
Припаркуйте машину на ровной горизонтальной поверхности, переведите переключатель управления ножами (ВОМ) в положение ВЫКЛ и включите стояночный тормоз.
Прежде чем покинуть рабочее место оператора, выключите двигатель, извлеките ключ и дождитесь остановки всех движущихся частей машины.
Снимите детали крепления рычага управления к стержню рычага управления.

Переставьте рычаг управления в следующий набор отверстий. Зафиксируйте рычаг крепежными деталями.
Повторите эту регулировку для противоположного рычага управления.
Припаркуйте машину на ровной горизонтальной поверхности, переведите переключатель управления ножами (ВОМ) в положение ВЫКЛ и включите стояночный тормоз.
Прежде чем покинуть рабочее место оператора, выключите двигатель, извлеките ключ и дождитесь остановки всех движущихся частей машины.
Ослабьте верхний болт, который крепит рычаг управления к стержню рычага управления.
Ослабьте нижний болт настолько, чтобы можно было наклонить рычаг управления вперед или назад. Затяните оба болта, чтобы закрепить рычаг управления в новом положении.
Повторите эту регулировку для противоположного рычага управления.

Рычажные механизмы управления насосами расположены с обеих сторон машины под сиденьем. Поворот концевой гайки торцевым ключом с головкой глубиной ½ дюйма позволяет выполнить тонкую регулировку, чтобы машина не перемещалась в нейтральном положении. Любые регулировки допускается выполнять только для нейтрального положения.
При выполнении этих регулировок двигатель должен работать и ведущие колеса должны вращаться. Контакт с движущимися частями или горячими поверхностями может привести к травме.
Следите, чтобы пальцы, руки и одежда не оказались вблизи вращающихся компонентов и горячих поверхностей.
Припаркуйте машину на ровной горизонтальной поверхности, переведите переключатель управления ножами (ВОМ) в положение ВЫКЛ и включите стояночный тормоз.
Прежде чем покинуть рабочее место оператора, выключите двигатель, извлеките ключ и дождитесь остановки всех движущихся частей машины.
Нажмите педаль подъема деки, снимите штифт регулировки высоты скашивания и опустите деку газонокосилки на землю.
Поднимите заднюю часть машины и установите ее на подъемные опоры (или эквивалентные опорные устройства) на такую высоту, чтобы ведущие колеса могли свободно вращаться.
Отсоедините электрический разъем от предохранительного переключателя сиденья, расположенного под нижней подушкой сиденья.
Note: Этот переключатель является частью сиденья в сборе.
Временно установите проволочную перемычку на клеммы разъема главного жгута проводов.
Запустите двигатель, переведите его в режим максимальных оборотов и выключите стояночный тормоз.
Note: Прежде чем запускать двигатель, убедитесь, что включен стояночный тормоз и рычаги управления движением находятся в наружных положениях. Не садитесь на сиденье.
Дайте машине поработать в течение не менее 5 минут, установив рычаги управления движением в положение «полный вперед», чтобы довести жидкость в гидравлической системе до рабочей температуры.
Note: Рычаги управления движением должны быть в нейтральном положении при выполнении любых регулировок.
Переведите рычаги управления движением в нейтральное положение.
Проверьте и обеспечьте, чтобы выступы пластины управления касались пластин возврата в нейтральное положение на гидравлических блоках.
Отрегулируйте длины штоков управления насосами, повернув гайку в соответствующем направлении так, чтобы колеса медленно вращались в обратном направлении (Рисунок 65 и Рисунок 66).


Переведите рычаги управления движением в положение задний ход и, прилагая небольшое усилие к рычагу, дайте пружинам индикатора заднего хода возвратить рычаги обратно в нейтральное положение.
Note: Колеса должны остановиться или медленно поворачиваться в обратном направлении.
Note: Для облегчения доступа может потребоваться снятие крышки системы управления движением.
Выключите двигатель машины.
Снимите проволочную перемычку с разъема жгута проводов и вставьте разъем в переключатель сиденья.
Удалите подъемные опоры.
Поднимите деку газонокосилки и установите штифт регулировки высоты скашивания.
Проверьте и обеспечьте, чтобы машина самопроизвольно не перемещалась в нейтральном положении при выключенном стояночном тормозе.
При попадании жидкости под кожу немедленно обратитесь к врачу. Если жидкость оказалась впрыснута под кожу, необходимо, чтобы врач удалил ее хирургическим путем в течение нескольких часов.
Перед подачей давления в гидравлическую систему убедитесь, что все гидравлические шланги и трубопроводы исправны, а все гидравлические соединения и штуцеры герметичны.
Не приближайтесь к местам точечных утечек или штуцерам, из которых под высоким давлением выбрасывается гидравлическая жидкость.
Для обнаружения гидравлических утечек используйте картон или бумагу.
Перед выполнением любых работ на гидравлической системе полностью сбросьте давление в гидравлической системе безопасным способом.
Тип гидравлической жидкости: гидравлическая жидкость Toro® HYPR-OIL™ 500
Important: Используйте жидкость указанного типа. Не утвержденные к применению жидкости могут привести к повреждению гидравлической системы.
Вместимость гидравлической системы (со снятыми фильтрами): 7,57 л
| Периодичность технического обслуживания | Порядок технического обслуживания |
|---|---|
| Перед каждым использованием или ежедневно |
|
Дайте гидравлической жидкости остыть. Проверяйте уровень жидкости, когда она холодная.
Проверьте уровень по расширительному бачку и при необходимости долейте гидравлическую жидкость Toro® HYPR-OIL™ 500 до линии FULL COLD (ПОЛНЫЙ В ХОЛОДНОМ СОСТОЯНИИ) (Рисунок 67).

| Периодичность технического обслуживания | Порядок технического обслуживания |
|---|---|
| Через первые 100 часа |
|
Чтобы заменить гидравлическую жидкость, необходимо снять фильтры. Замените жидкость и фильтры одновременно; см. характеристики жидкости в разделе Характеристики гидравлической жидкости.
Выпустите воздух из системы после установки новых фильтров и долива жидкости. См. Удаление воздуха из гидравлической системы. Повторяйте процесс стравливания воздуха до тех пор, пока жидкость после стравливания не установится на линии FULL COLD (Полный в холодном состоянии) на бачке.
Important: Неправильное выполнение данной процедуры может привести к неустранимому повреждению коробки передач.
Припаркуйте машину на ровной горизонтальной поверхности, переведите переключатель управления ножами (ВОМ) в положение ВЫКЛ и включите стояночный тормоз.
Прежде чем покинуть рабочее место оператора, выключите двигатель, извлеките ключ и дождитесь остановки всех движущихся частей машины.
Дайте двигателю остыть.
Вставьте удлинитель с головкой на 7/16 дюйма через отверстия в верхней части машины рядом с креплениями защитной дуги и наденьте головку на вентиляционную пробку (Рисунок 68).
Note: Проследите за тем, чтобы не уронить вентиляционную пробку после ее снятия, так как она может легко потеряться.

Тщательно очистите область вокруг фильтра.
Important: Не допускайте попадания грязи в гидравлическую систему.
Поместите сливной поддон под фильтр для сбора сливаемой жидкости, когда фильтр и пробки вентиляционных отверстий будут сняты.
Снимите крышку фильтра гидравлической жидкости с коробки передач, чтобы слить рабочую жидкость (Рисунок 69).

Снимите уплотнительное кольцо с крышки фильтра и удалите кольцо в отходы.
После того как гидравлическая жидкость вытечет из коробки передач, снимите фильтр с корпуса коробки передач.
Повторите эти действия на другой стороне машины.
Установите новый фильтр в коробку передач и новое уплотнительное кольцо в крышку фильтра.
Установите крышку фильтра.
Затяните крышку фильтра с моментом от 22,6 до 33,8 Н∙м.
Снимите крышку расширительного бачка и заполните коробку передач жидкостью указанного типа до достижения надлежащего заправочного объема.
Note: Заправка коробки передач может занять больше ожидаемого времени, чем ожидалось.
Установите ранее снятые вентиляционные пробки и затяните их с моментом от 395 до 904 Н∙см.
Перейдите к разделу Удаление воздуха из гидравлической системы.
Important: Если не выполнить процедуру удаления воздуха из гидравлической системы после замены гидравлических фильтров и жидкости, может произойти неустранимое повреждение трансмиссии.
Поднимите заднюю часть машины и установите ее на подъемные опоры (или эквивалентные опорные устройства) на такую высоту, чтобы ведущие колеса могли свободно вращаться.

Запустите двигатель, переведите рычаг дроссельной заслонки вперед в положение половины максимальной частоты вращения и выключите стояночный тормоз.
Переведите рычаги перепуска в положение для толкания машины. При открытых перепускных клапанах и работающем двигателе медленно переведите рычаги управления движением в положение переднего и заднего хода 5 или 6 раз.
Переведите рычаги перепуска в положение для работы машины.
При закрытых перепускных клапанах и работающем двигателе медленно переведите рычаг управления движением в положение переднего и заднего хода 5 или 6 раз.
Выключите двигатель и проверьте уровень рабочей жидкости в расширительном бачке. Долейте жидкость указанного типа до линии FULL COLD (Полный в холодном состоянии) на расширительном бачке.
Повторяйте действия, описанные в пункте 2, пока воздух не будет полностью удален из системы.
Note: Если уровень шума при работе коробки передач не превышает нормы, и машина перемещается вперед и назад плавно и с нормальной скоростью, значит воздух удален из системы.
Проверьте уровень жидкости в расширительном бачке в последний раз. Долейте жидкость указанного типа до линии FULL COLD (Полный в холодном состоянии) на расширительном бачке.
Периодически проверяйте ножи на наличие износа или повреждений.
При проверке ножей будьте внимательны. При техническом обслуживании ножей оберните их ветошью или наденьте перчатки и будьте внимательны. Допускается только замена или заточка ножей; запрещается выпрямлять или сваривать их.
При использовании газонокосилок с несколькими ножами соблюдайте осторожность, поскольку вращение одного ножа может привести к вращению других ножей.
Заменяйте изношенные или поврежденные ножи и болты комплектами, чтобы не нарушить балансировку.
Чтобы качество скашивания было высоким, поддерживайте ножи в остром состоянии. Для удобства заточки и замены хорошо иметь в наличии дополнительные ножи.
Припаркуйте машину на ровной горизонтальной поверхности, переведите переключатель управления ножами (РТО) в положение ВЫКЛ и включите стояночный тормоз.
Выключите двигатель, извлеките ключ, отсоедините соответствующие провода от свечей зажигания.
| Периодичность технического обслуживания | Порядок технического обслуживания |
|---|---|
| Перед каждым использованием или ежедневно |
|
Осмотрите режущие кромки (Рисунок 71).
Если кромки не острые или имеют зазубрины, снимите нож и заточите его; см. раздел Заточка ножей.
Проверьте ножи, особенно изогнутую часть.
При обнаружении признаков повреждения, износа или образования зазора в этой области немедленно замените нож (Рисунок 71).

Note: Для выполнения следующей процедуры машина должна находиться на горизонтальной поверхности.
Поднимите деку газонокосилки на самую большую высоту скашивания.
Используя толстые перчатки или другие подходящие средства защиты рук, медленно поверните нож в положение, позволяющее измерить расстояние от режущей кромки до уровня горизонтальной поверхности, на которой стоит машина (Рисунок 72).

Измерьте расстояние от конца ножа до плоской поверхности (Рисунок 73).

Поверните тот же нож на 180 градусов, чтобы теперь его противоположная режущая кромка была в том же положении (Рисунок 74).

Измерьте расстояние от конца ножа до плоской поверхности (Рисунок 75).
Note: Разница между значениями измерений должна быть не более 3 мм.

Если разница между A и B превышает 3 мм, замените нож на новый; см. разделы Демонтаж ножей и Установка ножей.
Note: Если погнутый нож заменен на новый, а разница между значениями измерений по-прежнему превышает 3 мм, возможно, погнут шпиндель ножа. Для проведения технического обслуживания обратитесь в сервисный центр официального дилера.
Если разница измерений находится в пределах допустимого отклонения, перейдите к следующему ножу.
Повторите эту процедуру для каждого ножа.
Замените ножи, если произошел удар о твердый предмет, либо если ножи разбалансированы или погнуты.
Установите ключ на плоские стороны вала шпинделя или удерживайте конец ножа через слой ветоши или рукой в перчатке на толстой подкладке.
Снимите болт ножа, втулку и нож с вала шпинделя (Рисунок 76).

Заточите напильником режущую кромку на обоих концах ножа (Рисунок 77).
Note: Сохраняйте исходный угол.
Note: Балансировка ножа не нарушается, если с обеих режущих кромок снимается одинаковое количество материала.

Проверьте балансировку ножа с помощью балансировочного устройства для ножей (Рисунок 78).
Note: Если нож остается в горизонтальном положении, значит он сбалансирован и его можно использовать.
Note: Если нож не сбалансирован, удалите некоторое количество металла только с конца области загиба (Рисунок 77).

Повторяйте эту процедуру до тех пор, пока нож не будет сбалансирован.
Вставьте втулку через отверстие в ноже так, чтобы фланец втулки был на нижней (обращенной к травяному покрову) стороне ножа (Рисунок 79).

Вставьте узел втулки/ножа в вал шпинделя (Рисунок 80).

Для предотвращения заедания ножа наносите по мере необходимости смазочный материал или консистентную смазку на медной основе на резьбовую поверхность болта ножа. Заверните болт ножа вручную.
Установите ключ на плоскую сторону вала шпинделя и затяните болт ножа с моментом от 75 до 81 Н∙м.
Проверяйте горизонтальность деки газонокосилки каждый раз при установке газонокосилки или при неровном скашивании травяного покрытия.
Перед выравниванием проверьте деку газонокосилки на наличие погнутых ножей; снимите и замените любые погнутые ножи; см. раздел Техническое обслуживание ножей, прежде чем продолжить работу.
Сначала выровняйте деку газонокосилки в поперечном направлении; после этого можно будет выровнять ее наклон в продольном направлении.
Требования:
Машина должна быть установлена на ровной горизонтальной поверхности.
Все шины должны быть накачаны надлежащим образом; см. раздел Проверка давления воздуха в шинах.
Припаркуйте машину на ровной горизонтальной поверхности, переведите переключатель управления ножами (ВОМ) в положение ВЫКЛ и включите стояночный тормоз.
Прежде чем покинуть рабочее место оператора, выключите двигатель, извлеките ключ и дождитесь остановки всех движущихся частей машины.
Проверьте давление воздуха в шинах ведущих колес; см. раздел Проверка давления воздуха в шинах.
Установите деку газонокосилки в транспортное фиксированное положение.
Осторожно поверните ножи, чтобы расположить их в поперечном направлении.
Измерьте расстояние от конца ножа до плоской поверхности (Рисунок 81). Если результаты обоих измерений отличаются более чем на 5 мм, отрегулируйте выравнивание по горизонтали; продолжайте выполнять эту процедуру.

Проверьте выравнивание ножа по горизонтали в продольном направлении (Рисунок 82). Убедитесь, что передний конец ножа ниже заднего конца ножа, как показано в таблице высоты подставок и наклона ножей. Если необходима регулировка, перейдите к выполнению данной процедуры.

Для выполнения данной регулировки установите защитные валики в верхние отверстия или полностью снимите их.
Поднимите деку в транспортное положение (140 мм).
Медленно ослабьте регулировочный винт на пружине облегчения подъема так, чтобы появилась возможность снять этот винт (Рисунок 83).
Note: Сохраните винт для последующей установки.

Установите 2 подставки (см. таблицу высоты подставок и угла наклона ножей) под заднюю кромку фартука режущей деки, по одной на каждой стороне режущей деки (Рисунок 84).
Установите рычаг высоты скашивания в положение на 76 мм.
Установите 2 подставки под каждую сторону передней кромки деки, но не под кронштейны защитного валика или сварные швы.

| Размер деки | Высота передней подставки | Наклон ножа |
| Все деки газонокосилок | 73 мм | От 4,8 до 6,4 мм |
Осторожно поверните ножи, чтобы расположить их в поперечном направлении (Рисунок 81).
Ослабьте контргайки (Рисунок 85) на всех 4 углах и убедитесь, что дека газонокосилки надежно опирается на все 4 подставки.
Уберите все провисания из подвесов деки и убедитесь в том, что ножной рычаг подъема деки отведен назад и прижат к упору.
Затяните 4 контргайки.

Проследите, чтобы подставки были плотно зафиксированы под фартуком деки и все болты навесного оборудования были затянуты.
Продолжайте выравнивать деку, проверяя наклон ножей в продольном направлении.
Проверьте горизонтальное расположение ножей и при необходимости повторите процедуру выравнивания деки.
Поднимите деку в транспортное положение (140 мм).
Установите регулировочный винт пружины облегчения подъема, снятый ранее при выполнении пункта 10.
Установите зазор от 22 до 29 мм между пружиной и кронштейном.
Разблокируйте подпружиненные рычаги деки, прежде чем проводить техническое обслуживание или снимать деку газонокосилки.
Припаркуйте машину на ровной горизонтальной поверхности, переведите переключатель управления ножами (ВОМ) в положение ВЫКЛ и включите стояночный тормоз.
Прежде чем покинуть рабочее место оператора, выключите двигатель, извлеките ключ и дождитесь остановки всех движущихся частей машины.
Опустите газонокосилку в положение высоты скашивания 76 мм.
Освободите экран деки газонокосилки, сняв шплинт; см. раздел Освобождение экрана деки газонокосилки.
Снимите крышки ремней.
Ослабьте натяжной ролик деки газонокосилки и снимите ремень газонокосилки; см. раздел Техническое обслуживание ремней.
Отверните болты и гайки с передней части пластины под подножкой.
Отверните болты и гайки с обеих сторон машины и сохраните их (Рисунок 86).

Выдвиньте деку из-под правой стороны машины.
Через открытое отверстие для выброса травы газонокосилка может выбрасывать посторонние предметы в сторону оператора или стоящих поблизости людей, что может стать причиной серьезного травмирования. Кроме того, возможен контакт с ножами.
Запрещается эксплуатировать машину, если не установлена пластина мульчирования, отражатель выброса или система сбора травы.
Снимите контргайку, болт, пружину и проставку, удерживающие отражатель на кронштейнах оси поворота (Рисунок 87).
Снимите поврежденный или изношенный отражатель травы (Рисунок 87).

Установите проставку и пружину на отражатель травы.
Зацепите 1 J-образный конец пружины за край деки.
Note: Убедитесь, что один J-образный конец пружины зацеплен за край деки, прежде чем устанавливать болт, как показано на Рисунок 87.
Установите болт и гайку.
Зацепите один J-образный конец пружины за отражатель травы (Рисунок 87).
Important: Отражатель травы должен поворачиваться. Поднимите отражатель вверх в полностью открытое положение и убедитесь, что он свободно поворачивается в полностью опущенное положение.
| Периодичность технического обслуживания | Порядок технического обслуживания |
|---|---|
| После каждого использования |
|
Припаркуйте машину на ровной горизонтальной поверхности, переведите переключатель управления ножами (ВОМ) в положение ВЫКЛ и включите стояночный тормоз.
Прежде чем покинуть рабочее место оператора, выключите двигатель, извлеките ключ и дождитесь остановки всех движущихся частей машины.
Поднимите деку газонокосилки в транспортное положение.
Используйте сжатый воздух для очистки системы подвески.
Note: Не очищайте узлы амортизаторов струей воды под давлением (Рисунок 88).

Моторное масло, аккумуляторы, гидравлическая жидкость и охлаждающая жидкость двигателя загрязняют окружающую среду. Утилизируйте такие компоненты в соответствии с местными и государственными нормами и правилами.
Прежде чем покинуть рабочее место оператора, выключите двигатель, извлеките ключ и дождитесь остановки всех движущихся частей машины. Дайте машине остыть перед регулировкой, техническим обслуживанием, очисткой или помещением на хранение.
Не храните машину или топливо вблизи открытого пламени и не сливайте топливо в помещении или внутри закрытого прицепа.
Запрещается хранить машину или емкость с топливом в местах, где есть открытое пламя, искры или малая горелка, используемая, например, в водонагревателе или другом оборудовании.
Переведите переключатель управления ножами (РТО) в положение ВЫКЛ и включите стояночный тормоз.
Прежде чем покинуть рабочее место оператора, выключите двигатель, извлеките ключ и дождитесь остановки всех движущихся частей машины.
Удалите скошенную траву, загрязнения и сажу с наружных частей всей машины, особенно с двигателя и гидросистемы. Удалите грязь и сухую траву с наружных поверхностей ребер головки цилиндров двигателя и корпуса вентилятора.
Important: Машину можно мыть мягким моющим средством с водой. Не мойте машину струей под давлением. Не допускайте излишнего увлажнения поверхностей, особенно вблизи панели управления, двигателя, гидронасосов и приводов.
Проверьте работу стояночного тормоза; см. раздел Регулировка стояночного тормоза.
Обслужите воздухоочиститель, см.Обслуживание воздухоочистителя
Смажьте машину; см. раздел Смазка машины.
Замените масло в картере двигателя; см. раздел Обслуживание моторного масла.
Проверьте давление воздуха в шинах, см. Проверка давления воздуха в шинах.
Замените гидравлические фильтры; см. раздел (Замена гидравлической жидкости и фильтров).
Зарядите аккумуляторную батарею; см. Зарядка аккумулятора.
Удалите скребком все скопления травы и грязи из-под нижней части газонокосилки, затем промойте газонокосилку с помощью садового шланга.
Note: После мойки дайте машине поработать в течение 2–5 минут с переключателем управления ножами (ВОМ), установленным в положение ВКЛ, при высокой частоте холостого хода двигателя.
Проверьте состояние ножей, см. Техническое обслуживание ножей.
Подготовьте машину к хранению, если она не будет использоваться более 30 дней. Подготовьте машину к хранению следующим образом:
Добавьте в топливо, содержащееся в баке, стабилизатор/кондиционер на нефтяной основе. Выполняя смешивание, следуйте указаниям производителя стабилизатора. Не используйте стабилизатор на спиртовой основе (этанол или метанол).
Note: Стабилизатор (кондиционер) топлива наиболее эффективен при смешивании со свежим топливом и при постоянном использовании.
Запустите двигатель на 5 минут для распределения кондиционированного топлива по топливной системе.
Заглушите двигатель, дайте ему остыть и опорожните топливный бак.
Запустите двигатель и дайте ему проработать до остановки.
Утилизируйте надлежащим образом все неиспользованное топливо. Утилизируйте топливо в соответствии с местными нормами.
Important: Запрещается хранить топливо с добавлением стабилизатора/кондиционера топлива дольше срока, рекомендованного изготовителем стабилизатора топлива.
Снимите свечу (свечи) зажигания и проверьте ее (их) состояние; см. раздел Обслуживание свечи (свечей) зажигания. После снятия свечи(свечей) зажигания с двигателя залейте 30 мл (две столовые ложки) моторного масла в отверстие каждой свечи зажигания. С помощью стартера проверните двигатель и распределите масло внутри цилиндра. Установите свечу (свечи) зажигания. Не присоединяйте провода к свечам зажигания.
Проверьте и затяните все болты, гайки и винты. Отремонтируйте или замените все поврежденные части.
Подкрасьте все поцарапанные или оголенные металлические поверхности. Краску можно приобрести в сервисном центре официального дилера.
Храните машину в чистом, сухом гараже или складском помещении. Извлеките ключ из замка зажигания и храните его в месте, недоступном для детей и других неправомочных пользователей. Накройте машину для ее защиты и сохранения в чистоте.
| Problem | Possible Cause | Corrective Action |
|---|---|---|
| Двигатель перегревается. |
|
|
| Стартер не вращается. |
|
|
| Двигатель не запускается, запускается с трудом или глохнет. |
|
|
| Двигатель теряет мощность. |
|
|
| Газонокосилку тянет влево или вправо (когда рычаги установлены в крайние передние положения). |
|
|
| Машина не движется. |
|
|
| Необычная вибрация машины. |
|
|
| Высота скашивания неравномерная. |
|
|
| Ножи не вращаются. |
|
|
| Муфта не входит в зацепление. |
|
|

