| Huoltoväli | Huoltotoimenpide |
|---|---|
| Aina ennen käyttöä tai päivittäin |
|
Tämä ajettava vaakatasoleikkuri on tarkoitettu kaupalliseen ammattikäyttöön. Se on tarkoitettu pääasiassa asuinkiinteistöjen ja kaupallisten kiinteistöjen viheralueiden ruohonleikkuuseen. Tuotteen käyttäminen muuhun kuin sen aiottuun käyttötarkoitukseen voi olla vaarallista käyttäjälle ja sivullisille.
Lue nämä tiedot huolellisesti, jotta oppisit käyttämään ja huoltamaan laitetta asianmukaisesti sekä välttämään tapaturmia ja tuotevaurioita. Olet itse vastuussa tuotteen asianmukaisesta ja turvallisesta käytöstä.
Käy osoitteessa www.Toro.com, jos tarvitset tuoteturvallisuuteen ja käyttökoulutukseen liittyviä materiaaleja, tietoja lisävarusteista tai lähimmästä jälleenmyyjästä tai haluat rekisteröidä tuotteesi.
Aina kun tarvitset huoltoa, alkuperäisiä Toro-varaosia tai lisätietoja, ota yhteys valtuutettuun huoltoliikkeeseen tai Toron asiakaspalveluun. Ota tällöin tuotteen malli- ja sarjanumerot valmiiksi esiin. Kuva 1 näyttää laitteen malli ja sarjanumeron sijainnin. Kirjoita numerot annettuun tilaan.
Important: Skannaa sarjanumerokilvessä (jos varusteena) oleva QR-koodi mobiililaitteella, niin saat tuotetietoja sekä takuu- ja varaosatietoja.

Tässä käyttöoppaassa käytetään kahta termiä tietojen korostamiseksi. Tärkeää kiinnittää huomiota mekaanisiin erikoistietoihin ja Huomautus korostaa erityishuomion ansaitsevia yleistietoja.
Turvallisuusvaroitusmerkki (Kuva 2) näkyy sekä tässä käyttöoppaassa että koneessa. Se osoittaa tärkeitä turvallisuusilmoituksia, joiden ohjeita on noudatettava onnettomuuksien välttämiseksi. Tämän merkin yhteydessä näkyy sana Hengenvaara, Vaara tai Varoitus.
Hengenvaara: ilmaisee välittömästi vaarallisen tilanteen, joka jatkuessaan johtaa kuolemaan tai vakavaan loukkaantumiseen.
Vaara: ilmaisee mahdollisesti vaarallisen tilanteen, joka jatkuessaan voi johtaa kuolemaan tai vakavaan loukkaantumiseen.
Varoitus: ilmaisee mahdollisesti vaarallisen tilanteen, joka jatkuessaan saattaa johtaa vähäiseen tai lievään loukkaantumiseen.

Tämä tuote on asiaankuuluvien eurooppalaisten direktiivien mukainen. Lisätietoja on erillisessä tuotekohtaisessa vaatimustenmukaisuusvakuutuksessa.
Tutustu koneen mukana toimitettuihin moottorin valmistajan tietoihin.
Brutto- tai nettovääntö: Moottorin valmistaja on mitannut tämän moottorin brutto- tai nettoväännön laboratoriossa SAE J1940:n tai J2723:n mukaisesti. Tämän luokan leikkurin moottorin todellinen vääntö on huomattavasti alhaisempi, koska se on säädetty turvallisuuteen, päästöihin ja käyttöön liittyvien vaatimusten mukaisesti. Tutustu koneen mukana toimitettuihin moottorin valmistajan tietoihin.
Tämä kone on suunniteltu standardin EN ISO 5395 mukaisesti.
Tämä tuote voi katkaista jalan tai käden sekä singota esineitä. Noudata aina kaikkia turvallisuusohjeita vakavan loukkaantumisen tai kuoleman välttämiseksi.
Lue ja sisäistä tämän käyttöoppaan sisältö ennen moottorin käynnistämistä.
Pidä sivulliset ja lapset loitolla.
Älä anna lasten tai kouluttamattomien henkilöiden käyttää tai huoltaa konetta. Anna vain vastuullisten, koulutettujen, ohjeisiin perehtyneiden ja fyysisesti konetta käyttämään kykenevien henkilöiden käyttää tai huoltaa konetta.
Pidä turvakaari aina lukittuna yläasentoon ja käytä turvavyötä.
Älä käytä konetta äkkijyrkkien kohtien, ojien, vallien, vesiesteiden tai muiden vaarakohtien lähellä. Älä aja koneella rinteillä, joiden kaltevuus on yli 15 astetta.
Älä laita käsiä tai jalkoja koneen liikkuvien osien lähelle.
Älä käytä konetta ilman paikallaan olevia ja asianmukaisesti toimivia suojuksia, turvakytkimiä ja muita turvalaitteita.
Sammuta moottori, irrota virta-avain ja odota, että kaikki liikkuvat osat ovat pysähtyneet, ennen kuin poistut käyttäjän paikalta. Anna koneen jäähtyä ennen huoltoa, säätämistä, tankkausta, puhdistusta tai varastointia.

![]() |
Turva- ja ohjetarrat on sijoitettu hyvin näkyville paikoille mahdollisten vaara-alueiden lähettyville. Korvaa vioittuneet tai kadonneet tarrat uusilla. |






















Tutustu kaikkiin ohjauslaitteisiin, ennen kuin käynnistät moottorin ja käytät konetta.

Moottori käynnistetään ja sammutetaan avainkytkimestä. Siinä on kolme asentoa: PYSäYTYS, KäYNNISSä ja KäYNNISTYS. Katso Moottorin käynnistys.
Valokytkimellä kytketään valot PääLLä- tai POIS-asentoon (Kuva 5).
Käynnistä kylmä moottori käyttämällä rikastimen vipua.
Kaasuvivulla ohjataan moottorin kierrosnopeutta, ja siinä on portaaton säätö HIDAS-asennosta NOPEA-asentoon (Kuva 5).
Teräkytkin, joka on merkitty voimanulosoton (PTO) kuvakkeella, kytkee ja vapauttaa voimansiirron leikkuuteriin (Kuva 5).
Tuntilaskuri mittaa, kuinka kauan moottori on ollut käynnissä kaiken kaikkiaan. Se toimii moottorin ollessa käynnissä. Määritä mitatun ajan avulla, milloin määräaikaishuollot tulee suorittaa (Kuva 6).

Nämä ovat tuntilaskurissa olevia merkintöjä. Musta kolmio ilmoittaa, että turvajärjestelmän komponentti on oikeassa asennossa (Kuva 6).
Jos virta-avain käännetään KäYNNISSä-asentoon muutaman sekunnin ajaksi, akun jännite näkyy kohdassa, jossa tavallisesti näkyvät tunnit.
Akun merkkivalo syttyy, kun avainkytkin kytketään ja kun varaus on asianmukaista käyttötasoa alhaisempi (Kuva 6).
Liikkeenohjausvivuilla konetta kuljetetaan eteen- ja taaksepäin sekä käännetään (Kuva 4).
Ennen kuin poistut koneesta, siirrä liikkeenohjausvivut keskeltä ulospäin LUKITTU VAPAA -asentoon (Kuva 26). Siirrä liikkeenohjausvivut aina LUKITTU VAPAA -asentoon, kun pysäytät koneen tai jätät sen ilman valvontaa.
Aina kun sammutat moottorin, kytke seisontajarru, jotta kone ei pääse liikkumaan vahingossa.
Sulje polttoaineen sulkuventtiili koneen kuljetuksen tai varastoinnin aikana. Katso kohta Polttoaineen sulkuventtiilin käyttö.
Note: Ominaisuuksia ja rakennetta voidaan muuttaa ilmoittamatta.
| 122 cm:n leikkuupöytä | 132 cm:n leikkuupöytä | 152 cm:n leikkuupöytä | |
|---|---|---|---|
| Ilman leikkuupöytää | 129 cm | 137 cm | 140 cm |
| Suuntain ylhäällä | 141 cm | 150 cm | 166 cm |
| Suuntain alhaalla | 160 cm | 171 cm | 191 cm |
| Suuntain irrotettu | 132 cm | 141 cm | 156 cm |
| 24 tuuman renkaat | 26 tuuman renkaat | |
|---|---|---|
| Pituus | 219 cm | 220 cm |
| 24 tuuman renkaat | 26 tuuman renkaat | |
|---|---|---|
| Turvakaari – ylhäällä | 182 cm | 185 cm |
| Turvakaari – alhaalla | 126 cm | 129 cm |
| Koneet | Paino |
| 122 cm:n koneet | 512 kg |
| 132 cm:n koneet | 531–540 kg |
| 152 cm:n koneet | 535–590 kg |
| Aisapaino | Kokonaishinauspaino* |
|---|---|
| 22 kg | 113 kg |
* Hinattavan kohteen kokonaispaino (esim. perävaunu ja hyötykuorma, vedettävä haralaite, ilmastaja jne.)
Koneeseen on saatavana valikoima Toron hyväksymiä lisälaitteita ja -varusteita, joiden avulla voidaan parantaa ja laajentaa sen ominaisuuksia. Ota yhteys valtuutettuun huoltoliikkeeseen tai valtuutettuun Toro-jälleenmyyjään tai siirry osoitteeseen www.Toro.com, jossa on luettelo hyväksytyistä lisälaitteista ja -varusteista.
Käytä vain aitoja Toro-varaosia ja -lisävarusteita, jotta kone toimisi parhaalla mahdollisella tavalla ja sen turvasertifiointi pysyisi voimassa. Muiden valmistajien varaosat ja lisävarusteet voivat osoittautua vaarallisiksi, ja niiden käyttö voi johtaa tuotteen takuun raukeamiseen.
Note: Koneen vasen ja oikea puoli määritellään normaalista käyttöasennosta käsin.
Älä anna lasten tai kouluttamattomien henkilöiden käyttää tai huoltaa konetta. Paikalliset säännökset saattavat asettaa rajoituksia käyttäjän iälle. Omistaja vastaa käyttäjien ja mekaanikkojen koulutuksesta.
Tarkasta koneen käyttöalue ja poista siltä kaikki esineet, jotka voivat haitata koneen käyttöä tai joita kone voi singota.
Tutustu laitteen turvallisen käytön ohjeisiin, ohjauslaitteisiin ja turvamerkintöihin.
Tarkista, että käyttäjän pitokytkimet, turvakytkimet ja suojukset ovat paikoillaan ja toimivat oikein. Älä käytä konetta, mikäli ne eivät toimi kunnolla.
Sammuta moottori, irrota virta-avain ja odota, että kaikki liikkuvat osat ovat pysähtyneet, ennen kuin poistut käyttäjän paikalta. Anna koneen jäähtyä ennen huoltoa, säätämistä, tankkausta, puhdistusta tai varastointia.
Tarkista ennen leikkaamista, että koneen leikkuukokoonpanot toimivat oikein.
Tutki maasto, jotta voit arvioida, mitä tarvikkeita sekä lisälaitteita ja -varusteita koneen turvallinen käyttö edellyttää.
Pukeudu asianmukaisesti. Käytä silmäsuojaimia, pitkiä housuja, tukevia liukastumisen estäviä kenkiä ja kuulosuojaimia. Sido pitkät hiukset. Älä käytä löysiä vaatteita tai riippuvia koruja.
Älä kuljeta koneessa matkustajia.
Pidä sivulliset ja lemmikit poissa koneen luota käytön aikana. Sammuta kone ja lisälaitteet, jos työskentelyalueelle tulee ihmisiä.
Älä aja koneella, elleivät kaikki suojukset ja turvalaitteet, kuten suuntaimet ja koko ruohonkerääjä, ole paikoillaan ja toimi oikein. Vaihda kuluneet tai vahingoittuneet osat tarvittaessa.
Polttoaine on hyvin tulenarkaa ja räjähdysherkkää. Polttoaineen aiheuttama tulipalo tai räjähdys voi aiheuttaa palovammoja ja omaisuusvahinkoja.
Siirrä kone alas kuljetusajoneuvosta tai perävaunusta ja tankkaa se maassa etäällä kaikista ajoneuvoista. Muutoin staattinen purkaus voi sytyttää polttoaineen. Jos tämä ei ole mahdollista, aseta kannettava polttoaineastia maahan etäällä ajoneuvoista ja täytä se. Tankkaa kone sitten mieluummin polttoaineastiasta kuin polttoaineen jakelupistoolilla.
Täytä polttoainesäiliö ulkona avoimessa tilassa tasaisella alustalla, kun moottori on jäähtynyt. Pyyhi läikkynyt polttoaine pois.
Älä käsittele polttoainetta tupakoidessasi tai avotulen tai kipinöiden lähellä.
Älä irrota polttoainesäiliön korkkia tai lisää polttoainetta säiliöön moottorin ollessa käynnissä tai kuuma.
Jos polttoainetta läikkyy, älä yritä käynnistä moottoria. Vältä luomasta kipinälähteitä, ennen kuin polttoainehöyryt ovat hälvenneet.
Polttoainetta tulee säilyttää hyväksytyssä polttoaineastiassa, joka tulee pitää poissa lasten ulottuvilta.
Polttoaine on haitallista tai tappavaa nieltynä. Pitkäaikainen altistuminen höyryille voi aiheuttaa vakavan tapaturman ja sairauksia.
Vältä höyryjen hengittämistä.
Pidä kasvot ja kädet etäällä jakelupistoolista ja polttoainesäiliöstä.
Älä päästä polttoainetta silmiin tai iholle.
Älä säilytä konetta tai polttoainesäiliötä tilassa, jossa on avotuli, kipinöitä tai varmistusliekki (esimerkiksi vedenlämmitin tai muu vastaava laite).
Käytä laitetta vain, kun pakokaasujärjestelmä on kokonaisuudessaan paikallaan ja toimii oikein.
Pidä pistoolia polttoainesäiliön reunaa tai astian aukkoa vasten koko tankkaamisen ajan. Älä käytä polttoainepistoolin aukilukituskytkintä.
Jos polttoainetta on roiskunut vaatteille, vaihda vaatteet välittömästi.
Älä täytä polttoainesäiliötä liian täyteen. Aseta polttoainesäiliön korkki paikalleen ja kiristä se huolellisesti.
Vähennä tulipalon vaaraa poistamalla ruoho ja roskat leikkuuyksiköstä, äänenvaimentimesta, käyttöyksiköistä, ruohonkerääjästä ja moottoritilasta. Puhdista öljy- ja polttoaineroiskeet.
Moottori toimii parhaiten, kun käytetään vain puhdasta ja uutta (korkeintaan 30 päivää vanhaa) lyijytöntä bensiiniä, jonka tieoktaaniluku (pumppuoktaaniluku) on vähintään 87 (RON + MON / 2).
Etanoli: Enintään 10 % etanolia (bensiinin ja etanolin seosta) tai 15 % MTBE:tä (metyyli-tertiääri-butyylieetteriä) sisältävää polttoainetta voidaan käyttää. Etanoli ja MTBE eivät ole sama asia. Bensiiniä, jonka tilavuudesta enemmän kuin 15 % (E15) on etanolia, ei ole hyväksytty käyttöön. Älä käytä bensiiniä, jonka tilavuudesta enemmän kuin 10 % on etanolia (kuten 15 % etanolia sisältävä E15, 20 % etanolia sisältävä E20 tai enintään 85 % etanolia sisältävä E85). Muun kuin hyväksytyn bensiinin käyttö voi aiheuttaa toimintaongelmia ja/tai moottorivaurioita, joita takuu ei ehkä kata.
Metanolia sisältävää bensiiniä ei saa käyttää.
Älä säilytä polttoainetta talven yli polttoainesäiliössä tai -astioissa, ellei polttoaineeseen ole lisätty stabilointiainetta.
Bensiiniin ei saa lisätä öljyä.
Polttoaineen stabilointi-/lisäaineen käytöllä on seuraavia etuja:
Pitää polttoaineen tuoreena pidempään polttoaineen stabilointiaineen valmistajan ohjeiden mukaisesti käytettynä
Se puhdistaa moottoria käytön aikana.
Se estää liimamaisen hartsin kerääntymisen polttoainejärjestelmään, mikä vaikeuttaisi käynnistämistä.
Important: Älä käytä metanolia tai etanolia sisältäviä lisäaineita.
Lisää polttoaineeseen oikea määrä stabilointi-/lisäainetta.
Note: Stabilointi-/lisäaine toimii tehokkaimmin, kun se sekoitetaan tuoreeseen polttoaineeseen. Käytä stabilointiainetta aina, jottei polttoainejärjestelmään kerääntyisi hartsimaisia jäämiä.
Pysäköi kone tasaiselle alustalle.
Kytke seisontajarru.
Sammuta moottori ja irrota virta-avain.
Puhdista polttoainesäiliön korkin ympäristö.
Täytä säiliö täyttöaukon kaulan alaosaan asti (Kuva 7).
Note: Polttoainesäiliötä ei saa täyttää aivan täyteen. Säiliöön jäävä tyhjä tila sallii polttoaineen laajentumisen.

Suorita kohdan osassa ”Ennen jokaista käyttökertaa tai päivittäin” mainitut toimet ennen koneen käynnistystä päivittäin.
Uusissa moottoreissa täyden voiman saavuttaminen kestää jonkin aikaa. Uuden ruohonleikkurin leikkuupöydissä ja vetojärjestelmissä on enemmän moottoria kuormittavaa kitkaa. Sisäänajo kestää 40–50 tuntia, kunnes uudet koneet saavuttavat täyden voiman ja parhaan suorituskyvyn.
Kaatumisesta aiheutuvan loukkaantumisen tai kuoleman välttämiseksi turvakaari on pidettävä lukittuna yläasentoon ja turvavyötä on käytettävä.
Varmista, että istuin on kiinnitetty koneeseen.
Kaatumissuojausta ei ole, kun turvakaari on alhaalla.
Laske turvakaari vain silloin, kun se on aivan välttämätöntä.
Älä käytä turvavyötä, kun turvakaari on alhaalla.
Aja hitaasti ja varovasti.
Nosta turvakaari ylös heti, kun tilaa on riittävästi.
Tarkista vapaa alikulkukorkeus (esim. puiden oksat, porttikäytävät, sähkölinjat) ennen kuin ajat mahdollisen esteen alitse. Varo osumasta esteeseen.
Important: Laske turvakaari vain silloin, kun se on aivan välttämätöntä.
Irrota sokka ja tappi turvakaaren molemmilta puolilta.
Laske turvakaari ala-asentoon.
Note: Ala-asentoja on kaksi. Katso Kuva 9.
Asenna kaksi tappia ja kiinnitä ne sokilla.


Important: Käytä aina turvavyötä, kun turvakaari on nostettuna.
Irrota sokat ja kaksi tappia.
Nosta turvakaari yläasentoon.
Asenna kaksi tappia ja kiinnitä ne sokilla.

Jos turvakytkimet ovat irronneet tai vaurioituneet, kone saattaa toimia odottamattomalla tavalla ja aiheuttaa henkilövahinkoja.
Älä kajoa turvakytkimiin.
Tarkista turvakytkimien toimivuus päivittäin ja vaihda mahdolliset vaurioituneet kytkimet ennen koneen käyttämistä.
Turvajärjestelmä huolehtii siitä, että moottori käynnistyy vain seuraavien olosuhteiden vallitessa:
seisontajarru on kytketty
teräkytkin (voimanulosotto) on vapautettu
Liikkeenohjausvivut ovat LUKITTU VAPAA -asennossa.
Turvajärjestelmä myös sammuttaa moottorin, kun liikkeenohjausvivut siirretään LUKITTU VAPAA -asennosta seisontajarrun ollessa kytkettynä tai jos käyttäjä nousee istuimelta voimanulosoton (PTO) ollessa kytkettynä.
Tuntilaskurissa on merkkivaloja, jotka ilmoittavat käyttäjälle, kun turvajärjestelmän komponentti on oikeassa asennossa. Kun komponentti on oikeassa asennossa, merkkivalo näkyy näytössä.

| Huoltoväli | Huoltotoimenpide |
|---|---|
| Aina ennen käyttöä tai päivittäin |
|
Tarkista turvajärjestelmän toimivuus aina ennen koneen käyttöä. Jos turvajärjestelmä ei toimi alla kuvatulla tavalla, se on välittömästi korjautettava valtuutetussa huoltoliikkeessä.
Istu istuimella, kytke seisontajarru ja kytke teräkytkin (voimanulosotto) PääLLä-asentoon. Yritä käynnistää moottori. Moottori ei saa käynnistyä.
Istu istuimella, kytke seisontajarru ja kytke teräkytkin (voimanulosotto) POIS-asentoon. Siirrä jompikumpi liikkeenohjausvipu pois LUKITTU VAPAA -asennosta. Yritä käynnistää moottori. Moottori ei saa käynnistyä. Toista toisella ohjausvivulla.
Istu istuimella, kytke seisontajarru ja siirrä teräkytkin (voimanulosotto) POIS-asentoon ja liikkeenohjausvivut LUKITTU VAPAA -asentoon. Käynnistä moottori. Kun moottori on käynnissä, vapauta seisontajarru, kytke teräkytkin (voimanulosotto) ja nouse hieman istuimelta. Moottorin pitäisi sammua.
Istu istuimella, kytke seisontajarru ja siirrä teräkytkin (voimanulosotto) POIS-asentoon ja liikkeenohjausvivut LUKITTU VAPAA -asentoon. Käynnistä moottori. Kun moottori käy, aseta jompikumpi liikkeenohjausvipu keskelle ja liiku (eteenpäin tai taaksepäin). Moottorin tulee sammua. Toista toisella liikkeenohjausvivulla.
Istu istuimella, vapauta seisontajarru ja siirrä teräkytkin (voimanulosotto) POIS-asentoon ja liikkeenohjausvivut LUKITTU VAPAA -asentoon. Yritä käynnistää moottori. Moottori ei saa käynnistyä.
Istuin siirtyy eteen- ja taaksepäin. Säädä istuin siten, että pystyt ohjaamaan konetta parhaiten ja asentosi on mahdollisimman mukava. (Kuva 12).

MyRide™-jousitusjärjestelmää voidaan säätää siten, että ajo on tasaista ja mukavaa. Jousitusjärjestelmää voi säätää nopeasti ja helposti säätämällä kahta takaiskunvaimenninkokoonpanoa. Aseta jousitusjärjestelmä kohtaan, jossa ajoasento on mahdollisimman mukava.
Takaiskunvaimenninkokoonpanojen urissa on pidätinkohdat viitteeksi. Takaiskunvaimenninkokoonpanot voidaan sijoittaa urassa mihin tahansa kohtaan, ei ainoastaan pidätinkohtiin. Seuraavassa kuvassa näkyy pehmeän ja kovan jousituksen asennot sekä eri pidätinkohdat (Kuva 13).

Note: Varmista, että vasen ja oikea takaiskunvaimenninkokoonpano säädetään aina samaan asentoon.
Säädä takaiskunvaimenninkokoonpanot (Kuva 14).


Omistaja ja käyttäjä voivat estää loukkaantumisia tai omaisuusvahinkoja aiheuttavat tapaturmat ja ovat siksi vastuussa niistä.
Koneen käyttö vaatii käyttäjän täyden huomion. Jos käyttäjän huomio keskittyy muualle, saattaa seurata henkilö- tai omaisuusvahinko.
Älä käytä konetta sairaana, väsyneenä tai alkoholin tai huumaavien aineiden vaikutuksen alaisena.
Terään koskeminen voi aiheuttaa vakavia henkilövahinkoja. Sammuta moottori, irrota avain ja odota, että kaikki liikkuvat osat ovat pysähtyneet, ennen kuin poistut käyttäjän paikalta. Kun käännät avaimen OFF-asentoon, moottorin pitää sammua ja terän pysähtyä. Jos näin ei tapahdu, lopeta laitteen käyttö välittömästi ja ota yhteys valtuutettuun huoltoliikkeeseen.
Käytä laitetta vain, kun näkyvyys on hyvä ja kun sääolosuhteet ovat hyvät. Älä käytä konetta ukonilman aikana.
Pidä kädet ja jalat etäällä leikkuuyksiköistä. Pysy etäällä heittoaukosta.
Älä leikkaa ruohoa, kun heittokanavan suuntain on ylhäällä, irti tai muuten epätavallisessa asennossa, ellei ruohonleikkuriin ole asennettu toimivaa ruohonkeräysjärjestelmää tai levityssarjaa.
Älä leikkaa ruohoa peruuttaen, ellei se ole ehdottoman välttämätöntä. Katso alas ja taakse aina ennen kuin konetta liikutetaan taaksepäin.
Ole erityisen varovainen lähestyessäsi kulmia, joissa on huono näkyvyys, pensaita, puita tai muita esteitä, jotka voivat haitata näkyvyyttä.
Pysäytä terät, jos et leikkaa ruohoa.
Jos laite törmää esteeseen tai alkaa täristä, sammuta moottori välittömästi, irrota virta-avain (jos varusteena) ja odota, kunnes kaikki liikkuvat osat ovat pysähtyneet, ja tarkista kone vasta sitten vaurioiden varalta. Suorita tarvittavat korjaukset ennen koneen käytön jatkamista.
Hidasta ja ole varovainen kääntyessäsi koneella ja ylittäessäsi teitä ja jalkakäytäviä. Anna muille aina etuajo-oikeus.
Tee seuraavat toimet ennen käyttäjän paikalta poistumista:
Pysäköi kone tasaiselle alustalle.
Vapauta voimanulosotto ja laske lisälaitteet alas.
Kytke seisontajarru.
Sammuta moottori ja irrota virta-avain.
Odota, kunnes kaikki liikkuvat osat ovat pysähtyneet.
Käytä moottoria vain tiloissa, joissa on hyvä ilmanvaihto. Pakokaasut sisältävät hiilimonoksidia, joka on hengenvaarallinen hengitettäessä.
Älä jätä käynnissä olevaa konetta ilman valvontaa.
Kiinnitä hinattava laite koneeseen ainoastaan sen kiinnityskohtaan.
Älä aja koneella, elleivät kaikki suojukset ja turvalaitteet, kuten suuntaimet ja koko ruohonkerääjä, ole paikoillaan ja toimi oikein. Vaihda kuluneet tai vahingoittuneet osat tarvittaessa.
Käytä vain Toron hyväksymiä lisälaitteita ja -varusteita.
Tämä kone tuottaa 85 dB(A):n ylittävän äänitason käyttäjän korvan korkeudella ja voi aiheuttaa kuulovamman pitkäaikaisessa käytössä.

Poista ruoho ja leikkuujäte leikkuuyksiköstä, käyttöpyöristä, äänenvaimentimesta ja moottorista tulipalon estämiseksi.
Käynnistä moottori vain silloin, kun jalkasi ovat kaukana teristä.
Ota huomioon ruohonleikkurin heittosuunta ja suuntaa leikkuujäte muista poispäin. Vältä leikkuujätteen linkoamista seinää tai muuta estettä kohti, sillä se voi kimmota takaisin sinua kohti.
Pysäytä terät, hidasta konetta ja noudata varovaisuutta, kun ylität muita pintoja kuin ruohoa tai kun kuljetat konetta työskentelyalueelle ja pois siltä.
Älä muuta moottorin kierrosnopeussäätimen nopeutta tai käytä moottoria ylikierroksilla.
Lapset ovat usein kiinnostuneita koneesta ja ruohon leikkaamisesta. Älä koskaan oleta, että lapset pysyvät siellä, missä näit heidät viimeksi.
Pidä lapset poissa koneen työskentelyalueelta ja aikuisen (muun kuin koneen käyttäjän) valvonnan alaisena.
Ole tarkkaavainen ja sammuta kone heti, jos lapsia tulee koneen työskentelyalueelle.
Ennen kuin peruutat koneella tai teet käännöstä, katso alas ja ympärillesi pienten lasten varalta.
Älä kuljeta lapsia koneessa edes silloin, kun terät eivät liiku. Lapset voivat pudota ja loukkaantua vakavasti tai estää koneen turvallisen käytön. Aiemmin koneen kyydissä olleet lapset saattavat tulla työskentelyalueelle varoittamatta ja jäädä liikkuvan tai peruuttavan koneen alle.
Kaatumissuojausjärjestelmä on keskeinen ja tehokas turvalaite. Älä irrota tai muokkaa kaatumissuojausjärjestelmää.
Kaatumissuojausta ei ole, kun turvakaari on alhaalla.
Pidä turvakaari aina lukittuna yläasentoon ja käytä aina turvavyötä turvakaaren ollessa ylhäällä.
Varmista, että turvavyö on nopeasti avattavissa hätätilanteessa.
Laske turvakaari vain silloin, kun se on aivan välttämätöntä. Älä käytä turvavyötä, kun turvakaari on alhaalla.
Nosta turvakaari ylös heti, kun tilaa on riittävästi.
Renkaiden lipeäminen reunojen, ojien tai jyrkkien penkkojen kohdalla tai veteen saattaa kaataa koneen, mistä voi seurata vakava loukkaantuminen tai kuolema.
Tarkista vapaa alikulkukorkeus ennen kuin ajat mahdollisen esteen alitse. Varo osumasta esteeseen.
Jos kone kaatuu, vie se valtuutettuun huoltoliikkeeseen, jotta kaatumissuojausjärjestelmä voidaan tarkistaa.
Vaihda vaurioituneet kaatumissuojausjärjestelmän osat. Älä korjaa tai muuta niitä.
Käytä vain Toron hyväksymiä kaatumissuojausjärjestelmään asennettuja varusteita ja lisälaitteita.
Rinteissä on huomattava koneen hallinnan menettämisen ja kaatumisen vaara. Tällaiset onnettomuudet voivat aiheuttaa vakavan tapaturman tai kuoleman. Käyttäjä on vastuussa turvallisesta käytöstä rinteissä. Koneen käyttö rinteissä edellyttää erityistä huolellisuutta. Suorita seuraavat toimenpiteet ennen koneen käyttöä rinteessä:
Lue ja sisäistä käyttöoppaassa ja koneessa olevat rinnekäytön ohjeet.
Määritä alueen likimääräinen rinnekulma kulman osoittimella.
Älä koskaan käytä konetta rinteissä, joiden kaltevuus on yli 15 astetta.
Arvioi leikkuupaikan olosuhteet ja määritä niiden perusteella, onko rinne turvallinen koneen käyttöön. Tee arviointi huolellisesti ja harkiten. Maaston muutokset, kuten kosteus, saattavat vaikuttaa nopeasti koneen toimintaan rinteessä.
Tunnista vaarat rinteen juurella. Älä käytä konetta pudotusten, ojien, vallien, vesiesteiden tai muiden vaarojen lähellä. Kone voi kaatua yllättäen, jos pyörä menee reunan yli tai jos reuna sortuu. Pidä kone turvallisen etäisyyden (kahden koneen leveyden) päässä vaara-alueista. Leikkaa tällaisten alueiden ruoho työnnettävällä koneella tai käsikäyttöisellä trimmerillä.
Vältä koneen käynnistämistä, pysäyttämistä tai kääntämistä rinteissä. Vältä nopeuden tai suunnan äkillistä muuttamista. Käänny hitaasti ja vähän kerrallaan.
Älä käytä konetta olosuhteissa, joissa pito, ohjaus tai vakaus ovat kyseenalaisia. Huomaa, että koneen käyttö märässä ruohossa, poikittain rinteissä tai alamäessä saattaa johtaa koneen pidon menettämiseen. Pidon menetys vetopyörissä saattaa aiheuttaa luisumisen ja jarrujen ja ohjauksen hallinnan menetyksen. Kone voi luisua, vaikka vetopyörät on pysäytetty.
Poista tai merkitse esteet, kuten ojat, kuopat, urat, töyssyt, kivet tai muut piilevät vaarat. Korkea ruoho voi peittää esteet. Maaston epätasaisuudet voivat kaataa koneen.
Ole erityisen varovainen käytettäessä lisävarusteita tai -laitteita, kuten ruohonkeräysjärjestelmiä. Ne voivat vaikuttaa koneen vakauteen ja aiheuttaa hallinnan menetyksen. Noudata vastapainojen ohjeita.
Jos mahdollista, pidä leikkuupöytä laskettuna alas rinteissä käytön aikana. Leikkuupöydän nostaminen rinteissä käytön aikana voi heikentää koneen vakautta.

Älä kiinnitä hinattavaa laitetta muualle koneeseen kuin vetokoukkuun.
Älä käytä konetta hinaukseen, ellei siihen ole asennettu vetokoukkua.
Älä ylitä kokonaishinauspainoa.
Älä koskaan päästä lapsia tai muita henkilöitä hinattavan laitteen lähelle.
Rinteissä hinattavan laitteen paino voi johtaa pidon menetykseen, kaatumisriskin kasvuun ja ajoneuvon hallinnan menetykseen. Vähennä hinattavan laitteen painoa ja hidasta vauhtia.
Pysäytysmatka voi kasvaa hinatun kuorman painon kasvaessa. Aja hitaasti ja varaa pysähtymiseen lisää etäisyyttä.
Tee leveitä käännöksiä, jotta lisälaite ei koskettaisi konetta.
Käytä leikkuupöytää askelmana siirtyessäsi käyttäjän paikalle (Kuva 17).

Kytke seisontajarru aina, kun pysäytät koneen tai jätät sen ilman valvontaa.
Pysäköi kone tasaiselle alustalle.


Teräkytkin (voimanulosotto) käynnistää ja pysäyttää leikkuuterät ja voimanulosottoa käyttävät lisälaitteet.
Note: Teräkytkimen (voimanulosotto) kytkentä kaasun ollessa puolivälissä tai alempana kuluttaa käyttöhihnoja liiallisesti.


Kaasuvipua voidaan siirtää NOPEA- ja HIDAS-asentojen välillä (Kuva 22).
Käytä aina NOPEA-asentoa, kun kytket voimanulosoton.

Note: Lämmin tai kuuma moottori ei välttämättä tarvitse rikastusta.
Important: Älä käytä käynnistintä kerralla yli 5 sekunnin ajan. Käynnistysmoottorin käyttö yli 5 sekunnin ajan voi vaurioittaa käynnistysmoottoria. Jos moottori ei käynnisty, odota 10 sekunnin ajan ennen käynnistysmoottorin käyttöä uudelleen.

Lapset ja sivulliset voivat loukkaantua, jos he siirtävät tai yrittävät käyttää konetta sen ollessa ilman valvontaa.
Irrota aina avain ja kytke seisontajarru, kun jätät koneen ilman valvontaa.


Vetopyörät pyörivät itsenäisesti akselien hydraulimoottorien voimasta. Toinen puoli voi pyöriä taaksepäin toisen puolen pyöriessä eteenpäin, jolloin kone pyörii paikallaan kääntymisen sijaan. Tämä parantaa huomattavasti koneen ohjattavuutta, mutta saattaa vaatia jonkin verran totuttelua.
Kaasuvivulla säädetään moottorin pyörintänopeutta (1/min). Aseta kaasuvipu NOPEA-asentoon, jolloin suorituskyky on parhaimmillaan. Leikkaa aina täydellä kaasulla.
Kone voi pyöriä paikallaan hyvin nopeasti. Käyttäjä voi menettää koneen hallinnan, mikä voi johtaa henkilö- tai omaisuusvahinkoihin.
Ole varovainen kääntyessäsi.
Hidasta konetta ennen jyrkkiä käännöksiä.
Note: Moottori sammuu, jos liikkeenohjausvipua siirretään seisontajarrun ollessa kytkettynä.
Pysäytä kone siirtämällä liikkeenohjausvivut VAPAA-asentoon.
Vapauta seisontajarru.
Siirrä liikkeenohjausvivut keskelle lukitsemattomaan asentoon.
Kun haluat ajaa eteenpäin, työnnä liikkeenohjausvipuja hitaasti eteenpäin (Kuva 27).

Siirrä liikkeenohjausvivut keskelle lukitsemattomaan asentoon.
Kun haluat peruuttaa, vedä liikkeenohjausvipuja hitaasti taaksepäin (Kuva 28).

Leikkurissa on kääntyvä suuntain, joka levittää leikkuujätteen sivulle ja alas nurmeen päin.
Ellei suuntainta, poistolevyä tai ruohonkerääjää ole asennettu, liikkuvat terät ja ilmaan sinkoutuvat roskat saattavat vahingoittaa käyttäjää tai sivullisia. Teräkosketus tai ulossinkoutuva jäte voi aiheuttaa loukkaantumisen tai kuoleman.
Älä koskaan irrota suuntainta leikkuupöydästä, sillä se ohjaa materiaalin nurmea kohti. Jos suuntain vaurioituu, vaihda se heti.
Älä koskaan pane käsiä tai jalkoja leikkurin leikkuupöydän alle.
Kytke voimanulosotto (teräkytkin, voimanulosotto) POIS-asentoon, käännä avain PYSäYTYS-asentoon ja irrota avain aina ennen poistoalueen tai leikkuuterien puhdistusta.
Varmista, että suuntain on ala-asennossa.
Leikkuukorkeudeksi voidaan säätää 38–140 mm (6 mm:n välein) siirtämällä liitintappia eri reikiin.
Paina leikkuupöydän nostopoljin täysin eteen, jotta leikkuupöytä lukittuu KULJETUS-asentoon (myös 140 mm:n leikkuukorkeusasento) kuvan mukaisesti (Kuva 30).
Kun haluat säätää korkeutta, irrota tappi leikkuukorkeuden kannattimesta (Kuva 30).
Valitse leikkuukorkeuden kannattimesta haluttua leikkuukorkeutta vastaava reikä ja työnnä tappi reikään (Kuva 30).
Paina leikkuupöydän nostopoljin eteen, paina kuljetuslukko eteen ja laske sitten leikkuupöytä hitaasti.

Työnnä leikkuupöydän nostokytkin ylös (Kuva 31).

Valitse leikkuukorkeuden kannattimesta haluttua leikkuukorkeutta vastaava reikä ja työnnä tappi reikään (Kuva 32).
Paina leikkuupöydän nostokytkintä, kunnes leikkuukorkeusvivusto osuu kevyesti leikkuukorkeustappiin (Kuva 32).
Note: Liian voimakas kosketus leikkuukorkeusvivuston ja leikkuukorkeustapin välillä voi vaikuttaa kielteisesti leikkuupöydän leikkuukorkeuteen ja tasaukseen.

Kun säädät leikkuukorkeutta, säädä samalla nurmisuojarullien korkeus.
Note: Säädä nurmisuojarullia siten, että ne eivät kosketa maata normaaleilla tasaisilla leikkuualueilla.
Pysäköi kone tasaiselle alustalle, vapauta teräkytkin ja kytke seisontajarru.
Sammuta moottori, irrota avain ja odota, että kaikki liikkuvat osat ovat pysähtyneet, ennen kuin poistut käyttäjän paikalta.
Säädä nurmisuojarullat kuvan mukaisesti (Kuva 33).

Leikkuujälki ja ilmanvaihto ovat parhaimmillaan, kun moottoria käytetään NOPEA-asetuksella. Ilmaa tarvitaan, jotta ruoho saataisiin leikattua huolellisesti. Älä siis säädä leikkuukorkeutta niin alas, että leikkaamaton ruoho ympäröi leikkuupöydän kokonaan. Huolehdi, että leikkuupöydän toinen sivu on leikatun nurmen päällä, jolloin leikkuupöytään pääsee ilmaa.
Varmista, ettei leikkuupöytä leikkaa nurmen mahdollisia epätasaisia kohtia paljaaksi, leikkaamalla ruoho hieman tavallista pidemmäksi. Aikaisemmin käytetty leikkuukorkeus on kuitenkin yleensä sopivin. Kun leikattava ruoho on yli 15 cm:n pituista, hyvä leikkuujälki voidaan varmistaa leikkaamalla se kaksi kertaa.
Ruohonkorren pituudesta kannattaa leikata vain noin kolmasosa. Suuremman määrän leikkaamista ei suositella, ellei ruoho ole harvaa tai ole myöhäinen syksy, jolloin ruoho kasvaa hitaammin.
Vaihtele leikkuusuuntaa, jotta ruoho pysyy pystyssä. Tämä helpottaa myös leikkuujätteen levittämistä, joka puolestaan edistää maatumista ja lannoitusta.
Ruoho kasvaa eri nopeudella eri vuodenaikoina. Leikkuukorkeus voidaan pitää samana leikkaamalla ruoho useammin keväällä. Vähennä leikkuukertoja keskikesällä, jolloin ruohon kasvu hidastuu. Jos ruohoa ei jostain syystä voida leikata pitkähköön aikaan, käytä ensin korkeaa leikkuukorkeutta. Leikkaa ruoho sitten uudelleen parin päivän kuluttua alemmalla korkeusasetuksella.
Leikkuujäljen parantamiseksi ajonopeutta kannattaa hidastaa tietyissä olosuhteissa.
Suurenna leikkuukorkeutta epätasaista nurmea leikattaessa, jotta nurmi ei leikkaudu paljaaksi.
Jos koneen liike eteenpäin on pysäytettävä kesken leikkuun, nurmikolle saattaa pudota kasa leikkuujätettä. Jotta näin ei kävisi, siirry aiemmin leikatulle alueelle terät kytkettyinä tai vapauta leikkuupöytä eteenpäin ajaessasi.
Poista leikkuujätteet ja lika leikkuupöydän alapuolelta aina käytön jälkeen. Jos leikkuupöydän sisälle kertyy ruohoa ja likaa, leikkuujäljestä tulee ennen pitkää epätyydyttävä.
Pidä terä terävänä koko leikkuukauden ajan. Terävä terä leikkaa ruohon siistimmin ruohonkorsia repimättä. Repeytymien vuoksi ruohon reunat muuttuvat ruskeiksi, mikä heikentää kasvua ja altistaa kasvisairauksille. Tarkista aina käytön jälkeen, että leikkuuterät ovat terävät ja että ne eivät ole kuluneet tai vaurioituneet. Viilaa mahdolliset lovet pois ja teroita terät tarpeen mukaan. Jos terä on vaurioitunut tai kulunut, vaihda se aitoon Toro-vaihtoterään.
Kytke seisontajarru, sammuta moottori, irrota virta-avain ja odota, että kaikki liikkuvat osat ovat pysähtyneet, ennen kuin poistut käyttäjän paikalta. Anna koneen jäähtyä ennen huoltoa, säätämistä, tankkausta, puhdistusta tai varastointia.
Vähennä tulipalon vaaraa poistamalla ruoho ja roskat leikkuuyksiköstä, äänenvaimentimesta, käyttöyksiköistä, ruohonkerääjästä ja moottoritilasta. Puhdista öljy- ja polttoaineroiskeet.
Sulje polttoaineen sulkuventtiili ja irrota virta-avain ennen koneen varastointia tai kuljetusta.
Sulje polttoaineen sulkuventtiili koneen kuljetuksen, huollon ja varastoinnin ajaksi (Kuva 34).
Varmista, että polttoaineen sulkuventtiili on avoinna, kun käynnistät moottorin.


Kädet saattavat takertua moottorikannen alla pyöriviin vetokoneiston osiin, mikä voi johtaa vakavaan loukkaantumiseen.
Sammuta moottori, irrota avain ja anna liikkuvien osien pysähtyä, ennen kuin kosket vetopyörien ohitusventtiileihin.
Moottori ja hydrauliset vetoyksiköt voivat olla erittäin kuumia. Kuuman moottorin tai hydraulisten vetoyksiköiden koskettaminen voi aiheuttaa vakavia palovammoja.
Anna moottorin ja hydraulisten vetoyksiköiden jäähtyä kokonaan, ennen kuin kosket vetopyörien ohitusventtiileihin.
Vetopyörien ohitusventtiilit sijaitsevat vasemmalla ja oikealla puolella moottorikannen alla.
Pysäköi kone tasaiselle alustalle, vapauta teräkytkin ja kytke seisontajarru.
Sammuta moottori, irrota avain ja odota, että kaikki liikkuvat osat ovat pysähtyneet, ennen kuin poistut käyttäjän paikalta.
Jos konetta on työnnettävä, siirrä molemmat ohitusvivut eteen ja lukitse ne paikoilleen (Kuva 35).
Vapauta seisontajarru ennen koneen työntämistä.
Kun haluat käyttää konetta, siirrä molemmat ohitusvivut taakse ja lukitse ne paikoilleen (Kuva 35).

Koneella voidaan vetää perävaunuja ja lisälaitteita. Saatavilla olevat vetokoukut saat valtuutetulta Toro-jälleenmyyjältä.
Koneella voidaan vetää perävaunuja, joiden perävaunun kokonaispaino on enintään 113 kg.
Älä ylitä 22 kg:n aisapainoa koneen vetokoukussa.
Älä ylikuormita konetta tai perävaunua, kun kuljetat lastia tai vedät perävaunua. Ylikuormitus voi heikentää suorituskykyä tai vaurioittaa hydraulisia vetoyksiköitä, renkaita ja runkoa.
Pysäköi kone tasaiselle alustalle, vapauta teräkytkin (voimanulosotto) ja kytke seisontajarru.
Sammuta moottori, irrota avain ja odota, että kaikki liikkuvat osat ovat pysähtyneet, ennen kuin poistut käyttäjän paikalta.
Työnnä vetolaitteen pallokannatin koneen takaosassa olevaan vastakappaleeseen.
Työnnä hinaustappi vastakappaleen ja vetolaitteen pallokannattimen reikien läpi.
Kiinnitä vetokoukku sokalla.

Käytä koneen kuljetukseen raskaaseen käyttöön tarkoitettua perävaunua tai kuorma-autoa. Käytä täysleveää ramppia. Varmista, että perävaunussa tai kuljetusajoneuvossa on kaikki lain vaatimat jarrut, valot ja merkinnät. Lue huolellisesti kaikki turvaohjeet. Nämä tiedot auttavat suojaamaan sinua ja sivullisia loukkaantumiselta. Noudata perävaunujen käyttöä ja kiinnitysvaatimuksia koskevia paikallisia määräyksiä.
Kaduilla ja teillä ajaminen ilman suuntavilkkuja, valoja, heijastavia merkintöjä tai hitaan ajoneuvon merkkiä on vaarallista ja saattaa aiheuttaa henkilövahinkoihin johtavan onnettomuuden.
Älä aja koneella julkisella tiellä tai kadulla.
Koneen lastaaminen perävaunuun tai kuorma-autoon lisää kaatumisen mahdollisuutta, mikä voi aiheuttaa vakavan loukkaantumisen tai kuoleman (Kuva 37).
Käytä vain täysleveää ramppia. Älä käytä erillisiä ramppeja koneen molemmilla puolilla.
Rampin ja maan tai rampin ja perävaunun tai kuorma-auton välinen kulma ei saa olla yli 15 astetta.
Varmista, että rampin pituus on vähintään neljä kertaa pidempi kuin perävaunun tai kuorma-auton lavan korkeus maahan. Näin varmistetaan, että rampin kulma tasaiseen maahan ei ylitä 15:ta astetta.

Koneen lastaaminen perävaunuun tai kuorma-autoon lisää kaatumisen mahdollisuutta, mikä voi aiheuttaa vakavan loukkaantumisen tai kuoleman.
Ole erittäin varovainen käyttäessäsi konetta rampilla.
Peruuta kone ylös ramppia ja aja eteenpäin alas ramppia.
Vältä äkillistä kiihdytystä tai hidastusta konetta rampilla ajettaessa, sillä tämä voi aiheuttaa hallinnan menetyksen tai kaatumisen.
Jos käytät perävaunua, kiinnitä se vetoajoneuvoon ja käytä turvaketjuja.
Kytke tarvittaessa perävaunun jarrut ja valot.
Laske ramppi ja varmista, että rampin ja maan välinen kulma ei ylitä 15:tä astetta (Kuva 37).
Aja ramppia ylös peruuttamalla (Kuva 38).

Sammuta moottori, irrota avain ja kytke seisontajarru.
Kiinnitä kone etukääntöpyörien ja takarungon läheltä hihnoilla, ketjuilla, kaapelilla tai köysillä (Kuva 39). Noudata kiinnitysvaatimuksia koskevia paikallisia määräyksiä.

Jos jätät avaimen virtalukkoon, joku voi vahingossa käynnistää moottorin ja vahingoittaa vakavasti lähellä olijoita. Irrota avain virtalukosta ennen huoltoa.
Suorita seuraavat toimenpiteet ennen käyttäjän paikalta poistumista:
Pysäköi kone tasaiselle alustalle.
Vapauta käytöt.
Kytke seisontajarru.
Sammuta moottori ja irrota virta-avain.
Anna koneen osien jäähtyä ennen huollon suorittamista.
Älä anna tehtävään kouluttamattomien henkilöiden huoltaa konetta.
Pidä kädet ja jalat etäällä liikkuvista osista ja kuumista pinnoista. Älä tee säätöjä moottorin ollessa käynnissä, jos mahdollista.
Vapauta paine varovasti osista, joihin on varastoitunut energiaa.
Tarkista seisontajarrun toiminta säännöllisesti. Säädä ja huolla sitä tarvittaessa.
Älä koskaan peukaloi turvalaitteita. Tarkista säännöllisesti, että ne toimivat asianmukaisesti.
Estä tulipalon vaara poistamalla ruoho ja jäte leikkuuyksiköstä, äänenvaimentimesta, käyttöyksiköistä, ruohonkerääjästä ja moottoritilasta.
Puhdista pois öljy- ja polttoaineroiskeet ja polttoaineesta kastuneet roskat.
Älä tue konetta hydraulisen tai mekaanisen tunkin varaan. Kun kone nostetaan, tue se alustapukeilla.
Pidä kaikki osat hyvässä kunnossa ja kaikki kiinnitysosat tiukalla, erityisesti terien kiinnikkeet. Vaihda kaikki kuluneet tai vaurioituneet tarrat.
Ennen koneen korjausta irrota kaapeli akun miinusnavasta.
Optimaalinen suorituskyky varmistetaan käyttämällä vain aitoja Toro-varaosia ja -lisävarusteita. Muiden valmistajien varaosat ja lisävarusteet voivat osoittautua vaarallisiksi, ja niiden käyttö voi johtaa tuotteen takuun raukeamiseen.
| Huoltoväli | Huoltotoimenpide |
|---|---|
| 100 ensimmäisen käyttötunnin jälkeen |
|
| Aina ennen käyttöä tai päivittäin |
|
| Jokaisen käytön jälkeen |
|
| 50 käyttötunnin välein |
|
| 100 käyttötunnin välein |
|
| 200 käyttötunnin välein |
|
| 250 käyttötunnin välein |
|
| 400 käyttötunnin välein |
|
| 400 käyttötunnin välein tai kerran vuodessa sen mukaan, kumpi saavutetaan ensin |
|
| 500 käyttötunnin välein |
|
| Kuukausittain |
|
| Vuosittain |
|
| Vuosittain tai ennen varastointia |
|
Important: Lisää huoltotoimenpiteitä on moottorin käyttöoppaassa.
Jos jätät avaimen virtalukkoon, joku voi vahingossa käynnistää moottorin ja vahingoittaa vakavasti lähellä olijoita.
Sammuta moottori ja irrota virta-avain virtalukosta ennen kaikkia huoltotoimia.
Vapauta leikkuupöydän verho irrottamalla sokka, jotta pääset käsiksi leikkuupöydän yläosaan. Huollon jälkeen asenna verho takaisin käyttämällä aiemmin irrotettua sokkaa.
Irrota metallinen suojuslevy löysäämällä kahta etupulttia, jotta pääset käsiksi leikkurin hihnoihin ja karoihin (Kuva 40). Kun huoltotoimenpide on suoritettu, asenna metallinen suojuslevy ja kiristä pultit.

Rasvaa kone useammin likaisissa tai pölyisissä olosuhteissa.
Rasvatyyppi: litiumrasva nro 2 tai molybdeenirasva
Pysäköi kone tasaiselle alustalle, vapauta teräkytkin ja kytke seisontajarru.
Sammuta moottori, irrota avain ja odota, että kaikki liikkuvat osat ovat pysähtyneet, ennen kuin poistut käyttäjän paikalta.
Puhdista rasvanipat rievulla.
Note: Raaputa rasvanippoihin mahdollisesti roiskunut maali pois.
Liitä voitelupistooli nippaan.
Pumppaa rasvaa nippoihin, kunnes rasvaa alkaa tihkua laakereista.
Pyyhi pois liika rasva.
| Huoltoväli | Huoltotoimenpide |
|---|---|
| 100 käyttötunnin välein |
|
Voitele leikkuupöydän nostotapit ohuella öljyllä tai voitelusuihkeella.

| Huoltoväli | Huoltotoimenpide |
|---|---|
| 400 käyttötunnin välein |
|
| Vuosittain |
|
Pysäköi kone tasaiselle alustalle, vapauta teräkytkin ja kytke seisontajarru.
Sammuta moottori, irrota avain ja odota, että kaikki liikkuvat osat ovat pysähtyneet, ennen kuin poistut käyttäjän paikalta.
Irrota pölykapseli ja säädä kääntöpyörien nivelet. Asenna pölykapseli takaisin vasta rasvauksen jälkeen. Katso kohta Koneen voitelu.
Irrota kuusiotulppa.
Kierrä rasvanippa reikään.
Pumppaa rasvaa nippaan, kunnes rasvaa alkaa tihkua ylimmästä laakerista.
Irrota rasvanippa reiästä. Asenna kuusiotulppa ja pölykapseli.
| Huoltoväli | Huoltotoimenpide |
|---|---|
| Vuosittain |
|
Pysäköi kone tasaiselle alustalle, vapauta teräkytkin ja kytke seisontajarru.
Sammuta moottori, irrota avain ja odota, että kaikki liikkuvat osat ovat pysähtyneet, ennen kuin poistut käyttäjän paikalta.
Nosta leikkuri maasta.
Irrota kääntöpyörä haarukasta.
Irrota tiivistesuojukset pyörännavasta.

Irrota välikemutteri kääntöpyörän akselikokoonpanosta.
Note: Välikemutterit on kiinnitetty akseliin kierrelukitusaineella.
Irrota akseli pyöräkokoonpanosta (toisen välikemutterin ollessa vielä kiinnitettynä).
Väännä tiivisteet irti ja tarkista, että laakerit eivät ole kuluneet tai vaurioituneet. Vaihda ne tarvittaessa.
Tiivistä laakerit yleisrasvalla.
Asenna yksi laakeri ja yksi uusi tiiviste pyörään.
Jos molemmat välikemutterit puuttuvat akselikokoonpanosta, lisää kierrelukitetta yhteen välikemutteriin ja kierrä se akseliin niin, että avainlappeet osoittavat ulospäin.
Note: Älä kierrä välikemutteria kokonaan akselin päähän. Jätä välikemutterin ulkopinnan ja akselin pään väliin noin 3 mm:n väli mutterin sisällä.
Asenna mutterin ja akselin kokoonpano pyörän sille puolelle, jolla on uusi tiiviste ja laakeri.
Pyörän avoimen puolen osoittaessa ylöspäin täytä akselia ympäröivä alue pyörän sisällä kokonaan yleisrasvalla.
Asenna toinen laakeri ja toinen uusi tiiviste pyörään.
Levitä kierrelukitusainetta toiseen välikemutteriin ja kierrä se akseliin niin, että avainlappeet osoittavat ulospäin.
Kiristä mutteri momenttiin 8–9 N·m, löysää mutteri ja kiristä momenttiin 2–3 N·m.
Note: Varmista, että akseli ei ulotu kummankaan mutterin yli.
Asenna tiivistesuojukset pyörännavan päälle ja asenna pyörä kääntöpyörän haarukkaan.
Asenna kääntöpyörän pultti ja kiristä mutteri täysin.
Important: Tiivisteiden ja laakerien vauriot voidaan estää tarkistamalla laakereiden säätö riittävän usein. Pyöritä kääntöpyörän rengasta. Rengas ei saa pyöriä vapaasti (yhtä tai kahta kierrosta enemmän) eikä siinä saa olla sivuvälystä. Jos rengas pyörii vapaasti, säädä välikemutterin kiristystä, kunnes vastusta on hieman. Levitä toinen kerros kierrelukitusainetta.
Pidä kädet, jalat, kasvot ja muut kehonosat sekä vaatteet etäällä äänenvaimentimesta ja muista kuumista pinnoista. Anna moottorin osien jäähtyä ennen huollon suorittamista.
Älä muuta moottorin kierrosnopeussäätimen nopeutta tai käytä moottoria ylikierroksilla.
| Huoltoväli | Huoltotoimenpide |
|---|---|
| 250 käyttötunnin välein |
|
| 500 käyttötunnin välein |
|
Note: Huolla ilmanpuhdistin useammin, jos käyttöolosuhteet ovat erittäin pölyiset tai hiekkaiset.
Pysäköi kone tasaiselle alustalle, vapauta teräkytkin (voimanulosotto) ja kytke seisontajarru.
Sammuta moottori, irrota avain ja odota, että kaikki liikkuvat osat ovat pysähtyneet, ennen kuin poistut käyttäjän paikalta.
Avaa ilmanpuhdistimen salvat ja vedä ilmanpuhdistimen suojus pois ilmanpuhdistimen rungosta (Kuva 43).

Puhdista ilmanpuhdistimen suojuksen sisäpuoli paineilmalla.
Liu’uta pääsuodatin varovasti ulos ilmanpuhdistimen rungosta (Kuva 43).
Note: Älä kolhi suodatinta runkoa vasten.
Irrota varosuodatin vain, jos se on vaihdettava.
Tarkista varosuodatin. Jos se on likainen, vaihda sekä varosuodatin että pääsuodattimet.
Important: Älä yritä puhdistaa varosuodatinta. Pääsuodattimessa on vika, jos varosuodatin on likainen.
Tarkista, onko pääsuodattimessa vaurioita katsomalla sen läpi kirkasta valoa vasten. Jos pääsuodatin on likainen, taittunut tai vahingoittunut, vaihda se.
Note: Suodattimessa olevat reiät näkyvät kirkkaina pisteinä. Älä puhdista pääsuodatinta.
Important: Käytä moottoria aina molemmat ilmansuodattimet ja suojus asennettuina, jotta moottori ei vaurioidu.
Tarkista uusia suodattimia asentaessasi, ettei niissä ole kuljetusvaurioita.
Note: Älä käytä viallista suodatinta.
Jos vaihdat sisäsuodattimen, liu’uta se varovasti suodattimen runkoon (Kuva 43).
Liu’uta pääsuodatin varovasti varosuodattimen päälle (Kuva 43).
Note: Varmista, että pääsuodatin asettuu oikein paikalleen, puristamalla sen ulkokehää asennuksen aikana.
Important: Älä paina suodattimen pehmeää sisäpuolta.
Asenna ilmansuodattimen suojus ja lukitse salvat (Kuva 43).
| Huoltoväli | Huoltotoimenpide |
|---|---|
| Aina ennen käyttöä tai päivittäin |
|
| 100 käyttötunnin välein |
|
| 200 käyttötunnin välein |
|
Öljylaatu: pesevä öljy (API-huoltoluokitus SF, SG, SH, SJ tai SL).
Kampikammion tilavuus:
Kawasaki FX691 -moottorit: 2,0 litraa, jos suodatin vaihdetaan, ja 1,8 litraa ilman suodattimen vaihtoa
Kawasaki FX801 -moottorit: 2,3 litraa, jos suodatin vaihdetaan, ja 2,1 litraa ilman suodattimen vaihtoa
Viskositeetti: Katso seuraava taulukko.

Note: Vaikka 10W-40-moottoriöljyä suositellaan useimpiin olosuhteisiin, öljyn viskositeettia on ehkä muutettava ilmaolosuhteiden perusteella. 20W-50-moottoriöljyn käyttö korkeammissa lämpötiloissa saattaa vähentää öljynkulutusta.
Note: Tarkista öljymäärä moottorin ollessa kylmä.
Important: Jos moottorin kampikammioon laitetaan liikaa tai liian vähän öljyä ja moottoria käytetään, moottori saattaa vaurioitua.
Pysäköi kone tasaiselle alustalle, vapauta teräkytkin (voimanulosotto) ja kytke seisontajarru.
Sammuta moottori, irrota avain ja odota, että kaikki liikkuvat osat ovat pysähtyneet, ennen kuin poistut käyttäjän paikalta.
Note: Varmista, että moottori on jäähtynyt, jotta öljy on ehtinyt valua öljypohjaan.
Puhdista öljyntäyttökorkin ja mittatikun ympäristö ennen korkin irrottamista, jotta moottoriin ei pääse likaa, leikkuujätteitä tai muita roskia (Kuva 45).


Note: Toimita käytetty öljy jälleenkäsittelylaitoksen hävitettäväksi.
Käynnistä moottori ja anna sen käydä viisi minuuttia.
Note: Näin öljy lämpenee ja tulee juoksevammaksi.
Pysäköi kone siten, että valutuspuoli on hieman vastakkaista puolta alempana, jotta kaikki öljy valuu pois.
Vapauta teräkytkin (voimanulosotto) ja kytke seisontajarru.
Sammuta moottori, irrota avain ja odota, että kaikki liikkuvat osat ovat pysähtyneet, ennen kuin poistut käyttäjän paikalta.
Tyhjennä öljy moottorista (Kuva 46).


Kaada hitaasti noin 80 % määritetystä öljymäärästä täyttöputkeen ja lisää hitaasti siten, että sitä on Full-merkkiin asti (Kuva 47).

Käynnistä moottori ja aja tasaiselle alustalle.
Tarkista öljymäärä uudelleen.
Tyhjennä öljy moottorista. Katso kohta Moottoriöljyn vaihto.
Vaihda moottorin öljynsuodatin (Kuva 48).


Note: Varmista, että öljynsuodattimen tiiviste koskettaa moottoria, ja käännä sitten suodatinta vielä ¾ kierrosta.
Täytä kampikammio sopivalla, uudella öljyllä. Katso kohta Moottoriöljyn tekniset tiedot.
| Huoltoväli | Huoltotoimenpide |
|---|---|
| 100 käyttötunnin välein |
|
Varmista, että keski- ja sivuelektrodien kärkiväli on oikea, ennen kuin asennat sytytystulpan. Irrota ja asenna sytytystulppa käyttäen apuna sytytystulpan avainta. Tarkista ja säädä kärkiväliä kärkivälin työkalulla tai rakotulkilla. Asenna tarvittaessa uusi sytytystulppa.
Sytytystulpan tyyppi:
Kawasaki FX691- ja FX801 -moottorit:NGK® BPR4ES tai vastaava
Kärkiväli: 0,75 mm
Pysäköi kone tasaiselle alustalle, vapauta teräkytkin (voimanulosotto) ja kytke seisontajarru.
Sammuta moottori, irrota avain ja odota, että kaikki liikkuvat osat ovat pysähtyneet, ennen kuin poistut käyttäjän paikalta.
Puhdista sytytystulpan ympäristö, jotta moottoriin ei pääse likaa tai roskia.
Paikanna ja irrota sytytystulpat kuvan mukaisesti (Kuva 49).


Important: Älä puhdista sytytystulppia. Sytytystulppa tulee vaihtaa aina, kun eriste on mustunut, kun elektrodit ovat kuluneet tai kun tulpassa on öljykalvo tai murtumia.
Jos näet eristeessä vaaleanruskeata tai harmaata, moottori toimii moitteettomasti. Jos eriste on mustunut, ilmanpuhdistin on yleensä likainen.
Säädä kärkiväliksi 0,76 mm.


Tietyissä oloissa polttoaine on hyvin tulenarkaa ja räjähdysherkkää. Polttoaineen aiheuttama tulipalo tai räjähdys voi aiheuttaa palovammoja ja omaisuusvahinkoja.
Kohdassa Polttoaineturvallisuus on täydellinen luettelo polttoaineeseen liittyvistä varotoimenpiteistä.
| Huoltoväli | Huoltotoimenpide |
|---|---|
| 500 käyttötunnin välein |
|
Important: Asenna polttoaineletkut ja kiinnitä ne nippusiteillä samaan tapaan kuin ne asennettiin valmistusvaiheessa. Näin polttoaineletkut pysyvät etäällä osista, jotka saattaisivat vaurioittaa letkuja.
Älä asenna likaista suodatinta sen jälkeen, kun se on irrotettu polttoaineputkesta.
Polttoainesuodatin sijaitsee lähellä moottoria sen edessä vasemmalla.
Pysäköi kone tasaiselle alustalle, vapauta teräkytkin (voimanulosotto) ja kytke seisontajarru.
Sammuta moottori, irrota avain ja odota, että kaikki liikkuvat osat ovat pysähtyneet, ennen kuin poistut käyttäjän paikalta.
Anna koneen jäähtyä.
Vaihda polttoainesuodatin (Kuva 52).
Note: Varmista, että uuden suodattimen virtaussuunnan nuoli osoittaa moottoria kohti.

Älä yritä tyhjentää polttoainesäiliötä. Varmista, että polttoainesäiliön tyhjentää ja polttoainejärjestelmän osat huoltaa valtuutettu huoltoliike.
Ennen koneen korjausta irrota kaapeli akun miinusnavasta.
Lataa akku avoimessa tilassa, jossa on hyvä ilmanvaihto, kaukana kipinöistä ja avotulesta. Irrota laturin virtajohto ennen kuin kytket laturin akkuun tai irrotat sen akusta. Käytä suojavaatetusta ja eristettyjä työkaluja.
| Huoltoväli | Huoltotoimenpide |
|---|---|
| Kuukausittain |
|
Akun navat tai metallityökalut voivat aiheuttaa oikosulun koskettaessaan koneen metalliosia, mistä voi seurata kipinöitä. Kipinät voivat saada akun kaasut räjähtämään ja aiheuttaa siten henkilövahingon.
Kun irrotat tai asennat akun, älä anna akun napojen koskettaa koneen metalliosia.
Älä anna metallityökalujen aiheuttaa oikosulkua akun napojen ja koneen metalliosien välille.
Akun kaapeleiden virheellinen irrotus voi vahingoittaa konetta ja kaapeleita aiheuttaen kipinöitä. Kipinät voivat saada akun kaasut räjähtämään ja aiheuttaa siten henkilövahingon.
Irrota aina akun miinuskaapeli (musta) ennen pluskaapelin (punainen) irrottamista.
Kytke aina akun pluskaapeli (punainen) ennen miinuskaapelia (musta).
Pysäköi kone tasaiselle alustalle, vapauta teräkytkin (voimanulosotto) ja kytke seisontajarru.
Sammuta moottori, irrota avain ja odota, että kaikki liikkuvat osat ovat pysähtyneet, ennen kuin poistut käyttäjän paikalta.
Irrota akku kuvan mukaisesti (Kuva 53).


Akun latauksen yhteydessä syntyy räjähdysherkkiä kaasuja.
Älä tupakoi akun lähettyvillä. Älä päästä kipinöitä tai liekkejä kosketuksiin akun kanssa.
Important: Pidä akku aina täysin ladattuna (ominaispaino 1,265). Tämä on erityisen tärkeää siksi, että näin ehkäistään akun vahingoittuminen, kun lämpötila on alle 0° C.
Irrota akku alustasta. Katso kohta Akun irrotus.
Lataa akkua 10–15 minuuttia 25–30 ampeerin sähkövirralla tai 30 minuuttia 10 ampeerin virralla.
Note: Älä lataa akkua liikaa.
Kun akku on ladattu täyteen, irrota laturi sähköliitännästä. Irrota sitten laturin johtimet akun navoista (Kuva 54).
Asenna akku koneeseen ja kytke akun kaapelit. Katso kohta Akun asennus.
Note: Älä käytä konetta, kun akkua ei ole kytketty. Se voi aiheuttaa sähkövaurioita.

Aseta akku alustalle siten, että navat ovat hydraulisäiliötä vastapäätä (Kuva 53).
Asenna pluskaapeli (punainen) akun plusnapaan (+).
Kytke akun miinuskaapeli (musta) ja maadoitusjohto akun miinusnapaan (–).
Note: Varmista MyRide-koneissa, että maadoituskaapeli ei hankaudu pitkittäistä tukivartta tai alempaa vaimentimen kiinnitystä vasten (Kuva 55).

Kiinnitä kaapelit kahdella pultilla, kahdella aluslaatalla ja kahdella lukkomutterilla (Kuva 53).
Vedä punainen navan suojus akun plusnavan (+) päälle.
Kiinnitä akku kumihihnalla (Kuva 53).
Sähköjärjestelmä on suojattu sulakkeilla. Huoltoa ei tarvita. Jos sulake kuitenkin palaa, tarkista osa ja virtapiiri toimintavian tai oikosulun varalta.
Sulakkeet sijaitsevat oikeassa konsolissa istuimen vieressä (Kuva 56).
Vaihda sulakkeet vetämällä ensin vanha sulake irti.
Asenna uusi sulake (Kuva 56).

| Huoltoväli | Huoltotoimenpide |
|---|---|
| Aina ennen käyttöä tai päivittäin |
|
Tarkasta, että turvavyön vetolaite ja solki toimivat kunnolla ja ettei turvavyössä ole kulumia tai repeämiä. Vaihda turvavyö, jos se on vaurioitunut.
Vapauta teräkytkin (voimanulosotto).
Aja avoimelle ja tasaiselle alueelle ja lukitse liikkeenohjausvivut VAPAA-asentoon.
Siirrä kaasuvipu HIDAS- ja NOPEA-asennon puoliväliin.
Siirrä molemmat liikkeenohjausvivut eteen, kunnes ne osuvat T-aukon pysäyttimiin.
Tarkista, mihin suuntaan kone vetää.
Jos kone vetää oikealle, aseta 3/16 tuuman kuusioavain vasemmanpuoleisen etusuojapaneelin aukon läpi ja säädä vivun liikerataa kääntämällä ohjauskulman säätöruuvia myötä- tai vastapäivään (Kuva 57).
Jos kone vetää vasemmalle, aseta 3/16 tuuman kuusioavain oikeanpuoleisen etusuojapaneelin aukon läpi ja säädä vivun liikerataa kääntämällä ohjauskulman säätöruuvia myötä- tai vastapäivään (Kuva 57).
Aja koneella ja tarkista ohjauskulman toiminta eteenpäin ajossa.
Toista säätö, kunnes haluttu ohjauskulma on saavutettu.

| Huoltoväli | Huoltotoimenpide |
|---|---|
| 50 käyttötunnin välein |
|
Kääntöpyörien ja takarenkaiden oikea rengaspaine on 0,9 bar. Epätasainen rengaspaine saattaa tehdä leikkuujäljestä epätasaisen. Tarkista paine, kun renkaat ovat kylmät, jotta painelukema on mahdollisimman tarkka.

Tarkista pyöränmuttereiden kireys ja kiristä ne momenttiin 122–136 N·m.
| Huoltoväli | Huoltotoimenpide |
|---|---|
| 100 ensimmäisen käyttötunnin jälkeen |
|
| 500 käyttötunnin välein |
|
Note: Varmista, että seisontajarru on säädetty oikein. Tämä toimenpide on tehtävä ensimmäisen 100 käyttötunnin jälkeen tai jarrukomponentin irrotuksen tai vaihdon yhteydessä.
Pysäköi kone tasaiselle alustalle.
Vapauta teräkytkin (voimanulosotto), siirrä liikkeenohjausvivut LUKITTU VAPAA ‑asentoon ja kytke seisontajarru.
Sammuta kone, irrota avain ja odota, että kaikki liikkuvat osat ovat pysähtyneet, ennen kuin poistut käyttäjän paikalta.
Valmistele kone työntämistä varten. Katso Vetopyörien ohitusventtiilien käyttö.
Nosta koneen takaosa ja tue se akselipukeilla.
Koneen nostaminen pelkästään mekaanisilla tai hydraulisilla tunkeilla huollon tai kunnossapidon aikana voi olla vaarallista, koska tunkit eivät välttämättä tue riittävästi tai ne voivat vioittua. Tällöin kone voi pudota ja aiheuttaa vakavia vammoja.
Älä tue konetta pelkästään mekaanisten tai hydraulisten tunkkien varaan. Käytä asianmukaisia pukkeja tai vastaavaa tukea.
Kytke ja vapauta seisontajarru ja tarkista jokaisen vetävän pyörän kohdalla, että jarru kytkeytyy ja vapautuu oikein.
Jos säätö on tarpeen, vapauta seisontajarru. Tarkasta seisontajarrun vivuston kaikki osat kulumisen varalta. Vaihda mahdolliset kuluneet osat (Kuva 59) ja toista vaihe 6.

Tarkista molempien jousien pituus kuvan mukaisesti (Kuva 60). Jos säätö on tarpeen, lyhennä jousta kääntämällä jousen kiinnitysmutteria myötäpäivään tai pidennä jousta kääntämällä mutteria vastapäivään. Toista vaihe 6.

Kun säätö on valmis, poista pukit tai vastaavat tuet ja laske kone alas.
Aseta kone KäYTTöASENTOON. Katso kohta Vetopyörien ohitusventtiilien käyttö.
| Huoltoväli | Huoltotoimenpide |
|---|---|
| 50 käyttötunnin välein |
|
Vaihda hihna, jos se on kulunut. Kuluneen hihnan merkkejä ovat vinkuminen hihnan pyöriessä, luistavat terät ruohoa leikattaessa, rispaantuneet hihnan reunat, palojäljet ja murtumat hihnassa.
Pysäköi kone tasaiselle alustalle, vapauta teräkytkin (voimanulosotto) ja kytke seisontajarru.
Sammuta moottori, irrota avain ja odota, että kaikki liikkuvat osat ovat pysähtyneet, ennen kuin poistut käyttäjän paikalta.
Laske leikkuri 76 mm:n leikkuukorkeuteen.
Löysää kunkin hihnasuojuksen pulttia.
Vapauta leikkuupöydän verho irrottamalla sokka. Katso kohta Leikkuupöydän verhon vapautus.
Irrota metallinen suojuslevy. Katso kohta Metallisen suojuslevyn irrotus.
Irrota hihnasuojukset (Kuva 61).

Löysää kiristinpyörän jousen jännitystä â…œ tuuman räikän avulla kiristinpyörän varren nelikulmaisesta aukosta (Kuva 62).
Irrota hihna leikkuupöydän hihnapyöristä ja kytkimen hihnapyörästä.
Irrota hihnaohjain jousikuormitteisen kiristinpyörän varresta (Kuva 62).
Irrota vanha hihna.
Asenna uusi hihna leikkurin hihnapyörien ja moottorin alla olevan kytkimen hihnapyörän ympärille (Kuva 62).

Asenna hihnaohjain kiristinpyörän varteen (Kuva 62).
Asenna kiristinpyörän jousi â…œ tuuman räikän avulla nelikulmaisesta aukosta (Kuva 62).
Note: Varmista, että jousen päät ovat ankkurin urissa.
Asenna hihnasuojukset (Kuva 63).

Pysäköi kone tasaiselle alustalle, vapauta teräkytkin (voimanulosotto) ja kytke seisontajarru.
Sammuta moottori, irrota avain ja odota, että kaikki liikkuvat osat ovat pysähtyneet, ennen kuin poistut käyttäjän paikalta.
Irrota leikkurin hihna. Katso kohta Leikkurin hihnan vaihto.
Nosta kone ja tue se pukeilla.
Poista kiristinpyörän jousen jännite ½ tuuman räikän tai vääntötangon avulla yhdestä kiristinpyörän varren nelikulmaisista aukoista (Kuva 64).
Irrota nykyinen hihna kiristinpyörästä, kahdesta hydraulipumpun hihnapyörästä ja moottorin hihnapyörästä (Kuva 64)
Asenna uusi hihna kiristinpyörän, moottorin hihnapyörän ja kahden hydraulipumpun hihnapyörän ympärille (Kuva 64).
Asenna kiristinpyörän jousi ½ tuuman räikän tai vääntötangon avulla yhdestä nelikulmaisista aukoista.
Note: Varmista, että jousen päät ovat ankkurin urissa.
Asenna leikkurin hihna. Katso kohta Leikkurin hihnan vaihto.

Jos vipujen päät osuvat yhteen, katso kohta Liikkeenohjausvivuston säätö.
Liikkeenohjausvipuja voidaan säätää korkeammalle tai matalammalle omien tarpeiden mukaan.
Pysäköi kone tasaiselle alustalle, vapauta teräkytkin (voimanulosotto) ja kytke seisontajarru.
Sammuta moottori, irrota avain ja odota, että kaikki liikkuvat osat ovat pysähtyneet, ennen kuin poistut käyttäjän paikalta.
Irrota kiinnitystarvikkeet, jotka kiinnittävät ohjausvivun ohjausvarren akseliin.

Siirrä ohjausvipu seuraavien aukkojen kohdalle. Kiinnitä vipu kiinnitystarvikkeilla.
Toista säätö vastakkaiselle ohjausvivulle.
Pysäköi kone tasaiselle alustalle, vapauta teräkytkin (voimanulosotto) ja kytke seisontajarru.
Sammuta moottori, irrota avain ja odota, että kaikki liikkuvat osat ovat pysähtyneet, ennen kuin poistut käyttäjän paikalta.
Löysää ylempää pulttia, joka kiinnittää ohjausvivun ohjausvarren akseliin.
Löysää alempaa pulttia juuri sen verran, että ohjausvipu kääntyy pitkittäissuunnassa. Kiinnitä ohjausvipu uuteen asentoon kiristämällä molemmat pultit.
Toista säätö vastakkaiselle ohjausvivulle.

Pumpun ohjausvivustot sijaitsevat koneen molemmin puolin istuimen alla. Jotta kone ei liikkuisi ollessaan vapaalla vaihteella, sitä voi hienosäätää kiertämällä päätymutteria ½ tuuman hylsyavaimella. Säätöjä saa tehdä vain vapaa-asentoa varten.
Moottorin on oltava käynnissä ja vetopyörien on pyörittävä, jotta säätöjä voi tehdä. Kosketus liikkuviin osiin tai kuumiin pintoihin voi aiheuttaa tapaturman.
Pidä sormet, kädet ja vaatteet etäällä pyörivistä osista ja kuumista pinnoista.
Pysäköi kone tasaiselle alustalle, vapauta teräkytkin (voimanulosotto) ja kytke seisontajarru.
Sammuta moottori, irrota avain ja odota, että kaikki liikkuvat osat ovat pysähtyneet, ennen kuin poistut käyttäjän paikalta.
Työnnä leikkuupöydän nostopoljinta, irrota leikkuukorkeustappi ja laske leikkuupöytä maahan.
Nosta koneen takaosa ylös ja tue se akselipukeilla (tai vastaavilla tuilla) korkeudelle, jolla vetävät pyörät pyörivät juuri ja juuri esteettä.
Irrota sähköliitin istuimen turvakytkimestä, joka sijaitsee istuintyynyn alla.
Note: Kytkin on osa istuinkokoonpanoa.
Kytke hyppylanka tilapäisesti pääjohdinsarjan liittimen koskettimiin.
Käynnistä moottori, anna sen käydä täydellä kaasulla ja vapauta seisontajarru.
Note: Varmista ennen moottorin käynnistämistä, että seisontajarru on kytketty ja että liikkeenohjausvivut ovat ulkona. Istuimella ei tarvitse istua.
Käytä konetta vähintään viisi minuuttia liikkeenohjausvipujen ollessa täyden eteenpäinajonopeuden asennossa. Näin hydraulineste lämpenee käyttölämpötilaan.
Note: Liikkeenohjausvipujen on oltava vapaalla säätöjen aikana.
Siirrä liikkeenohjausvivut VAPAA-asentoon.
Varmista, että ohjauslevyn kielekkeet koskettavat vapaa-asennon palautuksen levyjä hydrauliyksiköissä.
Säädä pumpun ohjaustangon pituutta kiertämällä mutteria tarvittavaan suuntaan, kunnes pyörät pyörivät hitaasti taaksepäin (Kuva 67 ja Kuva 68).


Siirrä liikkeenohjausvivut PERUUTUS-asentoon ja paina vipua hieman, jolloin peruutuksen merkkivalon jouset palauttavat vivut takaisin vapaalle.
Note: Pyörien on pysähdyttävä tai pyörittävä hitaasti taaksepäin.
Note: Liikkeenohjauksen suojus on ehkä irrotettava pois tieltä.
Sammuta moottori.
Irrota hyppylanka johdinsarjasta ja kytke liitin istuinkytkimeen.
Poista pukit.
Nosta leikkuupöytä ja asenna leikkuukorkeustappi.
Varmista, että kone ei lähde liikkeelle vapaalta, kun seisontajarrua ei ole kytketty.
Jos nestettä pääsee ihon alle, hakeudu välittömästi lääkäriin. Lääkärin on poistettava neste kirurgisesti muutaman tunnin sisällä.
Varmista, että kaikki hydrauliletkut ja -putket ovat hyvässä kunnossa ja että kaikki hydrauliputkien liitokset ja kiinnitykset ovat tiukalla, ennen kuin lisäät hydraulijärjestelmän painetta.
Pidä keho ja kädet kaukana vuotavista rei’istä ja suuttimista, joista suihkuaa korkeapaineista hydraulinestettä.
Etsi hydraulinestevuotoja pahvin tai paperin avulla.
Poista paine varovasti hydraulijärjestelmästä, ennen kuin huollat järjestelmää.
Hydraulinesteen tyyppi: Toro® HYPR-OIL™ 500 -hydrauliöljy
Important: Käytä suositusten mukaista nestettä. Muut nesteet voivat vahingoittaa hydraulijärjestelmää.
Hydraulijärjestelmän tilavuus (ilman suodattimia): 7,57 l
| Huoltoväli | Huoltotoimenpide |
|---|---|
| Aina ennen käyttöä tai päivittäin |
|
Anna hydraulinesteen jäähtyä. Tarkista öljymäärä nesteen ollessa kylmää.
Tarkista paisuntasäiliö ja lisää tarvittaessa Toro® HYPR-OIL™ 500 -hydraulinestettä FULL COLD -viivaan asti (Kuva 69).

| Huoltoväli | Huoltotoimenpide |
|---|---|
| 100 ensimmäisen käyttötunnin jälkeen |
|
Hydraulinestettä vaihdettaessa suodattimet on irrotettava. Vaihda molemmat samalla kertaa. Katso nestettä koskevat tiedot kohdasta Hydraulinesteen laatuvaatimukset.
Poista ilma järjestelmästä uusien suodattimien asennuksen ja nesteen lisäyksen jälkeen. Katso kohta Hydraulijärjestelmän ilmaus. Toista ilmausvaiheet, kunnes neste pysyy säiliön FULL COLD -viivan tasalla ilmauksen jälkeen.
Important: Jos toimenpidettä ei tehdä oikein, vaihteistojärjestelmä voi vaurioitua pysyvästi.
Pysäköi kone tasaiselle alustalle, vapauta teräkytkin (voimanulosotto) ja kytke seisontajarru.
Sammuta moottori, irrota avain ja odota, että kaikki liikkuvat osat ovat pysähtyneet, ennen kuin poistut käyttäjän paikalta.
Anna moottorin jäähtyä.
Käytä jatketta ja 7/16 tuuman hylsyavainta, jotta pääset käsiksi ilmanpoistotulppaan koneen yläpuolelta turvakaaren kiinnityskohtien lähellä olevista aukoista (Kuva 70).
Note: Ole tarkkana ilmanpoistotulpan kanssa, sillä se on helppo kadottaa.

Puhdista huolellisesti suodatinta ympäröivä alue.
Important: Älä päästä likaa hydraulijärjestelmään kontaminaation välttämiseksi.
Aseta tyhjennysastia suodattimen alle suodattimen ja ilmanpoistotulppien irrotuksen yhteydessä valuvaa nestettä varten.
Irrota hydraulinestesuodattimen kansi vaihteistosta nesteen tyhjentämistä varten (Kuva 71).

Irrota O-rengas suodattimen kannesta ja hävitä O-rengas.
Kun hydraulineste on tyhjennetty vaihteistosta, irrota suodatin vaihteiston kotelosta.
Tee samat toimenpiteet koneen toisella puolella.
Asenna uusi suodatin vaihteistoon ja uusi O-rengas suodattimen kanteen.
Asenna suodattimen kansi.
Kiristä suodattimen kansi momenttiin 22,6–33,8 N·m.
Irrota paisuntasäiliön korkki ja täytä vaihteistoihin oikea määrä määrityksen mukaista nestettä.
Note: Vaihteistojen täyttäminen voi kestää odotettua kauemmin.
Asenna aiemmin irrotetut ilmanpoistotulpat ja kiristä ne momenttiin 3,95–9,04 N·m.
Siirry kohtaan Hydraulijärjestelmän ilmaus.
Important: Hydraulijärjestelmän ilmauksen laiminlyönti hydraulisuodattimien ja -nesteen vaihtamisen jälkeen voi vaurioittaa vaihteistojärjestelmää pysyvästi.
Nosta koneen takaosa ja tue se pukeilla (tai vastaavilla tuilla) korkeudelle, jolla vetävät pyörät pyörivät juuri ja juuri esteettä.

Käynnistä moottori, siirrä kaasuvipu ½-asentoon ja vapauta seisontajarru.
Siirrä ohitusvivut koneen työntöasentoon. Kun ohitusventtiilit on avattu ja moottori on käynnissä, siirrä liikkeenohjausvipuja hitaasti eteen ja taakse viisi tai kuusi kertaa.
Siirrä ohitusvivut koneen käyttöasentoon.
Kun ohitusventtiili on suljettu ja moottori on käynnissä, siirrä ohjausvipua eteen ja taakse viisi tai kuusi kertaa.
Sammuta moottori ja tarkista nesteen määrä paisuntasäiliössä. Lisää määrityksen mukaista nestettä, kunnes se saavuttaa paisuntasäiliön FULL COLD -viivan.
Toista vaihe 2, kunnes järjestelmästä on poistettu ilma kokonaan.
Note: Kun vaihteistosta toiminnan aikana kuuluvan äänen voimakkuus on normaali ja kun vaihteisto toimii tasaisesti eteenpäin ja peruuttaa normaaleilla nopeuksilla, vaihteisto on ilmattu.
Tarkista paisuntasäiliön nestemäärä vielä kerran. Lisää määrityksen mukaista nestettä, kunnes se saavuttaa paisuntasäiliön FULL COLD -viivan.
Terät on tarkistettava säännöllisesti kulumisen ja vaurioiden varalta.
Ole varovainen, kun tarkastat teriä. Kiedo terien ympärille esimerkiksi kangas tai käytä käsineitä ja noudata varovaisuutta teriä huoltaessasi. Terät saa ainoastaan vaihtaa tai teroittaa. Niitä ei saa suoristaa eikä hitsata.
Ole varovainen käsitellessäsi moniteräisiä koneita, sillä yhden terän kääntäminen saattaa kääntää myös muita teriä.
Vaihda kuluneet tai vaurioituneet terät ja pultit sarjoissa, jotta tasapaino säilyisi.
Terät on pidettävä terävinä, jotta leikkausjälki pysyy ensiluokkaisena. Jotta terien teroitus ja vaihto kävisi vaivattomasti, käytettävissä on hyvä olla muutamia vaihtoteriä.
Pysäköi kone tasaiselle alustalle, vapauta teräkytkin (voimanulosotto) ja kytke seisontajarru.
Sammuta moottori, irrota virta-avain ja irrota sytytystulppien johdot sytytystulpista.
| Huoltoväli | Huoltotoimenpide |
|---|---|
| Aina ennen käyttöä tai päivittäin |
|
Tarkasta leikkuusärmät (Kuva 73).
Jos särmät eivät ole teräviä tai niissä on lovia, irrota terä ja teroita se. Katso Terien teroitus.
Tarkasta terät, etenkin kupera alue.
Jos havaitset vähäisiäkään murtumisen, kulumisen tai urautumisen merkkejä tällä alueella, asenna uusi terä välittömästi (Kuva 73).

Note: Koneen on oltava tasaisella alustalla seuraavaa toimenpidettä varten.
Nosta leikkuupöytä ylimpään leikkuukorkeusasentoon.
Käytä pehmustettuja paksuja suojakäsineitä tai muita soveltuvia käsisuojaimia. Käännä terä hitaasti asentoon, jossa etäisyys leikkuusärmästä tasaiseen alustaan voidaan mitata (Kuva 74).

Mittaa etäisyys terän kärjestä tasaiseen alustaan (Kuva 75).

Käännä samaa terää 180 astetta niin, että vastakkainen leikkuusärmä on samassa asennossa (Kuva 76).

Mittaa etäisyys terän kärjestä tasaiseen alustaan (Kuva 77).
Note: Ero saa olla enintään 3 mm.

Jos A:n ja B:n välinen ero on suurempi kuin 3 mm, vaihda terä uuteen. Katso kohdat Terien irrotus ja Terien asennus.
Note: Jos taipuneen terän tilalle vaihdetaan uusi ja mittaustulos on edelleen yli 3 mm, terän kara saattaa olla taipunut. Ota yhteys valtuutettuun huoltoliikkeeseen.
Jos ero on hyväksytyissä rajoissa, siirry seuraavaan terään.
Toista toimenpide kullekin terälle.
Vaihda terät, jos ne osuvat kiinteään esineeseen tai jos terä on epätasapainossa tai taipunut.
Aseta kiintoavain kara-akselin tasaiseen osaan tai pidä kiinni terän päästä liinalla tai paksulla käsineellä.
Irrota teräpultti, holkki ja terä kara-akselista (Kuva 78).

Viilaa leikkuusärmä teräväksi terän molemmista päistä (Kuva 79).
Note: Säilytä alkuperäinen kulma.
Note: Terä säilyttää tasapainonsa, kun molemmista leikkuusärmistä poistetaan materiaalia yhtä paljon.

Tarkista terän tasapaino asettamalla se terän tasaimeen (Kuva 80).
Note: Jos terä pysyy vaaka-asennossa, se on tasapainossa ja sitä voidaan käyttää.
Note: Jos terä ei ole tasapainossa, viilaa sitä vähän vain siipialueelta (Kuva 79).

Toista, kunnes terä on tasapainossa.
Asenna holkki terän läpi niin, että holkin laippa on terän alapuolella (ruohon puolella) (Kuva 81).

Asenna holkki-/teräkokoonpano kara-akseliin (Kuva 82).

Levitä tarvittaessa kuparipohjaista voiteluainetta tai rasvaa teräpultin kierteisiin, jotta se ei juutu kiinni. Asenna teräpultti sormitiukkuuteen.
Aseta kiintoavain kara-akselin tasaiseen osaan, ja kiristä teräpultti momenttiin 75–81 N·m.
Varmista, että leikkuupöytä on vaakasuorassa aina leikkuria asentaessasi tai jos nurmikon leikkuujälki ei ole tasainen.
Ennen tasausta on tarkistettava, ettei leikkuupöydässä ole taipuneita teriä, ja kaikki taipuneet terät on irrotettava ja vaihdettava. Katso kohta Taipuneiden terien tarkistus ennen kuin jatkat.
Leikkuupöytä on tasattava sivusuunnassa ennen terän pituussuuntaisen kaltevuuden säätämistä.
Vaatimukset:
Koneen on oltava tasaisella alustalla.
Kaikkien renkaiden ilmanpaineen on oltava oikea. Katso kohta Rengaspaineen tarkistus.
Pysäköi kone tasaiselle alustalle, vapauta teräkytkin (voimanulosotto) ja kytke seisontajarru.
Sammuta moottori, irrota avain ja odota, että kaikki liikkuvat osat ovat pysähtyneet, ennen kuin poistut käyttäjän paikalta.
Tarkista vetävien renkaiden rengaspaineet. Katso kohta Rengaspaineen tarkistus.
Aseta leikkuupöytä kuljetuslukon asentoon tai korkeimpaan leikkuukorkeusasentoon.
Pyöritä teriä varovasti puolelta toiselle.
Mittaa terän kärjen ja tasaisen alustan väliltä (Kuva 83). Jos molemmat mitat eivät ole 5 mm:n sisällä toisistaan, tasausta on säädettävä. Jatka sitten toimenpidettä.

Tarkista terän pituussuuntainen kaltevuus (Kuva 84). Tarkista, että etummaisen terän kärki on pölkkyjen korkeuden ja kaltevuuden taulukon mukaisesti alempana kuin takimmaisen terän kärki. Jos säätö on tarpeen, jatka tätä toimenpidettä.

Aseta nurmisuojarullat ylimpiin reikiin tai poista ne kokonaan tämän säädön ajaksi.
Nosta leikkuupöytä kuljetusasentoon (140 mm).
Löysää hitaasti nostojousen säätöruuvia, kunnes voit irrottaa ruuvin (Kuva 85).
Note: Säilytä ruuvi asennusta varten.

Aseta kaksi pölkkyä (katso pölkkyjen korkeuden ja kaltevuuden taulukko) leikkuupöydän helman takareunan alle, yksi leikkuupöydän molemmille puolille (Kuva 86).
Aseta leikkuukorkeusvipu 76 mm:n asentoon. Katso Leikkuukorkeuden säätö.
Aseta kaksi pölkkyä leikkuupöydän etureunan molempien puolien alle niin, että ne eivät ole nurmisuojarullan kannattimien tai hitsaussaumojen alla.

| Leikkuupöydän koko | Etummaisen pölkyn korkeus | Kaltevuus |
| Kaikki leikkuupöydät | 73 mm | 4,8–6,4 mm |
Pyöritä teriä varovasti puolelta toiselle (Kuva 83).
Laske leikkuupöytä 76 mm:iin. Katso Leikkuukorkeuden säätö.
Löysää pultteja (Kuva 87) jokaisessa neljässä kulmassa ja varmista, että leikkuupöytä asettuu tukevasti neljän pölkyn varaan.
Poista välys leikkuupöydän ripustimista ja varmista, että leikkuupöydän noston jalkavipu on työnnetty pysäytintä vasten.
Kiristä neljä pulttia.

Varmista, että pölkyt asettuvat tiukasti leikkuupöydän helman alle ja että kaikki kiinnityspultit ovat kireällä.
Tasaa leikkuupöytä tarkistamalla terän kaltevuus pituussuunnassa.
Tarkista terien tasaus ja toista leikkuupöydän tasausvaiheet tarvittaessa.
Nosta leikkuupöytä kuljetusasentoon (140 mm).
Asenna nostojousen säätöruuvi, joka irrotettiin aiemmin vaiheessa 10.
Aseta jousen ja kannattimen välinen rako 22–29 mm:iin.
Lukitse leikkuupöydän jousikuormitetut varret ennen leikkuupöydän huoltoa tai irrotusta.
Pysäköi kone tasaiselle alustalle, vapauta teräkytkin (voimanulosotto) ja kytke seisontajarru.
Sammuta moottori, irrota avain ja odota, että kaikki liikkuvat osat ovat pysähtyneet, ennen kuin poistut käyttäjän paikalta.
Asenna korkeudensäätötappi 76 mm:n leikkuukorkeuden asentoon.
Irrota hihnasuojukset.
Löysää leikkuupöydän kiristinpyörää ja irrota leikkurin hihna. Katso kohta Hihnan huolto.
Irrota pultit ja mutterit levyn etupuolelta jalkatuen alta.
Irrota pultit ja mutterit koneen molemmilta puolilta ja säilytä ne (Kuva 88).
Liu’uta leikkuupöytä ulos koneen oikealle puolelle.

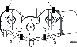
Jos heittoaukko ei ole peitossa, kone saattaa singota esineitä käyttäjän tai sivullisten suuntaan, mistä voi olla seurauksena vakava tapaturma. Seurauksena voi olla myös kosketus terään.
Älä käytä konetta ilman leikkuujätelevyä, heittokanavan suuntainta tai ruohonkeräysjärjestelmää.
Irrota lukkomutteri, pultti, jousi ja välikappale, joilla suuntain on kiinnitetty kääntökannattimiin (Kuva 89).
Irrota vaurioitunut tai kulunut suuntain (Kuva 89).

Aseta välikappale ja jousi suuntaimeen.
Aseta jousen yksi J-koukkupää leikkuupöydän reunan taakse.
Note: Varmista, että jousen yksi J-koukkupää on asennettu leikkuupöydän reunan taakse ennen pultin asennusta kuvan mukaisesti (Kuva 89).
Asenna pultti ja mutteri.
Aseta jousen J-koukkupää suuntaimen ympärille (Kuva 89).
Important: Suuntaimen on voitava kääntyä. Nosta suuntain ylös täysin avattuun asentoon ja varmista, että se pyörii täydelliseen ala-asentoon.
| Huoltoväli | Huoltotoimenpide |
|---|---|
| Jokaisen käytön jälkeen |
|
Pysäköi kone tasaiselle alustalle, vapauta teräkytkin (voimanulosotto) ja kytke seisontajarru.
Sammuta moottori, irrota avain ja odota, että kaikki liikkuvat osat ovat pysähtyneet, ennen kuin poistut käyttäjän paikalta.
Nosta leikkuupöytä KULJETUSASENTOON.
Puhdista jousitusjärjestelmä paineilmalla.
Note: Älä puhdista iskunvaimenninkokoonpanoja painepesurilla (Kuva 90).

Moottoriöljy, akut, hydraulineste ja moottorin jäähdytysneste saastuttavat ympäristöä. Ne on hävitettävä kansallisten ja paikallisten määräysten mukaisesti.
Sammuta moottori, irrota avain ja odota, että kaikki liikkuvat osat ovat pysähtyneet, ennen kuin poistut kuljettajan paikalta. Anna koneen jäähtyä ennen säätöä, huoltoa, puhdistusta tai varastointia.
Älä säilytä konetta tai polttoainetta lähellä avotulta tai tyhjennä polttoainetta sisätiloissa tai suljetun perävaunun sisällä.
Älä säilytä konetta tai polttoainesäiliötä tilassa, jossa on avotuli, kipinöitä tai varmistusliekki (esimerkiksi vedenlämmitin tai muu vastaava laite).
Vapauta teräkytkin (voimanulosotto) ja kytke seisontajarru.
Sammuta moottori, irrota avain ja odota, että kaikki liikkuvat osat ovat pysähtyneet, ennen kuin poistut käyttäjän paikalta.
Poista ruoho, lika ja rasva koneen kaikista ulkoisista osista, etenkin moottorista ja hydraulijärjestelmästä. Puhdista lika ja roskat moottorin sylinterinkannen rivoista ja tuulettimen kotelosta.
Important: Kone voidaan pestä miedolla pesuaineella ja vedellä. Älä pese konetta painepesurilla. Älä käytä vettä ylen määrin, älä etenkään kojetaulun, moottorin ja hydraulipumppujen läheisyydessä.
Tarkista seisontajarrujen toiminta. Katso Seisontajarrun säätö.
Huolla ilmanpuhdistin. Katso kohta Ilmanpuhdistimen huolto.
Rasvaa kone. Katso kohta Koneen voitelu.
Vaihda kampikammioöljy. Katso kohta Moottoriöljyn huolto.
Tarkista rengaspaine. Katso kohta Rengaspaineen tarkistus.
Vaihda hydraulisuodattimet. Katso kohta Hydraulinesteen ja suodattimien vaihto.
Lataa akku. Katso kohta Akun lataus.
Kaavi ruoho ja lika leikkurin alta ja pese leikkuri sitten vesiletkulla.
Note: Käytä konetta teräkytkin (voimanulosotto) kytkettynä ja korkeimmalla tyhjäkäyntinopeudella 2–5 minuutin ajan pesun jälkeen.
Tarkista terien kunto. Katso kohta Leikkuuterien huolto.
Valmistele kone varastointia varten, jos sitä ei ole tarkoitus käyttää yli kuukauteen. Valmistele kone varastointia varten seuraavasti:
Lisää polttoainesäiliöön öljypohjaista stabilointi-/lisäainetta. Noudata stabilointiaineen valmistajan sekoitusohjeita. Älä käytä alkoholipohjaista stabilointiainetta (etanolia tai metanolia).
Note: Stabilointi-/lisäaine toimii tehokkaimmin, kun se sekoitetaan tuoreeseen polttoaineeseen ja kun sitä käytetään jatkuvasti.
Käytä moottoria viiden minuutin ajan, jotta lisäainetta sisältävä polttoaine kiertää koko polttoainejärjestelmässä.
Sammuta moottori, anna sen jäähtyä ja tyhjennä polttoainesäiliö.
Käynnistä moottori ja anna sen käydä, kunnes se sammuu.
Hävitä polttoaine asianmukaisesti. Kierrätä polttoaine paikallisten asetusten mukaisesti.
Important: Stabilointiainetta/-lisäainetta sisältävää polttoainetta ei saa säilyttää polttoaineen stabilointiaineen valmistajan suositusta kauempaa.
Irrota sytytystulpat ja tarkista niiden kunto. Katso kohta Sytytystulppien huolto. Kun sytytystulpat on irrotettu moottorista, kaada 30 ml (kaksi ruokalusikallista) moottoriöljyä sytytystulpan reikään. Kierrätä moottoria käynnistimellä, jotta öljy leviää sylinterin sisään. Asenna sytytystulppa tai -tulpat. Älä asenna sytytystulpan (-tulppien) johtoa.
Tarkista ja kiristä kaikki pultit, mutterit ja ruuvit. Korjaa tai vaihda kaikki vaurioituneet osat.
Maalaa kaikki naarmuuntuneet tai paljaat metallipinnat. Maalia on saatavissa valtuutetusta huoltoliikkeestä.
Varastoi kone puhtaaseen, kuivaan autotalliin tai varastotilaan. Irrota avain avainkytkimestä ja säilytä se lasten ja muiden luvattomien käyttäjien ulottumattomissa. Peitä kone, jotta se pysyy suojassa ja puhtaana.
| Problem | Possible Cause | Corrective Action |
|---|---|---|
| Moottori ylikuumenee. |
|
|
| Käynnistin ei pyöritä. |
|
|
| Moottori ei käynnisty, käynnistyy huonosti tai ei pysy käynnissä. |
|
|
| Moottori menettää tehoaan. |
|
|
| Leikkuri vetää vasemmalle tai oikealle (vaikka vivut ovat kokonaan eteenpäin). |
|
|
| Kone ei liiku. |
|
|
| Kone tärisee epänormaalisti. |
|
|
| Epätasainen leikkuukorkeus. |
|
|
| Terät eivät pyöri. |
|
|
| Kytkin ei kytkeydy. |
|
|

