| Cadenza di manutenzione | Procedura di manutenzione |
|---|---|
| Prima di ogni utilizzo o quotidianamente |
|
Questo tosaerba a lame rotanti con operatore a bordo è pensato per l'utilizzo da parte di operatori professionisti del verde. Il suo scopo è quello di tagliare l'erba di prati ben tenuti di complessi residenziali o proprietà commerciali. L'utilizzo di questo prodotto per scopi non conformi alle funzioni per cui è stato concepito può essere pericoloso per voi e gli astanti.
Leggete attentamente il presente manuale al fine di utilizzare e mantenere correttamente il prodotto ed evitare infortuni e danni. Siete responsabili dell'utilizzo del prodotto in maniera corretta e sicura.
Visitate il sito www.Toro.com per ricevere materiali di formazione sulla sicurezza e il funzionamento dei prodotti, avere informazioni sugli accessori, ottenere assistenza nella ricerca di un rivenditore o registrare il vostro prodotto.
Per assistenza, ricambi originali Toro o ulteriori informazioni, rivolgetevi a un Distributore Toro autorizzato o ad un Centro Assistenza Toro ed abbiate sempre a portata di mano il numero del modello ed il numero di serie del prodotto. La Figura 1 indica la posizione del numero del modello e del numero di serie sul prodotto. Scrivete i numeri negli spazi previsti.
Important: Con il vostro dispositivo mobile, potete scansionare il codice QR sull'adesivo del numero di serie (se presente) per accedere a informazioni su garanzia, ricambi e altre informazioni sui prodotti.

Per evidenziare le informazioni vengono utilizzate due parole. Importante: indica informazioni meccaniche di particolare importanza; Nota evidenzia informazioni generali di particolare rilevanza.
Il simbolo di avviso di sicurezza (Figura 2) compare sia in questo manuale sia sulla macchina per richiamare la vostra attenzione su importanti messaggi di sicurezza di cui dovrete seguire le indicazioni per evitare incidenti. Questo simbolo verrà accompagnato dalle parole Pericolo, Avvertenza o Attenzione.
Pericolo indica una situazione di pericolo imminente che, se non evitata, determina la morte o gravi infortuni.
Avvertenza indica una situazione di pericolo potenziale che, se non evitata, potrebbe determinare la morte o gravi infortuni.
Attenzione indica una situazione di pericolo potenziale che, se non evitata, potrebbe determinare la morte o lievi infortuni.

Questo prodotto è conforme a tutte le direttive europee pertinenti. Per informazioni dettagliate vedere la Dichiarazione di Conformità (DICO) specifica del prodotto, fornita a parte.
Fate riferimento alle informazioni fornite dal proprietario del motore insieme alla macchina.
Forza lorda o netta: La forza lorda o netta di questo motore è stata valutata in laboratorio dal produttore del motore in conformità alla norma SAE (Society of Automotive Engineers) J1940 o J2723. La configurazione rispondente ai requisiti di sicurezza, emissioni e funzionamento comporta una sensibile riduzione della coppia effettiva del motore di questa classe di tosaerba. Fate riferimento alle informazioni fornite dal produttore del motore fornite insieme alla macchina.
Questa macchina è stata progettata in conformità con EN ISO 5395.
Questo prodotto è in grado di amputare mani e piedi, e di scagliare oggetti. Rispettate sempre tutte le norme di sicurezza per evitare gravi infortuni personali o la morte.
Leggete e comprendete il contenuto di questo Manuale dell'operatore prima di avviare il motore.
Tenente gli astanti e i bambini a distanza.
Non lasciate che bambini o persone non addestrate utilizzino o effettuino interventi di manutenzione sulla macchina. Consentite l'utilizzo della macchina e l'esecuzione di interventi di manutenzione su di essa solo a persone responsabili, addestrate, che abbiano familiarità con le istruzioni e fisicamente capaci.
Tenete sempre il roll bar completamente alzato e bloccato, ed allacciate la cintura di sicurezza.
Non utilizzate la macchina in prossimità di scarpate, fossi, terrapieni o in presenza di acqua o altri pericoli, oppure su terreni con pendenza superiore a 15°.
Non infilate le mani o i piedi accanto alle parti in movimento della macchina.
Non utilizzate la macchina senza che tutti gli schermi, i microinterruttori e gli altri dispositivi di protezione siano in sede e funzionanti.
Spegnete il motore, rimuovete la chiave e attendete l’arresto di tutte le parti in movimento prima di lasciare la posizione dell’operatore. Lasciate raffreddare la macchina prima di eseguire interventi di riparazione, di regolazione, di rifornimento e di pulizia o di rimessarla.

![]() |
Gli adesivi di sicurezza e quelli con le istruzioni sono chiaramente visibili e sono affissi accanto a zone particolarmente pericolose. Sostituite eventuali adesivi danneggiati o mancanti. |





















Prima di avviare il motore e di utilizzare la macchina, familiarizzate con tutti i comandi.

L'interruttore a chiave, utilizzato per avviare e spegnere il motore, ha 3 posizioni: SPEGNIMENTO, FUNZIONAMENTO e AVVIAMENTO. Vedere Avviamento del motore.
Utilizzate l'interruttore delle luci per azionare i fari portandoli in posizione ON oppure OFF (Figura 5).
Usate il comando dello starter per avviare il motore a freddo.
L’acceleratore controlla il regime motore e vanta una regolazione continua variabile dalla posizione di MINIMA a quella di MASSIMA (Figura 5).
Il comando delle lame, rappresentato dal simbolo della presa di forza (PDF), innesta e disinnesta l'alimentazione alle lame del tosaerba (Figura 5).
Il contaore registra il numero di ore di funzionamento del motore, e funziona quando il motore gira. Utilizzate questi tempi per la programmazione della manutenzione ordinaria (Figura 6).

Sul contaore sono presenti dei simboli che indicano, per mezzo di un triangolo nero, che il componente microinterruttore è posizionato correttamente (Figura 6).
Se girate l’interruttore a chiave in posizione di ACCENSIONE per alcuni secondi, la tensione della batteria viene visualizzata nell'area in cui generalmente vengono visualizzate le ore.
La spia della batteria si accende quando l'interruttore a chiave è acceso e quando la carica è inferiore al giusto livello di funzionamento (Figura 6).
Utilizzate le leve di comando del movimento per fare marcia avanti, indietreggiare e girare la macchina nella direzione opportuna (Figura 4).
Spostate le leve di comando del movimento verso l'esterno, nella posizione di BLOCCO IN FOLLE quando scendete dalla macchina (Figura 25). Quando fermate la macchina o la lasciate incustodita, mettete sempre le leve di comando del movimento in posizione di BLOCCO IN FOLLE.
Ogni volta che spegnete il motore, inserite il freno di stazionamento per evitare lo spostamento involontario della macchina.
Chiudete la valvola di intercettazione del carburante durante il trasporto o il rimessaggio della macchina; fate riferimento a Utilizzo della valvola di intercettazione del carburante.
Note: Specifiche e disegno sono soggetti a variazione senza preavviso.
| Piatto di taglio da 122 cm | Piatto di taglio da 132 cm | Piatto di taglio da 152 cm | |
|---|---|---|---|
| Senza piatto di taglio | 129 cm | 137 cm | 140 cm |
| Deflettore sollevato | 141 cm | 150 cm | 166 cm |
| Deflettore abbassato | 160 cm | 171 cm | 191 cm |
| Deflettore rimosso | 132 cm | 141 cm | 156 cm |
| Pneumatici da 24 pol. | Pneumatici da 26 pol. | |
|---|---|---|
| Lunghezza | 219 cm | 220 cm |
| Pneumatici da 24 pol. | Pneumatici da 26 pol. | |
|---|---|---|
| Roll bar – Sollevato | 182 cm | 185 cm |
| Roll bar – Abbassato | 126 cm | 129 cm |
| Macchine | Zavorra |
| Macchine da 122 cm | 512 kg |
| Macchine da 132 cm | Da 531 a 540 kg |
| Macchine da 152 cm | Da 535 a 590 kg |
Per ottimizzare e ampliare le applicazioni della macchina, è disponibile una gamma di attrezzi e accessori approvati da Toro per l'uso con la macchina. Richiedete la lista degli attrezzi ed accessori approvati ad un Centro Assistenza Toro o ad un Distributore autorizzati, oppure visitate www.Toro.com
Per garantire prestazioni ottimali e mantenere sempre la macchina in conformità alle norme di sicurezza, utilizzate esclusivamente ricambi e accessori originali Toro. Ricambi e accessori di altri produttori potrebbero risultare pericolosi e il loro impiego potrebbe far decadere la garanzia del prodotto.
Note: Stabilite i lati sinistro e destro della macchina rispetto alla normale posizione di guida.
Non lasciate che bambini o persone non addestrate utilizzino o effettuino interventi di manutenzione sulla macchina. Le normative locali possono imporre limiti all'età dell'operatore. Il proprietario è responsabile della formazione di tutti gli operatori e i meccanici.
Ispezionate l'area dove utilizzerete la macchina e rimuovete tutti gli oggetti che possono interferire con il funzionamento della macchina o che la macchina potrebbe scagliare.
Familiarizzate con il sicuro funzionamento dell'apparecchiatura, dei comandi dell'operatore e degli adesivi di sicurezza.
Verificate che i comandi di presenza dell'operatore, i microinterruttori e le protezioni siano fissati e funzionanti correttamente. Se non funzionano correttamente, non azionate la macchina.
Spegnete il motore, rimuovete la chiave e attendete l’arresto di tutte le parti in movimento prima di lasciare la posizione dell’operatore. Lasciate raffreddare la macchina prima di eseguire interventi di riparazione, di regolazione, di rifornimento e di pulizia o di rimessarla.
Prima della tosatura, ispezionate sempre la macchina per accertarvi che i gruppi di taglio siano in buone condizioni di funzionamento.
Valutate il terreno per determinare l'attrezzatura appropriata ed eventuali attrezzi o accessori necessari per il funzionamento corretto e sicuro della macchina.
Indossate un abbigliamento idoneo, inclusi occhiali di protezione, pantaloni lunghi, calzature antiscivolo robuste e protezioni per le orecchie. Legate i capelli lunghi e non indossate indumenti larghi o gioielli pendenti.
Non trasportate passeggeri sulla macchina.
Tenete gli astanti e gli animali domestici a distanza dalla macchina durante il suo funzionamento. Spegnete la macchina e l'attrezzo (o attrezzi) se qualcuno entra nell'area.
Non azionate la macchina se tutte le protezioni e i dispositivi di sicurezza, come i deflettori e/o l'intero cesto di raccolta, non sono in sede e perfettamente funzionanti. Sostituite i componenti usurati o deteriorati quando necessario.
Il carburante è estremamente infiammabile ed altamente esplosivo. Un incendio o un’esplosione causati dal carburante possono ustionare voi ed altre persone e provocare danni.
Per impedire che una carica elettrostatica faccia incendiare il carburante, posate la tanica e/o la macchina direttamente a terra prima del riempimento, mai in un veicolo o su un oggetto.
Fate il pieno di carburante all'aperto su una superficie piana, in un'area libera e a motore freddo. Tergete il carburante versato.
Non maneggiate il carburante quando fumate o nelle adiacenze di una fiamma libera o di scintille.
Non rimuovete il tappo del carburante né rabboccate il carburante nel serbatoio mentre il motore è in funzione o è caldo.
Se del carburante dovesse fuoriuscire, non tentate di avviare il motore. Evitate di creare una fonte di ignizione fino a quando i vapori di carburante non saranno evaporati.
Conservate il carburante in taniche approvate, e tenetelo lontano dalla portata dei bambini.
Se ingerito, il carburante è nocivo o micidiale. L'esposizione a lungo termine ai vapori di carburante può causare gravi danni e malattie.
Evitate di respirare a lungo i vapori.
Tenete mani e viso a distanza dall'ugello e dall'apertura del serbatoio del carburante.
Tenete il carburante lontano dagli occhi e dalla pelle.
Non depositate la macchina o la tanica del carburante in presenza di fiamme libere, scintille o spie, come vicino a uno scaldabagno o altre apparecchiature.
Non riempite le taniche all'interno di un veicolo o su un autocarro o il pianale di un rimorchio con rivestimento in plastica. Prima del rabbocco, posizionate sempre le taniche di carburante sul pavimento e lontano dal veicolo.
Rimuovete l'attrezzatura dall'autocarro o rimorchio ed effettuate il rifornimento quando si trova a terra. Qualora ciò non sia possibile, fate rifornimento mediante una tanica portatile, anziché da un normale ugello erogatore del carburante.
Non utilizzate la macchina se non è montato l'impianto di scarico completo o se non è in buone condizioni di servizio.
Tenete sempre l'ugello della pompa del carburante a contatto con il bordo del serbatoio del carburante o con il foro della tanica finché non sia stato completato il rifornimento. Non utilizzate un dispositivo di apertura del blocco pompa.
Se vi siete sporcati gli indumenti con il carburante, cambiatevi immediatamente.
Non riempite troppo il serbatoio del carburante. Riposizionate il tappo del carburante e serrate a fondo.
Pulite erba e detriti dagli apparati di taglio, marmitte, trasmissioni, cesti di raccolta e vani motore per contribuire a prevenire gli incendi. Tergete l'olio o il carburante versati.
Per ottenere risultati ottimali utilizzate solo benzina senza piombo fresca (con meno di 30 giorni) e pulita, di 87 o più ottani (metodo di classificazione (R+M)/2).
Etanolo: È accettabile la benzina con etanolo fino al 10% (nafta) o 15% di MTBE (metil-ter-butil-etere) per volume. L'etanolo e l'MTBE non sono la stessa cosa. Non è consentito l'utilizzo di benzina con il 15% di etanolo (E15) per volume. Non utilizzate benzina con etanolo superiore al 10% per volume, come E15 (contiene etanolo al 15%), E20 (contiene etanolo al 20%) o E85 (contiene etanolo fino all'85%). L'utilizzo di benzina non consentita può causare problemi di prestazioni e/o danni al motore non coperti dalla garanzia.
Non utilizzate benzina contenente metanolo.
Nella stagione invernale, non conservate il carburante nel serbatoio o nei contenitori senza utilizzare un apposito stabilizzatore.
Non aggiungete olio alla benzina.
L’uso di un additivo stabilizzatore/additivo nella macchina offre i seguenti vantaggi:
Mantiene fresco più a lungo il carburante quando utilizzato secondo le istruzioni del produttore dello stabilizzatore;
mantiene pulito il motore durante l'uso;
elimina i depositi gommosi nell'impianto di alimentazione, che possono provocare problemi di avviamento.
Important: Non utilizzate additivi per carburante contenenti metanolo o etanolo.
Aggiungete la quantità corretta di stabilizzatore/additivo del carburante al carburante.
Note: Lo stabilizzatore/additivo è più efficace se mescolato a carburante fresco. Per ridurre al minimo la morchia nell'impianto di alimentazione, utilizzate sempre lo stabilizzatore.
Parcheggiate la macchina su terreno pianeggiante.
Inserite il freno di stazionamento.
Spegnete il motore e togliete la chiave.
Pulite attorno al tappo del serbatoio del carburante.
Riempite il serbatoio fino alla base del collo del bocchettone (Figura 7).
Note: Non riempite completamente il serbatoio. Lo spazio consentirà l'espansione del carburante.

Ogni giorno, prima di avviare la macchina, effettuate le procedure Ogni utilizzo/Giornaliere elencate in .
I motori nuovi raggiungono la piena potenza dopo qualche tempo. I piatti di taglio e le trasmissioni, quando sono nuovi, hanno un maggiore attrito e assoggettano il motore ad un maggiore carico. Le macchine nuove hanno bisogno di un rodaggio di 40 o 50 ore prima di sviluppare la piena potenza e dare la migliore performance.
Per evitare lesioni o decesso dovuti a ribaltamento, tenete il roll bar completamente sollevato in posizione di blocco e utilizzate la cintura di sicurezza.
Assicuratevi che il sedile sia fissato alla macchina.
Quando il roll bar è abbassato non vi è altra protezione antiribaltamento.
Abbassate il roll bar soltanto se assolutamente necessario.
Non allacciate la cintura di sicurezza quando il roll bar è abbassato.
Guidate lentamente e con prudenza.
Alzate il roll bar appena l'altezza lo consente.
Controllate attentamente lo spazio libero superiore prima di passare con la macchina sotto qualsiasi oggetto (rami, varchi, fili elettrici) ed evitate urti.
Se i microinterruttori di sicurezza sono scollegati o guasti, la macchina può muoversi improvvisamente e causare lesioni personali.
Non manomettete gli interruttori di interblocco.
Ogni giorno, controllate il funzionamento dei microinterruttori, e prima di azionare la macchina sostituite gli interruttori guasti.
Il sistema di microinterruttori di sicurezza è progettato per impedire l'avviamento del motore a meno che non si verifichi quanto segue:
il freno di stazionamento sia inserito;
il comando delle lame (PDF) sia disinnestato;
Le leve di comando del movimento siano in posizione di BLOCCO IN FOLLE.
Il sistema di microinterruttori di sicurezza è progettato per spegnere il motore quando si spostano le leve di controllo del movimento dalla posizione di BLOCCO IN FOLLE mentre il freno di stazionamento è inserito o se l’operatore si alza dal sedile quando la PTO è inserita.
Il contaore ha degli indicatori per avvisare l'utente quando il componente a interblocchi si trova nella giusta posizione. Quando il componente è in posizione corretta, un indicatore viene visualizzato sullo schermo.

| Cadenza di manutenzione | Procedura di manutenzione |
|---|---|
| Prima di ogni utilizzo o quotidianamente |
|
Collaudate sempre il sistema di microinterruttori di sicurezza prima di utilizzare la macchina. Qualora non funzioni come descritto di seguito, fatelo riparare immediatamente da un Centro Assistenza autorizzato.
Restando seduti sul sedile, innestate il freno di stazionamento e spostate il comando delle lame (PDF) in posizione di ACCENSIONE. Provate ad avviare il motore: non deve avviarsi.
Restando seduti sul sedile, innestate il freno di stazionamento e spostate il comando delle lame (PDF) in posizione di SPEGNIMENTO. Spostate una leva di comando del movimento, a scelta, togliendola dalla posizione di BLOCCO IN FOLLE. Provate ad avviare il motore: non deve avviarsi. Ripetete con l'altra leva di controllo del movimento.
Sedetevi al posto di guida, inserite il freno di stazionamento, spostate il comando delle lame (PDF) in posizione di SPENTO e spostate le leve di comando del movimento in posizione di BLOCCO IN FOLLE. Accendete il motore. Con il motore acceso, disinserite il freno di stazionamento, inserite l'interruttore di comando delle lame (PDF) e alzatevi leggermente dal sedile: il motore dovrebbe spegnersi.
Sedetevi al posto di guida, inserite il freno di stazionamento, spostate il comando delle lame (PDF) in posizione di SPENTO e spostate le leve di comando del movimento in posizione di BLOCCO IN FOLLE. Accendete il motore. Mentre il motore gira, mettete in posizione centrale un controllo del movimento a scelta, e spostate la macchina (avanti o indietro); il motore deve spegnersi. Ripetete con l'altro controllo del movimento.
Sedetevi al posto di guida, disinserite il freno di stazionamento, spostate il comando delle lame (PDF) in posizione di SPENTO e spostate le leve di comando del movimento in posizione di BLOCCO IN FOLLE. Provate ad avviare il motore: non deve avviarsi.
Il sedile può essere spostato avanti e indietro. Posizionate il sedile in modo da poter controllare la macchina con sicurezza e raggiungere comodamente i comandi (Figura 11).

Il sistema di sospensione MyRide™ è regolabile al fine di ottenere il migliore comfort di marcia possibile. Potete regolare i 2 gruppi ammortizzatori posteriori per cambiare in modo semplice e rapido il sistema di sospensioni. Posizionate il sistema di sospensione nella posizione per voi più confortevole.
Le scanalature per i gruppi ammortizzatori posteriori hanno posizioni di fermo come riferimento. Potete posizionare i gruppi ammortizzatori posteriori ovunque nella scanalatura, non solo nelle posizioni di fermo. Il seguente grafico illustra la posizione per una guida morbida o rigida e le diverse posizioni di fermo (Figura 12).

Note: Assicuratevi che i gruppi ammortizzatori posteriori sinistro e destro siano sempre regolati nelle stesse posizioni.
Regolazione dei gruppi ammortizzatori posteriori (Figura 13).


Il proprietario/operatore è tenuto a evitare incidenti che possano causare lesioni personali o danni materiali.
Prestate la massima attenzione mentre utilizzate la macchina. Non svolgete nessuna attività che vi possa distrarre; in caso contrario potrebbero verificarsi infortuni o danni.
Non utilizzate la macchina se siete malati, stanchi o se siete sotto l'effetto di alcol o droga.
Il contatto con la lama può causare gravi lesioni. Spegnete il motore, rimuovete la chiave e attendete l’arresto di tutte le parti in movimento prima di lasciare la posizione di funzionamento. Girando la chiave in posizione di SPEGNIMENTO il motore dovrebbe spegnersi e la lama fermarsi. In caso contrario, smettete subito di usare la macchina e rivolgetevi a un Centro Assistenza autorizzato.
Utilizzate la macchina solo in condizioni di buona visibilità e meteo idoneo. Non utilizzate la macchina se c'è rischio di fulmini.
Tenete mani e piedi a distanza dagli apparati di taglio. Restate lontani dall'apertura di scarico.
Non tosate mai con il deflettore di scarico sollevato, rimosso o modificato, a meno che non sia presente un sistema di raccolta dell'erba o un kit di mulching correttamente funzionante.
Non tosate in retromarcia a meno che non sia assolutamente necessario. Guardate sempre in basso e dietro prima di azionare la macchina in retromarcia.
Prestate estrema cautela quando vi avvicinate a curve cieche, cespugli, alberi o altri oggetti che possano impedire la vista.
Fermate le lame ogni volta che non state effettuando la tosatura.
Se la macchina colpisce un oggetto o inizia a vibrare, spegnete immediatamente il motore, rimuovete la chiave (se in dotazione) e attendete l’arresto di tutte le parti in movimento prima di verificare la presenza di danni sulla macchina. Effettuate tutte le riparazioni necessarie prima di riprendere le operazioni.
Rallentate e fate attenzione quando eseguite curve o attraversate strade e marciapiedi con la macchina. Date sempre la precedenza.
Prima di abbandonare la posizione di guida, seguite le seguenti istruzioni:
Parcheggiate la macchina su terreno pianeggiante.
Disinnestate la presa di forza e abbassate al suolo l'attrezzatura.
Inserite il freno di stazionamento.
Spegnete il motore e togliete la chiave.
Attendete finché tutte le parti mobili si siano fermate.
Azionate il motore solo in aree ben ventilate. I gas di scarico possono contenere monossido di carbonio, che è letale se inalato.
Non lasciate incustodita la macchina in funzione.
Agganciate alla macchina gli accessori trainati soltanto nel punto di attacco.
Non azionate la macchina se tutte le protezioni e i dispositivi di sicurezza, come i deflettori e/o l'intero cesto di raccolta, non sono in sede e perfettamente funzionanti. Sostituite i componenti usurati o deteriorati quando necessario.
Usate unicamente accessori e attrezzi approvati da Toro.
Questa macchina produce livelli acustici superiori a 85 dBA alle orecchie dell'operatore, e può causare la perdita dell'udito in caso di lunghi periodi di esposizione al rumore.

Pulite erba e detriti dagli apparati di taglio, trasmissioni, marmitte e vani motore per contribuire a prevenire gli incendi.
Avviate il motore tenendo il piede ben lontano dalle lame.
Siate consapevoli del percorso di scarico del tosaerba e indirizzate lo scarico lontano dagli altri. Evitate di scaricare materiale contro una parete o un ostacolo, poiché il materiale può rimbalzare indietro verso di voi.
Arrestate le lame, rallentate e fate attenzione se attraversate superfici diverse dall'erba o trasportate la macchina avanti e indietro dalla zona di lavoro.
Non cambiate la velocità del regolatore del motore e non fate girare il motore a una velocità eccessiva.
I bambini sono spesso attirati dalla macchina e dall'attività di tosatura. Non date mai per scontato che i bambini rimangano dove li avete visti per l'ultima volta.
Tenete i bambini a distanza dall'area di lavoro e sotto l'attenta sorveglianza di un adulto responsabile che non sia l'operatore.
State in guardia e spegnete la macchina se un bambino entra nell'area di lavoro.
Prima di fare marcia indietro o di svoltare, guardate in giù e tutto intorno per controllare che non vi siano bambini.
Non trasportate bambini sulla macchina, anche quando le lame non stanno tagliando. I bambini potrebbero cadere e ferirsi gravemente oppure impedire a voi di usare la macchina in condizioni di sicurezza. I bambini che in passato sono stati trasportati sulla macchina possono apparire all'improvviso nell'area di lavoro ed essere investiti o travolti in retromarcia dalla macchina.
Il ROPS è un dispositivo di sicurezza fondamentale. Non rimuovete alcuno dei componenti del ROPS dalla macchina.
Verificate che la cintura di sicurezza sia allacciata e che possa essere slacciata rapidamente in caso di emergenza.
Tenete il roll bar completamente alzato e bloccato e allacciate sempre la cintura di sicurezza quando è sollevato.
Verificate con cura l’eventuale presenza di oggetti sopraelevati prima di passare sotto di essi e non entrateci in contatto.
Sostituite i componenti del sistema di protezione antiribaltamento (ROPS) danneggiati. Non effettuate riparazioni o modifiche.
Quando il roll bar è abbassato non vi sono altre protezioni antiribaltamento.
Se le ruote cadono da bordi, argini ripidi o nell’acqua può verificarsi un ribaltamento con i pericoli di lesioni e morte che ne conseguono.
Non indossate la cintura di sicurezza quando il roll bar è abbassato.
Abbassate il roll bar soltanto se assolutamente necessario; sollevatelo non appena gli spazi lo permettono.
In caso di ribaltamento, portate la macchina a un Centro assistenza autorizzato per l’ispezione del ROPS.
Utilizzate soltanto accessori e attrezzi approvati da Toro per il ROPS.
Le pendenze sono un importante fattore che influisce sugli incidenti causati da perdita di controllo e ribaltamento, che possono comportare gravi infortuni o la morte. L’operatore è responsabile del funzionamento sicuro in pendenza. L'utilizzo della macchina su qualsiasi pendenza richiede un livello superiore di attenzione. Prima di utilizzare la macchina su una pendenza, effettuate le seguenti procedure:
Rivedete e comprendete le istruzioni per le pendenze nel manuale e sulla macchina.
Utilizzate un indicatore d'angolo per determinare l'angolo approssimativo della pendenza dell'area.
Non utilizzate mai la macchina su pendenze superiori a 15°.
Valutate le condizioni del sito della giornata per determinare se la pendenza è sicura per l'utilizzo della macchina. Basatevi su buon senso e giudizio quando effettuate questa valutazione. I cambiamenti del terreno, come l'umidità, possono determinare un rapido cambiamento del funzionamento in pendenza della macchina.
Individuate i pericoli alla base della pendenza. Non utilizzate la macchina in prossimità di scarpate, fossi, terrapieni o in presenza di acqua o altri pericoli. La macchina potrebbe ribaltarsi improvvisamente nel caso in cui una ruota ne superi il bordo o se il bordo dovesse crollare. Mantenete la distanza di sicurezza (doppia rispetto alla larghezza della macchina) tra la macchina e il pericolo. Utilizzate una macchina a spinta o un decespugliatore manuale per tosare l'erba in queste zone.
Evitate di avviare, arrestare o sterzare con la macchina in pendenza. Evitate di cambiare bruscamente la velocità o la direzione; sterzate in modo lento e graduale.
Non azionate la macchina in condizioni in cui trazione, sterzaggio o stabilità possono essere compromessi. Siate consapevoli del fatto che l'utilizzo della macchina su erba bagnata, trasversalmente su pendenze o in discesa può causare una perdita di trazione della macchina. La perdita di trazione delle ruote motrici può comportare uno slittamento e una perdita di capacità frenante e sterzante. La macchina potrebbe slittare anche se le ruote sono ferme.
Rimuovete o segnalate gli ostacoli, come fossati, buche, solchi, dossi, rocce o altri pericoli nascosti. L'erba alta può nascondere degli ostacoli. Il terreno accidentato può ribaltare la macchina.
Prestate ulteriore attenzione durante l'utilizzo con accessori o attrezzi, come sistemi di raccolta dello sfalcio che possono influire sulla stabilità della macchina e farvi perdere il controllo. Seguite le istruzioni per i contrappesi.
Se possibile, tenete il piatto di taglio abbassato a terra durante l'utilizzo in pendenza. Il sollevamento del piatto di taglio durante l'utilizzo in pendenza può causare l'instabilità della macchina.

Utilizzate il piatto di taglio come gradino per accedere alla postazione dell’operatore (Figura 16).

Innestate sempre il freno di stazionamento quando spegnete o lasciate incustodita la macchina.
Parcheggiate la macchina su terreno pianeggiante.


Il comando delle lame (PDF) avvia ed arresta le lame del tosaerba e gli accessori elettrici.
Note: Inserendo il comando delle lame (PDF) con l'acceleratore a medio regime o meno causereste l'eccessiva usura delle cinghie di trasmissione.


Potete spostare il comando dell'acceleratore tra le posizioni MASSIMA e MINIMA (Figura 21).
Utilizzate sempre la posizione MASSIMA durante l'innesto della PDF.

Note: Con il motore tiepido o caldo non è sempre necessario strozzare l'afflusso dell'aria.
Important: Non utilizzate il motorino di avviamento per più di 5 secondi alla volta. L'utilizzo del motorino di avviamento per oltre 5 secondi può danneggiarlo. Se il motore non si avvia, attendete 10 secondi prima di utilizzare nuovamente il motorino di avviamento.

Bambini ed altre persone potrebbero ferirsi se dovessero spostare o cercare di azionare la macchina quando è incustodita.
Togliete sempre la chiave e inserite il freno di stazionamento prima di lasciare incustodita la macchina.


Le ruote motrici girano in modo indipendente, alimentate da motori idraulici su ciascun assale. Potete girare un lato in retromarcia mentre l'altro in marcia avanti, facendo in modo che la macchina giri su se stessa, anziché curvare. Ciò migliora notevolmente la manovrabilità della macchina ma può richiedere un periodo di adattamento al modo in cui si muove.
Il comando dell'acceleratore regola il regime del motore, misurato in giri al minuto. Posizionate il comando dell'acceleratore in posizione MASSIMA per ottenere prestazioni ottimali. Tosate sempre con l'acceleratore sulla massima.
La macchina può girare molto rapidamente. Potete perdere il controllo della macchina e infortunarvi o danneggiare la macchina.
Prestate molta attenzione quando sterzate.
Rallentate prima di prendere curve strette.
Note: Il motore si spegne quando spostate il pedale di controllo della trazione con il freno di stazionamento inserito.
Per spegnere la macchina, tirate le leve di comando della velocità in posizione di FOLLE.
Disinnestate il freno di stazionamento; fate riferimento a Disinnesto del freno di stazionamento.
Spostate le leve verso il centro, in posizione di sblocco.
Per fare marcia avanti spingete lentamente in avanti le leve di controllo del movimento (Figura 26).

Spostate le leve verso il centro, in posizione di sblocco.
Per fare retromarcia tirate lentamente verso dietro le leve di controllo del movimento (Figura 27).

Il tosaerba è dotato di un deflettore incernierato che sparge lo sfalcio ai lati e in basso verso il terreno.
Se il deflettore di sfalcio, il coperchio dello scarico o il cesto di raccolta completo non sono montati, voi ed altre persone correte il rischio di venire a contatto con la lama e con oggetti scagliati dal tosaerba. Il contatto con le lame rotanti e con i detriti scagliati può provocare gravi infortuni o la morte.
Non rimuovete mai il deflettore dello sfalcio dal piatto di taglio perché il deflettore dello sfalcio indirizza il materiale verso il tappeto erboso. Nel caso in cui sia danneggiato, sostituite immediatamente il deflettore.
Non infilate mai le mani o i piedi sotto il piatto di taglio.
Non provate mai a pulire l'area di scarico o le lame del tosaerba a meno che non abbiate spostato l'interruttore di comando delle lame (PDF) in posizione di SPEGNIMENTO, ruotato l'interruttore a chiave in posizione di SPEGNIMENTO e rimosso la chiave dal relativo interruttore.
Accertatevi che il deflettore di sfalcio sia abbassato.
Spingete completamente in avanti il pedale di sollevamento del piatto per bloccare il piatto di taglio nella posizione TRASPORTO (Figura 28).
Spingete il pedale di sollevamento del piatto in avanti e il blocco di trasporto sempre in avanti in posizione di SBLOCCO, quindi abbassate lentamente il piatto di taglio (Figura 28).

Potete regolare l'altezza di taglio da 38 a 140 mm in incrementi di 6 mm, spostando il perno con testa in fori diversi.
Spingete il pedale di sollevamento del piatto completamente in avanti per bloccare il piatto in posizione di TRASPORTO (corrispondente, inoltre, all‘altezza di taglio di 140 mm) come illustrato nella Figura 29.
Per regolare, spostate la spina dalla staffa dell'altezza di taglio (Figura 29).
Nella staffa dell'altezza di taglio scegliete un foro corrispondente all'altezza richiesta, ed inserite la spina (Figura 29).
Spingete il pedale di sollevamento del piatto in avanti e il blocco di trasporto sempre in avanti, quindi abbassate lentamente il piatto di taglio.

Spingete verso l'alto l'interruttore di sollevamento del piatto (Figura 30).

Nella staffa dell'altezza di taglio scegliete un foro corrispondente all'altezza richiesta, ed inserite la spina (Figura 31).

Spingere verso il basso l'interruttore di sollevamento del piatto per impostare l'altezza di taglio (Figura 30).
Ogni volta che cambiate l'altezza di taglio, regolate anche l'altezza dei rulli antistrappo.
Note: Regolate i rulli antistrappo in modo che non tocchino il terreno in aree di tosatura piatte e normali.
Parcheggiate la macchina su una superficie pianeggiante, disinnestate l'interruttore di comando delle lame e inserite il freno di stazionamento.
Prima di scendere dalla postazione di guida spegnete il motore, togliete la chiave di accensione e attendete che si arrestino tutte le parti in movimento.
Regolate i rulli antistrappo come illustrato nella Figura 32.

Per ottenere migliori risultati e garantire la massima circolazione dell'aria, regolate il motore in posizione MASSIMA. Per tagliare accuratamente lo sfalcio è necessaria l'aria, quindi non impostate l'altezza di taglio a un livello talmente basso da circondare totalmente il piatto di taglio con erba non tagliata. Cercate sempre di avere un lato del piatto di taglio libero da erba non tagliata, permettendo all'aria di essere aspirata all'interno del piatto di taglio.
Tagliate l'erba a una lunghezza leggermente superiore al normale, per garantire che l'altezza di taglio del piatto non strappi il terreno quando non è regolare. Tuttavia, in genere l'altezza migliore è quella usata in passato. Se l'erba è alta più di 15 cm, è preferibile praticare due passate per garantire una migliore qualità di taglio.
In genere è preferibile tagliare solamente un terzo circa del filo d'erba. Si raccomanda di non superare questa altezza, a meno che l’erba non sia rada, oppure ad autunno inoltrato quando l’erba cresce più lentamente.
Alternate la direzione della tosatura per mantenere l'erba eretta. In tal modo si agevola lo spargimento dello sfalcio, per una migliore decomposizione e fertilizzazione.
L'erba cresce a ritmi diversi in momenti diversi dell'anno. Per mantenere la stessa altezza di taglio, tosate più spesso all'inizio della primavera. Poiché a mezza estate il ritmo di crescita dell'erba rallenta, tagliate l'erba meno di frequente. Qualora l'erba non sia stata tagliata per un periodo prolungato, tagliatela prima a un'altezza di taglio elevata, e di nuovo 2 giorni dopo, riducendo gradualmente l'altezza di taglio.
Per migliorare la qualità del taglio, in determinate condizioni scegliete una velocità di spostamento inferiore.
Durante la tosatura di tappeto erboso disomogeneo, alzate l'altezza di taglio per evitare strappi sul manto erboso.
Se si arresta la marcia avanti della macchina durante la tosatura, sul tappeto erboso potrebbe depositarsi un mucchio di sfalcio. Per evitare questo inconveniente, spostatevi con le lame innestate verso un'area già tosata oppure arrestate il piatto di taglio mentre avanzate.
Eliminate lo sfalcio e la sporcizia dalla parte inferiore del piatto di taglio dopo ogni utilizzo. In caso di accumulo di erba e sporcizia all'interno del piatto di taglio, la qualità di taglio tenderà a diventare insoddisfacente.
Mantenete affilata la lama per l’intera stagione di taglio, al fine di evitare lo strappo e la frammentazione dell'erba. In caso contrario i bordi dell'erba diventano marroni, l'erba cresce più lentamente ed è più soggetta a malattie. Dopo ogni utilizzo controllate che le lame siano affilate e non presentino danni o segni di usura. All'occorrenza, limate eventuali tacche ed affilate le lame. Sostituite immediatamente la lama se è danneggiata o usurata, utilizzando una lama di ricambio originale Toro.
Spegnete il motore, rimuovete la chiave e attendete l’arresto di tutte le parti in movimento prima di lasciare la posizione dell’operatore. Lasciate raffreddare la macchina prima di eseguire interventi di riparazione, di regolazione, di rifornimento e di pulizia o di rimessarla.
Pulite erba e detriti dagli apparati di taglio, marmitte, trasmissioni, cesti di raccolta e vani motore per contribuire a prevenire gli incendi. Tergete l'olio o il carburante versati.
Chiudete il carburante e togliete la chiave prima di rimessare o trasferire la macchina.
Prima di trasferire la macchina, eseguire operazioni di manutenzione o di riporla in rimessa, chiudete la valvola di intercettazione del carburante (Figura 33).
Quando accendete il motore, assicuratevi che la valvola di intercettazione del carburante sia aperta.


La mani potrebbero impigliarsi nei componenti rotanti sotto la scocca del motore, provocando ferite gravi.
Spegnete il motore, togliete la chiave e lasciate che tutte le parti mobili si fermino prima di accedere alle valvole di rilascio delle ruote motrici.
Il motore e le unità idrauliche possono diventare molto caldi. Toccando un motore o unità idrauliche che scottano si possono subire gravi ustioni.
Lasciate che il motore e le unità di trasmissione idraulica si raffreddino completamente prima di accedere alle valvole di rilascio delle ruote motrici.
Le valvole di rilascio delle ruote motrici sono situate sui lati sinistro e destro sotto al piatto del motore.
Parcheggiate la macchina su una superficie pianeggiante, disinnestate l'interruttore di comando delle lame e inserite il freno di stazionamento.
Prima di scendere dalla postazione di guida spegnete il motore, togliete la chiave di accensione e attendete che si arrestino tutte le parti in movimento.
Per spingere la macchina, spostate entrambe le leve di bypass in avanti e bloccatele in posizione (Figura 34).
Disinserite il freno di stazionamento prima di spingere la macchina.
Per azionare la macchina, spostate le leve di bypass indietro e bloccatele in posizione (Figura 34).

Per trasportare la macchina usate un rimorchio per servizio pesante o un autocarro. Utilizzate una rampa di larghezza massima. Controllate che il rimorchio, o l'autocarro, sia provvisto dei freni, delle luci e dei segnali richiesti per legge. Leggete attentamente tutte le istruzioni di sicurezza. La conoscenza di queste informazioni potrebbe aiutare voi e gli astanti ad evitare infortuni. Fate riferimento alle vostre ordinanze locali per i requisiti di ancoraggio e del rimorchio.
Non guidate su strade o superstrade se non avete le luci di direzione, fari, catarifrangenti o un cartello di veicolo lento; ciò è pericoloso e può causare incidenti e ferite.
Non guidate la macchina su strade pubbliche o superstrade.
Quando si carica la macchina su un trailer o un autocarro si aumenta il rischio di ribaltamento, che può causare gravi ferite ed anche la morte (Figura 35).
Usate solo una rampa di larghezza massima, non singole rampe per ciascun lato della macchina.
Non superate un angolo di 15 gradi fra la rampa e il suolo o fra la rampa e il trailer o l'autocarro.
Assicuratevi che la lunghezza della rampa sia pari ad almeno 4 volte l'altezza del rimorchio o del pianale dell'autocarro da terra. Ciò garantirà che l'angolo della rampa non superi i 15 gradi su terreno pianeggiante.

Quando si carica la macchina su un trailer o un autocarro si aumenta il rischio di ribaltamento, che può causare gravi ferite ed anche la morte.
Prestate la massima attenzione quando guidate la macchina su una rampa.
Risalite in retromarcia le rampe e scendete dalle rampe in marcia avanti.
Evitate accelerazioni o decelerazioni improvvise mentre guidate la macchina su una rampa, dal momento che potrebbero causare una perdita di controllo o il ribaltamento.
Se usate un rimorchio, collegatelo al veicolo trainante per mezzo di catene di sicurezza.
Se del caso, collegate i freni e le luci del rimorchio.
Abbassate la rampa, assicurandovi che l'angolazione tra la rampa e il terreno non superi 15 gradi (Figura 35).
Risalite in retromarcia la rampa (Figura 36).

Spegnete il motore, togliete la chiave e inserite il freno di stazionamento.
Ancorate la macchina in prossimità delle ruote orientabili anteriori e del telaio posteriore con cinghie, catene, cavi o corde (Figura 37). Fate riferimento ai regolamenti locali per i requisiti di ancoraggio.

Se lasciate la chiave nell'interruttore, qualcuno potrebbe accidentalmente avviare il motore e ferire gravemente voi od altre persone. Togliete la chiave dall'interruttore prima di eseguire qualsiasi intervento di manutenzione.
Prima di abbandonare la posizione dell’operatore, seguite le seguenti istruzioni:
Parcheggiate la macchina su terreno pianeggiante.
Disinnestate le trasmissioni.
Inserite il freno di stazionamento.
Spegnete il motore e togliete la chiave.
Lasciate che i componenti della macchina si raffreddino prima di effettuare la manutenzione.
Non lasciate che personale non addestrato effettui interventi di manutenzione sulla macchina.
Tenete mani e piedi a distanza dalle parti in movimento o dalle superfici calde. Se possibile, non eseguite regolazioni mentre il motore è in funzione.
Scaricate con cautela la pressione dai componenti che hanno accumulato energia.
Verificate di frequente il funzionamento del freno di stazionamento. Regolatelo ed effettuate la manutenzione come prescritto.
Non manomettete i dispositivi di sicurezza. Controllatene il funzionamento ad intervalli regolari.
Pulite erba e detriti dagli apparati di taglio, marmitte, trasmissioni, cesti di raccolta e vani motore per prevenire gli incendi.
Tergete l'olio o il carburante versato e asportate i detriti imbevuti di carburante.
Non fate affidamento sui cric idraulici o meccanici per sostenere la macchina; sostenetela con cavalletti ogni volta che la sollevate.
Mantenete tutti i componenti in buone condizioni operative e tutta la bulloneria serrata, soprattutto i bulloni di fissaggio delle lame. Sostituite tutti gli adesivi consumati o danneggiati.
Scollegate la batteria prima di riparare la macchina. Scollegate prima il morsetto negativo, poi quello positivo. Collegate prima il morsetto positivo, poi quello negativo.
Per garantire prestazioni ottimali, utilizzate solo ricambi e accessori originali Toro. Ricambi e accessori di altri produttori potrebbero risultare pericolosi e il loro impiego potrebbe far decadere la garanzia del prodotto.
| Cadenza di manutenzione | Procedura di manutenzione |
|---|---|
| Dopo le prime 100 ore |
|
| Prima di ogni utilizzo o quotidianamente |
|
| Dopo ogni utilizzo |
|
| Ogni 50 ore |
|
| Ogni 100 ore |
|
| Ogni 200 ore |
|
| Ogni 250 ore |
|
| Ogni 400 ore |
|
| Ogni 400 ore o annualmente, la scadenza più vicina |
|
| Ogni 500 ore |
|
| Ogni mese |
|
| Ogni anno |
|
| Ogni anno o prima del rimessaggio |
|
Important: Per ulteriori interventi di manutenzione, si rimanda al manuale d'uso del motore.
Se lasciate la chiave nell'interruttore, qualcuno potrebbe accidentalmente avviare il motore e ferire gravemente voi od altre persone.
Spegnete il motore e togliete la chiave dall'interruttore prima di eseguire qualsiasi intervento di manutenzione.
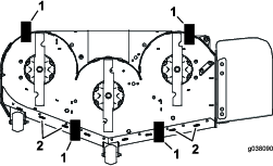
Rimuovete la coppiglia per rilasciare la copertura del piatto di taglio e accedere alla parte superiore del piatto di taglio. Dopo aver eseguito la manutenzione, montate la copertura con la coppiglia rimossa in precedenza.
Allentate i 2 bulloni anteriori e rimuovete la protezione in lamiera per ottenere accesso alle cinghie e ai fuselli del tosaerba (Figura 38). Una volta effettuata la manutenzione, montate la protezione in lamiera e serrate i bulloni.

Ingrassate la macchina più spesso in ambienti inquinati o polverosi.
Tipo di grasso: grasso n. 2 al litio o molibdeno
Parcheggiate la macchina su una superficie pianeggiante, disinnestate l'interruttore di comando delle lame e inserite il freno di stazionamento.
Prima di scendere dalla postazione di guida spegnete il motore, togliete la chiave di accensione e attendete che si arrestino tutte le parti in movimento.
Pulite i raccordi d’ingrassaggio con un cencio.
Note: Raschiate via eventuale vernice dalla parte anteriore del/i raccordo/i.
Collegate al raccordo d’ingrassaggio un ingrassatore a pressione.
Pompate del grasso nel raccordo finché non inizia a fuoriuscire dai cuscinetti.
Tergete il grasso superfluo.
| Cadenza di manutenzione | Procedura di manutenzione |
|---|---|
| Ogni 100 ore |
|
Utilizzate olio leggero o lubrificante spray per lubrificare i perni di sollevamento del piatto.

| Cadenza di manutenzione | Procedura di manutenzione |
|---|---|
| Ogni 400 ore |
|
| Ogni anno |
|
Parcheggiate la macchina su una superficie pianeggiante, disinnestate l'interruttore di comando delle lame e inserite il freno di stazionamento.
Prima di scendere dalla postazione di guida spegnete il motore, togliete la chiave di accensione e attendete che si arrestino tutte le parti in movimento.
Rimuovete il coperchietto antipolvere e regolate i perni orientabili e non riposizionate il coperchietto prima del termine dell'ingrassaggio; fate riferimento a Ingrassaggio della macchina.
Togliete il tappo esagonale.
Infilate un raccordo d'ingrassaggio nel foro.
Pompate del grasso nel raccordo finché non fuoriesce attorno al cuscinetto superiore.
Togliete il raccordo d'ingrassaggio dal foro. Montate il tappo esagonale ed il cappuccio.
| Cadenza di manutenzione | Procedura di manutenzione |
|---|---|
| Ogni anno |
|
Parcheggiate la macchina su una superficie pianeggiante, disinnestate l'interruttore di comando delle lame e inserite il freno di stazionamento.
Prima di scendere dalla postazione di guida spegnete il motore, togliete la chiave di accensione e attendete che si arrestino tutte le parti in movimento.
Sollevate il tosaerba per accedere alle parti interessate.
Togliete la ruota orientabile dalle forcelle orientabili.
Togliete le protezioni di tenuta dal mozzo della ruota.

Togliete un dado distanziale dal gruppo asse nella ruota orientabile.
Note: Il composto bloccafiletti è stato applicato per bloccare i dadi distanziali sull'asse.
Togliete l'asse (con l'altro dado distanziale ancora collegato) dal gruppo ruota.
Rimuovete le guarnizioni e verificate che i cuscinetti non siano usurati o danneggiati; se necessario sostituiteli.
Tamponate i cuscinetti di grasso universale.
Inserite 1 cuscinetto e 1 nuova guarnizione nella ruota.
Se dal gruppo asse mancano entrambi i dadi distanziali, applicate un composto bloccafiletti a 1 dado distanziale e avvitatelo all'asse con le spianature per la chiave rivolte verso l'esterno.
Note: Non avvitate completamente il dado distanziale all'estremità dell'asse. Lasciate circa 3 mm dalla superficie esterna del dado distanziale all'estremità dell'asse all'interno del dado.
Inserite nella ruota il dado e l'asse assemblati sul lato con il cuscinetto e una nuova guarnizione.
Con l'estremità aperta della ruota rivolta verso l'alto, riempite l'area della ruota attorno all'asse con grasso universale.
Inserite il secondo cuscinetto e una nuova guarnizione nella ruota.
Applicate un composto bloccafiletti al secondo dado distanziale e inseritelo nell'asse con le spianature per la chiave rivolte verso l'esterno.
Serrate il dado a 8–9 N∙m, allentatelo e serrate nuovamente il dado a 2–3 N∙m.
Note: Assicuratevi che l’asse non protenda oltre uno dei dadi.
Installate le protezioni di tenuta sui mozzi della ruota e inserite la ruota nella forcella orientabile.
Installate il bullone orientabile e serrate il dado non completamente.
Important: Per evitare danni alla guarnizione e al cuscinetto, verificate spesso la regolazione del cuscinetto. Fate girare lo pneumatico orientabile. Lo pneumatico non dovrebbe ruotare liberamente (più di 1 o 2 giri) o avere gioco laterale. Se la ruota gira liberamente, regolate il movimento torcente sul dado distanziale fino ad avvertire una leggera resistenza. Applicate un altro strato di composto bloccafiletti.
Tenete mani, piedi, viso, abbigliamento e altre parti del corpo lontano dalla marmitta e altre superfici calde. Lasciate che i componenti della macchina si raffreddino prima di effettuare la manutenzione.
Non cambiate la velocità del regolatore del motore e non fate girare il motore a una velocità eccessiva.
| Cadenza di manutenzione | Procedura di manutenzione |
|---|---|
| Ogni 250 ore |
|
| Ogni 500 ore |
|
Note: Revisionate il filtro dell'aria più di frequente in ambienti molto sporchi o sabbiosi.
Parcheggiate la macchina su una superficie pianeggiante, disinnestate l'interruttore di comando delle lame (PDF) e inserite il freno di stazionamento.
Prima di scendere dalla postazione di guida spegnete il motore, togliete la chiave di accensione e attendete che si arrestino tutte le parti in movimento.
Rilasciate i dispositivi di fermo del filtro dell’aria e togliete il coperchio dal corpo del filtro (Figura 41).

Pulite l'interno del coperchio del filtro dell'aria con aria compressa.
Estraete con cautela il filtro primario dal corpo del filtro dell'aria (Figura 41).
Note: Non fate urtare il filtro con i lati del corpo.
Togliete il filtro di sicurezza solo per sostituirlo.
Ispezionate il filtro di sicurezza. Se è sporco, sostituite sia il filtro di sicurezza sia quello primario.
Important: Non cercate di pulire il filtro di sicurezza. Se il filtro di sicurezza è sporco, il filtro primario è senz’altro danneggiato.
Verificate se il filtro primario è danneggiato, proiettando una luce forte sull'esterno del filtro e guardando l'interno. Se il filtro primario è sporco, piegato o danneggiato, sostituitelo.
Note: I fori, se ve ne sono, saranno visibili come punti luminosi. Non pulite il filtro primario.
Important: Per evitare danni al motore, utilizzatelo sempre tenendo montati entrambi i filtri dell'aria ed il carter.
Prima di montare filtri nuovi verificate che non siano stati danneggiati durante il trasporto.
Note: Non usate filtri danneggiati.
Se sostituite il filtro interno, inseritelo con cautela nel corpo del filtro (Figura 41).
Montate con cautela il filtro primario sul filtro di sicurezza (Figura 41).
Note: Verificate che il filtro primario sia stato inserito a fondo, premendo sul bordo esterno mentre lo inserite.
Important: Non premete contro la parte morbida interna del filtro.
Montate il coperchio del filtro dell'aria e chiudete i fermi (Figura 41).
| Cadenza di manutenzione | Procedura di manutenzione |
|---|---|
| Prima di ogni utilizzo o quotidianamente |
|
| Ogni 100 ore |
|
| Ogni 200 ore |
|
Tipo di olio: Olio detergente (API service SF, SG, SH, SJ o SL)
Capacità della coppa dell’olio:
Motori Kawasaki FX691 – 2 litri con un cambio filtro; 1,8 litri senza un cambio filtro
Motori Kawasaki FX801 – 2,3 litri con un cambio filtro; 2,1 litri senza un cambio filtro
Viscosità: Vedere la tabella seguente.

Note: Sebbene un olio motore 10W-40 sia consigliato per la maggior parte delle condizioni, potrebbe essere necessario cambiare la viscosità dell’olio per adattarsi alle condizioni atmosferiche. L’utilizzo di un olio motore 20W-50 a temperature ambientali più alte può ridurre il consumo dell’olio.
Note: Controllate l'olio a motore freddo.
Important: Se riempite troppo o troppo poco la coppa dell'olio del motore con olio e mettete in funzione il motore, potreste causare danni al motore.
Parcheggiate la macchina su una superficie pianeggiante, disinnestate l'interruttore di comando delle lame (PDF) e inserite il freno di stazionamento.
Prima di scendere dalla postazione di guida spegnete il motore, togliete la chiave di accensione e attendete che si arrestino tutte le parti in movimento.
Note: Assicuratevi che il motore sia freddo, in modo che l'olio abbia avuto il tempo necessario per spurgare nel pozzetto.
Per evitare morchia, residui d'erba, ecc. nel motore, pulite l'area attorno al tappo e all'asta di livello dell'olio prima della rimozione (Figura 43).


Note: Consegnate l'olio usato ad un centro di raccolta.
Avviate il motore e lasciatelo funzionare per 5 minuti.
Note: L'olio caldo si spurga con maggiore facilità.
Parcheggiate la macchina in modo che il lato di spurgo sia leggermente più basso rispetto al lato opposto, per garantire l'efflusso completo dell'olio.
Disinnestate l'interruttore di comando delle lame (PDF) e innestate il freno di stazionamento.
Prima di scendere dalla postazione di guida, spegnete il motore, togliete la chiave di accensione e attendete l'arresto di tutte le parti in movimento.
Spurgate l'olio dal motore (Figura 44).


Versate lentamente circa l'80% dell'olio indicato nel tubo di rifornimento e sempre con cautela rabboccate l'olio necessario per portarlo alla tacca di Pieno (Figura 45).

Avviate il motore e guidate verso una zona pianeggiante:
Controllate nuovamente il livello dell'olio.
Spurgate l'olio dal motore; vedere Cambio dell'olio motore.
Cambiate il filtro dell'olio del motore (Figura 46).


Note: Assicuratevi che la guarnizione del filtro dell'olio tocchi il motore e poi ruotatelo di altri ¾ di giro.
Riempire la coppa dell'olio con olio nuovo adatto; vedere Specifiche dell'olio motore.
| Cadenza di manutenzione | Procedura di manutenzione |
|---|---|
| Ogni 100 ore |
|
Prima di montare la candela accertatevi che la distanza tra gli elettrodi centrali e laterali sia corretta. Utilizzate una chiave per candele per la rimozione e il montaggio della candela, ed un calibro o uno spessimetro per il controllo e la regolazione della distanza fra gli elettrodi. Se necessario, montate una nuova candela.
Tipo di candele:
Motori Kawasaki FX691 e FX801 – NGK® BPR4ES o equivalente
Distanza tra gli elettrodi: 0,75 mm
Parcheggiate la macchina su una superficie pianeggiante, disinnestate l'interruttore di comando delle lame (PDF) e inserite il freno di stazionamento.
Prima di scendere dalla postazione di guida spegnete il motore, togliete la chiave di accensione e attendete che si arrestino tutte le parti in movimento.
Pulite l'area attorno alla base della candela per tenere detriti e sporco lontano dal motore.
Individuate e rimuovete la/e candela/e, come illustrato nella Figura 47.


Important: Non pulite la(e) candela(e). Sostituite sempre la candela (o candele) in caso di patina nera sull'isolatore, elettrodi usurati, pellicola d'olio oppure crepe.
Se l'isolatore è marrone chiaro o grigio, il motore funziona correttamente. Una patina nera sull'isolatore significa in genere che il filtro dell'aria è sporco.
Regolate la distanza a 0,76 mm.


In determinate condizioni, il carburante è estremamente infiammabile ed altamente esplosivo. Un incendio o un’esplosione causati dal carburante possono ustionare voi ed altre persone e provocare danni.
Fate riferimento a Avvertimenti sull'utilizzo del carburante per un elenco completo di precauzioni relative al carburante.
| Cadenza di manutenzione | Procedura di manutenzione |
|---|---|
| Ogni 500 ore |
|
Important: Installate i tubi del carburante e fissateli con fascette in plastica come erano montati in origine per mantenere il tubo di alimentazione lontano dai componenti che potrebbero danneggiarlo.
Non montate mai un filtro sporco dopo averlo rimosso dal tubo del carburante.
Il filtro del carburante è situato vicino al motore sul lato anteriore sinistro del motore.
Parcheggiate la macchina su una superficie pianeggiante, disinnestate l'interruttore di comando delle lame (PDF) e inserite il freno di stazionamento.
Prima di scendere dalla postazione di guida spegnete il motore, togliete la chiave di accensione e attendete che si arrestino tutte le parti in movimento.
Lasciate raffreddare la macchina.
Sostituite il filtro del carburante (Figura 50).
Note: Accertatevi che la freccia che indica la direzione del flusso sui filtri sostitutivi punti verso il motore.

Non cercate di svuotare il serbatoio del carburante. Per lo svuotamento del serbatoio del carburante e la revisione di qualsiasi componente dell'impianto di alimentazione rivolgetevi unicamente a un Centro Assistenza autorizzato.
Scollegate la batteria prima di riparare la macchina. Scollegate prima il morsetto negativo, poi quello positivo. Collegate prima il morsetto positivo, poi quello negativo.
Caricate la batteria in un'area aperta e ben ventilata, lontano da fiamme e scintille. Togliete la spina del caricabatterie prima di collegare o scollegare la batteria. Indossate indumenti di protezione e adoperare utensili isolati.
| Cadenza di manutenzione | Procedura di manutenzione |
|---|---|
| Ogni mese |
|
I morsetti della batteria o gli utensili metallici possono creare cortocircuiti contro i componenti metallici della macchina e provocare scintille. Eventuali scintille possono fare esplodere i gas delle batterie e provocare lesioni personali.
Quando la batteria viene smontata o montata, evitate che i morsetti entrino a contatto con le parti metalliche della macchina.
Evitate cortocircuiti fra i morsetti della batteria e le parti metalliche della macchina causati da utensili metallici.
Una rimozione non corretta dei cavi dalla batteria può causare danni a macchina e cavi, causando scintille Queste possono fare esplodere i gas delle batterie e provocare infortuni.
Scollegate sempre il cavo negativo (nero) della batteria prima di quello positivo (rosso).
Collegate sempre il cavo positivo (rosso) della batteria prima di quello negativo (nero).
Parcheggiate la macchina su una superficie pianeggiante, disinnestate l'interruttore di comando delle lame (PDF) e inserite il freno di stazionamento.
Prima di scendere dalla postazione di guida spegnete il motore, togliete la chiave di accensione e attendete che si arrestino tutte le parti in movimento.
Rimuovete la batteria come illustrato nella Figura 51.


Durante la ricarica della batteria, si sviluppano gas esplosivi.
Non fumate mai vicino alla batteria e tenete lontane fiamme e scintille dalla batteria.
Important: La batteria deve essere sempre completamente carica (densità specifica 1,265). Questo aspetto è particolarmente importante per non danneggiare la batteria qualora la temperatura scenda sotto 0 ℃.
Togliete la batteria dal telaio; vedere Rimozione della batteria.
Caricate la batteria per 10–15 minuti a 25–30 A o per 30 minuti a 10 A.
Note: Non sovraccaricatela.
Quando la batteria è completamente carica, staccate il caricabatterie dalla presa elettrica e scollegate i cavi di ricarica dai poli della batteria (Figura 52).
Montate la batteria nella macchina e collegate i cavi; vedere Montaggio della batteria.
Note: Non usate la macchina se la batteria è scollegata, o danneggerete l’impianto elettrico.

Posizionate la batteria nel vassoio, con i poli in posizione opposta al serbatoio idraulico (Figura 51).
Montate il cavo positivo (rosso) della batteria sul morsetto positivo (+) della batteria.
Montate quindi il cavo negativo (nero) della batteria ed il filo di messa a terra sul morsetto negativo (-) della batteria.
Note: Per le macchine MyRide, assicuratevi che il cavo di terra non sfreghi contro il braccio di trascinamento o l'ammortizzatore inferiore (Figura 54).

Fissate i cavi con 2 bulloni, 2 rondelle e 2 dadi di bloccaggio (Figura 51).
Infilate la guaina rossa del morsetto sul morsetto positivo (rosso) della batteria.
Fissate la batteria con la fascetta in gomma (Figura 51).
L'impianto elettrico è protetto da fusibili. Non richiede manutenzione; tuttavia, se un fusibile salta, verificate il componente e il circuito per escludere un malfunzionamento o un cortocircuito.
I fusibili sono posizionati sulla consolle di destra vicino al sedile (Figura 54).
Per sostituire un fusibile, tiratelo ed estraetelo dall'attacco.
Montate un fusibile nuovo (Figura 54).

| Cadenza di manutenzione | Procedura di manutenzione |
|---|---|
| Prima di ogni utilizzo o quotidianamente |
|
Ispezionate la cintura di sicurezza verificando che non presenti segni di usura o tagli e che il riavvolgitore e la fibbia funzionino correttamente. Se la cintura di sicurezza è danneggiata, sostituitela.
Disattivate il comando delle lame (PDF).
Portate la macchina su un'area aperta e pianeggiante e spostate le leve di controllo del movimento in posizione di BLOCCO IN FOLLE.
Portate l'acceleratore al centro tra le posizioni VELOCE e LENTO.
Spostate in avanti entrambe le leve di controllo del movimento fino a che entrambe non giungono al punto di arresto nella fessura a T.
Verificate da che parte tira la macchina.
Se la macchina tira a destra, inserite una chiave esagonale da 3/16" nel foro di accesso del pannello di copertura anteriore sinistro e ruotate la vite di allineamento in senso orario o antiorario per regolare la corsa della leva (Figura 55).
Se la macchina tira a sinistra, inserite una chiave esagonale da 3/16" nel foro di accesso del pannello di copertura anteriore destro e ruotate la vite di allineamento in senso orario o antiorario per regolare la corsa della leva (Figura 55).
Azionate la macchina e controllate l'allineamento in avanti.
Ripetete la regolazione fino a ottenere l'allineamento desiderato.

| Cadenza di manutenzione | Procedura di manutenzione |
|---|---|
| Ogni 50 ore |
|
Mantenete la pressione dell'aria nei pneumatici delle ruote orientabili e i pneumatici posteriori a 0,9 bar. La pressione irregolare degli pneumatici può causare un taglio irregolare. Per ottenere valori più attendibili, controllate gli pneumatici a freddo.

Verificate e serrate i dadi ad alette delle ruote a 122–136 N∙m.
| Cadenza di manutenzione | Procedura di manutenzione |
|---|---|
| Dopo le prime 100 ore |
|
| Ogni 500 ore |
|
Note: Verificate che il freno di stazionamento sia regolato correttamente. Seguite questa procedura dopo le prime 100 ore o in caso di rimozione o sostituzione di un componente del freno.
Parcheggiate la macchina su terreno pianeggiante.
Disinnestate il comando delle lame (PDF), spostate le leve di comando del movimento in posizione di BLOCCO IN FOLLE e inserite il freno di stazionamento.
Prima di scendere dalla postazione di guida spegnete la macchina, togliete la chiave e attendete che si fermino tutte le parti in movimento.
Configurate la macchina per la spinta a mano. Vedere Utilizzo delle valvole di rilascio delle ruote motrici.
Sollevate la parte posteriore della macchina e sostenetela su cavalletti.
Affidarsi unicamente ai cavalletti meccanici o idraulici per supportare una macchina sollevata per l'assistenza o la manutenzione può essere pericoloso, dal momento che i cavalletti potrebbero non fornire un supporto sufficiente o potrebbero non funzionare correttamente, facendo cadere la macchina e causando possibili gravi lesioni.
Non utilizzate unicamente binde meccaniche o idrauliche per sollevare la macchina. Utilizzate cavalletti idonei o supporti equivalenti.
Inserite o disinserite il freno di riparazione e controllate ogni pneumatico di trazione per accertare che ogni freno si inserisca e si disinserisca.
Per eventuali regolazioni, disinnestate il freno di stazionamento. Esaminate tutti i componenti della tiranteria del freno di stazionamento per individuare eventuali segni di usura. Sostituite eventuali componenti usurati (Figura 57) e ripetete il passaggio 6.

Controllate entrambe le lunghezze della molla come mostrato in Figura 58 Qualora si renda necessaria una regolazione, ruotate il dado di ritenuta della molla in senso orario per accorciare la molla e in senso antiorario per allungarla. Ripetete il passaggio 6.

Completata la regolazione, rimuovete i cavalletti o i supporti equivalenti e abbassate la macchina.
Posizionate la macchina in posizione di FUNZIONAMENTO. Vedere Utilizzo delle valvole di rilascio delle ruote motrici.
| Cadenza di manutenzione | Procedura di manutenzione |
|---|---|
| Ogni 50 ore |
|
Se la cinghia è usurata, sostituitela. I segni di una cinghia usurata includono stridio durante la rotazione della cinghia, slittamento delle lame durante il taglio dell’erba, bordi sfilacciati, segni di bruciatura e spaccature sulla cinghia.
Parcheggiate la macchina su una superficie pianeggiante, disinnestate l'interruttore di comando delle lame (PDF) e inserite il freno di stazionamento.
Prima di scendere dalla postazione di guida spegnete il motore, togliete la chiave di accensione e attendete che si arrestino tutte le parti in movimento.
Abbassate il tosaerba all'altezza di taglio di 76 mm.
Allentate il bullone su ogni copricinghia.
Rilasciate la copertura del piatto di taglio rimuovendo la coppiglia; fate riferimento a Rilascio della cortina del piatto di taglio.
Rimuovete la protezione in lamiera; fate riferimento a Rimozione della protezione in lamiera.
Rimuovete i copricinghia (Figura 59).

Inserite un cricchetto da ⅜" nel foro quadrato del braccio di rinvio per allentare la molla del tendicinghia (Figura 60).
Rimuovete la cinghia dalle pulegge del piatto di taglio e dalla puleggia della frizione.
Togliete il guidacinghia dal braccio di rinvio a molla (Figura 60).
Togliete la cinghia installata.
Montate la nuova cinghia attorno alle pulegge del tosaerba e alla puleggia della frizione, sotto il motore (Figura 60).

Montate il guidacinghia sul braccio di rinvio (Figura 60).
Con il cricchetto da ⅜" nel foro quadrato, montate la molla del tendicinghia (Figura 60).
Note: Verificate che le estremità delle molle siano sigillate nelle scanalature di ancoraggio.
Montate i copricinghia (Figura 61).

Parcheggiate la macchina su una superficie pianeggiante, disinnestate l'interruttore di comando delle lame (PDF) e inserite il freno di stazionamento.
Prima di scendere dalla postazione di guida spegnete il motore, togliete la chiave di accensione e attendete che si arrestino tutte le parti in movimento.
Rimuovete la cinghia del tosaerba; vedere Sostituzione della cinghia del tosaerba.
Sollevate la macchina e sostenetela su cavalletti.
Inserite un cricchetto da ½" o una chiave a bussola a snodo in uno dei fori quadrati del braccio di rinvio per rimuovere la tensione della molla del tendicinghia (Figura 62).
Rimuovete la cinghia esistente dalla puleggia tendicinghia, dalle 2 pulegge di trasmissione della pompa idraulica e dalla puleggia del motore (Figura 62).
Montate la nuova cinghia attorno alla puleggia tendicinghia, alla puleggia del motore e alle 2 pulegge della pompa idraulica (Figura 62).
Utilizzate un cricchetto da ½" o una chiave a bussola a snodo in uno dei fori quadrati per montare la molla del tendicinghia.
Note: Verificate che le estremità delle molle siano sigillate nelle scanalature di ancoraggio.
Installate la cinghia del tosaerba; vedere Sostituzione della cinghia del tosaerba.

Se le estremità delle leve sono a contatto, vedere Regolazione della tiranteria di controllo del movimento.
Per un comfort ottimale, è possibile regolare le leve di controllo del movimento più in alto o più in basso.
Parcheggiate la macchina su una superficie pianeggiante, disinnestate l'interruttore di comando delle lame (PDF) e inserite il freno di stazionamento.
Prima di scendere dalla postazione di guida spegnete il motore, togliete la chiave di accensione e attendete che si arrestino tutte le parti in movimento.
Rimuovete la ferramenta che fissa la leva di controllo all'albero del braccio di controllo.

Spostate la leva di comando nella serie di fori successiva. Fissate la leva con la ferramenta.
Ripetete la regolazione sulla leva di comando opposta.
Parcheggiate la macchina su una superficie pianeggiante, disinnestate l'interruttore di comando delle lame (PDF) e inserite il freno di stazionamento.
Prima di scendere dalla postazione di guida spegnete il motore, togliete la chiave di accensione e attendete che si arrestino tutte le parti in movimento.
Allentate il bullone superiore che fissa la leva di controllo all'albero del braccio di controllo.
Allentate il bullone inferiore appena a sufficienza per ruotare la leva di controllo in avanti o all'indietro. Serrate entrambi i bulloni per fissare il controllo nella nuova posizione.
Ripetete la regolazione sulla leva di comando opposta.

Situati sotto ciascun lato della macchina, sotto il sedile, si trovano i tiranti di controllo della pompa. Ruotando il dado terminale con una chiave a brugola profonda ½" è possibile perfezionare la regolazione, in modo che la macchina non si sposti in folle. Qualsiasi regolazione dovrà essere eseguita unicamente per il posizionamento in folle.
Il motore deve essere in funzione e le ruote motrici devono girare, in modo che sia possibile effettuare queste regolazioni. Il contatto con parti in movimento o superfici calde può causare infortuni.
Tenete dita, mani e abiti lontano dalle parti rotanti e dalle superfici calde.
Parcheggiate la macchina su una superficie pianeggiante, disinnestate l'interruttore di comando delle lame (PDF) e inserite il freno di stazionamento.
Prima di scendere dalla postazione di guida spegnete il motore, togliete la chiave di accensione e attendete che si arrestino tutte le parti in movimento.
Spingete il pedale di sollevamento del piatto di taglio, rimuovete il perno dell'altezza di taglio e abbassate a terra il piatto di taglio
Sollevate la parte posteriore della macchina e sostenetela con i cavalletti (o supporti equivalenti) a un'altezza sufficiente a consentire alle ruote motrici di ruotare liberamente.
Togliete il connettore elettrico dall'interruttore di sicurezza del sedile, posto sotto il cuscino inferiore del sedile stesso.
Note: L'interruttore fa parte del gruppo del sedile.
Montate provvisoriamente un ponticello sui morsetti del connettore del cablaggio principale.
Avviate il motore, lasciatelo in funzione a pieno regime e disinserite il freno di stazionamento.
Note: Prima di avviare il motore, assicuratevi che il freno di stazionamento sia inserito e che le leve di comando del movimento siano all'esterno. Non dovete essere sul sedile.
Lasciate in funzione la macchina per almeno 5 minuti con le leve di azionamento alla massima velocità di marcia in avanti per portare l'olio idraulico alla temperatura operativa.
Note: Le leve di comando del movimento devono essere in folle quando effettuate eventuali regolazioni.
Portate le leve di comando del movimento in posizione di FOLLE.
Controllate e accertate che le alette della piastra di controllo siano a contatto con le piastre di ritorno in folle sulle unità idrauliche.
Regolate le lunghezze delle aste di controllo della pompa ruotando il dado nella direzione idonea sinché le ruote strisciano leggermente in retromarcia (Figura 65 e Figura 66).


Spostate le leve di controllo del movimento in posizione di RETROMARCIA e applicando una leggera pressione alla leva consentite alle molle dell'indicatore di retromarcia di riportare le leve in folle.
Note: Le ruote devono smettere di ruotare o procedere leggermente in marcia indietro.
Note: Può essere necessario rimuovere la copertura del controllo del movimento per acquisire l'accesso.
Spegnete la macchina.
Togliete il ponticello dal connettore del cablaggio preassemblato ed inserite il connettore nell'interruttore del sedile.
Togliete i cavalletti.
Sollevate il piatto di taglio e installate il perno dell'altezza di taglio.
Verificate e assicuratevi che la macchina non proceda quando è in folle con il freno di stazionamento disinserito.
Se il fluido penetra nella pelle, rivolgetevi immediatamente a un medico. Il fluido idraulico penetrato sotto la pelle deve essere asportato da un medico entro poche ore.
Prima di mettere l'impianto sotto pressione, accertatevi che tutti i circuiti e i tubi dell'olio idraulico siano in buone condizioni e che tutte le connessioni e i raccordi idraulici siano serrati saldamente.
Tenete corpo e mani lontano da perdite filiformi o da ugelli che emettono fluido idraulico pressurizzato.
Usate carta o cartone per individuare eventuali perdite di fluido idraulico.
Rilasciate in maniera sicura la pressione dall'impianto idraulico prima di eseguire qualunque intervento sull'impianto.
Tipo di fluido idraulico: fluido idraulico Toro® HYPR-OIL™ 500
Important: Usate Il fluido specificato. Altri fluidi potrebbero danneggiare l'impianto idraulico.
Capacità dell'impianto idraulico (con filtri rimossi): 7,57 litri
| Cadenza di manutenzione | Procedura di manutenzione |
|---|---|
| Prima di ogni utilizzo o quotidianamente |
|
Lasciate raffreddare il fluido idraulico. Controllate il livello dell'olio quando il fluido è freddo.
Controllate il serbatoio di espansione e all'occorrenza aggiungete fluido idraulico Toro® HYPR-OIL™ 500 sino alla riga FULL COLD. (Figura 67).

| Cadenza di manutenzione | Procedura di manutenzione |
|---|---|
| Dopo le prime 100 ore |
|
Per sostituire il fluido idraulico è necessario togliere i filtri. Sostituite entrambi contemporaneamente; fate riferimento a Specifiche del fluido idraulico per le specifiche del fluido.
Spurgate eventuale aria nell'impianto una volta montati i nuovi filtri e aggiungete il fluido. Vedere Spurgo dell'impianto idraulico. Ripetete il processo di spurgo fino a quando il fluido non rimarrà all'altezza della riga FULL COLD nel serbatoio dopo lo spurgo.
Important: L'esecuzione scorretta di questa procedura può causare danni irreversibili al sistema della trasmissione.
Parcheggiate la macchina su una superficie pianeggiante, disinnestate l'interruttore di comando delle lame (PDF) e inserite il freno di stazionamento.
Prima di scendere dalla postazione di guida spegnete il motore, togliete la chiave di accensione e attendete che si arrestino tutte le parti in movimento.
Lasciate raffreddare il motore.
Con una prolunga e una bussola da 7/16", accedete al tappo di sfiato dall'alto della macchina attraverso i fori accanto ai supporti del roll bar (Figura 68).
Note: Accertatevi di tener traccia del tappo di sfiato dopo la rimozione in quanto può essere facile posizionarlo erroneamente.

Pulite attentamente l’area attorno al filtro.
Important: Non fate entrare sporcizia nell'impianto idraulico poiché, se accadesse, potrebbe contaminarsi.
Posizionate una bacinella di spurgo sotto il filtro per raccogliere il fluido che spurga quando vengono rimossi filtro e tappi di sfiato.
Rimuovete la copertura del filtro del fluido idraulico dal transaxle per spurgare il fluido (Figura 69).

Rimuovete l'O-ring dalla copertura del filtro ed eliminatelo.
Dopo che il fluido idraulico verrà spurgato dal transaxle, rimuovete il filtro dall'alloggiamento del transaxle.
Ripetete la procedura sull'altro lato della macchina.
Montate un nuovo filtro nel transaxle e un nuovo O-ring sulla protezione del filtro.
Montate la copertura del filtro.
Serrate la copertura del filtro a una coppia compresa tra 22,6 e 33,8 N∙m.
Rimuovete il tappo dal serbatoio di espansione e riempite i transaxle con il fluido specificato sino a raggiungere la corretta capacità di fluido.
Note: Il riempimento dei transaxle potrebbe richiedere più tempo del previsto.
Montate i tappi di sfiato rimossi in precedenza e serrateli a una coppia compresa tra 3,95 e 9,04 N∙m.
Passate a Spurgo dell'impianto idraulico.
Important: La mancata esecuzione della procedura di Spurgo dell'impianto idraulico dopo la sostituzione dei filtri idraulici e del fluido può causare danni irreparabili al sistema di trasmissione del transaxle.
Sollevate la parte posteriore della macchina e sostenetela con cavalletti (o supporti equivalenti) a un'altezza sufficiente da consentire alle ruote motrici di girare liberamente.

Avviate il motore e spostate in avanti il comando dell’acceleratore in posizione media e disinnestate il freno di stazionamento.
Spostate le leve bypass nella posizione di spinta della macchina. Con la valvola di by-pass aperta e il motore in funzione, spostate lentamente le leve di controllo del movimento avanti e indietro 5 o 6 volte.
Spostate le leve by-pass nella posizione di funzionamento della macchina.
Con la valvola di by-pass chiusa e il motore in funzione, spostate lentamente le leve di controllo del movimento avanti e indietro 5 o 6 volte.
Spegnete il motore e controllate il livello del fluido nel serbatoio di espansione. Aggiungete il fluido specificato fino a quando non raggiunge la linea FULL COLD nel serbatoio di espansione.
Ripetete il punto 2 fino a eliminare completamente l’aria dall’impianto.
Note: Quando l’asse transaxle funziona a livelli di rumorosità normali, si sposta liberamente avanti e indietro a velocità normali, allora è svuotato.
Controllate un'ultima volta il livello del fluido nel serbatoio di espansione. Aggiungete il fluido specificato fino a quando non raggiunge la linea FULL COLD nel serbatoio di espansione.
Controllate le lame ad intervalli regolari, per accertare che non siano consumate o danneggiate.
Prestate la massima attenzione quando controllate le lame. Durante gli interventi di manutenzione, avvolgete le lame o indossate guanti adatti allo scopo, prestando molta attenzione. Le lame possono essere solo affilate o sostituite, ma non raddrizzate né saldate.
Su macchine multilama, ricordate che la rotazione di una lama può provocare la rotazione anche di altre lame.
Sostituite in serie lame e bulloni usurati o danneggiati, per mantenere il bilanciamento.
Per garantire una qualità del taglio superiore, mantenete le lame affilate. Per facilitare l'affilatura e la sostituzione, è preferibile tenere una scorta di lame di ricambio.
Parcheggiate la macchina su una superficie pianeggiante, disinnestate l'interruttore di comando delle lame (PDF) e inserite il freno di stazionamento.
Spegnete il motore, togliete la chiave e scollegate i cappellotti dalle candele.
| Cadenza di manutenzione | Procedura di manutenzione |
|---|---|
| Prima di ogni utilizzo o quotidianamente |
|
Controllate i taglienti (Figura 71).
Se i taglienti non sono affilati o presentano intaccature, togliete la lama ed affilatela; vedere Affilatura delle lame.
Controllate le lame, in particolare l'area curva.
Se notate incrinature, usura o scanalature in questa zona, montate immediatamente una nuova lama (Figura 71).

Note: La macchina deve essere posizionata su una superficie pianeggiante per la seguente procedura.
Sollevate il piatto di taglio alla posizione superiore dell'altezza di taglio.
Indossando guanti dalla spessa imbottitura o altre protezioni idonee per le mani, ruotate lentamente la lama in una posizione che consenta di misurare la distanza tra il bordo di taglio e la superficie piana su cui si trova la macchina (Figura 72).

Misurate dalla punta della lama alla superficie piana (Figura 73).

Ruotate la stessa lama di 180 gradi in modo che il tagliente opposto si trovi ora nella stessa posizione (Figura 74).

Misurate dalla punta della lama alla superficie piana (Figura 75).
Note: La varianza non deve essere superiore a 3 mm.

Se la differenza tra A e B è superiore a 3 mm, sostituite la lama con una nuova; fate riferimento a Rimozione delle lame e Montaggio delle lame.
Note: Se viene sostituita una lama curva con una nuova lama e la dimensione ottenuta continua ad essere superiore a 3 mm, il fusello della lama può essere piegato. Rivolgetevi a un Centro Assistenza autorizzato per avere assistenza.
Se la varianza è limitata, spostatevi alla lama successiva.
Ripetete la procedura su ogni lama.
Sostituite le lame se colpiscono un oggetto solido, se sono sbilanciate o piegate.
Posizionate una chiave sulla spianatura dell’albero del fusello, oppure tenete l'estremità della lama con un cencio o un guanto bene imbottito.
Rimuovete il bullone della lama, la boccola e la lama dall’albero del fusello (Figura 76).

Affilate i taglienti da entrambe le estremità della lama con una lima (Figura 77).
Note: Rispettate l’angolazione originale.
Note: La lama conserva il proprio equilibrio soltanto se viene rimossa una quantità uguale di materiale da entrambi i taglienti.

Controllate l’equilibrio della lama posizionandola su un bilanciatore (Figura 78).
Note: Se la lama rimane in posizione orizzontale, è bilanciata e può essere utilizzata.
Note: Se la lama non è bilanciata, limate del metallo soltanto dalla costa (Figura 77).

Ripetete la procedura finché la lama non è perfettamente bilanciata.
Montate la boccola attraverso la lama con la flangia della boccola sul lato inferiore (erba) della lama (Figura 79).

Montate il gruppo boccola/lama nell’albero del mandrino (Figura 80).

Applicate lubrificante o grasso a base di rame sui filetti del bullone della lama come opportuno per evitare il grippaggio. Montate il bullone della lama serrandolo a mano.
Posizionate una chiave sulla spianatura dell’albero del mandrino e serrate il bullone della lama a 75–81 N∙m.
Il livellamento del piatto di taglio deve essere controllato ogni volta che si mette in opera il tosaerba oppure quando il taglio è irregolare.
Verificate il piatto di taglio per escludere lame piegate prima del livellamento e rimuovete e sostituite eventuali lame piegate; fate riferimento a Revisione delle lame di taglio prima di proseguire.
Livellate il piatto di taglio prima in senso laterale; poi potete regolare l'inclinazione in senso longitudinale.
Requisiti:
La macchina deve essere posizionata su una superficie pianeggiante.
Gli pneumatici devono essere tutti e opportunamente gonfiati; fate riferimento a Controllo della pressione degli pneumatici.
Parcheggiate la macchina su una superficie pianeggiante, disinnestate l'interruttore di comando delle lame (PDF) e inserite il freno di stazionamento.
Prima di scendere dalla postazione di guida spegnete il motore, togliete la chiave di accensione e attendete che si arrestino tutte le parti in movimento.
Controllate la pressione degli pneumatici delle ruote motrici; vedere Controllo della pressione degli pneumatici.
Posizionate il piatto del tosaerba in posizione di blocco di trasporto.
Ruotate con cautela le lame da un lato all'altro.
Misurate tra la punta della lama e la superficie piana (Figura 81). Se entrambe le misurazioni non rientrano nei 5 mm, regolate il livellamento; continuate la procedura.

Controllate il livello della lama in direzione longitudinale (Figura 82). Accertate che la punta della lama anteriore sia più bassa della punta della lama posteriore mostrata nella tabella dell'angolo di spoglia e dell'altezza del blocco. Per eventuali regolazioni, continuate la procedura.

Impostate i rulli anti-strappo sui fori superiori o rimuoveteli completamente per questa regolazione.
Sollevate il piatto in posizione di trasporto (140 mm).
Allentate lentamente la vite di regolazione sulla molla di sollevamento assistito sinché non è possibile rimuovere la vite (Figura 83).
Note: Conservate la vite per l'installazione.

Posizionate i 2 blocchi (vedere la tabella dell'angolo di spoglia e dell'altezza del blocco) sotto il bordo posteriore della falda del piatto di taglio; 1 su ogni lato del piatto di taglio (Figura 84).
Regolate la leva dell’altezza di taglio sulla posizione di 76 mm.
Posizionate i 2 blocchi sotto ogni lato del bordo anteriore del piatto, ma non sotto le staffe o le saldature del rullo anti-strappo.

| Dimensione del piatto | Altezza del blocco anteriore | Angolo di spoglia |
| Tutti i piatti di taglio | 73 mm | 4,8–6,4 mm |
Ruotate con cautela le lame da un lato all’altro (Figura 81).
Allentate i controdadi (Figura 85) sui 4 spigoli e accertate che il piatto di taglio sia posizionato in sicurezza sui 4 blocchi.
Eliminate l'eventuale imbando dalle staffe del piatto e accertate che la leva a pedale di sollevamento del piatto sia spinta contro il fermo.
Serrate i 4 controdadi.

Controllate che i blocchi si inseriscano perfettamente sotto la falda del piatto di taglio e che i bulloni di fissaggio siano serrati.
Continuate a livellare il piatto controllando l'inclinazione longitudinale della lama.
Controllate il livellamento delle lame ed eventualmente ripetete la procedura di livellamento del piatto.
Sollevate il piatto in posizione di trasporto (140 mm).
Montate la molla di sollevamento assistito rimossa in precedenza al passaggio 10.
Impostate la distanza tra la molla e la staffa tra 22 e 29 mm.
Prima di effettuare la revisione o rimuovere il piatto di taglio, sbloccate i bracci del piatto di taglio a molla.
Parcheggiate la macchina su una superficie pianeggiante, disinnestate l'interruttore di comando delle lame (PDF) e inserite il freno di stazionamento.
Prima di scendere dalla postazione di guida spegnete il motore, togliete la chiave di accensione e attendete che si arrestino tutte le parti in movimento.
Abbassate il tosaerba all'altezza di taglio di 76 mm.
Rilasciate la copertura del piatto di taglio rimuovendo la coppiglia; fate riferimento a Rilascio della cortina del piatto di taglio.
Togliete i copricinghia.
Allentate il rinvio del piatto del tosaerba e rimuovete la cinghia del tosaerba; fate riferimento a Manutenzione della cinghia.
Rimuovete dadi e bulloni dalla parte anteriore della piastra sotto il poggiapiedi.
Rimuovete e conservate dadi e bulloni su ambo i lati della macchina (Figura 86).

Fate scorrere il piatto di taglio sul lato destro della macchina.
Lasciando scoperta l’apertura di scarico si permette alla macchina di scagliare oggetti verso di voi o verso astanti, causando gravi lesioni. Inoltre, è possibile venire a contatto con la lama.
Non utilizzate mai la macchina se non avete montato la piastra di mulching, il deflettore di scarico o il sistema di raccolta dell’erba.
Togliete il dado di bloccaggio, il bullone, la molla e il distanziale che fissano il deflettore alle staffe orientabili del tosaerba (Figura 87).
Togliete il deflettore di sfalcio se è danneggiato o consumato (Figura 87).

Inserite il distanziale e la molla sul deflettore di sfalcio.
Collocate un’estremità a gancio J della molla dietro il bordo della scocca.
Note: Verificate che un'estremità a gancio J della molla si trovi dietro il bordo del piatto di taglio prima di montare il bullone, come illustrato nella Figura 87.
Montate il bullone e il dado.
Infilate l'estremità a gancio J della molla attorno al deflettore dello sfalcio (Figura 87).
Important: Il deflettore dello sfalcio deve essere in grado di girare. Sollevate il deflettore fino alla posizione completamente aperta e controllate che ruoti fino alla posizione completamente ribassata.
| Cadenza di manutenzione | Procedura di manutenzione |
|---|---|
| Dopo ogni utilizzo |
|
Parcheggiate la macchina su una superficie pianeggiante, disinnestate l'interruttore di comando delle lame (PDF) e inserite il freno di stazionamento.
Prima di scendere dalla postazione di guida spegnete il motore, togliete la chiave di accensione e attendete che si arrestino tutte le parti in movimento.
Sollevate il piatto di taglio alla posizione di TRASFERIMENTO
Utilizzate aria compressa per pulire il sistema di sospensione.
Note: Non pulite i gruppi ammortizzatore con acqua sotto pressione (Figura 88).

L'olio motore, le batterie, il fluido idraulico e il refrigerante del motore inquinano l'ambiente. Smaltiteli nel pieno rispetto dei regolamenti del vostro stato e regionali.
Spegnete il motore, rimuovete la chiave e attendete l’arresto di tutte le parti in movimento prima di lasciare la posizione dell’operatore. Lasciate raffreddare la macchina prima di eseguire interventi di regolazione, di manutenzione, di pulizia o di rimessarla.
Non rimessate la macchina e non rifornitela di carburante accanto alle fiamme; non spurgate il carburante al chiuso oppure in un rimorchio chiuso.
Non depositate la macchina o la tanica del carburante in presenza di fiamme libere, scintille o spie, come vicino a uno scaldabagno o altre apparecchiature.
Disinnestate l'interruttore di comando delle lame (PDF) e inserite il freno di stazionamento.
Prima di scendere dalla postazione di guida spegnete il motore, togliete la chiave di accensione e attendete che si arrestino tutte le parti in movimento.
Eliminate residui d'erba, morchia e fanghiglia dalle parti esterne della macchina, in particolare dal motore e dall'impianto idraulico. Eliminate morchia e sporcizia dall'esterno del cilindro del motore, dalle alette della testata e dal convogliatore.
Important: La macchina può essere lavata con detersivo neutro ed acqua. Non utilizzate lance ad alta pressione. Non utilizzate una quantità d'acqua eccessiva, in particolare in prossimità della plancia, del motore, delle pompe idrauliche e dei motori.
Verificate il funzionamento del freno di stazionamento; fate riferimento a Regolazione del freno di stazionamento.
Revisionate il filtro dell'aria; vedere Revisione del filtro dell'aria.
Ingrassate la macchina; vedere Ingrassaggio della macchina.
Cambiate l’olio del carter; vedere Cambio dell’olio motore.
Controllate la pressione degli pneumatici; vedere Controllo della pressione degli pneumatici.
Cambiate i filtri idraulici; vedere Cambio del fluido idraulico e dei filtri.
Cambiate la batteria; vedere Carica della batteria.
Raschiate i depositi di erba e morchia dal sottoscocca, quindi lavate il tosaerba con un flessibile da giardino.
Note: Dopo il lavaggio, fate funzionare la macchina con il controllo della lama (PDF) innestato ed il motore al minimo superiore per 2–5 minuti.
Controllate le condizioni delle lame; vedere Revisione delle lame di taglio.
Preparate la macchina per il rimessaggio in caso di pause di utilizzo superiori a 30 giorni. Preparate la macchina per il rimessaggio come segue.
Aggiungete uno stabilizzatore/additivo a base di petrolio al carburante nel serbatoio. Osservate le istruzioni per la miscelazione riportate dal produttore dello stabilizzatore. Non utilizzare stabilizzatori a base di alcol (etanolo o metanolo).
Note: Lo stabilizzatore/additivo del carburante è più efficace se viene utilizzato sempre insieme a carburante fresco.
Lasciate in funzione il motore per distribuire il carburante condizionato attraverso l'impianto del carburante per 5 minuti.
Spegnete il motore, lasciatelo raffreddare e spurgate i serbatoi carburante.
Avviate il motore e fatelo girare finché non si spegne.
Smaltite il carburante nel rispetto dell'ambiente. Riciclate il carburante nel rispetto delle leggi locali.
Important: Non stoccate il carburante contenente stabilizzatore/additivo più a lungo della durata raccomandata dal produttore dello stabilizzatore.
Rimuovete e verificate le condizioni della/e candela/e; fate riferimento a Manutenzione della/e candela/e. Con la candela (o candele) staccata dal motore, versate 30 ml (2 cucchiaiate) d'olio motore nel foro della candela. Attivate il motorino di avviamento elettrico per distribuire l'olio nel cilindro. Installate la/e candela/e. Non montate il cappellotto sulla candela (o candele).
Controllate e serrate tutti i bulloni, i dadi e le viti. Riparate o sostituite le parti danneggiate.
Ritoccate tutti i graffi e le superfici metalliche sverniciate. La vernice può essere ordinata al Centro di Assistenza autorizzato di zona.
Riponete la macchina in una rimessa o in un deposito pulito ed asciutto. Togliete la chiave dall'interruttore e tenetela fuori dalla portata dei bambini o di altri utenti non autorizzati. Coprite la macchina con un telo per proteggerla e mantenerla pulita.
| Problem | Possible Cause | Corrective Action |
|---|---|---|
| Il motore si surriscalda. |
|
|
| Il motorino di avviamento non si avvia. |
|
|
| Il motore non si avvia, ha difficoltà di avviamento o perde potenza. |
|
|
| Il motore perde potenza. |
|
|
| Il tosaerba tira verso destra o sinistra (con le leve completamente avanti) |
|
|
| La trazione non funziona. |
|
|
| La macchina inizia a vibrare in modo insolito. |
|
|
| L'altezza di taglio è irregolare. |
|
|
| Le lame non girano. |
|
|
| La frizione non si innesta. |
|
|

