| Wartungsintervall | Wartungsmaßnahmen |
|---|---|
| Bei jeder Verwendung oder täglich |
|
Dieser Aufsitzer mit Sichelmessern sollte von Landschaftsbauern und geschulten Lohnarbeitern verwendet werden. Er ist hauptsächlich für das Mähen von Gras auf gepflegten Grünflächen in Privat- oder öffentlichen Anlagen gedacht. Wenn diese Maschine für einen anderen Zweck als vorgesehen eingesetzt wird, kann das für Sie und andere Personen gefährlich sein.
Lesen Sie diese Informationen sorgfältig durch, um sich mit dem ordnungsgemäßen Einsatz und der Wartung des Geräts vertraut zu machen und Verletzungen und eine Beschädigung des Geräts zu vermeiden. Sie tragen die Verantwortung für einen ordnungsgemäßen und sicheren Einsatz des Geräts.
Besuchen Sie Toro.com, hinsichtlich Produktsicherheit und Schulungsunterlagen, Zubehörinformationen, Standort eines Händlers, oder Registrierung des Produkts.
Wenden Sie sich an Ihren autorisierten Service-Vertragshändler oder Kundendienst, wenn Sie eine Serviceleistung, Toro Originalersatzteile oder zusätzliche Informationen benötigen. Halten Sie hierfür die Modell- und Seriennummern Ihres Produkts griffbereit. In Bild 1 ist angegeben, wo an dem Produkt die Modell- und die Seriennummer angebracht sind. Tragen Sie hier die Modell- und Seriennummern des Geräts ein.
Important: Scannen Sie mit Ihrem Mobilgerät den QR-Code auf dem Seriennummernaufkleber (falls vorhanden), um auf Garantie-, Ersatzteil- oder andere Produktinformationen zuzugreifen.

In dieser Anleitung werden zwei Begriffe zur Hervorhebung von Informationen verwendet. Wichtig weist auf spezielle mechanische Informationen hin, und Hinweis hebt allgemeine Informationen hervor, die Ihre besondere Beachtung verdienen.
Dieses Sicherheitswarnsymbol (Bild 2) wird sowohl in diesem Handbuch als auch an der Maschine verwendet, um wichtige Sicherheitshinweise zu kennzeichnen, die zur Vermeidung von Unfällen befolgt werden müssen. Dieses Symbol wird mit dem Signalwort Gefahr, Warnung oder Vorsicht dargestellt.
Gefahr: bezeichnet eine unmittelbar drohende Gefahr. Wenn sie nicht gemieden wird, sind Tod oder schwerste Verletzungen die Folge.
Warnung: bezeichnet eine möglicherweise drohende Gefahr. Wenn sie nicht gemieden wird, können Tod oder schwerste Verletzungen die Folge sein.
Vorsicht: bezeichnet eine möglicherweise drohende Gefahr. Wenn sie nicht gemieden wird, können leichte oder geringfügige Verletzungen die Folge sein.

Dieses Produkt erfüllt alle relevanten europäischen Richtlinien; weitere Details finden Sie in der produktspezifischen Konformitätserklärung (DOC).
Weitere Informationen finden Sie in der Motorbedienungsanleitung des Herstellers, die mit der Maschine ausgeliefert wurde.
Brutto- oder Nettodrehmoment: Das Brutto- oder Nettodrehmoment dieses Motors wurden vom Motorhersteller im Labor gemäß SAE J1940 oder J2723 ermittelt. Der tatsächliche Motordrehmoment bei dieser Klasse der Mäher ist bei einer Konfiguration zur Einhaltung der Sicherheits-, Emissions- und Betriebsanforderungen wesentlich geringer. Weitere Informationen finden Sie in der Motorbedienungsanleitung des Herstellers, die mit der Maschine ausgeliefert wurde.
Diese Maschine erfüllt EN ISO 5395.
Dieses Produkt kann Hände und Füße amputieren und Gegenstände aufschleudern. Befolgen Sie zum Vermeiden von schweren oder tödlichen Verletzungen immer alle Sicherheitshinweise.
Lesen und verstehen Sie vor dem Anlassen des Motors den Inhalt dieser Bedienungsanleitung.
Halten Sie Unbeteiligte und Kinder fern.
Kinder oder nicht geschulte Personen dürfen die Maschine weder verwenden noch warten. Lassen Sie nur Personen zu, die verantwortungsbewusst, geschult, mit den Anweisungen vertraut, und körperlich in der Lage sind, die Maschine zu bedienen und zu warten.
Stellen Sie den Überrollbügel immer ganz auf und arretieren ihn. Legen Sie den Sicherheitsgurt an.
Setzen Sie die Maschine nicht in der Nähe von Abhängen, Gräben, Böschungen, Gewässern oder anderen Gefahrenstellen sowie an Hanglagen mit einem Gefälle von mehr als 15° ein.
Halten Sie Hände und Füße von beweglichen Teilen fern.
Bedienen Sie die Maschine niemals, wenn nicht alle Schutzvorrichtungen, Sicherheitsschalter und Abdeckungen angebracht und funktionstüchtig sind.
Stellen Sie vor dem Verlassen der Bedienerposition den Motor ab, ziehen den Schlüssel ab, und warten, bis alle beweglichen Teile zum Stillstand gekommen sind. Lassen Sie die Maschine abkühlen, bevor Sie sie warten, einstellen, betanken, reinigen, oder einlagern.

![]() |
Die Sicherheits- und Bedienungsaufkleber sind für den Bediener gut sichtbar und befinden sich in der Nähe der möglichen Gefahrenbereiche. Tauschen Sie beschädigte oder verloren gegangene Aufkleber aus. |





















Machen Sie sich vor dem Start des Motors und der Verwendung der Maschine mit allen Bedienelementen vertraut.

Das Zündschloss, mit dem der Motor angelassen und abgestellt wird, hat drei Stellungen: AUS, LAUF und START. Siehe Anlassen des Motors.
Stellen Sie Beleuchtungsschalter in die EIN- oder AUS-Stellung, um Beleuchtung ein- oder auszuschalten (Bild 5).
Lassen Sie einen kalten Motor mit dem Choke an.
Die Gasbedienung steuert die Motordrehzahl und hat eine fortlaufend variable Einstellung von SLOW (LANGSAM) bis FAST (SCHNELL) (Bild 5).
Mit dem Zapfwellenantriebsschalter, der durch ein Zapfwellensymbol dargestellt wird, kuppeln Sie den Antrieb der Mähwerkmesser ein oder aus (Bild 5).
Der Betriebsstundenzähler zeichnet die Stunden auf, die der Motor gelaufen ist. Er läuft, wenn der Motor läuft. Richten Sie Ihre regelmäßigen Wartungsmaßnahmen nach dieser Angabe (Bild 6).

Auf dem Betriebsstundenzähler zeigen Symbole mit einem schwarzen Dreieck an, dass der Sicherheitsschalter in der richtigen Stellung ist (Bild 6).
Wenn Sie das Zündschloss für einige Sekunden in die EIN-Stellung drehen, wird die Batterieladung im Bereich angezeigt, in dem normalerweise die Betriebsstunden angezeigt werden.
Die Anzeigelampe für die Batterie leuchtet beim Einschalten am Zündschloss auf oder wenn die Ladung unter dem richtigen Betriebsniveau ist (Bild 6).
Mit den Fahrantriebshebeln fahren Sie die Maschine vorwärts, rückwärts und wenden (Bild 4).
Schieben Sie die Fahrantriebshebel von der Mitte nach außen in die ARRETIERTE NEUTRAL-Stellung, wenn Sie von der Maschine absteigen (Bild 25). Stellen Sie die Fahrantriebshebel immer in die ARRETIERTE NEUTRAL-Stellung, wenn Sie die Maschine anhalten oder unbeaufsichtigt lassen.
Wenn Sie den Motor abstellen, aktivieren Sie die Feststellbremse, sodass sich die Maschine nicht aus Versehen bewegt.
Schließen Sie den Kraftstoffhahn vor dem Transport oder der Einlagerung der Maschine (Verwenden des Kraftstoffhahns).
Note: Änderungen der technischen Daten und des Designs sind vorbehalten.
| 122 cm Mähwerk | 132 cm Mähwerk | 152 cm Mähwerk | |
|---|---|---|---|
| Ohne Mähwerk | 129 cm | 137 cm | 140 cm |
| Hochgeklapptes Ablenkblech | 141 cm | 150 cm | 166 cm |
| Abgesenktes Ablenkblech | 160 cm | 171 cm | 191 cm |
| Ablenkblech entfernt | 132 cm | 141 cm | 156 cm |
| 24-Zoll-Reifen | 26-Zoll-Reifen | |
|---|---|---|
| Länge | 219 cm | 220 cm |
| 24-Zoll-Reifen | 26-Zoll-Reifen | |
|---|---|---|
| Überrollbügel, hochgeklappt | 182 cm | 185 cm |
| Überrollbügel, zusammengeklappt | 126 cm | 129 cm |
| Maschinen | Ballast |
| 122 cm Maschinen | 512 kg |
| 132 cm Maschinen | 531 bis 540 kg |
| 152 cm Maschinen | 535 bis 590 kg |
Ein Sortiment an Originalanbaugeräten und -zubehör von Toro wird für diese Maschine angeboten, um den Funktionsumfang des Geräts zu erhöhen und zu erweitern. Wenden Sie sich an Ihren offiziellen Toro-Vertragshändler oder navigieren Sie auf www.Toro.com für eine Liste der zugelassenen Anbaugeräte und des Zubehörs.
Verwenden Sie, um die optimale Leistung und Sicherheit zu gewährleisten, nur Originalersatzteile und -zubehörteile von Toro. Ersatzteile und Zubehör anderer Hersteller können gefährlich sein und eine Verwendung könnte die Garantie ungültig machen.
Note: Bestimmen Sie die linke und rechte Seite der Maschine anhand der üblichen Einsatzposition.
Kinder oder nicht geschulte Personen dürfen die Maschine weder verwenden noch warten. Örtliche Vorschriften bestimmen u. U. das Mindestalter von Benutzern. Der Besitzer ist für die Schulung aller Bediener und Mechaniker verantwortlich.
Prüfen Sie den Arbeitsbereich der Maschine und entfernen Sie alle Objekte, die sich auf den Einsatz der Maschine auswirken oder von ihr aufgeschleudert werden könnten.
Machen Sie sich mit dem sicheren Betrieb der Maschine sowie den Bedienelementen und Sicherheitssymbolen vertraut.
Prüfen Sie, ob alle Sitzkontaktschalter, Sicherheitsschalter, und Schutzvorrichtungen montiert und funktionsfähig sind. Verwenden Sie die Maschine nur, wenn sie richtig funktioniert.
Stellen Sie vor dem Verlassen der Bedienerposition den Motor ab, ziehen den Schlüssel ab, und warten, bis alle beweglichen Teile zum Stillstand gekommen sind. Lassen Sie die Maschine abkühlen, bevor Sie sie warten, einstellen, betanken, reinigen, oder einlagern.
Überprüfen Sie vor dem Mähen die Maschine und stellen Sie sicher, dass die Schneideinheiten ordnungsgemäß funktionieren.
Beurteilen Sie das Gelände, um festzulegen, welche Anbaugeräte und Zubehör erforderlich sind, um die Maschine ordnungsgemäß und sicher bedienen zu können.
Tragen Sie geeignete Kleidung, u. a. eine Schutzbrille, lange Hosen, rutschfeste Arbeitsschuhe und einen Gehörschutz. Binden Sie lange Haare hinten zusammen und tragen Sie keinen Schmuck oder weite Kleidung.
Nehmen Sie nie Mitfahrer auf der Maschine mit.
Halten Sie Unbeteiligte und Haustiere während der Verwendung der Maschine fern. Schalten Sie die Maschine und das/die Anbaugerät(e) ab, wenn jemand den Bereich betritt.
Betreiben Sie die Maschine nur, wenn alle Schutzvorrichtungen und Sicherheitseinrichtungen, wie z. B. die Ablenkbleche und die gesamte Grasfangeinrichtung, vorhanden sind und ordnungsgemäß funktionieren. Ersetzen Sie verschlissene oder beschädigte Teile, wenn nötig.
Kraftstoff ist extrem leicht entflammbar und hochexplosiv. Feuer und Explosionen durch Kraftstoff können Verbrennungen und Sachschäden verursachen.
Um zu verhindern, dass sich der Kraftstoff durch statische Aufladung entzündet, entfernen Sie die Maschine vom Lkw oder Anhänger und betanken Sie sie auf dem Boden, entfernt von allen Fahrzeugen. Wenn dies nicht möglich ist, stellen Sie einen tragbaren Kraftstoffbehälter auf den Boden, entfernt von allen Fahrzeugen, und befüllen Sie ihn. Betanken Sie die Maschine dann aus dem Kraftstoffbehälter und nicht von einer Zapfsäule aus.
Füllen Sie den Kraftstofftank im Freien auf ebener Fläche auf, wenn der Motor kalt ist. Wischen Sie verschütteten Kraftstoff auf.
Rauchen Sie nicht beim Umgang mit Kraftstoff, und gehen Sie nicht in der Nähe von offenem Feuer oder Funken mit Kraftstoff um.
Entfernen Sie nie den Tankdeckel oder füllen Kraftstoff in den Tank, wenn der Motor läuft oder heiß ist.
Wenn Kraftstoff verschüttet wurde, nicht versuchen, den Motor zu starten. Vermeiden Sie, eine Zündquelle zu erzeugen, bis die Kraftstoffdämpfe verdunstet sind.
Bewahren Sie Kraftstoff in vorschriftsmäßigen Kanistern auf. Die Kanister sollten nicht für Kinder zugänglich sein.
Kraftstoff ist bei Verschlucken gesundheitsschädlich oder tödlich. Wenn eine Person langfristig Benzindünsten ausgesetzt ist, kann dies zu schweren Verletzungen und Krankheiten führen.
Vermeiden Sie das langfristige Einatmen von Benzindünsten.
Halten Sie Ihre Hände und Ihr Gesicht von der Düse und der Öffnung des Kraftstofftanks fern.
Halten Sie Kraftstoff von Augen und der Haut fern.
Lagern Sie weder die Maschine noch den Kraftstoffkanister in der Nähe von offenen Flammen, Funken oder Zündflammen wie z. B. bei einem Heizkessel oder sonstigen Geräten.
Setzen Sie die Maschine nicht ohne vollständig montierte und betriebsbereite Auspuffanlage ein.
Der Stutzen der Zapfsäule sollte den Rand des Benzinkanisters oder die Behälteröffnung beim Auftanken ständig berühren. Verwenden Sie kein Gerät mit einem entriegelt geöffneten Stutzen.
Wechseln Sie sofort Ihre Kleidung, wenn Kraftstoff darauf verschüttet wird.
Füllen Sie den Tank nicht zu voll. Tauschen Sie den Tankdeckel aus und ziehen ihn fest.
Entfernen Sie Gras und Schmutz von den Mähwerken, den Auspuff, Antriebe, Grasfangeinrichtungen und dem Motorraum, um einem Brand vorzubeugen. Wischen Sie Öl- und Kraftstoffverschüttungen auf.
Die besten Ergebnisse erhalten Sie, wenn Sie sauberes, frisches (nicht älter als 30 Tage), bleifreies Benzin mit einer Mindestoktanzahl von 87 (R+M)/2 verwenden.
Ethanol: Kraftstoff, der mit 10 % Ethanol oder 15 % MTBE (Volumenanteil) angereichert ist, ist auch geeignet. Ethanol und MTBE sind nicht identisch. Benzin mit 15 % Ethanol (E15) per Volumenanteil kann nicht verwendet werden. Verwenden Sie nie Benzin, das mehr als 10 % Ethanol (Volumenanteil) enthält, z. B. E15 (enthält 15 % Ethanol), E20 (enthält 20 % Ethanol) oder E85 (enthält bis zu 85 % Ethanol). Die Verwendung von nicht zugelassenem Benzin kann zu Leistungsproblemen und/oder Motorschäden führen, die ggf. nicht von der Garantie abgedeckt sind.
Verwenden Sie kein Benzin mit Methanol.
Lagern Sie keinen Kraftstoff im Kraftstofftank oder in Kraftstoffbehältern über den Winter, wenn Sie keinen Kraftstoffstabilisator verwenden.
Vermischen Sie nie Benzin mit Öl.
Die Verwendung eines Kraftstoffstabilisators in der Maschine bringt folgende Vorteile mit sich:
Kraftstoff bleibt länger frisch, wenn der Stabilisator gemäß der Empfehlungen des Herstellers verwendet wird.
Der Motor wird gereinigt, während er läuft.
Dadurch wird ein Verharzen der Kraftstoffanlage verhindert, wodurch das Anlassen erleichtert wird
Important: Verwenden Sie keine Zusätze, die Methanol oder Ethanol enthalten.
Mischen Sie dem Kraftstoff die richtige Stabilisatormenge bei.
Note: Ein Stabilisator ist am effektivsten, wenn er frischem Kraftstoff beigemischt wird. Verwenden Sie, um das Risiko von Ablagerungen in der Kraftstoffanlage zu minimieren, immer einen Stabilisator.
Stellen Sie die Maschine auf einer ebenen Fläche ab.
Aktivieren Sie die Feststellbremse.
Stellen Sie den Motor ab und ziehen Sie den Schlüssel ab.
Reinigen Sie den Bereich um den Tankdeckel.
Füllen Sie den Kraftstofftank bis zur Unterseite des Füllstutzens (Bild 7).
Note: Füllen Sie den Kraftstofftank nicht ganz auf. In diesem freien Platz im Tank kann sich der Kraftstoff ausdehnen.

Täglich vor dem Start der Maschine die folgende tägliche Prüfroutine gemäß durchführen:
Neue Motoren brauchen etwas Zeit, bevor sie die ganze Leistung erbringen. Neue Mähwerke und Antriebssysteme haben eine höhere Reibung und belasten den Motor mehr. Die Einfahrzeit für neue Maschinen beträgt ungefähr 40 bis 50 Stunden. Danach erbringt der Motor die ganze Leistung und beste Performance.
Zur Vermeidung von ggf. tödlichen Verletzungen durch Überschlagen lassen Sie den Überrollbügel in der hochgeklappten und arretierten Stellung und legen den Sicherheitsgurt an.
Stellen Sie sicher, dass der Sitz an der Maschine befestigt ist.
Es besteht kein Überrollschutz, wenn der Überrollbügel abgesenkt ist.
Senken Sie den Überrollbügel nur ab, wenn es wirklich erforderlich ist.
Legen Sie bei abgesenktem Überrollbügel keinen Sicherheitsgurt an.
Fahren Sie langsam und vorsichtig.
Richten Sie den Überrollbügel sofort wieder auf, wenn die Höhe es zulässt.
Achten Sie sorgfältig auf die lichte Höhe (wie z. B. zu Ästen, Pforten, Stromkabeln), bevor Sie unter irgendeinem Hindernis durchfahren, damit Sie diese nicht berühren.
Important: Senken Sie den Überrollbügel nur ab, wenn es wirklich erforderlich ist.
Wenn die Sicherheitsschalter abgeklemmt oder beschädigt werden, könnte sich die Maschine unerwartet in Betrieb setzen und jemanden verletzen.
An den Sicherheitsschaltern dürfen keine Veränderungen vorgenommen werden.
Prüfen Sie deren Funktion täglich und tauschen Sie alle defekten Schalter vor der Inbetriebnahme der Maschine aus.
Die Sicherheitsschalter verhindern das Anlassen des Motors, wenn die folgenden Bedingungen nicht erfüllt sind:
Die Feststellbremse ist aktiviert.
Der Zapfwellenantriebsschalter ist ausgekuppelt.
Die Fahrantriebshebel sind in der ARRETIERTEN NEUTRAL-Stellung.
Die Sicherheitsschalter sind gleichfalls so ausgelegt, dass sie den Motor abstellen, wenn die Fahrantriebshebel bei aktivierter Feststellbremse aus der ARRETIERTEN NEUTRAL-Stellung bewegt werden, oder wenn Sie bei aktiviertem Zapfwellenantrieb vom Sitz aufstehen.
Der Betriebsstundenzähler hat Symbole, die den Bediener darauf hinweisen, dass der Sicherheitsschalter in der richtigen Stellung ist. Die korrekte Stellung der Komponente wird am Bildschirm angezeigt.

| Wartungsintervall | Wartungsmaßnahmen |
|---|---|
| Bei jeder Verwendung oder täglich |
|
Testen Sie die Sicherheitsschalter vor jedem Einsatz der Maschine. Lassen Sie, wenn die Sicherheitsschalter nicht wie nachstehend beschrieben funktionieren, diese unverzüglich von einem Vertragshändler reparieren.
Setzen Sie sich auf den Sitz, aktivieren die Feststellbremse und stellen den Zapfwellenantriebsschalter in die EIN-Stellung. Versuchen Sie, den Motor anzulassen. Der Motor darf nicht anspringen.
Setzen Sie sich auf den Sitz, aktivieren die Feststellbremse und stellen den Zapfwellenantriebsschalter in die AUS-Stellung. Schieben Sie einen der Fahrantriebshebel aus der ARRETIERTEN NEUTRAL-Stellung. Versuchen Sie, den Motor anzulassen. Der Motor darf nicht anspringen. Wiederholen Sie die Schritte für den anderen Fahrantriebshebel.
Setzen Sie sich auf den Sitz, aktivieren die Feststellbremse, stellen den Zapfwellenantriebsschalter in die AUS-Stellung und schieben die Fahrantriebshebel in die ARRETIERTE NEUTRAL-Stellung. Lassen Sie dann den Motor an. Lösen Sie bei laufendem Motor die Feststellbremse, aktivieren den Zapfwellenantriebsschalter und stehen etwas vom Sitz auf; der Motor sollte abgestellt werden.
Setzen Sie sich auf den Sitz, aktivieren die Feststellbremse, stellen den Zapfwellenantriebsschalter in die AUS-Stellung und schieben die Fahrantriebshebel in die ARRETIERTE NEUTRAL-Stellung. Lassen Sie dann den Motor an. Zentrieren Sie bei laufendem Motor einen der Fahrantriebshebel und bewegen ihn (vorwärts oder rückwärts); der Motor muss dann abstellen. Wiederholen Sie das Verfahren für den anderen Fahrantriebshebel.
Setzen Sie sich auf den Sitz, lösen die Feststellbremse, stellen den Zapfwellenantriebsschalter in die AUS-Stellung und schieben die Fahrantriebshebel in die ARRETIERTE NEUTRAL-Stellung. Versuchen Sie, den Motor anzulassen. Der Motor darf nicht anspringen.
Der Sitz kann nach vorne und hinten geschoben werden. Stellen Sie den Sitz so ein, dass Sie die Maschine optimal steuern können und komfortabel sitzen (Bild 11).

Die MyRide™ Aufhängung passt sich an und bietet ein gleichmäßiges und komfortables Fahrverhalten. Sie können die zwei hinteren Stoßdämpfer einstellen, um das Federungssystem schnell und einfach zu ändern. Stellen Sie die Aufhängung auf die bequemste Stellung ein.
Die Schlitze für die hinteren Stoßdämpfer haben Arretierungsstellungen als Bezug. Die hinteren Stoßdämpfer können überall im Schlitz (nicht nur in den Arretierungsstellungen) positioniert werden. Im folgenden Bild wird die Stellung für ein weiches oder hartes Fahrverhalten und die unterschiedlichen Arretierungsstellungen abgebildet (Bild 12).

Note: Stellen Sie sicher, dass der linke und rechte Stoßdämpfer immer gleich eingestellt sind.
Stellen Sie die hinteren Stoßdämpfer ein (Bild 13).


Der Besitzer bzw. Bediener ist für Unfälle oder Verletzungen von Dritten sowie Sachschäden verantwortlich und kann diese verhindern.
Konzentrieren Sie sich immer bei der Verwendung der Maschine. Tun Sie nichts, was Sie ablenken könnte, sonst können Verletzungen oder Sachschäden auftreten.
Setzen Sie die Maschine nicht ein, wenn Sie müde oder krank sind oder unter Alkohol- oder Drogeneinfluss stehen.
Kontakt mit den Messern kann zu schweren Verletzungen führen. Stellen Sie vor dem Verlassen der Bedienungsposition den Motor ab, ziehen Sie den Schlüssel ab und warten Sie, bis alle beweglichen Teile zum Stillstand gekommen sind. Wenn Sie den Schlüssel in die AUS-Position stellen, sollte der Motor abgestellt und das Messer gestoppt werden. Wenn dies nicht der Fall ist, setzen Sie die Maschine nicht mehr ein und wenden Sie sich sofort an einen offiziellen Vertragshändler.
Setzen Sie die Maschine nur bei guten Sichtverhältnissen und geeigneten Witterungsbedingungen ein. Verwenden Sie die Maschine nie bei möglichen Gewittern.
Berühren Sie die Schneideinheiten nicht mit Händen und Füßen. Bleiben Sie immer von der Auswurföffnung fern.
Mähen Sie nicht mit angehobenem, entferntem, oder geändertem Ablenkblech, es sei denn, es ist ein Grasauffangsystem oder ein Mulch-Kit angebaut und funktioniert einwandfrei.
Mähen Sie nur im Rückwärtsgang, wenn es unbedingt erforderlich ist. Blicken Sie immer nach unten und hinten, bevor Sie die Maschine rückwärts bewegen.
Seien Sie extrem vorsichtig, wenn Sie sich unübersichtlichen Kurven, Sträuchern, Bäumen und anderen Objekten nähern, die Ihre Sicht behindern können.
Stellen Sie die Messer ab, wenn Sie nicht mähen.
Stellen Sie den Motor sofort ab, wenn der Mäher auf einen Gegenstand aufprallt oder anfängt zu vibrieren, ziehen Sie den Schlüssel (falls vorhanden) ab und warten Sie, bis alle beweglichen Teile zum Stillstand gekommen sind, bevor Sie den Mäher auf eventuelle Beschädigungen untersuchen. Führen Sie alle erforderlichen Reparaturen durch, ehe Sie die Maschine wieder in Gebrauch nehmen.
Fahren Sie beim Wenden und beim Überqueren von Straßen und Gehsteigen mit der Maschine langsam und vorsichtig. Geben Sie immer Vorfahrt.
Vor dem Verlassen der Bedienposition:
Stellen Sie die Maschine auf einer ebenen Fläche ab.
Kuppeln Sie die Zapfwelle aus und senken Sie die Anbaugeräte ab.
Aktivieren Sie die Feststellbremse.
Stellen Sie den Motor ab und ziehen Sie den Schlüssel ab.
Warten Sie, bis alle beweglichen Teile zum Stillstand gekommen sind.
Betreiben Sie den Motor nur in gut belüfteten Bereichen. Die Abgase enthalten Kohlenmonoxid, das beim Einatmen tödlich ist.
Lassen Sie niemals eine laufende Maschine unbeaufsichtigt zurück.
Befestigen Sie gezogene Anbaugeräte nur an der Anhängevorrichtung an der Maschine.
Betreiben Sie die Maschine nur, wenn alle Schutzvorrichtungen und Sicherheitseinrichtungen, wie z. B. die Ablenkbleche und die gesamte Grasfangeinrichtung, vorhanden sind und ordnungsgemäß funktionieren. Ersetzen Sie verschlissene oder beschädigte Teile, wenn nötig.
Verwenden Sie nur von Toro zugelassene(s) Zubehör und Anbaugeräte.
Der Geräuschpegel dieser Maschine beträgt am Ohr des Bedieners mehr als 85 dBA, und dies kann bei einem längeren Einsatz Gehörschäden verursachen.

Entfernen Sie Gras und Schmutz vom Mähwerk, Antrieben, Auspuff und Motor, um einem Brand vorzubeugen.
Starten Sie den Motor, halten Sie dabei Ihre Füße von den Mähmessern fern.
Achten Sie auf den Auswurfbereich des Mähers und halten Sie den Auswurfkanal nie in Richtung umstehender Personen. Vermeiden Sie, Material gegen eine Wand oder ein Hindernis auszuwerfen, da das Material zum Ihnen zurückprallen kann.
Stellen Sie das Messer ab und fahren Sie langsam, wenn Sie Bereiche (außer Grasflächen) überqueren oder die Maschine zwischen den Einsatzbereichen transportieren.
Ändern Sie nicht die Geschwindigkeit des Drehzahlreglers oder überdrehen Sie den Motor.
Kinder werden häufig von Rasenmähern und vom Mähen angezogen. Gehen Sie nie davon aus, dass Kinder dort bleiben, wo Sie sie zuletzt gesehen haben.
Halten Sie Kinder aus dem Mähbereich fern und unter Aufsicht eines verantwortlichen Erwachsenen, der die Maschine nicht bedient.
Seien Sie wachsam und schalten Sie die Maschine aus, wenn Kinder den Arbeitsbereich betreten.
Bevor Sie mit der Maschine zurücksetzen oder wenden, schauen Sie nach unten und überall nach kleinen Kindern.
Nehmen Sie keine Kinder auf der Maschine mit, auch wenn sich die Messer nicht bewegen. Kinder können herunterfallen und sich schwer verletzen oder Sie bei der sicheren Bedienung der Maschine stören. Kinder, die vorher mitgenommen wurden, können den Mähbereich ohne Vorwarnung betreten und von der Maschine beim Vorwärtsfahren oder Rückwärtsfahren überfahren werden.
Der Überrollschutz ist eine integrierte Sicherheitseinrichtung. Entfernen Sie die Komponenten des Überrollschutzes nicht von der Maschine.
Stellen Sie sicher, dass Sie Ihren Sicherheitsgurt angelegt haben und ihn in einem Notfall schnell lösen können.
Stellen Sie den Überrollbügel immer vollständig auf und arretieren ihn. Legen Sie bei aufgestelltem Überrollbügel immer den Sicherheitsgurt an.
Überprüfen Sie sorgfältig auf über Kopf liegende Gegenstände, bevor Sie unter sie hindurchfahren, und vermeiden Sie Kontakt.
Tauschen Sie beschädigte Teile des Überrollschutzes aus. Führen Sie keine Reparaturen oder Modifikationen daran aus.
Es besteht kein Überrollschutz, wenn der Überrollbügel abgesenkt ist.
Räder, die über Kanten, über steile Ufer oder in Gewässer gelangen, können zu einem Überschlag führen, der zu schweren Verletzungen oder zum Tod führen kann.
Legen Sie keinen Sicherheitsgurt an, wenn der Überrollbügel abgesenkt ist.
Senken Sie den Überrollbügel nur ab, wenn es wirklich erforderlich ist. Stellen Sie den Überrollbügel unverzüglich wieder auf, wenn die Höhe es zulässt.
Bringen Sie die Maschine nach einem Überschlag zu einem autorisierten Vertragshändler zur Inspektion des Überrollschutzes.
Verwenden Sie für den Überrollschutz nur von Toro zugelassenes Zubehör und Anbaugeräte.
Hanglagen sind eine wesentliche Ursache für den Verlust der Kontrolle und Umkippunfälle, die zu schweren ggf. tödlichen Verletzungen führen können. Der Bediener ist für den sicheren Einsatz auf abschüssigem Gelände verantwortlich. Das Einsetzen der Maschine an jeder Hanglage erfordert große Vorsicht. Vor dem Einsatz der Maschine an einer Hanglage tun Sie Folgendes:
Lesen und verstehen Sie die Anweisungen zu Hanglagen in der Anleitung und auf der Maschine.
Ermitteln Sie das ungefähre Gefälle des Bereichs mit einem Neigungsmesser.
Setzen Sie die Maschine nie an Gefällen ein, die mehr als 15° aufweisen.
Prüfen Sie die Geländebedingungen an dem jeweiligen Tag, um zu ermitteln, ob die Maschine sicher auf der Hanglage eingesetzt werden kann. Setzen Sie immer gesunden Menschenverstand ein, wenn Sie diese Festlegung machen. Änderungen im Gelände, z. B. Feuchtigkeit, können den Betrieb der Maschine auf einer Hanglage schnell beeinträchtigen.
Achten Sie auf Gefahren unten am Hang. Setzen Sie die Maschine nicht in der Nähe von Abhängen, Gräben, Böschungen, Gewässern oder anderen Gefahrenstellen ein. Die Maschine könnte plötzlich umkippen, wenn ein Rad über eine Kante fährt oder die Kante nachgibt. Halten Sie einen Sicherheitsabstand (zweimal die Breite der Maschine) zwischen der Maschine und jeder Gefahrenstelle ein. Mähen Sie diese Bereiche mit einem handgeführten Rasenmäher oder einem handgeführten Freischneider.
Vermeiden Sie das Anfahren, Anhalten oder Wenden der Maschine an Hanglagen. Vermeiden Sie plötzliche Geschwindigkeits- oder Richtungsänderungen. Fahren Sie langsam und allmählich in eine Kurve.
Setzen Sie die Maschine nicht in Bedingungen ein, in denen der Antrieb, die Lenkung oder Stabilität in Frage gestellt wird. Beim Arbeiten auf nassem Gras, Überqueren von steilen Hanglagen oder beim Fahren hangabwärts kann die Maschine die Bodenhaftung verlieren. Wenn die Antriebsräder die Bodenhaftung verlieren, kann die Maschine rutschen und zu einem Verlust der Bremsleistung und Lenkung führen. Die Maschine kann weiter rutschen, auch wenn die Räder stehen.
Entfernen oder markieren Sie Hindernisse, u. a. Gräben, Löcher, Rillen, Bodenwellen, Steine oder andere verborgene Gefahren. Hohes Gras kann Hindernisse verdecken. Die Maschine könnte sich in unebenem Terrain überschlagen.
Passen Sie besonders auf, wenn Sie die Maschine mit Zubehör oder Anbaugeräten einsetzen, u. a. Heckfangsysteme. Diese Geräte können die Stabilität der Maschine ändern und zu einem Verlust der Fahrzeugkontrolle führen. Halten Sie die Anweisungen für Gegengewichte ein.
Halten Sie beim Einsatz der Maschine an Hanglagen die Mähwerke falls möglich abgesenkt. Das Anheben der Mähwerke beim Einsatz an Hanglagen kann zu einer Instabilität der Maschine führen.

Verwenden Sie das Mähwerk als Stufe für das Betreten der Bedienerposition (Bild 16).

Aktivieren Sie die Feststellbremse immer, wenn Sie die Maschine anhalten oder unbeaufsichtigt lassen.
Stellen Sie die Maschine auf einer ebenen Fläche ab.


Mit dem Zapfwellenantriebsschalter kuppeln Sie die Schnittmesser und angetriebene Anbaugeräte ein oder aus.
Note: Wird der Zapfwellenantriebsschalter bei einer mittleren oder geringeren Stellung des Gasbedienungshebels eingekuppelt, führt dies zu einem extremen Verschleiß der Treibriemen.


Bewegen Sie die Gasbedienung zwischen die SCHNELL- und LANGSAM-Stellung (Bild 21).
Benutzen Sie immer die SCHNELL-Stellung, wenn Sie die Zapfwelle einkuppeln.

Note: Ein bereits warmer oder heiß gelaufener Motor benötigt keine oder eine nur minimale Starthilfe.
Important: Lassen Sie den Anlasser niemals länger als fünf Sekunden lang ununterbrochen drehen. Wenn Sie den Anlasser länger als fünf Sekunden betätigen, kann der Startermotor beschädigt werden. Wenn der Motor nicht anspringt, warten Sie 10 Sekunden, bevor Sie den Anlasser erneut betätigen.

Kinder und Unbeteiligte können verletzt werden, wenn Sie die unbeaufsichtigt zurückgelassene Maschine bewegen oder einsetzen.
Ziehen Sie immer den Schlüssel ab und aktivieren Sie die Feststellbremse, wenn Sie die Maschine unbeaufsichtigt lassen.


Die Antriebsräder drehen sich unabhängig und werden von Hydraulikmotoren an jeder Achse angetrieben. Daher kann eine Seite rückwärts und die andere vorwärts fahren, sodass sich die Maschine dreht statt wendet. Dies verbessert die Manövrierfähigkeit der Maschine, bedeutet jedoch ggf. eine gewisse Anpassung, bis Sie damit vertraut sind.
Sie können die Motordrehzahl mit dem Gasbedienungshebel einstellen, die in U/min (Umdrehungen pro Minute) gemessen wird. Stellen Sie die Gasbedienung auf die Stellung SCHNELL, um eine optimale Leistung zu erhalten. Mähen Sie immer mit Vollgas.
Die Maschine kann sich sehr schnell drehen. Sie können die Kontrolle über die Maschine verlieren, was zu Verletzungen und Maschinenschäden führen kann.
Wenden Sie nur vorsichtig.
Reduzieren Sie vor scharfen Wendungen die Geschwindigkeit.
Note: Der Motor stellt ab, wenn Sie die Fahrantriebshebel bei aktivierter Feststellbremse bewegen.
Ziehen Sie die Fahrantriebshebel zum Anhalten der Maschine in die NEUTRAL-Stellung.
Lösen Sie die Feststellbremse.
Stellen Sie die Fahrantriebshebel in die mittlere, nicht arretierte Stellung.
Drücken Sie die Fahrantriebshebel langsam nach vorne, um vorwärtszufahren (Bild 26).

Stellen Sie die Fahrantriebshebel in die mittlere, nicht arretierte Stellung.
Ziehen Sie zum Rückwärtsfahren die Fahrantriebshebel langsam nach hinten (Bild 27).

Das Mähwerk hat ein schwenkbares Ablenkblech, das Schnittgut zur Seite und nach unten auf die Grünfläche lenkt.
Wenn ein Ablenkblech, eine Auswurfkanalabdeckung oder ein Fangsystem nicht montiert sind, sind der Bediener und Unbeteiligte der Gefahr eines Kontakts mit dem Messer und ausgeschleuderten Gegenständen ausgesetzt. Kontakt mit dem drehenden Mähmesser oder ausgeschleuderten Gegenständen führt zu Verletzungen (möglicherweise tödlichen Verletzungen).
Entfernen Sie nie das Ablenkblech vom Mähwerk, da das Ablenkblech Material nach unten auf die Grünfläche lenkt. Wechseln Sie das Ablenkblech sofort aus, wenn es beschädigt ist.
Stecken Sie nie Hände oder Füße unter das Mähwerk.
Versuchen Sie nie, den Auswurfbereich oder die Schnittmesser zu räumen, ohne den Zapfwellenantriebsschalter in die AUS-Stellung zu schieben, das Zündschloss in die AUS-Stellung zu drehen und den Schlüssel aus dem Zündschloss zu ziehen.
Stellen Sie sicher, dass das Ablenkblech nach unten abgesenkt ist.
Sie können die Schnitthöhe von 38 mm bis 140 mm in Schritten von 6 mm durch das Umstecken des Stifts in verschiedene Löcher einstellen.
Drücken Sie auf das Mähwerkhubpedal ganz nach vorne und heben Sie das Mähwerk in die TRANSPORTstellung an (d. h. die Schnitthöhe von 140 mm), wie in Bild 29 dargestellt.
Entfernen Sie den Splint zum Einstellen der Schnitthöhe aus der Schnitthöhenhalterung (Bild 29).
Wählen Sie ein Loch in der Schnitthöhenhalterung, das der gewünschten Schnitthöhe entspricht, und stecken Sie den Lastösenbolzen wieder ein (Bild 29).
Drücken Sie das Mähwerkhubpedal nach vorne, schieben Sie die Transportsicherung nach vorne und senken Sie das Mähwerk langsam ab.

Drücken Sie den Mähwerkhubschalter nach oben (Bild 30).

Wählen Sie ein Loch in der Schnitthöhenhalterung, das der gewünschten Schnitthöhe entspricht, und stecken Sie den Lastösenbolzen wieder ein (Bild 31).
Drücken Sie den Mähwerkhubschalter nach unten, bis der Schnitthöhenlenker den Schnitthöhenstift leicht berührt (Bild 31).
Note: Ein zu großer Kontakt zwischen dem Schnitthöhenlenker und dem Schnitthöhenstift kann die Schnitthöhe des Mähwerks und die Nivellierung negativ beeinflussen.

Stellen Sie die Antiskalpierrollen jedes Mal ein, wenn Sie die Schnitthöhe ändern.
Note: Stellen Sie die Antiskalpierrollen so ein, dass die Rollen in normalen, flachen Mähbereichen den Boden nicht berühren.
Parken Sie die Maschine auf einer ebenen Fläche, kuppeln Sie den Zapfwellenantriebsschalter aus und aktivieren Sie die Feststellbremse.
Stellen Sie vor dem Verlassen der Bedienungsposition den Motor ab, ziehen Sie den Schlüssel ab und warten Sie, bis alle beweglichen Teile zum Stillstand gekommen sind.
Stellen Sie die Antiskalpierrollen ein, wie in Bild 32 abgebildet.

Lassen Sie den Motor für ein optimales Mähen und eine maximale Luftzirkulation in der SCHNELL-Stellung laufen. Zum gründlichen Zerhäckseln des Schnittguts wird Luft benötigt. Stellen Sie daher die Schnitthöhe nicht so niedrig ein, dass das Mähwerk vollständig von ungeschnittenem Gras umgeben ist. Versuchen Sie immer, eine Seite des Mähwerks von ungeschnittenem Gras frei zu halten, damit Luft in das Mähwerk angesaugt werden kann.
Mähen Sie das Gras etwas länger als normal, um sicherzustellen, dass die Schnitthöhe des Mähwerks keine Bodenunebenheiten skalpiert. Meist ist aber die in der Vergangenheit verwendete Schnitthöhe die beste. Mähen Sie den Rasen zweimal, wenn Sie Gras schneiden, das länger als 15 cm ist, damit Sie eine gute Schnittqualität sicherstellen.
Sie sollten nur ungefähr ein Drittel des Grashalms abschneiden. Wir empfehlen Ihnen nicht, mehr abzuschneiden, außer bei spärlichem Graswuchs oder im Spätherbst, wenn das Gras langsamer wächst.
Wechseln Sie die Mährichtung, damit das Gras aufrecht stehen bleibt. Dadurch wird auch das Schnittgut besser verteilt, was wiederum die Zersetzung und Düngung verbessert.
Gras wächst zu verschiedenen Zeiten während der Saison unterschiedlich schnell. Mähen Sie zum Beibehalten derselben Schnitthöhe zu Beginn des Frühlings häufiger. Sie können jedoch nicht so häufig mähen, wenn die Wachstumsrate des Grases im Sommer abnimmt. Mähen Sie zunächst, wenn der Rasen längere Zeit nicht gemäht wurde, bei einer höheren Schnitthöheneinstellung und dann zwei Tage später mit einer niedrigeren Einstellung noch einmal.
Fahren Sie zur Verbesserung der Schnittqualität bei bestimmten Konditionen langsamer.
Heben Sie die Schnitthöhe an, um sicherzustellen, dass Sie eine unebene Grünfläche nicht abschürfen.
Wenn Sie die Maschine beim Mähen im Vorwärtsgang anhalten müssen, kann ein Schnittgutklumpen auf den Rasen fallen. Sie können dies vermeiden, wenn Sie mit eingekuppelten Schnittmessern auf einen bereits gemähten Bereich fahren, oder Sie können das Mähwerk auskuppeln, während Sie vorwärts fahren.
Entfernen Sie nach jedem Einsatz Schnittgut und Schmutz von der Unterseite des Mähwerks. Wenn sich im Mähwerk Gras und Schmutz ansammelt, verschlechtert sich letztendlich die Schnittqualität.
Sorgen Sie während der ganzen Mähsaison für ein scharfes Schnittmesser, weil ein scharfes Messer sauber schneidet, ohne die Grashalme abzureißen oder zu zerfetzen. Abgerissene Grashalme werden an den Kanten braun. Dadurch reduziert sich das Wachstum, und die Anfälligkeit des Rasens für Krankheiten steigt. Prüfen Sie die Schnittmesser nach jeder Verwendung auf Schärfe und Anzeichen von Abnutzung oder Schäden. Feilen Sie alle Auskerbungen aus und schärfen Sie ggf. die Messer. Wenn ein Messer beschädigt oder abgenutzt ist, ersetzen Sie es nur durch Toro-Originalersatzmesser.
Aktivieren Sie vor dem Verlassen der Bedienerposition die Feststellbremse, stellen den Motor ab, ziehen Sie den Schlüssel ab und warten Sie, bis alle beweglichen Teile zum Stillstand gekommen sind. Lassen Sie die Maschine abkühlen, bevor Sie sie warten, einstellen, betanken, reinigen, oder einlagern.
Entfernen Sie Gras und Schmutz von den Mähwerken, den Auspuff, Antriebe, Grasfangeinrichtungen und dem Motorraum, um einem Brand vorzubeugen. Wischen Sie Öl- und Kraftstoffverschüttungen auf.
Stellen Sie die Kraftstoffzufuhr ab und ziehen Sie den Schlüssel ab, bevor Sie die Maschine einlagern oder transportieren.
Schließen Sie den Kraftstoffhahn vor dem Transport, der Wartung oder der Einlagerung (Bild 33).
Stellen Sie sicher, dass der Kraftstoffhahn geöffnet ist, wenn Sie den Motor anlassen.


Hände können mit den sich drehenden Antriebskomponenten unter dem Motorchassis in Berührung kommen; dies kann zu schweren Verletzungen führen.
Stellen Sie den Motor ab, ziehen Sie den Zündschlüssel ab und warten Sie, bis alle drehenden Teile zum Stillstand gekommen sind, bevor Sie die Ablassventile des Antriebsrads berühren.
Der Motor- und Hydraulikantrieb kann sehr heiß werden. Wenn Sie einen heißen Motor- oder Hydraulikantrieb anfassen, können Sie schwere Verbrennungen erhalten.
Lassen Sie den Motor und die Hydraulikantriebe ganz abkühlen, bevor Sie die Ablassventile des Antriebrads berühren.
Die Ablassventile für das Antriebsrad befinden sich an der rechten und linken Seite unter dem Motorraum.
Parken Sie die Maschine auf einer ebenen Fläche, kuppeln Sie den Zapfwellenantriebsschalter aus und aktivieren Sie die Feststellbremse.
Stellen Sie vor dem Verlassen der Bedienungsposition den Motor ab, ziehen Sie den Schlüssel ab und warten Sie, bis alle beweglichen Teile zum Stillstand gekommen sind.
Wenn Sie die Maschine schieben müssen, schieben Sie beide Sicherheitshebel nach vorne und arretieren Sie diese (Bild 34).
Lösen Sie die Feststellbremse, bevor Sie die Maschine schieben.
Ziehen Sie beide Sicherheitshebel nach hinten und arretieren Sie diese, um die Maschine wieder normal zu betreiben (Bild 34).

Verwenden Sie einen robusten Anhänger oder Pritschenwagen zum Transportieren der Maschine. Verwenden Sie eine durchgehende Rampe. Stellen Sie sicher, dass der Anhänger oder Lastwagen mit den/der gesetzlich erforderlichen Bremsen, Beleuchtung und Kennzeichnungen ausgestattet ist. Bitte lesen Sie alle Sicherheitsanweisungen sorgfältig. Durch Kenntnis dieser Informationen können Sie sich und Unbeteiligte vor Verletzungen schützen. Ziehen Sie in Bezug auf Anforderungen für Anhänger und Befestigungen geltende Vorschriften zurate.
Das Fahren auf Straßen und Wegen ohne Blinker, Lampen, Reflektoren oder einen Aufkleber für langsame Fahrzeuge ist gefährlich und kann zu Unfällen mit Verletzungsgefahr führen.
Fahren Sie die Maschine nicht auf einer öffentlichen Straße oder einem öffentlichen Fahrweg.
Das Laden einer Maschine auf einen Anhänger oder einen Lastwagen erhöht die Umkippgefahr und könnte schwere oder tödliche Verletzungen verursachen (Bild 35).
Verwenden Sie nur eine durchgehende Rampe; verwenden Sie nicht einzelne Rampen für jede Seite der Maschine.
Überschreiten Sie nicht einen Winkel von 15 Grad zwischen Rampe und Boden oder zwischen Rampe und Anhänger oder Pritschenwagen.
Stellen Sie sicher, dass die Rampe mindestens viermal länger ist als der Abstand des Anhängers oder der Ladepritsche des Pritschenwagens vom Boden. Dies stellt sicher, dass der Rampenwinkel auf ebener Fläche nicht größer als 15 Grad ist.

Das Laden einer Maschine auf einen Anhänger oder einen Lastwagen erhöht die Umkippgefahr und kann schwere oder tödliche Verletzungen verursachen.
Passen Sie besonders beim Bedienen der Maschine auf einer Rampe auf.
Sie sollten immer rückwärts eine Rampe hochfahren und vorwärts von ihr herunterfahren.
Vermeiden Sie plötzliche Geschwindigkeitsänderung beim Fahren der Maschine auf einer Rampe, da Sie dadurch die Kontrolle verlieren könnten und Umkippgefahr besteht.
Bei der Verwendung eines Anhängers diesen an das Zugfahrzeug anhängen und die Sicherheitsketten verbinden.
Falls zutreffend die Anhängerbremsen und Lichter anschließen.
Senken Sie die Rampe ab und stellen Sie sicher, dass der Winkel zwischen der Rampe und dem Boden höchstens 15 Grad beträgt (Bild 35).
Fahren Sie die Maschine rückwärts die Rampe hoch (Bild 36).

Stellen Sie den Motor ab, ziehen den Schlüssel ab und aktivieren die Feststellbremse.
Vergurten Sie die Maschine in der Nähe der vorderen Laufräder und dem hinteren Rahmen mit Riemen, Ketten, Kabeln oder Seilen (Bild 37). Ziehen Sie in Bezug auf Anforderungen für Befestigungen geltende Vorschriften zurate.

Wenn Sie den Schlüssel im Zündschloss lassen, könnte eine andere Person den Motor versehentlich anlassen und Sie und Unbeteiligte schwer verletzen. Ziehen Sie den Schlüssel aus dem Zündschloss, bevor Sie Wartungsarbeiten durchführen.
Bevor Sie den Fahrerstand verlassen, gehen Sie wie folgt vor:
Stellen Sie die Maschine auf einer ebenen Fläche ab.
Kuppeln Sie die Antriebe aus.
Aktivieren Sie die Feststellbremse.
Stellen Sie den Motor ab und ziehen Sie den Schlüssel ab.
Lassen Sie alle Maschinenteile abkühlen, ehe Sie mit Wartungsarbeiten beginnen.
Die Maschine sollte nie von ungeschulten Personen gewartet werden.
Halten Sie Ihre Hände und Füße von den beweglichen Teilen oder heißen Oberflächen fern. Bei laufendem Motor sollten keine Einstellungsarbeiten vorgenommen werden.
Lassen Sie den Druck aus Maschinenteilen mit gespeicherter Energie vorsichtig ab.
Prüfen Sie die Funktion der Feststellbremse häufig. Stellen Sie die diese bei Bedarf nach oder warten Sie diese.
Modifizieren Sie auf keinen Fall die Sicherheitsvorkehrungen. Prüfen Sie ihre einwandfreie Funktion in regelmäßigen Abständen.
Entfernen Sie Gras und Schmutz von den Mähwerken, den Auspuff, Antriebe, Grasfangeinrichtungen und dem Motorraum, um einem Brand vorzubeugen.
Wischen Sie verschüttetes Öl oder verschütteten Kraftstoff auf und entsorgen Sie mit Kraftstoff getränkte Rückstände.
Stützen Sie die Maschine nicht mit einem Hydrauliksystem oder Wagenheber ab, sondern verwenden Sie Achsständer, wenn Sie die Maschine anheben.
Halten Sie alle Teile der Maschine in gutem Betriebszustand. Alle Befestigungen, insbesondere die Befestigungselemente der Messer, müssen fest angezogen sein. Tauschen Sie abgenutzte oder beschädigte Aufkleber aus.
Klemmen Sie das Minuskabel von der Batterie ab, bevor sie die Maschine reparieren.
Um eine optimale Leistung zu gewährleisten, verwenden Sie nur Original Ersatzteile und Zubehör von Toro. Ersatzteile und Zubehör anderer Hersteller können gefährlich sein und eine Verwendung könnte die Garantie ungültig machen.
| Wartungsintervall | Wartungsmaßnahmen |
|---|---|
| Nach 100 Betriebsstunden |
|
| Bei jeder Verwendung oder täglich |
|
| Nach jeder Verwendung |
|
| Alle 50 Betriebsstunden |
|
| Alle 100 Betriebsstunden |
|
| Alle 200 Betriebsstunden |
|
| Alle 250 Betriebsstunden |
|
| Alle 400 Betriebsstunden |
|
| Alle 400 Stunden oder jährlich, je nachdem, was zuerst eintritt |
|
| Alle 500 Betriebsstunden |
|
| Monatlich |
|
| Jährlich |
|
| Jährlich oder vor der Einlagerung |
|
Important: Weitere Informationen zu Wartungsarbeiten finden Sie in der Motorbedienungsanleitung.
Wenn Sie den Schlüssel im Zündschloss lassen, könnte eine andere Person den Motor versehentlich anlassen und Sie und Unbeteiligte schwer verletzen.
Stellen Sie den Motor ab und ziehen Sie den Schlüssel vom Schalter ab, bevor Sie Wartungsarbeiten durchführen.
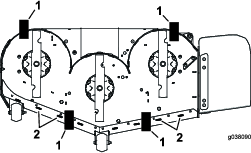
Entfernen Sie den Splint, um die Abdeckung des Mähwerks zu lösen und die Oberseite des Mähwerks zugänglich zu machen. Setzen Sie nach der Durchführung von Wartungsarbeiten die Abdeckung des Mähwerks wieder auf und sichern Sie diese mit dem zuvor entfernten Splint.
Lösen Sie die zwei vorderen Schrauben und nehmen Sie die Blechschutzvorrichtung ab, um die Mähwerkriemen und die Spindeln zugänglich zu machen (Bild 38). Setzen Sie die Blechschutzvorrichtung nach dem Abschluss der Wartungsarbeiten auf und ziehen die Schrauben an.

Schmieren Sie die Maschine häufiger unter staubigen, schmutzigen Bedingungen.
Schmierfettsorte: Nr. 2 Fett auf Lithium- oder Molybdänbasis
Parken Sie die Maschine auf einer ebenen Fläche, kuppeln Sie den Zapfwellenantriebsschalter aus und aktivieren Sie die Feststellbremse.
Stellen Sie vor dem Verlassen der Bedienungsposition den Motor ab, ziehen Sie den Schlüssel ab und warten Sie, bis alle beweglichen Teile zum Stillstand gekommen sind.
Reinigen Sie die Schmiernippel mit einem Lappen.
Note: Kratzen Sie ggf. Lack von der Vorderseite der Nippel ab.
Bringen Sie die Fettpresse am Nippel an.
Fetten Sie die Schmiernippel ein, bis das Fett beginnt, aus den Lagern auszutreten.
Wischen Sie überflüssiges Fett ab.
| Wartungsintervall | Wartungsmaßnahmen |
|---|---|
| Alle 100 Betriebsstunden |
|
Verwenden Sie leichtes Öl oder Sprühöl, um die Drehzapfen des Mähwerkhubs zu schmieren.

| Wartungsintervall | Wartungsmaßnahmen |
|---|---|
| Alle 400 Betriebsstunden |
|
| Jährlich |
|
Parken Sie die Maschine auf einer ebenen Fläche, kuppeln Sie den Zapfwellenantriebsschalter aus und aktivieren Sie die Feststellbremse.
Stellen Sie vor dem Verlassen der Bedienungsposition den Motor ab, ziehen Sie den Schlüssel ab und warten Sie, bis alle beweglichen Teile zum Stillstand gekommen sind.
Nehmen Sie den Staubdeckel ab und stellen Sie die Laufradschwenkarme ein. Setzen Sie den Staubdeckel erst nach dem Einfetten wieder auf, siehe Einfetten der Maschine.
Drehen Sie die Sechskantschraube heraus.
Führen Sie einen Schmiernippel in die Öffnung ein.
Pumpen Sie Fett in den Schmiernippel, bis das Fett um das obere Lager herum austritt.
Nehmen Sie den Schmiernippel aus dem Loch. Drehen Sie die Sechskantschraube und Kappe wieder ein.
| Wartungsintervall | Wartungsmaßnahmen |
|---|---|
| Jährlich |
|
Parken Sie die Maschine auf einer ebenen Fläche, kuppeln Sie den Zapfwellenantriebsschalter aus und aktivieren Sie die Feststellbremse.
Stellen Sie vor dem Verlassen der Bedienungsposition den Motor ab, ziehen Sie den Schlüssel ab und warten Sie, bis alle beweglichen Teile zum Stillstand gekommen sind.
Heben Sie das Mähwerk an, um es zugänglich zu machen.
Nehmen Sie das Laufrad von den Laufradgabeln ab.
Entfernen Sie die Dichtungsabdeckungen von der Radnabe.

Nehmen Sie eine der Distanzstückmuttern von der Achse im Laufrad ab.
Note: Die Distanzstückmuttern sind mit einem Gewindesperrmittel an der Achse befestigt.
Nehmen Sie die Achse vom Rad ab (die andere Distanzstückmutter befindet sich noch auf der Achse).
Drücken Sie die Dichtungen heraus und prüfen Sie die Lager auf Abnutzung oder Beschädigung und tauschen Sie diese ggf. aus.
Füllen Sie die Lager mit Allzweckfett.
Setzen Sie ein Lager und eine neue Dichtung in das Rad ein.
Wenn beide Distanzstückmuttern an der Achse fehlen, tragen Sie Gewindesperrmittel auf eine Distanzstückmutter auf und schrauben Sie sie so auf die Achse, dass die Flachschraubenschlüssel nach außen zeigen.
Note: Schrauben Sie die Distanzstückmutter nicht ganz auf das Ende der Achse. Lassen Sie ungefähr 3 mm von der äußeren Oberfläche der Distanzstückmutter bis zum Ende der Achse in der Mutter.
Setzen Sie die montierte Mutter und Achse auf der Seite mit dem Lager und einer neuen Dichtung in das Rad ein.
Das offene Ende des Rads sollte nach oben zeigen; füllen Sie dann den Bereich im Rad um die Achse mit Allzweckschmiermittel.
Setzen Sie das zweite Lager und eine neue Dichtung in das Rad ein.
Tragen Sie Gewindesperrmittel auf die zweite Distanzstückmutter auf und schrauben Sie sie so auf die Achse, dass die Flachschraubenschlüssel nach außen zeigen.
Ziehen Sie die Mutter bis auf 8-9 N∙m an, lösen sie und ziehen sie dann erneut bis auf 2-3 N∙m an.
Note: Stellen Sie sicher, dass die Achse nicht über eine Mutter herausragt.
Setzen Sie die Dichtungsschutzvorrichtungen auf die Radnabe auf und setzen Sie das Rad in die Laufradgabel.
Setzen Sie die Laufradschraube ein und ziehen Sie die Mutter fest.
Important: Sie sollten die Lagereinstellung oft prüfen, um eine Beschädigung der Dichtung und des Lagers zu vermeiden. Drehen Sie den Laufradreifen. Der Reifen sollte sich nicht ungehindert drehen (mehr als eine oder zwei Umdrehungen) oder sich seitlich verschieben. Wenn sich das Rad ungehindert dreht, stellen Sie die Spannung der Distanzstückmutter ein, bis etwas Widerstand besteht. Tragen Sie eine weitere Schicht des Gewindesperrmittels auf.
Berühren Sie den Auspuff und andere heiße Oberflächen nicht den Händen, Füßen, dem Gesicht und anderen Körperteilen sowie mit Kleidungsstücken. Lassen Sie alle Motorteile abkühlen, ehe Sie mit Wartungsarbeiten beginnen.
Ändern Sie nicht die Geschwindigkeit des Drehzahlreglers bzw. überdrehen Sie nicht den Motor.
| Wartungsintervall | Wartungsmaßnahmen |
|---|---|
| Alle 250 Betriebsstunden |
|
| Alle 500 Betriebsstunden |
|
Note: Warten Sie den Luftfilter beim Einsatz der Maschine unter besonders staubigen oder sandigen Umständen häufiger.
Stellen Sie die Maschine auf eine ebene Fläche, kuppeln Sie den Zapfwellenantriebsschalter aus und aktivieren Sie die Feststellbremse.
Stellen Sie vor dem Verlassen der Bedienungsposition den Motor ab, ziehen Sie den Schlüssel ab und warten Sie, bis alle beweglichen Teile zum Stillstand gekommen sind.
Lösen Sie die Riegel am Luftfilter und ziehen Sie die Luftfilterabdeckung vom Luftfiltergehäuse ab (Bild 41).

Reinigen Sie die Innenseite der Luftfilterabdeckung mit Druckluft.
Schieben Sie den Hauptfilter vorsichtig aus dem Luftfiltergehäuse heraus (Bild 41).
Note: Vermeiden Sie ein Anstoßen des Filters an der Seite des Gehäuses.
Nehmen Sie den Sicherheitsfilter nur heraus, wenn Sie ihn auswechseln möchten.
Prüfen Sie den Sicherheitsfilter. Tauschen Sie den Sicherheits- und Hauptfilter aus, wenn er schmutzig ist.
Important: Versuchen Sie nicht, den Sicherheitsfilter zu reinigen. Wenn der Sicherheitsfilter verschmutzt ist, ist der Hauptfilter beschädigt.
Prüfen Sie den Hauptfilter auf eventuelle Schäden, indem Sie in den Filter schauen, während Sie eine helle Lampe auf die Außenseite des Filters richten. Ersetzen Sie den Hauptfilter, wenn er verschmutzt, verbogen oder beschädigt ist.
Note: Löcher im Filter erscheinen als helle Punkte. Reinigen Sie nicht den Hauptfilter.
Important: Lassen Sie den Motor immer mit beiden Luftfiltern und angebrachter Abdeckung laufen, um Motorschäden zu vermeiden.
Prüfen Sie beim Einsetzen neuer Filter jeden Filter beim Einsetzen auf eventuelle Versandschäden.
Note: Verwenden Sie nie beschädigte Filter.
Wenn Sie den inneren Filter auswechseln, schieben Sie ihn vorsichtig in das Filtergehäuse (Bild 41).
Schieben Sie den Hauptfilter vorsichtig auf den Sicherheitsfilter (Bild 41).
Note: Stellen Sie sicher, dass der Hauptfilter richtig eingesetzt ist. Drücken Sie hierfür beim Einsetzen auf den äußeren Rand.
Important: Drücken Sie nie auf die weiche Innenseite des Filters.
Bringen Sie die Luftfilterabdeckung an und befestigen die Riegel (Bild 41).
| Wartungsintervall | Wartungsmaßnahmen |
|---|---|
| Bei jeder Verwendung oder täglich |
|
| Alle 100 Betriebsstunden |
|
| Alle 200 Betriebsstunden |
|
Ölsorte:Waschaktives Öl der API-Klassifikation SF, SG, SH, SJ, oder SL.
Kurbelgehäuse-Fassungsvermögen:
Kawasaki FX691 Motor: 2,0 l mit Filter; 1,8 l ohne Filter
Kawasaki FX601 Motor: 2,3 l mit Filter; 2,1 l ohne Filter
Viskosität: Siehe nachstehende Tabelle.

Note: Obwohl 10W-40-Motoröl für die meisten Bedingungen empfohlen wird, müssen Sie möglicherweise die Ölviskosität ändern, um sich den atmosphärischen Bedingungen anzupassen. Die Verwendung von 20W-50-Motoröl bei höheren Umgebungstemperaturen kann den Ölverbrauch senken.
Note: Prüfen Sie den Ölstand bei kaltem Motor.
Important: Wenn Sie zu viel oder zu wenig Öl in das Kurbelgehäuse füllen, kann der Motor beschädigt werden.
Stellen Sie die Maschine auf eine ebene Fläche, kuppeln Sie den Zapfwellenantriebsschalter aus und aktivieren Sie die Feststellbremse.
Stellen Sie vor dem Verlassen der Bedienungsposition den Motor ab, ziehen Sie den Schlüssel ab und warten Sie, bis alle beweglichen Teile zum Stillstand gekommen sind.
Note: Stellen Sie sicher, dass der Motor kalt ist, damit das Öl in die Wanne ablaufen kann.
Reinigen Sie den Bereich um den Ölfüllstutzendeckel bzw. den Peilstab vor dem Abnehmen, damit kein Schmutz oder Schnittgut usw. in den Motor gelangt (Bild 43).


Note: Entsorgen Sie Altöl im lokalen Recycling Center.
Starten Sie den Motor und lassen Sie ihn fünf Minuten lang laufen.
Note: Dadurch wird das Öl erwärmt und läuft besser ab.
Stellen Sie die Maschine so ab, dass die Ablaufseite etwas tiefer liegt als die entgegengesetzte, damit sichergestellt wird, dass das Öl vollständig abläuft.
Kuppeln Sie den Zapfwellenantriebsschalter aus und aktivieren die Feststellbremse.
Stellen Sie vor dem Verlassen der Bedienungsposition den Motor ab, ziehen Sie den Schlüssel ab und warten Sie, bis alle beweglichen Teile zum Stillstand gekommen sind.
Lassen Sie das Öl vom Motor ab (Bild 44).


Gießen Sie langsam ungefähr 80 % der angegebenen Ölsorte in den Einfüllstutzen und füllen Sie dann vorsichtig mehr Öl ein, um den Ölstand an die Voll-Markierung zu bringen (Bild 45).

Lassen Sie den Motor an und fahren Sie auf eine ebene Fläche.
Prüfen Sie den Ölstand.
Weitere Informationen zum Ablassen des Motoröls finden Sie unter Wechseln des Motoröls.
Wechseln Sie den Motorölfilter (Bild 46).


Note: Stellen Sie sicher, dass die Ölfilterdichtung den Motor berührt und drehen Sie den Filter dann um eine weitere Dreivierteldrehung.
Füllen Sie das Getriebe mit der richtigen Ölsorte; siehe Motorölspezifikationen.
| Wartungsintervall | Wartungsmaßnahmen |
|---|---|
| Alle 100 Betriebsstunden |
|
Achten Sie darauf, dass der Abstand zwischen der mittleren und der seitlichen Elektrode korrekt ist, bevor Sie die Zündkerze eindrehen. Verwenden Sie zum Aus und Einbauen der Zündkerze einen Zündkerzenschlüssel und für die Prüfung und Einstellung des Elektrodenabstands eine Fühlerlehre. Setzen Sie bei Bedarf eine neue Zündkerze ein.
Zündkerzentyp
Kawasaki FX691 und FX801 Motoren: NGK® BPR4ES oder gleichwertig
Elektrodenabstand: 0,75 mm
Stellen Sie die Maschine auf eine ebene Fläche, kuppeln Sie den Zapfwellenantriebsschalter aus und aktivieren Sie die Feststellbremse.
Stellen Sie vor dem Verlassen der Bedienungsposition den Motor ab, ziehen Sie den Schlüssel ab und warten Sie, bis alle beweglichen Teile zum Stillstand gekommen sind.
Reinigen Sie den Bereich um die Fassung der Zündkerze, damit kein Schmutz und keine Rückstände in den Motor gelangen.
Lokalisieren und entfernen Sie die Zündkerze(n) wie in Bild 47 abgebildet.


Important: Reinigen Sie die Zündkerze(n) nie. Wechseln Sie die Zündkerze immer aus, wenn sie schwarz überzogen ist oder abgenutzte Elektroden, einen öligen Film oder Risse aufweist.
Wenn der Kerzenstein hellbraun oder grau ist, ist der Motor richtig eingestellt. Eine schwarze Schicht am Kerzenstein weist normalerweise auf einen schmutzigen Luftfilter hin.
Stellen Sie den Abstand auf 0,75 mm ein.


Unter bestimmten Bedingungen ist Kraftstoff extrem leicht entflammbar und hochexplosiv. Feuer und Explosionen durch Kraftstoff können Verbrennungen und Sachschäden verursachen.
Siehe Kraftstoffsicherheit für eine vollständige Liste der Vorsichtsmaßnahmen im Zusammenhang mit dem Kraftstoff.
| Wartungsintervall | Wartungsmaßnahmen |
|---|---|
| Alle 500 Betriebsstunden |
|
Important: Schließen Sie die Kraftstoffleitungen genauso an und befestigen sie mit Kabelbinden aus Kunststoff, wie dies vorher im Werk gemacht wurde, damit die Kraftstoffleitungen nicht Bestandteile berühren, die Kraftstoffleitungen beschädigen können.
Setzen Sie nie einen verschmutzten Filter wieder ein, wenn Sie ihn aus der Kraftstoffleitung entfernt haben.
Der Kraftstofffilter befindet sich in der Nähe des Motors vorne links am Motor.
Stellen Sie die Maschine auf eine ebene Fläche, kuppeln Sie den Zapfwellenantriebsschalter aus und aktivieren Sie die Feststellbremse.
Stellen Sie vor dem Verlassen der Bedienungsposition den Motor ab, ziehen Sie den Schlüssel ab und warten Sie, bis alle beweglichen Teile zum Stillstand gekommen sind.
Lassen Sie die Maschine abkühlen.
Tauschen Sie den Kraftstofffilter aus (Bild 50).
Note: Stellen Sie sicher, dass der Durchflussrichtungspfeil auf dem neuen Filter in Richtung Motor zeigt.

Versuchen Sie nicht, den Kraftstofftank zu entleeren. Stellen Sie sicher, dass ein offizieller Vertragshändler den Kraftstofftank entleert und die Komponenten der Kraftstoffanlage wartet.
Klemmen Sie das Minuskabel von der Batterie ab, bevor sie die Maschine reparieren.
Laden Sie den Akku in offenen, gut gelüfteten Bereichen und nicht in der Nähe von Funken und offenem Feuer. Stecken Sie das Ladegerät aus, ehe Sie die Batterie anschließen oder abklemmen. Tragen Sie Schutzkleidung und verwenden Sie isoliertes Werkzeug.
| Wartungsintervall | Wartungsmaßnahmen |
|---|---|
| Monatlich |
|
Batteriepole und Metallwerkzeuge können an metallischen Teilen Kurzschlüsse verursachen, was Funken erzeugen kann. Funken können zum Explodieren der Gase in der Batterie führen und Verletzungen verursachen.
Beim Aus- und Einbau des Akkus verhindern, dass Akkupole mit Metallteilen der Maschine in Kontakt kommen.
Verhindern Sie durch den Einsatz von Metallwerkzeugen Kurzschlüsse zwischen Batteriepolen und Metallteilen der Maschine.
Das unsachgemäße Abtrennen der Kabel von der Batterie kann die Maschine und die Kabel beschädigen und Funken erzeugen. Funken können zum Explodieren der Gase in der Batterie führen und Verletzungen verursachen.
Trennen Sie immer das Minuskabel (Schwarz) ab, bevor Sie das Pluskabel (Rot) abtrennen.
Schließen Sie immer das Pluskabel (Rot) an, bevor Sie das Minuskabel (Schwarz) anschließen.
Stellen Sie die Maschine auf eine ebene Fläche, kuppeln Sie den Zapfwellenantriebsschalter aus und aktivieren Sie die Feststellbremse.
Stellen Sie vor dem Verlassen der Bedienungsposition den Motor ab, ziehen Sie den Schlüssel ab und warten Sie, bis alle beweglichen Teile zum Stillstand gekommen sind.
Nehmen Sie die Batterie heraus, wie in Bild 51 abgebildet.


Beim Laden der Batterie werden Gase erzeugt, die explodieren können.
Rauchen Sie nie in der Nähe der Batterie und halten Sie Funken und offene Flammen von der Batterie fern.
Important: Halten Sie die Batterie immer vollständig geladen (Dichte 1,265). Dies ist besonders wichtig zum Verhüten von Batterieschäden, wenn die Temperatur unter 0 °C fällt.
Nehmen Sie die Batterie aus dem Fahrgestell; siehe (Ausbau der Batterie).
Laden Sie die Batterie für 10-15 Minuten mit 25 Ampere oder 30 Ampere oder für 30 Minuten mit 10 Ampere auf.
Note: Überladen Sie die Batterie nicht.
Wenn die Batterie ganz aufgeladen ist, ziehen Sie den Stecker des Ladegeräts aus der Dose. Klemmen Sie dann die Klemmen des Ladegeräts von den Batteriepolen ab (Bild 52).
Setzen Sie den Akku in die Maschine ein und klemmen Sie die Akkukabel an; siehe Einbau der Batterie.
Note: Lassen Sie die Maschine nicht ohne angeschlossene Batterie laufen; die Elektrik des Motors kann beschädigt werden.

Legen Sie die Batterie so in das Fach, dass die Anschlussklemmen auf der anderen Seite des Hydraulikbehälters sind (Bild 51).
Klemmen Sie das (rote) Pluskabel am Pluspol (+) der Batterie an.
Schließen Sie dann das Minuskabel (schwarz) und Erdkabel am Minuspol (-) der Batterie an.
Note: Achten Sie bei Maschinen des Typs MyRide darauf, dass das Erdungskabel nicht am Längslenker oder an der unteren Stoßdämpferbrücke scheuert (Bild 53).

Befestigen Sie die Kabel mit zwei Schrauben, 2 Scheiben und 2 Sicherungsmuttern (Bild 51).
Ziehen Sie die rote Polkappe über den (roten) Pluspol der Batterie.
Befestigen Sie die Batterie mit dem Gummiriemen (Bild 51).
Das Elektrosystem ist mit Sicherungen gesichert. Es sind keine Wartungsarbeiten erforderlich. Überprüfen Sie jedoch das bzw. den entsprechende(n) Teil bzw. Schaltkreis auf einen Defekt oder einen Kurzschluss, wenn eine Sicherung durchbrennt.
Die Sicherungen befinden Sie rechts am Armaturenbrett neben dem Sitz (Bild 54).
Ziehen Sie die Sicherungen zum Wechseln heraus.
Setzen Sie eine neue Sicherung ein (Bild 54).

| Wartungsintervall | Wartungsmaßnahmen |
|---|---|
| Bei jeder Verwendung oder täglich |
|
Prüfen Sie den Sicherheitsgurt auf Zeichen von Abnutzung und Risse und prüfen Sie auch den Rücklauf und die Schnalle. Ersetzen Sie einen beschädigten Sicherheitsgurt.
Kuppeln Sie den Zapfwellenantriebsschalter aus.
Fahren Sie auf eine ebene Fläche und stellen Sie die Fahrantriebshebel in die ARRETIERTE NEUTRAL-Stellung.
Bewegen Sie den Gasbedienungshebel in die Mittelstellung zwischen LANGSAM und SCHNELL.
Schieben Sie beide Fahrantriebshebel nach vorne, bis sie die Anschläge im T-Schlitz berühren.
Stellen Sie fest, nach welcher Seite die Maschine zieht.
Wenn die Maschine nach rechts zieht, stecken Sie einen Sechskantschraubenschlüssel durch das Zugangsloch in der Abdeckungsplatte vorne links und drehen Sie die Spurweitenschraube nach rechts oder nach links, um das Spiel des Hebels einzustellen (Bild 55).
Wenn die Maschine nach links zieht, stecken Sie einen Sechskantschraubenschlüssel durch das Zugangsloch in der Abdeckungsplatte vorne rechts und drehen Sie die Spurweitenschraube nach rechts oder nach links, um das Spiel des Hebels einzustellen (Bild 55).
Setzen Sie die Maschine ein und prüfen Sie die ganze Vorwärtsspurweite.
Wiederholen Sie die Einstellung, bis Sie die gewünschte Spurweite erzielt haben.

| Wartungsintervall | Wartungsmaßnahmen |
|---|---|
| Alle 50 Betriebsstunden |
|
Stellen Sie den Druck in den Laufrad- und Hinterreifen auf 0,9 bar ein. Ein unterschiedlicher Reifendruck kann zu einem ungleichmäßigen Schnittbild führen. Prüfen Sie den Reifendruck am kalten Reifen, um einen möglichst genauen Wert zu erhalten.

Prüfen und ziehen Sie die Radmuttern mit 122-136 N∙m an.
| Wartungsintervall | Wartungsmaßnahmen |
|---|---|
| Nach 100 Betriebsstunden |
|
| Alle 500 Betriebsstunden |
|
Note: Stellen Sie sicher, dass die Feststellbremse richtig eingestellt ist. Diese Schritte müssen nach den ersten 100 Betriebsstunden oder nach dem Entfernen oder Austauschen der Bremsenkomponenten ausgeführt werden.
Stellen Sie die Maschine auf einer ebenen Fläche ab.
Kuppeln Sie den Zapfwellenantriebsschalter aus, stellen die Fahrantriebshebel in die ARRETIERTE NEUTRAL-Stellung und aktivieren die Feststellbremse.
Stellen Sie die Maschine ab, ziehen Sie den Schlüssel ab und warten Sie, bis alle beweglichen Teile zum Stillstand gekommen sind.
Richten Sie die Maschine für ein Schieben mit der Hand ein. Siehe Verwenden der Ablassventile des Antriebsrads.
Heben Sie das Heck der Maschine an und stützen es auf Stützböcken ab.
Sie sollten sich nicht nur auf die mechanischen oder hydraulischen Wagenheber verlassen, wenn Sie eine angehobene Maschine für Kundendienst- oder Wartungsarbeiten abstützen. Die mechanischen oder hydraulischen Wagenheber stützen möglicherweise nicht ausreichend ab oder können ausfallen, sodass die Maschine herunterfallen und schwere Verletzungen verursachen kann.
Verlassen Sie sich nicht ausschließlich auf mechanische oder hydraulische Wagenheber zum Abstützen. Verwenden Sie geeignete Stützböcke oder entsprechende Stützen.
Aktivieren und lösen Sie die Feststellbremse und prüfen Sie jeden Antriebsreifen, um das Aktivieren und Lösen jeder Bremse zu prüfen.
Falls eine Einstellung erforderlich ist, lösen Sie die Feststellbremse. Prüfen Sie alle Komponenten des Feststellbremsgestänges auf Verschleiß. Ersetzen Sie verschlissene Bauteile (Bild 57) und wiederholen Sie Schritt 6.

Prüfen Sie beide Federlängen, wie in Bild 58 abgebildet. Falls eine Einstellung erforderlich ist, drehen Sie die Federsicherungsmutter nach rechts, um die Feder zu verkürzen und nach links, um die Feder zu verlängern. Wiederholen Sie Schritt 6.

Wenn die Einstellung abgeschlossen ist, entfernen Sie die Stützböcke oder die entsprechenden Stützen und senken die Maschine ab.
Stellen Sie die Maschine in die BETRIEBS-Stellung. Siehe Verwenden der Ablassventile des Antriebsrads.
| Wartungsintervall | Wartungsmaßnahmen |
|---|---|
| Alle 50 Betriebsstunden |
|
Ersetzen Sie einen abgenutzten Riemen. Anzeichen eines abgenutzten Riemens sind u. a. das Quietschen des Riemens, wenn er sich dreht, das Schlüpfen der Messer beim Mähen, zerfranste Ränder, Versengen und Risse im Riemen.
Stellen Sie die Maschine auf eine ebene Fläche, kuppeln Sie den Zapfwellenantriebsschalter aus und aktivieren Sie die Feststellbremse.
Stellen Sie vor dem Verlassen der Bedienungsposition den Motor ab, ziehen Sie den Schlüssel ab und warten Sie, bis alle beweglichen Teile zum Stillstand gekommen sind.
Senken Sie das Mähwerk auf eine Schnitthöhe von 76 mm ab.
Lösen Sie die Schraube an jeder Riemenabdeckung.
Lösen Sie die Mähwerkabdeckung, indem Sie den Splint entfernen, siehe Lösen der Mähwerkabdeckung.
Nehmen Sie die Blechschutzvorrichtung ab, siehe Entfernen der Blechschutzvorrichtung..
Entfernen Sie die Riemenabdeckungen (Bild 59).

Setzen Sie eine ⅜-Zoll Ratsche in das rechteckige Loch im Spannarm ein, um die Spannung an der Spannscheibenfeder zu lösen (Bild 60).
Entfernen Sie den Riemen von den Mähwerk-Riemenscheiben und der Kupplungsriemenscheibe.
Nehmen Sie die Riemenschutzvorrichtung am gefederten Spannarm ab (Bild 60).
Nehmen Sie den Riemen ab.
Verlegen Sie den neuen Riemen um die Mähwerk- und Bremsspannscheiben unter dem Motor (Bild 60).

Legen Sie die Riemenführung auf den Spannarm (Bild 60).
Setzen Sie die Spannscheibenfeder mit Hilfe der ⅜-Zoll Ratsche im rechteckigen Loch ein (Bild 60).
Note: Stellen Sie sicher, dass die Enden der Feder in den Verankerungsritzen sitzen.
Bringen Sie die Riemenabdeckungen wieder an (Bild 61).

Stellen Sie die Maschine auf eine ebene Fläche, kuppeln Sie den Zapfwellenantriebsschalter aus und aktivieren Sie die Feststellbremse.
Stellen Sie vor dem Verlassen der Bedienungsposition den Motor ab, ziehen Sie den Schlüssel ab und warten Sie, bis alle beweglichen Teile zum Stillstand gekommen sind.
Entfernen Sie den Mähwerkriemen; siehe Austauschen des Mähwerk-Treibriemens.
Heben Sie die Maschine an und sichern Sie diese mit Achsständern ab.
Verwenden Sie eine ½"-Ratschen oder -Brechstange in einem der quadratischen Löcher im Spannrollenarm, um die Spannung der Spannrollenfeder (Bild 62) zu lösen.
Ziehen Sie den vorhandenen Riemen von der Umlenkrolle, den beiden Riemenscheiben für den Hydraulikpumpenantrieb und der Motorriemenscheibe (Bild 62).
Ziehen Sie den neuen Riemen um die Motorriemenscheibe und um die beiden Riemenscheiben der Hydraulikpumpe (Bild 62).
Setzen Sie die Spannrollenfeder mit Hilfe der ½"-Ratsche oder -Brechstange in einem der quadratischen Löcher ein.
Note: Stellen Sie sicher, dass die Enden der Feder in den Verankerungsritzen sitzen.
Befestigen Sie den Mähwerktreibriemen; siehe Austauschen des Mähwerk-Treibriemens.

Wenn sich die Enden der Hebel berühren, finden Sie weitere Informationen unter Einstellen des Fahrsteuergestänges.
Sie können die Höhe der Fahrantriebshebel für den optimalen Bedienerkomfort nach oben oder unten einstellen.
Stellen Sie die Maschine auf eine ebene Fläche, kuppeln Sie den Zapfwellenantriebsschalter aus und aktivieren Sie die Feststellbremse.
Stellen Sie vor dem Verlassen der Bedienungsposition den Motor ab, ziehen Sie den Schlüssel ab und warten Sie, bis alle beweglichen Teile zum Stillstand gekommen sind.
Entfernen Sie die Befestigungen, mit denen der Steuerhebel an der Steuerarmwelle befestigt ist.

Setzen Sie den Schalthebel in die nächste Lochposition. Befestigen Sie den Hebel mit den Befestigungen.
Wiederholen Sie die Einstellungsschritte am zweiten Schalthebel.
Stellen Sie die Maschine auf eine ebene Fläche, kuppeln Sie den Zapfwellenantriebsschalter aus und aktivieren Sie die Feststellbremse.
Stellen Sie vor dem Verlassen der Bedienungsposition den Motor ab, ziehen Sie den Schlüssel ab und warten Sie, bis alle beweglichen Teile zum Stillstand gekommen sind.
Lösen Sie die obere Schraube, mit der welcher der Schalthebel an der Schalthebelwelle befestigt ist.
Lösen Sie die untere Schraube etwas, so dass der Schalthebel sich nach vorne oder nach hinten drehen lässt. Ziehen Sie beide Schrauben fest, um den Schalthebel in der neuen Stellung zu arretieren.
Wiederholen Sie die Einstellungsschritte am zweiten Schalthebel.

Die Pumpensteuergestänge befinden sich unter dem Sitz an beiden Seiten der Maschine. Drehen Sie die Endmutter mit einem ½"-Schraubenschlüssel, um einzustellen, dass sich die Maschine nicht in der Neutral-Stellung bewegt. Sie sollten nur die Neutral-Stellung einstellen.
Für die Einstellungen muss der Motor laufen und die Antriebsräder müssen sich drehen. Der Kontakt mit beweglichen Teilen oder heißen Oberflächen kann zu Verletzungen führen.
Halten Sie Finger, Hände und Kleidungsstücke von sich drehenden Bestandteilen und von heißen Oberflächen fern.
Stellen Sie die Maschine auf eine ebene Fläche, kuppeln Sie den Zapfwellenantriebsschalter aus und aktivieren Sie die Feststellbremse.
Stellen Sie vor dem Verlassen der Bedienungsposition den Motor ab, ziehen Sie den Schlüssel ab und warten Sie, bis alle beweglichen Teile zum Stillstand gekommen sind.
Treten Sie auf das Mähwerkhubpedal, entfernen Sie den Schnitthöhen-Einstellstift und senken Sie das Mähwerk auf den Boden ab
Heben Sie das Heck der Maschine etwas an und stützen Sie es mit Achsständern oder Ähnlichem ab, sodass sich die Antriebsräder gerade ungehindert drehen.
Klemmen Sie den elektrischen Anschluss vom Sitzsicherheitsschalter ab, der sich unter dem unterem Sitzkissen befindet.
Note: Der Schalter ist Teil des Sitzes.
Schließen Sie vorübergehend ein Überbrückungskabel an den Klemmen des Hauptkabelbaums an.
Lassen Sie den Motor mit Vollgas laufen und lösen Sie die Feststellbremse.
Note: Stellen vor dem Anlassen des Motors sicher, dass die Feststellbremse aktiviert ist und die Fahrantriebshebel außen sind. Sie müssen nicht auf dem Sitz sitzen.
Lassen Sie die Maschine für mindestens fünf Minuten mit Vollgas laufen, um das Hydrauliköl auf die Betriebstemperatur zu erwärmen.
Note: Während Sie Einstellungen vornehmen, müssen sich die Fahrantriebshebel in der Neutral-Stellung befinden.
Stellen Sie die Fahrantriebshebel in die NEUTRAL-Stellung.
Prüfen und stellen Sie sicher, dass die Steuerplattennasen die Platten für das Zurückgehen in die Neutral-Stellung an den hydraulischen Einheiten berühren.
Stellen Sie die Länge der Pumpenschaltstange ein, indem Sie die Mutter in die entsprechende Richtung drehen, bis sich die Räder leicht rückwärts drehen (Bild 65 und Bild 66).


Stellen Sie die Fahrantriebshebel in die RüCKWäRTS-Stellung und üben Sie etwas Druck auf den Hebel aus, damit die Federn die Hebel wieder in die Neutral-Stellung bringen.
Note: Die Räder sollten sich nicht mehr drehen oder leicht rückwärts drehen.
Note: Sie müssen ggf. die Abdeckung der Fahrantriebshebel entfernen, um Zugang zu erhalten.
Schalten Sie die Maschine ab.
Ziehen Sie das Überbrückungskabel vom Kabelbaum ab und schließen Sie den Stecker an den Sitzschalter an.
Entfernen Sie die Stützböcke.
Heben Sie das Mähwerk an und setzen Sie den Schnitthöhenstift ein.
Stellen Sie sicher, dass die Maschine nicht in der Neutral-Stellung bei aktivierter Feststellbremse kriecht.
Suchen Sie beim Einspritzen unter die Haut sofort einen Arzt auf. In die Haut eingedrungene Flüssigkeit muss sie innerhalb weniger Stunden von einem Arzt entfernt werden.
Stellen Sie sicher, dass alle Hydraulikschläuche und -leitungen in gutem Zustand und alle Hydraulikverbindungen und -anschlussstücke fest angezogen sind, bevor Sie die Hydraulikanlage unter Druck setzen.
Halten Sie Ihren Körper und Ihre Hände von Nadellöchern und Düsen fern, aus denen Hydrauliköl unter hohem Druck ausgestoßen wird.
Gehen Sie hydraulischen Undichtheiten nur mit Pappe oder Papier nach.
Lassen Sie den Druck in der Hydraulikanlage auf eine sichere Art und Weise ab, bevor Sie irgendwelche Arbeiten an der Hydraulikanlage durchführen.
Hydraulikölsorte: Toro® HYPR-OIL™ 500-Hydrauliköl
Important: Verwenden Sie die richtige Sorte. Andere Flüssigkeiten können die Hydraulikanlage beschädigen.
Fassungsvermögen der Hydraulikanlage (ohne Filter): 7,57 Liter
| Wartungsintervall | Wartungsmaßnahmen |
|---|---|
| Bei jeder Verwendung oder täglich |
|
Lassen Sie das Hydrauliköl abkühlen. Prüfen Sie den Ölstand bei kaltem Öl.
Prüfen Sie das Ausdehnungsgefäß und füllen Sie ggf. Hydrauliköl der Sorte Toro® HYPR-OIL™ 500 bis zur Markierung FULL COLD auf (Bild 67).

| Wartungsintervall | Wartungsmaßnahmen |
|---|---|
| Nach 100 Betriebsstunden |
|
Zum Auswechseln des Hydrauliköls müssen die Filter entfernt werden. Ersetzen Sie beide gleichzeitig; siehe Hydrauliköl – technische Angaben für die Ölsorten.
Entlüften Sie die Anlage nach dem Einsetzen der neuen Filter und dem Hinzufügen des Öls. Siehe Entlüften der Hydraulikanlage. Wiederholen Sie das Entlüften so lange, bis der Ölstand nach dem Entlüften an der Markierung FULL COLD bleibt.
Important: Falsches Entlüften kann zu irreparablen Schäden am Getriebe führen.
Stellen Sie die Maschine auf eine ebene Fläche, kuppeln Sie den Zapfwellenantriebsschalter aus und aktivieren Sie die Feststellbremse.
Stellen Sie vor dem Verlassen der Bedienungsposition den Motor ab, ziehen Sie den Schlüssel ab und warten Sie, bis alle beweglichen Teile zum Stillstand gekommen sind.
Lassen Sie den Motor abkühlen.
Verwenden Sie eine Verlängerung und einen 7/16-Zoll-Steckschlüssel, um die Entlüftungsschraube von der Oberseite der Maschine durch die Löcher in der Nähe der Überrollbügelhalterungen zu erreichen (Bild 68).
Note: Achten Sie darauf, dass Sie den Entlüftungsstopfen nach dem Ausbau nicht verlegen, da er leicht verloren gehen kann.

Reinigen Sie den Bereich um den Filter.
Important: Lassen Sie keinen Schmutz in die Hydraulikanlage gelangen, da sie ansonsten kontaminiert werden kann.
Stellen Sie eine Auffangwanne unter den Filter, um die Flüssigkeit aufzufangen, die beim Entfernen des Filters und der Entlüftungsschraube ausläuft.
Entfernen Sie den Deckel des Hydraulikölfilters am Getriebe, um das Hydrauliköl abzulassen (Bild 69).

Entfernen Sie die O-Ring von der Filterabdeckung und entsorgen Sie diesen.
Nachdem das Hydrauliköl aus dem Getriebe abgelassen ist, entfernen Sie den Filter aus dem Getriebegehäuse.
Wiederholen Sie diese Schritte an der anderen Seite der Maschine.
Setzen Sie einen neuen Filter in das Getriebe ein und einen neuen O-Ring auf die Filterabdeckung.
Bringen Sie die Filterabdeckung an.
Ziehen Sie die Filterabdeckung mit einem Drehmoment von 22,6 - 33,8 N∙m an.
Entfernen Sie den Deckel vom Ausdehnungsgefäß und füllen Sie das Getriebe mit dem angegebenen Hydrauliköl auf, bis die richtige Ölmenge erreicht ist.
Note: Das Befüllen des Getriebes kann mehr Zeit als erwartet in Anspruch nehmen.
Setzen Sie die zuvor entfernte Entlüftungsschrauben ein und ziehen Sie diese auf ein Drehmoment von 395 bis 904 N∙cm an.
Gehen Sie zu Entlüften der Hydraulikanlage.
Important: Wenn Sie nach dem Wechseln der Hydraulikfilter und des -öls die Hydraulikanlage nicht entlüften, kann das Getriebe irreparable beschädigt werden.
Heben Sie das Heck der Maschine etwas an und stützen es mit Stützböcken oder Ähnlichem ab, sodass sich die Antriebsräder gerade ungehindert drehen.

Lassen Sie den Motor an, schieben die Gasbedienung nach vorne in die Halbgas-Stellung und lösen die Feststellbremse.
Schieben Sie die Sicherheitshebel in die Stellung für das Schieben der Maschine. Wenn die Sicherheitsventile geöffnet sind und der Motor läuft, schieben Sie die Fahrantriebshebel fünf oder sechs Mal vorsichtig in den Vorwärts- und Rückwärtsgang.
Schieben Sie die Sicherheitshebel in die Betriebsstellung der Maschine.
Wenn das Sicherheitsventil geschlossen ist und der Motor läuft, schieben Sie die Lenkung fünf oder sechs Mal vorsichtig in den Vorwärts- und Rückwärtsgang.
Stellen Sie den Motor ab und prüfen Sie den Ölstand im Ausdehnungsgefäß. Füllen Sie Flüssigkeit der entsprechenden Sorte ein, bis die Linie FULL COLD am Ausdehnungsgefäß erreicht ist.
Wiederholen Sie den Schritt 2, bis die Anlage komplett entlüftet ist.
Note: Wenn das Geräusch des Getriebes normal ist und bei normalen Geschwindigkeiten ungehindert nach vorne und hinten bewegt, ist die Antriebsachse entlüftet.
Prüfen Sie den Ölstand im Ausdehnungsgefäß noch einmal. Füllen Sie Öl der entsprechenden Sorte ein, bis der Stand an der Linie FULL COLD am Ausdehnungsgefäß liegt.
Prüfen Sie die Messer regelmäßig auf Abnutzung oder Beschädigungen.
Prüfen Sie die Messer vorsichtig. Wickeln Sie die Messer in einen Lappen ein oder tragen Handschuhe; gehen Sie bei der Wartung der Messer mit besonderer Vorsicht vor. Wechseln oder schärfen Sie die Messer, sie dürfen keinesfalls geglättet oder geschweißt werden.
Denken Sie bei Maschinen mit mehreren Schnittmessern daran, dass ein rotierendes Schnittmesser das Mitdrehen anderer Schnittmesser verursachen kann.
Tauschen Sie abgenutzte oder defekte Messer und -schrauben als komplette Sätze aus, um die Wucht der Messer beizubehalten.
Halten Sie, damit eine optimale Schnittqualität sichergestellt wird, die Schnittmesser scharf. Halten Sie Ersatzschnittmesser zum Schärfen und Austauschen bereit.
Stellen Sie die Maschine auf eine ebene Fläche, kuppeln Sie den Zapfwellenantriebsschalter aus und aktivieren Sie die Feststellbremse.
Stellen Sie den Motor ab, ziehen Sie den Zündschlüssel und den Zündkerzenstecker ab.
| Wartungsintervall | Wartungsmaßnahmen |
|---|---|
| Bei jeder Verwendung oder täglich |
|
Untersuchen Sie die Schnittkanten (Bild 71).
Entfernen Sie das Messer und schärfen Sie es, wenn die Kanten nicht scharf sind oder Kerben aufweisen; siehe Schärfen der Messer.
Prüfen Sie die Schnittmesser, insbesondere im gebogenen Bereich.
Wenn Sie Risse, Verschleiß oder Rillenbildung in diesem Bereich feststellen, sollten Sie sofort ein neues Schnittmesser einbauen (Bild 71).

Note: Für die folgenden Schritte muss die Maschine auf einer ebenen Fläche stehen.
Heben Sie das Mähwerk auf die höchste Schnitthöhe an.
Tragen Sie dicke Handschuhe oder andere angemessene Handschuhe und drehen Sie das Messer langsam in eine Stellung, in der das Messen des Abstands zwischen der Schnittkante und der ebenen Fläche der Maschine möglich ist (Bild 72).

Messen Sie von der Messerspitze bis zu ebenen Fläche (Bild 73).

Drehen Sie dasselbe Messer um 180 Grad, sodass die andere Schnittkante jetzt in derselben Stellung ist (Bild 74).

Messen Sie von der Messerspitze bis zu ebenen Fläche (Bild 75).
Note: Die Differenz sollte höchstens 3 mm betragen.

Wenn die Differenz zwischen A und B größer als 3 mm ist, wechseln Sie das Messer aus, siehe Entfernen der Messer und Einbauen der Messer.
Note: Wenn Sie ein verbogenes Messer durch ein neues ersetzen und der Wert weiterhin über 3 mm liegt, ist die Messerspindel ggf. verbogen. Wenden Sie sich für den Kundendienst an den offiziellen Vertragshändler.
Wenn die Abweichung innerhalb der Beschränkungen liegt, fahren Sie mit dem nächsten Messer fort.
Wiederholen Sie die Schritte für jedes Messer.
Wechseln Sie die Messer aus, wenn sie auf ein festes Objekt aufgeprallt sind oder nicht ausgewuchtet oder verbogen sind.
Halten Sie das flache Ende der Spindelwelle mit einem Schraubenschlüssel oder halten Sie die Messerseite mit einem Lappen oder einem dick wattierten Handschuh.
Entfernen Sie die Messerschraube, Buchse und das Messer von der Spindelwelle (Bild 76).

Schärfen Sie die Schnittkante an beiden Enden des Schnittmessers mit einer Feile (Bild 77).
Note: Behalten Sie den ursprünglichen Winkel bei.
Note: Das Mähmesser behält seine Auswuchtung bei, wenn von beiden Schnittkanten die gleiche Materialmenge entfernt wird.

Prüfen Sie die Auswuchtung des Schnittmessers auf einer Ausgleichsmaschine (Bild 78).
Note: Wenn das Schnittmesser in seiner horizontalen Position bleibt, ist es ausgewuchtet und kann wiederverwendet werden.
Note: Feilen Sie, wenn das Schnittmesser nicht ausgewuchtet ist, vom Flügelbereich des Messers etwas Metall ab (Bild 77).

Wiederholen Sie diesen Vorgang, bis das Messer ausgewuchtet ist.
Montieren Sie eine Buchse durch das Messer, wobei der Bund der Buchse auf der unteren (Gras-)Seite des Messers liegen muss (Bild 79).

Montieren Sie die Buchsen-/Messerbaugruppe auf der Spindelwelle (Bild 80).

Geben Sie nach Bedarf Schmiermittel oder Fett auf Kupferbasis auf das Gewinde der Messerschraube, um ein Verklemmen zu verhindern. Ziehen Sie die Messerschraube handfest an.
Verwenden Sie einen Schraubenschlüssel auf dem flachen Ende der Spindelwelle, um die Messerschraube auf 75 bis 81 N∙m festzuziehen.
Prüfen Sie die Nivellierung des Mähwerks immer, wenn Sie das Mähwerk einbauen oder wenn Sie ungleichmäßige Schnitthöhen auf dem Rasen bemerken.
Prüfen Sie vor dem Nivellieren das Mähwerk auf verbogene Messer; wechseln Sie verbogene Messer aus; siehe Warten der Schnittmesser bevor Sie fortfahren.
Nivellieren Sie das Mähwerk zuerst seitlich, bevor Sie es in Längsrichtung nivellieren.
Voraussetzungen:
Die Maschine auf einer ebenen Fläche stehen.
Alle Reifen müssen den richtigen Druck haben; siehe Prüfen des Reifendrucks.
Stellen Sie die Maschine auf eine ebene Fläche, kuppeln Sie den Zapfwellenantriebsschalter aus und aktivieren Sie die Feststellbremse.
Stellen Sie vor dem Verlassen der Bedienungsposition den Motor ab, ziehen Sie den Schlüssel ab und warten Sie, bis alle beweglichen Teile zum Stillstand gekommen sind.
Prüfen Sie den Reifendruck in den Antriebsreifen; siehe Prüfen des Reifendrucks.
Stellen Sie das Mähwerk in die Transportsicherungsstellung oder die höchste Schnitthöheneinstellung.
Drehen Sie die Schnittmesser vorsichtig von einer Seite zur anderen.
Messen Sie den Abstand zwischen der Messerspitze und der ebenen Oberfläche (Bild 81). Wenn beide Messwerte nicht innerhalb von 5 mm liegen, stellen Sie die Nivellierung ein; fahren Sie mit diesen Schritten fort.

Prüfen Sie die Schnittmesserneigung in Längsrichtung (Bild 82). Stellen Sie sicher, dass die vordere Messerspitze niedriger als die hintere Messerspitze ist, wie in der Blockhöhen- und Rechentabelle angegeben. Wenn eine Einstellung erforderlich ist, fahren Sie mit diesem Schritt fort.

Stellen Sie die Antiskalpierrollen auf die oberen Löcher oder entfernen Sie sie ganz für diese Einstellung.
Heben Sie das Mähwerk in die Transportstellung (140 mm) an.
Lösen Sie langsam die Einstellschraube an der Feder der Hubhilfe, bis Sie die Schraube entfernen können (Bild 83).
Note: Bewahren Sie die Schraube für die spätere Installation auf.

Legen Sie zwei Blöcke (siehe Blockhöhen- und Rechentabelle) unter die hintere Kante des Mähwerks, einen Block an jeder Seite des Mähwerks (Bild 84).
Stellen Sie den Schnitthöhenhebel auf 76 mm, siehe Einstellen der Schnitthöhe.
Legen Sie zwei Blöcke an jeder Seite unter die vordere Kante des Mähwerks, jedoch nicht unter die Halterungen der Antiskalpierrollen oder die Schweißnähte.

| Mähwerkgröße | Vordere Blockhöhe | Rechen |
| Alle Mähwerke | 73 mm | 4,8 mm bis 6,4 mm |
Drehen Sie die Schnittmesser vorsichtig von einer Seite zur anderen (Bild 81).
Senken Sie das Mähwerk auf eine Schnitthöhe von 76 mm ab; siehe Einstellen der Schnitthöhe.
Lösen Sie die Sicherungsmuttern (Bild 85) an allen vier Ecken und stellen Sie sicher, dass das Mähwerk fest auf allen vier Blöcken sitzt.
Entfernen Sie das Spiel an den Mähwerk-Hängeprofilen und stellen Sie sicher, dass der Mähwerkhubhebel nach hinten gegen den Anschlag gedrückt ist.
Ziehen Sie die vier Sicherungsmuttern fest.

Vergewissern Sie sich, dass die Blöcke bündig unter dem Mähwerk sind und alle Schrauben des Anbaugeräts angezogen sind
Setzen Sie die Nivellierung des Mähwerks fort und prüfen Sie die Schnittmesserneigung in Längsrichtung.
Prüfen Sie die Nivellierung der Messer und führen Sie ggf. den Nivellierungsschritte für das Mähwerk erneut aus.
Heben Sie das Mähwerk in die Transportstellung (140 mm) an.
Installieren Sie die zuvor in Schritt 10 entfernte Einstellschraube der Feder der Hubhilfe.
Stellen Sie den Abstand zwischen der Feder und der Halterung auf 22 bis 29 mm ein.
Arretieren Sie die gefederten Mähwerkarme, bevor Sie Wartungsarbeiten durchführen oder das Mähwerk entfernen.
Stellen Sie die Maschine auf eine ebene Fläche, kuppeln Sie den Zapfwellenantriebsschalter aus und aktivieren Sie die Feststellbremse.
Stellen Sie vor dem Verlassen der Bedienungsposition den Motor ab, ziehen Sie den Schlüssel ab und warten Sie, bis alle beweglichen Teile zum Stillstand gekommen sind.
Senken Sie das Mähwerk auf eine Schnitthöhe von 76 mm ab.
Lösen Sie die Mähwerkabdeckung, indem Sie den Splint entfernen, siehe Lösen der Mähwerkabdeckung.
Entfernen Sie die Riemenabdeckungen.
Lösen Sie die Spannscheibe des Mähwerks und nehmen Sie den Mähwerkriemen ab; siehe Warten der Riemen.
Entfernen Sie die Schrauben und Muttern von der Vorderseite der Platte unter der Fußstütze.
Entfernen und bewahren Sie die Schrauben und Muttern an beiden Seiten der Maschine auf (Bild 86).

Schieben Sie das Mähwerk von der rechten Seite der Maschine heraus.
Eine nicht abgedeckte Auswurföffnung kann zum Ausschleudern von Gegenständen auf den Bediener oder Unbeteiligte führen. Das kann schwere Verletzungen zur Folge haben. Außerdem könnte es auch zum Kontakt mit dem Messer kommen.
Setzen Sie die Maschine nur ein, wenn Sie eine Mulchplatte, eine Grasleitvorrichtung oder eine Fangvorrichtung montiert haben.
Entfernen Sie die Sicherungsmutter, Schraube, Feder und das Distanzstück, mit denen das Ablenkblech an den Schwenkhalterungen befestigt ist (Bild 87).
Entfernen Sie defekte oder abgenutzte Ablenkbleche (Bild 87).

Legen Sie das Distanzstück und die Feder auf das Ablenkblech.
Setzen Sie ein J-förmiges Federende hinter die Kante des Mähwerks.
Note: Achten Sie darauf, dass ein J-förmiges Federende hinter der Mähwerkkante befestigt ist, bevor Sie die Schraube einsetzen, wie in Bild 87 abgebildet.
Setzen Sie die Schraube und Mutter ein.
Führen Sie das J-förmige Hakenende der Feder um das Ablenkblech (Bild 87).
Important: Das Grasablenkblech muss sich drehen können. Heben Sie das Ablenkblech in die ganz geöffnete Stellung an und stellen Sie sicher, dass es sich in die ganz untere Stellung dreht.
| Wartungsintervall | Wartungsmaßnahmen |
|---|---|
| Nach jeder Verwendung |
|
Stellen Sie die Maschine auf eine ebene Fläche, kuppeln Sie den Zapfwellenantriebsschalter aus und aktivieren Sie die Feststellbremse.
Stellen Sie vor dem Verlassen der Bedienungsposition den Motor ab, ziehen Sie den Schlüssel ab und warten Sie, bis alle beweglichen Teile zum Stillstand gekommen sind.
Heben Sie das Mähwerk in die TRANSPORTstellung an.
Reinigen Sie die Aufhängung mit Druckluft.
Note: Reinigen Sie die Stoßdämpfer nicht mit einem Hochdruckreiniger (Bild 88).

Motoröl, Akkus, Hydrauliköl und Motorkühlmittel belasten die Umwelt. Entsorgen Sie diese Mittel entsprechend den in Ihrem Gebiet gültigen Vorschriften.
Stellen Sie vor dem Verlassen der Bedienerposition den Motor ab, ziehen Sie den Schlüssel ab und warten Sie, bis alle beweglichen Teile zum Stillstand gekommen sind. Lassen die Maschine abkühlen, bevor Sie sie einstellen, warten, reinigen, oder einlagern.
Lagern Sie die Maschine bzw. den Kraftstoff nicht in der Nähe von offenem Feuer bzw. lassen Sie den Kraftstoff nicht in einem geschlossenen Raum oder Anhänger ab.
Lagern Sie weder die Maschine noch den Kraftstoffkanister in der Nähe von offenen Flammen, Funken oder Zündflammen wie z. B. bei einem Heizkessel oder sonstigen Geräten.
Kuppeln Sie den Zapfwellenantriebsschalter aus und aktivieren die Feststellbremse.
Stellen Sie vor dem Verlassen der Bedienungsposition den Motor ab, ziehen Sie den Schlüssel ab und warten Sie, bis alle beweglichen Teile zum Stillstand gekommen sind.
Entfernen Sie Schnittgut und Schmutz von den äußeren Teilen der Maschine, insbesondere vom Motor und der Hydraulikanlage. Entfernen Sie Schmutz und Häcksel außen an den Zylinderkopfrippen des Motors und am Gebläsegehäuse.
Important: Sie können die Maschine mit einem milden Reinigungsmittel und Wasser waschen. Reinigen Sie die Maschine nicht mit einem Hochdruckreiniger. Vermeiden Sie den Einsatz von zu viel Wasser, insbesondere in der Nähe des Armaturenbretts, des Motors, der Hydraulikpumpen und -motoren.
Prüfen Sie die Funktion der Feststellbremse; siehe Einstellen der Feststellbremse.
Warten Sie den Luftfilter; siehe Warten des Luftfilters.
Schmieren Sie die Maschine ein; siehe Einfetten der Maschine.
Wechseln Sie das Öl im Kurbelgehäuse; siehe Warten des Motoröls.
Prüfen Sie den Reifendruck; siehe Prüfen des Reifendrucks.
Wechseln Sie die Hydraulikfilter aus; siehe Wechseln des Hydrauliköls und der -filter.
Laden Sie die Batterie auf; siehe Aufladen der Batterie.
Schaben Sie starke Schnittgut- und Schmutzablagerungen von der Unterseite des Mähwerks ab und reinigen Sie das Mähwerk dann mit einem Gartenschlauch.
Note: Lassen Sie die Maschine mit eingekuppeltem Zapfwellenantriebsschalter und Motor mit hoher Drehzahl für 2-5 Minuten nach dem Reinigen laufen.
Prüfen Sie den Zustand der Messer; siehe Warten der Schnittmesser.
Bereiten Sie die Maschine bei einer Stilllegung von mehr als 30 Tagen zur Einlagerung vor. Bereiten Sie die Maschine wie im Anschluss beschrieben für die Einlagerung vor:
Geben Sie einen Stabilisator bzw. Konditioniermittel auf Mineralölbasis dem Benzin im Tank zu. Befolgen Sie dabei die Mischanweisungen des Herstellers des Stabilisators. Verwenden Sie keinen Stabilisator auf Alkoholbasis (Ethanol oder Methanol).
Note: Ein Kraftstoffstabilisator wirkt am effektivsten, wenn er frischem Benzin beigemischt und ständig verwendet wird.
Lassen Sie den Motor für fünf Minuten laufen, um den stabilisierten Kraftstoff in der Kraftstoffanlage zu verteilen.
Stellen Sie den Motor ab und lassen ihn abkühlen; lassen Sie den Kraftstoff aus dem Tank ablaufen.
Starten Sie den Motor und lassen Sie ihn laufen, bis er abstellt.
Entsorgen Sie Kraftstoff vorschriftsmäßig. Entsorgen Sie den Kraftstoff entsprechend den örtlich geltenden Vorschriften.
Important: Kraftstoff, der Stabilisator/Konditionierer enthält, nicht länger als vom Hersteller des Kraftstoffstabilisators empfohlen lagern.
Entfernen und prüfen Sie den Zustand der Zündkerzen; siehe Warten der Zündkerze(n). Gießen Sie bei entfernter Zündkerze 30 ml (zwei Esslöffel) Motoröl in die Zündkerzenöffnung. Lassen Sie dann den Motor mit dem Anlasser an, um das Öl im Zylinder zu verteilen. Setzen Sie die Zündkerze(n) wieder ein. Setzen Sie der Zündkerze nicht den -stecker auf.
Prüfen Sie alle Muttern und Schrauben, und ziehen Sie diese bei Bedarf nach. Reparieren Sie alle beschädigten und defekten Teile oder wechseln sie aus.
Bessern Sie alle zerkratzten oder abgeblätterten Metallflächen aus. Die passende Farbe erhalten Sie bei Ihrem Toro Vertragshändler.
Lagern Sie die Maschine in einer sauberen, trockenen Garage oder an einem anderen geeigneten Ort ein. Ziehen Sie den Schlüssel aus dem Zündschloss und bewahren Sie ihn außerhalb der Reichweite von Kindern und anderen unbefugten Personen auf. Decken Sie die Maschine ab, damit sie geschützt ist und nicht verstaubt.
| Problem | Possible Cause | Corrective Action |
|---|---|---|
| Der Motor wird zu heiß. |
|
|
| Der Anlasser läuft nicht. |
|
|
| Der Motor springt nicht an, kann nur schwer angelassen werden, oder stellt ab. |
|
|
| Der Motor verliert an Leistung. |
|
|
| Das Mähwerk zieht bei ganz nach vorne gedrückten Hebeln nach links oder rechts |
|
|
| Die Maschine fährt nicht. |
|
|
| Die Maschine weist abnormale Vibrationen auf. |
|
|
| Die Schnitthöhe ist unregelmäßig. |
|
|
| Die Schnittmesser drehen sich nicht. |
|
|
| Die Kupplung kann nicht eingekuppelt werden. |
|
|

