| Vedlikeholdsintervall | Vedlikeholdsprosedyre |
|---|---|
| For hver bruk eller daglig |
|
Denne plentraktoren med roterende kniver er beregnet på bruk av profesjonelle, innleide operatører. Den er hovedsakelig beregnet på å klippe gress på godt vedlikeholdte plener på private eller kommersielle eiendommer. Hvis du bruker dette produktet til andre formål enn det er beregnet på, kan du utsette deg selv eller andre for fare.
Les denne håndboken nøye, slik at du lærer å bruke og vedlikeholde produktet på riktig måte og unngår person- eller produktskade. Du har ansvar for å bruke produktet på en riktig og sikker måte.
Gå til www.Toro.com for materialer for produktsikkerhet og opplæring i bruk, og informasjon om tilbehør, hjelp til å finne en forhandler eller for å registrere produktet ditt.
Hvis maskinen må repareres, om du trenger originale Toro-deler eller mer informasjon, kan du kontakte et autorisert forhandlerverksted eller Toros kundeserviceavdeling. Ha modell- og serienummer for hånden når du tar kontakt. Figur 1 identifiserer plasseringen av modell- og serienummer på produktet. Skriv inn numrene i de tomme feltene.
Important: Du kan skanne QR-koden på serienummermerket (hvis det finnes) med den mobile enheten for å få tilgang til garantien, deler og annen produktinformasjon.

I tillegg brukes to ord for å utheve informasjon. Viktig gjør oppmerksom på spesiell mekanisk informasjon og Obs henviser til generell informasjon som er verdt å huske.
Symbolet for sikkerhetsvarsel (Figur 2) vises både i denne håndboken og på maskinen for å identifisere viktige sikkerhetsmeldinger som du må følge for å unngå ulykker. Dette symbolet vises sammen med ordet Fare, Advarsel eller Forsiktig.
Fare indikerer en farlig situasjon som, hvis den ikke unngås, vil resultere i dødsfall eller alvorlig personskade.
Advarsel indikerer en potensielt farlig situasjon som, hvis den ikke unngås, kan resultere i dødsfall eller alvorlig personskade.
Forsiktig indikerer en potensielt farlig situasjon som, hvis den ikke unngås, kan resultere i mindre eller moderat skade.

Dette produktet er i samsvar med alle relevante europeiske direktiver. Se eget samsvarserklæringsskjema for produktet for detaljert informasjon.
Se motorprodusentens informasjon som følger med maskinen.
Brutto- eller nettomoment: Motorens brutto- eller nettomoment ble beregnet i laboratorium av motorprodusenten i overensstemmelse med Society of Automotive Engineers (SAE) J1940 eller J2723. Når gresslippere i denne klassen er konfigurert til å overholde sikkerhets-, utslipps- og driftskrav, vil det faktiske dreiemomentet være betydelig lavere. Se motorprodusentens informasjon som følger med maskinen.
Denne maskinen har blitt designet i henhold til EN ISO-standard 5395.
Dette produktet kan amputere hender og føtter og slynge gjenstander opp i luften. Følg alltid alle sikkerhetsinstruksjoner for å unngå alvorlige personskader eller dødsulykker.
Les og forstå innholdet i denne brukerhåndboken før du starter motoren.
Hold tilskuere og barn unna.
Ikke la barn eller personer som ikke er opplært, betjene eller utføre vedlikehold på maskinen. Maskinen skal kun brukes av ansvarlige personer som fått opplæring, er kjent med instruksjonene og er fysisk i stand til å betjene eller utføre vedlikehold på den.
Hold alltid veltebøylen i fullt hevet og låst stilling og bruk sikkerhetsbelte.
Maskinen må ikke brukes nær bratte skrenter, grøfter, voller, vann eller andre farer, eller i skråninger på mer enn 15 grader.
Hold hender og føtter borte fra roterende deler på maskinen.
Bruk aldri maskinen uten at alle vernedeksler, sikkerhetsbrytere og andre sikkerhetsanordninger sitter på plass og fungerer som de skal.
Slå av motoren, ta ut nøkkelen og vente til alle bevegelige deler står stille, før du forlater førerens plass. La maskinen kjøle seg ned før vedlikehold, justering, fylling av drivstoff, rengjøring eller lagring.

![]() |
Sikkerhetsmerker og instruksjoner er lett synlige for føreren og er plassert i nærheten av alle områder som representerer en potensiell fare. Bytt ut alle merker som er ødelagte eller mangler. |





















Gjør deg kjent med alle kontroller før du starter motoren og bruker maskinen.

Tenningsbryteren som brukes til å starte og stoppe motoren, har tre stillinger: AV, KJøR og START. Se Starte motoren.
Bruk lysbryteren for å skru lysene til På-posisjon eller AV-posisjon (Figur 5).
Bruk chokekontrollen for å starte en kald motor.
Gassen kontrollerer motorhastigheten og den har en kontinuerlig variabel innstilling fra SAKTE til HURTIG (Figur 5).
Knivkontrollbryteren, representert av et kraftoverføringssymbol (PTO), aktiverer og deaktiverer strømmen til knivbladene (Figur 5).
Timemåleren registrerer antallet timer som motoren har vært i bruk. Den er i gang når motoren er i gang. Bruk tidene for å planlegge vanlig vedlikehold (Figur 6).

Symboler på timetelleren indikerer med et svart triangel at sperrekomponentene er i riktig posisjon (Figur 6).
Hvis du vrir tenningsnøkkelen til På-stillingen i noen få sekunder, vises batterispenningen i området hvor klokkeslettet vanligvis vises.
Batterilyset slår seg på når nøkkelbryteren er slått på og når ladenivået er under riktig bruksnivå (Figur 6).
Bruk bevegelseskontrollspakene til å kjøre maskinen fremover, rygge og svinge i alle retninger (Figur 4).
Flytt bevegelseskontrollspakene utover fra midten til NøYTRAL, LåST stilling når du forlater maskinen (Figur 25). Sett alltid bevegelseskontrollspakene i NøYTRAL, LåST stillingen når du stanser maskinen eller lar den stå uten tilsyn.
Når du slår av motoren, må du sette parkeringsbremsen på for å forhindre at kjøretøyet skal bevege seg ved et uhell.
Steng drivstoffvelgerventilen før du transporterer eller lagrer maskinen. Se Bruke drivstoffavstengingsventilen.
Note: Spesifikasjoner og konstruksjon kan forandres uten varsel.
| Klippeenhet på 122 cm | Klippeenhet på 132 cm | Klippeenhet på 152 cm | |
|---|---|---|---|
| Uten klippeenhet | 129 cm | 137 cm | 140 cm |
| Avleder opp | 141 cm | 150 cm | 166 cm |
| Avleder ned | 160 cm | 171 cm | 191 cm |
| Avleder fjernet | 132 cm | 141 cm | 156 cm |
| Dekk på 24 tommer | Dekk på 26 tommer | |
|---|---|---|
| Lengde | 219 cm | 220 cm |
| Dekk på 24 tommer | Dekk på 26 tommer | |
|---|---|---|
| Veltebøyle opp | 182 cm | 185 cm |
| Veltebøyle ned | 126 cm | 129 cm |
| Maskiner | Vekt |
| Maskiner på 122 cm | 512 kg |
| Maskiner på 132 cm | 531 til 540 kg |
| Maskiner på 152 cm | 535 til 590 kg |
Et utvalg av Toro-godkjent tilbehør som kan brukes sammen med maskinen for å forbedre og utvide dens funksjoner er tilgjengelig. Ta kontakt med en autorisert serviceforhandler eller Toro-forhandler, eller gå til www.Toro.com for å få en liste over godkjent tilbehør og utstyr.
For å oppnå optimal ytelse og holde maskinen i sikkerhetsgodkjent stand bruker du bare ekte Toro-reservedeler og -tilbehør. Reservedeler og tilbehør som er laget av andre produsenter kan være farlige, og de kan derfor føre til at garantien blir ugyldig.
Note: Angi hva som er høyre og venstre side på maskinen ved å stå i normal arbeidsstilling.
Ikke la barn eller personer som ikke er opplært, betjene eller utføre vedlikehold på maskinen. Det kan hende at lokale forskrifter setter en aldersgrense for bruk. Eieren er ansvarlig for opplæring av alle operatører og mekanikere.
Undersøk området hvor du skal bruke maskinen, og fjern alle gjenstander som kan komme i veien for bruken av maskinen eller slynges ut av maskinen.
Gjør deg kjent med sikker bruk av utstyret, driftskontrollene og sikkerhetssymbolene.
Kontroller at dødmannskontrollene, sikkerhetsbryterne og vernedekslene er montert og fungerer som de skal. Ikke bruk maskinen hvis disse ikke fungerer som de skal.
Slå av motoren, ta ut nøkkelen og vente til alle bevegelige deler står stille, før du forlater førerens plass. La maskinen kjøle seg ned før vedlikehold, justering, fylling av drivstoff, rengjøring eller lagring.
Før du klipper, må du alltid undersøke maskinen for å sikre at klippeenhetene fungerer som de skal.
Vurder terrenget for å avgjøre det passende utstyret og eventuelt tilbehør som er nødvendig for å bruke maskinen korrekt og sikkert.
Ha på deg passende klær, inkludert vernebriller, vernebukser, sklisikkert og kraftig fottøy og hørselsvern. Sett opp langt hår, ikke bruk løstsittende klær eller fritthengende smykker.
Ikke ta med deg passasjerer på maskinen.
Hold tilskuere og kjæledyr unna maskinen under drift. Slå av maskinen og tilbehøret hvis noen kommer inn på området.
Ikke bruk maskinen med mindre alle vernedeksler og sikkerhetsanordninger, slik som avlederne og hele gressoppsamleren, sitter på plass og fungerer som de skal. Skift ut slitte eller forringede deler når det er nødvendig.
Drivstoff er svært brannfarlig og eksplosivt. Brann eller eksplosjon forårsaket av drivstoff kan påføre deg og andre brannskader samt ødelegge eiendom.
Når du fyller tanken, må drivstoffkannen og/eller maskinen være plassert direkte på bakken og ikke i et kjøretøy eller på en gjenstand, for å hindre at statisk elektrisitet antenner drivstoffet.
Fyll opp drivstofftanken på et plant underlag utendørs, i et åpent område og når motoren er nedkjølt. Tørk opp eventuelt drivstoffsøl.
Ikke håndter drivstoff når du røyker eller er i nærheten av åpen ild eller gnister.
Ikke ta lokket av drivstofftanken eller fyll på drivstofftanken mens motoren går eller er varm.
Ikke prøv å starte motoren hvis du har sølt drivstoff. Unngå antenningskilder til all drivstoffdamp er forsvunnet.
Drivstoff må oppbevares på en godkjent kanne, utenfor barns rekkevidde.
Drivstoff kan føre til skader eller dødsfall hvis det svelges. Hvis du utsettes for damp fra drivstoff over lengre tid, kan dette føre til alvorlig skade og sykdom.
Unngå innånding av damp fra drivstoff over lengre tid.
Hold hendene og ansiktet unna dysen og drivstofftankåpningen.
Hold drivstoffet unna øyne og hud.
Oppbevar aldri maskinen eller bensinkannen hvor det er åpen ild, gnist eller kontrollampe som på en varmtvannstank eller andre apparater.
Ikke fyll opp kanner inne i en maskin, på en lastebil eller på en tilhenger med plastfôring. Sett alltid kannene på bakken og i god avstand fra kjøretøyet før du fyller drivstoff.
Fjern utstyret fra lastebilen eller tilhengeren, og fyll på drivstoff mens det er på bakken. Hvis dette ikke lar seg gjøre, må du fylle drivstoff med en bærbar kanne heller enn direkte fra drivstoffpumpen.
Ikke bruk maskinen uten at hele eksossystemet er på plass og i fungerende tilstand.
Påfyllingstuten må være i kontakt med kanten på drivstofftanken eller kannens åpning hele tiden, helt til du er ferdig med å fylle. Ikke bruk utstyr for låsing av munnstykket i åpen stilling.
Hvis du søler drivstoff på klærne dine, bytt klær umiddelbart.
Ikke fyll for mye i drivstofftanken. Sett på igjen lokket på drivstofftanken og stram godt til.
Fjern gress og rusk fra klippeenhetene, lyddemperen, drivverket, gressoppsamleren og motorrommet for å unngå at det begynner å brenne. Tørk opp eventuelt olje- eller drivstoffsøl.
For best resultat bør du kun bruke ren, fersk (mindre enn 30 dager gammel) og blyfri bensin med oktankvalitet på 87 eller høyere (vurderingsmetode (R+M)/2).
Etanol: Bensin med opptil 10 % etanol (alkoholbensin) eller 15 % MTBE (metyltertiærbutyleter) i volum er akseptabelt. Etanol og MTBE er ikke det samme. Bensin med 15 % etanol (E15) i volum er ikke godkjent for bruk. Ikke bruk bensin som inneholder mer enn 10 % etanol i volum, som f.eks. E15 (inneholder 15 % etanol), E20 (inneholder 20 % etanol) eller E85 (inneholder opptil 85 % etanol). Bruk av bensin som ikke er godkjent kan forårsake problemer og/eller motorskade som kanskje ikke dekkes av garanti.
Ikke bruk metanolholdig bensin.
Ikke oppbevar drivstoff i drivstofftanken eller i drivstoffbeholdere over vinteren, med mindre du bruker drivstoffstabilisator.
Ikke bland olje i bensinen.
Bruk et stabiliserings-/kondisjoneringsmiddel i maskinen for å oppnå følgende fordeler:
Holder drivstoff ferskt lenger når brukt som angitt av produsenten av drivstoffstabilisatoren
Renser motoren mens den går
Forhindrer at det dannes gummiliknende avleiringer i drivstoffsystemet som forårsaker startvansker
Important: Ikke bruk tilsettingsmidler som inneholder metanol eller etanol i drivstoffet.
Bland riktig mengde drivstoffstabilisator/kondisjonsmiddel i drivstoffet.
Note: Stabiliserings-/kondisjoneringsmidler er mest effektive når de blandes med ferskt drivstoff. Bruk stabiliseringsmiddel i bensinen til enhver tid for å beskytte mot lakkavleiringer i drivstoffsystemet.
Parker maskinen på en jevn flate.
Sett på parkeringsbremsen.
Slå av motoren og ta ut nøkkelen.
Rengjør rundt drivstofflokket.
Fyll drivstoff på tanken til nivået når opp til bunnen av påfyllingshalsen (Figur 7).
Note: Tanken må ikke fylles helt opp. Dette tomrommet i tanken gir drivstoffet plass til å utvide seg.

Før du starter maskinen hver dag, må du utføre prosedyrene for hver bruk / daglige prosedyrer, som angitt i .
Nye motorer trenger tid til å utvikle full styrke. Klippeenheter og drivverk har høyere friksjon når de er nye, som fører til ekstra belastning på motoren. Beregn 40 til 50 timers innkjøringstid slik at nye maskiner kan utvikle full styrke og best mulig ytelse.
For å unngå skader eller dødsfall ved velting: Hold veltebøylen i fullt hevet og låst stilling, og bruk sikkerhetsbelte.
Kontroller at setet er godt festet på maskinen.
Det finnes ingen veltebøylebeskyttelse når veltebøylen er nede.
Senk veltebøylen kun når det er helt nødvendig.
Ikke bruk sikkerhetsbelte når veltebøylen er nede.
Kjør sakte og forsiktig.
Hev veltebøylen så fort klaringen tillater dette.
Kontroller nøye at du har klaring hvis du skal kjøre under objekter (for eksempel greiner, døråpninger, elektriske ledninger osv.), slik at du ikke kommer i kontakt med dem.
Hvis sikkerhetssperrebryterne blir frakoblet eller skadet, kan det hende at maskinen virker på en uventet måte som forårsaker personskader.
Ikke rør sperrebryterne.
Sjekk sperrebryterne daglig, og bytt ut ødelagte brytere før du bruker maskinen.
Sikkerhetssperresystemet er konstruert slik at det forhindrer motoren i å starte, med mindre det følgende forekommer:
Parkeringsbremsen er tilkoblet.
Knivkontrollbryteren (kraftoverføring) er utkoblet.
Bevegelseskontrollspakene står i NøYTRAL, LåST stilling.
Sikkerhetssperresystemet stanser også motoren når du flytter bevegelseskontrollspakene fra NøYTRAL-LåST-stillingen med parkeringsbremsen på, eller hvis du reiser deg fra setet mens kraftuttaket er aktivert.
Timetelleren har indikatorer som varsler brukeren når sperrekomponenten er i riktig stilling. En indikator vil vises på skjermen når komponenten er i riktig stilling.

| Vedlikeholdsintervall | Vedlikeholdsprosedyre |
|---|---|
| For hver bruk eller daglig |
|
Sikkerhetssperresystemet må testes hver gang maskinen skal brukes. Hvis systemet ikke fungerer slik som beskrevet nedenfor, må du be et autorisert forhandlerverksted om å reparere det omgående.
Sitt på setet, aktiver parkeringsbremsen og flytt knivkontrollbryteren (kraftuttak) til På-stillingen. Prøv å starte motoren – motoren skal ikke starte.
Sitt på setet, aktiver parkeringsbremsen og flytt knivkontrollbryteren (kraftuttak) til AV-stillingen. Flytt en av bevegelseskontrollspakene ut av NøYTRAL-LåST-stillingen. Prøv å starte motoren – motoren skal ikke starte. Gjenta for den andre kontrollspaken.
Sitt på setet, aktiver parkeringsbremsen, flytt knivkontrollbryteren (kraftuttak) til AV-stillingen, og lås bevegelseskontrollspakene i NøYTRAL-LåST-stillingen. Start motoren. Koble fra parkeringsbremsen, aktiver knivkontrollbryteren (kraftuttak) og reis deg litt opp fra setet mens motoren er i gang. Motoren skal stoppe.
Sitt på setet, aktiver parkeringsbremsen, flytt knivkontrollbryteren (kraftuttak) til AV-stillingen, og lås bevegelseskontrollspakene i NøYTRAL-LåST-stillingen. Start motoren. Flytt kontrollspakene til den midtre, frie stillingen og beveg én av dem (forover eller revers) mens motoren går. Motoren skal stoppe. Gjenta for den andre kontrollspaken.
Sitt på setet, deaktiver parkeringsbremsen, flytt knivkontrollbryteren (kraftuttak) til AV-stillingen, og lås bevegelseskontrollspakene i NøYTRAL-LåST-stillingen. Prøv å starte motoren – motoren skal ikke starte.
Setet kan beveges både forover og bakover. Juster setet til en stilling som er behagelig for deg, og som gir deg best mulig kontroll over maskinen (Figur 11).

MyRide™-opphengssystemet kan justeres slik at kjøreturen er jevn og komfortabel. Du kan justere de to bakre støtdemperenhetene for å endre opphengsystemet på en rask og enkel måte. Plasser opphengsystemet der du er mest komfortabel.
Sporene for de bakre støtdemperenhetene har stoppeposisjoner for referanse. Du kan plassere de bakre støtdemperenhetene hvor som helst i sporet, ikke bare i stoppeposisjonene. Illustrasjonen under viser posisjonen for myk eller hard kjøring og ulike stoppeposisjoner (Figur 12).

Note: Påse at venstre og høyre bakre støtdemperenhet alltid er justert til samme posisjoner.
Juster de bakre støtdemperenhetene (Figur 13).


Eieren/brukeren kan forhindre og er ansvarlig for ulykker som kan forårsake personskader eller materielle skader.
Vær alltid fokusert på oppgaven når du bruker maskinen. Ikke delta i aktiviteter som forårsaker distraksjoner, da dette kan føre til personskade eller materiell skade.
Ikke bruk maskinen når du er syk, trett eller påvirket av alkohol eller andre rusmidler.
Dersom kniven berøres, kan det føre til alvorlige personskader. Før du forlater førerplassen må du slå av motoren, ta ut nøkkelen og vente til alle bevegelige deler står stille. Når du dreier nøkkelen til AV-stillingen, skal motoren slås av og kniven stoppe. Hvis de ikke stopper som de skal, skal du umiddelbart slutte å bruke maskinen. Kontakt en autorisert serviceforhandler.
Maskinen skal kun brukes under forhold med god sikt og egnede værforhold. Ikke bruk maskinen hvis det er fare for lynnedslag.
Hold hendene og føttene borte fra klippeenhetene. Hold avstand fra utslippsåpningen.
Klipp aldri med utslippsavlederen hevet, fjernet eller endret med mindre et gressoppsamlingssystem eller kvernesett er montert og fungerer som det skal.
Bruk kun gressklipperen i revers hvis det er helt nødvendig. Se alltid bakover og ned du før du flytter maskinen i revers.
Vær spesielt forsiktig når du nærmer deg hjørner, busker, trær eller andre objekter som kan hindre sikten din.
Stopp knivene når du ikke klipper.
Hvis maskinen treffer en gjenstand eller begynner å vibrere, må du umiddelbart slå av motoren, ta ut nøkkelen (hvis maskinen leveres med nøkkel) og vente til alle deler i bevegelse har stoppet før du undersøker maskinen for skade. Foreta alle nødvendige reparasjoner før du gjenopptar bruk.
Kjør sakte, og vær forsiktig når du svinger og krysser veier og fortau med maskinen. Overhold alltid vikeplikten.
Gjør følgende før du forlater førersetet:
Parker maskinen på flat mark.
Koble ut kraftoverføringen, og senk utstyret.
Sett på parkeringsbremsen.
Slå av motoren og ta ut nøkkelen.
Vent til alle bevegelige deler har stanset.
Kjør motoren kun i godt ventilerte områder. Eksosen inneholder karbonmonoksid, som er dødelig ved innånding.
La aldri maskinen stå uten tilsyn når den er i gang.
Utstyr som skal taues, skal kun festes i koblingspunktet.
Ikke bruk maskinen med mindre alle vernedeksler og sikkerhetsanordninger, slik som avlederne og hele gressoppsamleren, sitter på plass og fungerer som de skal. Skift ut slitte eller forringede deler når det er nødvendig.
Bruk kun tilbehør og utstyr som er godkjent av Toro.
Denne maskinen har en lydstyrke på over 85 dBA ved operatørens øre og kan føre til hørselsskade hvis du utsettes for denne lydstyrken i lengre perioder.

Fjern gress og rusk fra klippeenhetene, drivverk, lyddemperne og motoren for å unngå at det begynner å brenne.
Start motoren med føttene i god avstand fra knivene.
Vær oppmerksom på gressklipperens utslippsbane og rett utslippet bort fra andre personer. Unngå å slippe ut materiale mot en vegg eller hindring, da materialet kan kastes tilbake mot deg.
Stopp knivene, reduser maskinhastigheten og vær forsiktig når du krysser andre overflater enn gress eller ved transport av maskinen til og fra driftsområdet.
Hastigheten til motorregulatoren må ikke endres, og motoren må ikke ruses.
Barn blir ofte nysgjerrige på maskinen og klippingen. Ikke anta at barn blir værende der du så dem sist.
Hold barn unna driftsområdet, og sørg for at en annen ansvarlig voksen holder oppsyn med dem.
Vær oppmerksom og slå av maskinen hvis barn går inn i driftsområdet.
Før du rygger eller svinger maskinen, må du se ned og rundt deg etter små barn.
Ikke ha med barn på maskinen, selv når knivene ikke beveger seg. Barn kan falle av og bli alvorlig skadet, eller de kan hindre deg i å betjene maskinen på en trygg måte. Barn som har fått lov til å sitte på tidligere, kan plutselig komme inn i området der du arbeider og bli overkjørt eller rygget over av maskinen.
Veltebøylebeskyttelsen er en integrert sikkerhetsenhet. Ikke fjern noen av veltebeskyttelseskomponentene fra maskinen.
Sørg for at sikkerhetsbeltet er festet og at du kan frigjøre det raskt i nødstilfeller.
Hold alltid veltebøylen i fullt hevet og låst stilling, og bruk alltid sikkerhetsbelte når veltebøylen er oppe.
Sjekk nøye for gjenstander over deg før du kjører under dem, og ikke rør dem.
Skadde veltebeskyttelseskomponenter skal skiftes ut. Ikke reparer eller gjør endringer på dem.
Advarsel – det finnes ingen veltebøylebeskyttelse når veltebøylen er senket.
Hvis hjulene kjører over kanter, opp bratte bakker eller i vann, kan det føre til velt, som igjen kan resultere i alvorlig skade eller dødsfall.
Ikke bruk sikkerhetsbelte når veltebøylen er nede.
Senk veltebøylen kun når det er helt nødvendig, og hev den så snart det er klaring til det.
I tilfelle et velt, ta maskinen til et autorisert forhandlerverksted for å sjekke veltebeskyttelsen.
Bruk bare Toro-godkjent tilbehør og vedlegg til ROPS.
Skråninger er en ledende årsak til tap av kontroll og velting. Dette kan føre til alvorlige skader eller dødsfall. Føreren har ansvar for sikker bruk i skråninger. Bruk av maskinen i skråninger krever ekstra forsiktighet. Før du bruker maskinen i en skråning, må du gjøre følgende:
Les og forstå instruksjonene for bruk i skråninger i denne brukerhåndboken og på maskinen.
Bruk en vinkelindikator til å fastslå den omtrentlige helningsvinkelen på området.
Kjøretøyet må ikke brukes i skråninger på mer enn 15 grader.
Vurder forholdene på stedet på dagen for å avgjøre om det er trygt å bruke maskinen i skråningen. Bruk alltid sunn fornuft og god dømmekraft når du utfører denne kontrollen. Endringer i terrenget, som for eksempel fuktighet, kan påvirke bruken av maskinen i skråninger.
Identifiser farer ved bunnen av skråningen. Maskinen må ikke brukes ved kanter grøfter, voller, vann eller andre farer. Maskinen kan velte hvis et hjul går over kanten eller hvis kanten gir etter. Hold en sikker avstand (to ganger maskinens bredde) mellom maskinen og eventuelle farer. Bruk en skyvegressklipper eller en håndtrimmer for å klippe gresset i disse områdene.
Ikke start, stopp eller sving maskinen i skråninger. Ikke foreta brå endringer i hastighet eller retning. Sving forsiktig og gradvis.
Ikke bruk en maskin i omstendigheter hvor trekkraften, styringen eller stabiliteten er i tvil. Vær oppmerksom på at bruk av maskinen på vått gress, på tvers av skråninger eller i nedoverbakker kan føre til at maskinen mister veigrepet. Hvis drivhjulene mister taket, kan det føre til at maskinen sklir og at bremse- og styringsevnen reduseres. Maskinen kan gli selv om drivhjulene er stanset.
Fjern eller marker hindringer som grøfter, hull, hjulspor, ujevnheter, steiner eller andre skjulte objekter. Gjenstander kan ligge skjult i høyt gress. Maskinen kan velte i ujevnt terreng.
Vær svært forsiktig når du bruker maskinen med tilbehør eller ekstrautstyr, som for eksempel gressoppsamlingssystemer. Disse kan endre maskinens stabilitet og føre til tap av kontroll. Følg anvisningene for motvekter.
Hvis det lar seg gjøre, hold klippeenheten senket til bakken mens du bruker maskinen i skråninger. Hvis du hever klippeenheten mens du kjører i skråninger, kan det føre til at maskinen blir ustabil.

Bruk klippeenheten som et trinn for å ta plass i førersetet (Figur 16).

Parkeringsbremsen må alltid settes på når du stopper eller forlater maskinen.
Parker maskinen på en jevn flate.


Knivkontrollbryteren (kraftuttak) starter og stanser gressklipperens kniver og eventuelt strømdrevet tilleggutstyr.
Note: Hvis du aktiverer knivkontrollbryteren (kraftuttak) med gassen i halv eller mindre stilling, vil det føre til overdreven slitasje på drivremmene.


Du kan flytte gasskontrollen mellom HURTIG- og LANGSOM-stillingene (Figur 21).
Bruk alltid HURTIG-stillingen når du aktiverer kraftuttaket.

Note: En varm motor trenger kanskje ikke choke.
Important: Ikke hold tenningsnøkkelen vridd rundt i mer enn 5 sekunder om gangen. Hvis du starter startmotoren i mer enn fem sekunder, kan det føre til skade på startmotoren. Hvis motoren ikke starter, må du vente i ti sekunder før du bruker motorstarteren igjen.

Barn og andre personer kan skades hvis de flytter på eller prøver å kjøre maskinen uten oppsyn.
Ta alltid ut tenningsnøkkelen og sett på parkeringsbremsen når du forlater maskinen.


Hjulene ruller uavhengig av hverandre, drevet av hydraulikkmotorer på hver aksel. Du kan sette én side i revers mens du kjører hjulene på den andre siden forover, noe som gjør at maskinen begynner å rotere i stedet for å snu. Dette gjør maskinen langt bedre å manøvrere, men det kan kreve litt tid å bli vant til hvordan den beveger seg.
Gasskontrollen regulerer omdreiningstallet (o/min – omdreininger per minutt). Sett gasskontrollen i HURTIG-stillingen for best ytelse. Arbeid alltid med maksimal gass.
Maskinen kan rotere svært hurtig. Du kan miste kontroll over maskinen og forårsake personskade eller skade på maskinen.
Vær forsiktig når du svinger.
Reduser hastigheten før du foretar skarpe svinger.
Note: Motoren stenges av dersom bevegelseskontrollspakene beveges når parkeringsbremsen er på.
Du kan stoppe maskinen ved å sette bevegelseskontrollspakene i FRI-stillingen.
Koble fra parkeringsbremsen. Se Koble fra parkeringsbremsen.
Flytt spakene til den midtre, frie stillingen.
Skyv bevegelsekontrollspakene forsiktig forover for å gå fremover (Figur 26).

Flytt spakene til den midtre, frie stillingen.
Skyv bevegelseskontrollspakene forsiktig bakover for å gå bakover (Figur 27).

Gressklipperen har en gressavleder med hengsler som sprer det klipte gresset ut fra siden og ned mot bakken.
Hvis ikke gressavlederen, utslippsdekselet eller hele gressoppsamleren sitter på plass, vil du selv eller andre risikere å komme i kontakt med kniven eller gjenstander som blir slengt opp i luften. Kontakt med gressklipperkniver som roterer og gjenstander som slynges opp i luften, kan føre til at noen blir alvorlig skadet eller drept.
Fjern aldri gressavlederen fra klippeenheten fordi gressavlederen leder materiale ned mot bakken. Hvis gressavlederen blir skadet, må den skiftes ut omgående.
Hold hender og føtter borte fra undersiden av gressklipperenheten.
Prøv aldri å rengjøre utslippsområdet eller gressklipperknivene uten at du flytter knivkontrollbryteren (kraftuttaket) til AV-stillingen, vrir tenningsnøkkelen til AV-stillingen og tar ut nøkkelen.
Påse at gressavlederen er i den nedre stillingen.
Du kan justere klippehøyden i trinn på 6 mm, fra 38 til 140 mm, ved å flytte splittpinnen til forskjellige hull.
Trykk på løftepedalen for klippeenheten fremover for å senke klippeenheten til TRANSPORT-stillingen (samme klippehøydestilling på 140 mm) som vist i Figur 29.
For å justere fjerner du bolten fra klippehøydebraketten (Figur 29).
Velg det hullet i klippehøydebraketten som svarer til ønsket klippehøyde, og sett inn pinnen (Figur 29).
Skyv løftepedalen for klippeenheten fremover, skyv transportlåsen fremover og senk klippeenheten sakte.

Når du endrer på klippehøyden, juster høyden på antiskalperingsvalsene.
Note: Juster antiskalperingsvalsene slik at valsene ikke berører bakken på normale, flate klippeområder.
Parker maskinen på en jevn overflate, koble fra knivkontrollbryteren, og sett på parkeringsbremsen.
Før du forlater førerplassen, må du slå av motoren, ta ut nøkkelen og vente til alle bevegelige deler står stille.
Juster antiskalperingsvalsene som vist i Figur 32.

For best plenklipping og maksimal luftsirkulasjon, kjører du motoren i HURTIGSTILLINGEN. Luft er nødvendig for at gresset skal klippes grundig. Klippehøyden må derfor ikke være så lav at klippeenheten er omgitt av uklippet gress. Forsøk alltid å holde den ene siden av klippeenheten unna uklippet gress. Luften kan da trekkes inn i klippeenheten.
Klipp gresset litt lengre enn vanlig for å sikre at klippeenheten ikke skalperer ujevne områder. Klippehøyden som ble brukt tidligere er som regel den beste å bruke. Hvis gresset som klippes er lengre enn 15 cm, kan det være lurt å klippe plenen to ganger for å få et bedre resultat.
Det er best å bare klippe en tredjedel av gressets lengde. Kortere klipping anbefales ikke, bortsett fra hvis gresset er glissent eller det er sent på høsten og gresset vokser saktere.
Dersom du veksler på klipperetningen, holder gresset seg oppreist. Dette bidrar også til å spre det klipte gresset, noe som gir bedre nedbryting og gjødsling.
Gress vokser med varierende hastighet til forskjellige tider på året. For å opprettholde samme klippehøyde, må du klippe gresset oftere tidlig på våren. Midt på sommeren begynner det å vokse saktere, derfor trenger du ikke å klippe det så ofte da. Hvis du er ute av stand til å klippe plenen i en lengre periode, klipper du først med en høy klippehøyde. Vent i 2 dager, og klipp deretter på nytt med en lavere høyde.
Hvis du ønsker forbedret klippekvalitet, kan du redusere bakkehastigheten.
Når du klipper ujevnt, hev klippehøyden for å unngå skalpering av gresset.
Hvis maskinens bevegelse forover må stoppes under klippingen, kan det falle en gressklump ned på plenen. Gå til et tidligere klippet område med knivene koblet inn eller koble ut klippeenheten mens du beveger deg framover for å unngå dette.
Fjern gressrester og skitt fra klippeenhetens underside etter hver bruk. Hvis det er et tykt belegg av gress og smuss under klippeenheten, vil klipperesultatet bli dårlig.
Sørg for å holde kniven skarp hele klippesesongen, fordi en skarp kniv klipper gresset uten å slite av eller frynse gresstråene. Gress som er blitt slitt av eller frynset, vil bli brunt i kantene, noe som vil sinke veksten og øke sykdomsfaren. Sjekk at knivene på klipperen er skarpe og ikke slitte eller ødelagte etter bruk. Fil ned eventuelle hakk og kvess knivene etter behov. Hvis en kniv er ødelagt eller slitt må du straks bytte den ut med en original Toro-kniv.
Slå av motoren, ta ut nøkkelen og vente til alle bevegelige deler står stille, før du forlater førerens plass. La maskinen kjøle seg ned før vedlikehold, justering, fylling av drivstoff, rengjøring eller lagring.
Fjern gress og rusk fra klippeenhetene, lyddemperen, drivverket, gressoppsamleren og motorrommet for å unngå at det begynner å brenne. Tørk opp eventuelt olje- eller drivstoffsøl.
Steng drivstofftilførselen og ta ut nøkkelen før oppbevaring eller transport av maskinen.
Lukk bensinkranen ved transport, vedlikehold og oppbevaring (Figur 33).
Pass på at drivstoffavstengingsventilen er åpen når du starter motoren.


Hendene kan komme inn i roterende drivkomponenter i nærheten av klippeenheten, og dette kan føre til alvorlig personskade.
Slå av motoren, ta ut nøkkelen og sørg for at alle bevegelige deler har stanset før du tar på drivhjulets løseventiler.
Motoren og de hydrauliske drivverkene kan bli veldig varme. Du kan få alvorlige brannskader av å ta på en varm motor eller de hydrauliske drivverkene.
La motoren og de hydrauliske drivverkene få anledning til å kjøle seg helt ned før du tar på drivhjulets løseventiler.
Drivhjulets løseventiler befinner seg til venstre og høyre under motorenheten.
Parker maskinen på en jevn overflate, koble fra knivkontrollbryteren, og sett på parkeringsbremsen.
Før du forlater førerplassen må du slå av motoren, ta ut nøkkelen og vente til alle bevegelige deler står stille.
For å skyve maskinen flytter du begge omløpsspakene fremover og låser dem på plass (Figur 34).
Koble ut parkeringsbremsen før du dytter maskinen.
For å kjøre maskinen flytter du begge omløpsspakene bakover og låser dem på plass (Figur 34).

Bruk en kraftig tilhenger eller lastebil for å transportere maskinen. Bruk en rampe med full bredde. Sikre at tilhengeren eller lastebilen har alle nødvendige bremser, lys og markeringer som kreves ved lov. Les alle sikkerhetsinstruksjonene nøye. Kunnskap om dette kan forhindre personskader. Se lokale bestemmelser for krav til tilhenger og festing.
Det å kjøre i trafikken uten blinklys, lys, reflekser eller merking for saktegående kjøretøy er farlig og kan føre til ulykker, som igjen forårsaker personskader.
Ikke bruk maskinen på offentlige veier.
Lasting av maskinen på en tilhenger eller lastebil øker muligheten for at den velter og kan føre til alvorlig skader eller dødsulykker (Figur 35).
Bruk en rampe med full bredde. Ikke bruk individuelle ramper for hver side av maskinen.
Ikke overgå en 15 graders vinkel mellom rampen og bakken eller mellom rampen og tilhengeren eller lastbilen.
Påse at rampen er minst fire ganger så lang som høyden til tilhengeren eller lasteplanet i forhold til bakken. Dette sikrer at rampevinkelen ikke overskrider 15 grader på flatt underlag.

Lasting av maskinen på en tilhenger eller lastebil øker muligheten for at den velter og kan føre til alvorlig skader eller dødsulykker.
Vær svært forsiktig når du kjører maskinen på en rampe.
Rygg maskinen opp rampen, og kjør den fremover ned rampen.
Unngå plutselig akselerasjon eller bremsing mens du kjører maskinen på en rampe da det kan føre til tap av kontroll eller en situasjon der maskinen velter.
Hvis du bruker en tilhenger, koble den til tauekjøretøyet og sett på sikkerhetskjettingene.
Koble til tilhengerbremsene og lysene, hvis aktuelt.
Senk rampen og sørg for at vinkelen mellom rampen og bakken ikke overskrider 15 grader (Figur 35).
Rygg maskinen opp på rampen (Figur 36).

Stopp motoren, ta ut nøkkelen og sett på parkeringsbremsen.
Fest maskinen nær de fremre styrehjulene og den bakre rammen med stropper, kjettinger, kabler eller tau (Figur 37). Se lokale bestemmelser for krav om festing.

Dersom du lar tenningsnøkkelen stå i bryteren, kan noen starte motoren uten at det er tilsiktet, noe som kan påføre deg eller personer i nærheten alvorlige skader. Fjern tenningsnøkkelen før du begynner med eventuelt vedlikeholdsarbeid.
Før du forlater førerplassen, gjør følgende:
Parker maskinen på en jevn flate.
Koble fra drivverket.
Sett på parkeringsbremsen.
Slå av motoren og ta ut nøkkelen.
La maskinen kjøle seg ned før du utfører vedlikehold.
Ikke la personer uten opplæring vedlikeholde eller reparere maskinen.
Hold hender og føtter unna bevegelige deler eller varme overflater. Du må aldri foreta justeringer mens motoren går hvis du kan unngå det.
Vær forsiktig når du slipper ut trykket i komponenter med lagret energi.
Kontroller regelmessig at parkeringsbremsen virker. Juster og vedlikehold den etter behov.
Ikke tukle med sikkerhetsenhetene. Kontroller regelmessig at de virker tilfredsstillende.
Fjern gress og rusk fra klippeenheten, lyddemperen, drivverket, gressoppsamleren og motorrommet for å unngå at det begynner å brenne.
Tørk opp olje- eller drivstoffsøl, og fjern rusk som er tilsølt av drivstoff.
Ikke stol på at hydrauliske eller manuelle jekker vil støtte maskinen. Støtt opp maskinen med jekkstøtter når du arbeider under den.
Hold alle delene i god stand, og sørg for at monteringstilbehøret er godt festet, spesielt monteringstilbehøret som fester knivene. Skift ut slitte eller skadde merker.
Koble fra batteriet før du reparerer maskinen. Koble kabelen fra den negative polen først, og deretter den andre kabelen fra den positive polen. Koble til den positive polen først og den negative polen sist.
Bruk utelukkende originale reservedeler og tilbehør fra Toro for å få best mulig ytelse. Reservedeler og tilbehør som er laget av andre produsenter kan være farlige, og de kan derfor føre til at garantien blir ugyldig.
| Vedlikeholdsintervall | Vedlikeholdsprosedyre |
|---|---|
| Etter de 100 første timene |
|
| For hver bruk eller daglig |
|
| Etter hver bruk |
|
| Hver 50. driftstime |
|
| Hver 100. driftstime |
|
| Hver 200. driftstime |
|
| Hver 250. driftstime |
|
| Hver 400. driftstime |
|
| Hver 400. time eller årlig, avhengig av hva som kommer først |
|
| Hver 500. driftstime |
|
| én gang månedlig |
|
| Årlig |
|
| Årlig eller før lagring |
|
Important: Se i brukerhåndboken for flere vedlikeholdsprosedyrer.
Dersom du lar tenningsnøkkelen stå i bryteren, kan noen starte motoren uten at det er tilsiktet, noe som kan påføre deg eller personer i nærheten alvorlige skader.
Slå av motoren og ta ut nøkkelen av bryteren før du utfører vedlikehold.
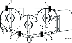
Løsne hårnålssplinten for å frigjøre klippeenhetsforhenget og få tilgang til toppen av klippeenheten. Etter vedlikehold monterer du forhenget med den tidligere fjernede hårnålssplinten.
Løsne de to fremre boltene og fjern skyddet i platemetall for å få tilgang til klipperremmene og spindlene (Figur 38). Etter vedlikehold, sett på skyddet i platemetall og stram til boltene.

Smør maskinen oftere under skitne og støvete forhold.
Smørefettype:Nr. 2 litium- eller molybdenumbasert smørefett
Parker maskinen på en jevn overflate, koble fra knivkontrollbryteren, og sett på parkeringsbremsen.
Før du forlater førerplassen må du slå av motoren, ta ut nøkkelen og vente til alle bevegelige deler står stille.
Tørk av smøreniplene med en fille.
Note: Skrap eventuell maling av forsiden av festeanordningene.
Sett en fettsprøyte på anordningen.
Påfør smørefett i smøreniplene til det tyter ut av lagrene.
Tørk opp overflødig fett.
| Vedlikeholdsintervall | Vedlikeholdsprosedyre |
|---|---|
| Hver 100. driftstime |
|
Bruk lettolje eller et smøremiddel i sprayform til å smøre klippeenhetens løftetapper.

| Vedlikeholdsintervall | Vedlikeholdsprosedyre |
|---|---|
| Hver 400. driftstime |
|
| Årlig |
|
Parker maskinen på en jevn overflate, koble fra knivkontrollbryteren, og sett på parkeringsbremsen.
Før du forlater førerplassen må du slå av motoren, ta ut nøkkelen og vente til alle bevegelige deler står stille.
Fjern støvkoppen og juster styrehjulet, og la støvkoppen være av til smøringen er utført. Se Smøre maskinen.
Fjern kontrollpluggen.
Skru en smørenippel inn i hullet.
Pump fett inn i smørenippelen til det flyter ut rundt topplageret.
Fjern smørenippelen fra hullet. Monter sekskantpluggen og lokket.
| Vedlikeholdsintervall | Vedlikeholdsprosedyre |
|---|---|
| Årlig |
|
Parker maskinen på en jevn overflate, koble fra knivkontrollbryteren, og sett på parkeringsbremsen.
Før du forlater førerplassen må du slå av motoren, ta ut nøkkelen og vente til alle bevegelige deler står stille.
Hev gressklipperen for tilgang.
Fjern styrehjulet fra styrehjulsgaflene.
Fjern beskyttelsespakningene fra hjulnavet.

Fjern en avstandsmutter fra akselenheten i styrehjulet.
Note: Det er brukt gjengeforseglermiddel for å låse avstandsmutrene til akselen.
Fjern akselen (med den andre avstandsmutteren fortsatt montert på den) fra hjulenheten.
Lirk ut pakninger og se etter slitasje eller skade på lagrene, og bytt ut ved behov.
Fyll lagrene med et universalsmøremiddel.
Sett ett lager og én ny pakning inn i hjulet.
Hvis akselenheten mangler begge avstandsmutterene, må du bruke gjengeforseglingsmiddel på én avstandsmutter og gjenge den på akselen med anleggene for skrunøkkelen vendende utover.
Note: Ikke skru avstandsmutteren helt inn på enden av akselen. La det være igjen ca. 3 mm fra avstandsmutterens ytre overflate til enden av akselen inne i mutteren.
Sett den sammenmonterte mutteren og akselen inn på hjulet på den siden hvor den nye pakningen og lageret står.
Fyll området inne i hjulet rundt akselen fullt med universalsmørefett mens den åpne enden på hjulet vender opp.
Sett det andre lageret og en ny pakning på hjulet.
Bruk gjengeforseglingsmiddel på den andre avstandsmutteren, og gjeng den inn på akselen med anleggene for skrunøkkelen vendt utover.
Trekk til mutteren med et moment på 8–9 Nm, løsne mutteren og trekk den til igjen med et moment på 2–3 Nm.
Note: Pass på at akselen ikke stikker ut lengre enn noen av mutrene.
Sett på igjen beskyttelsespakningene over hjulnavet, og sett hjulet inn på styrehjulsgaffelen.
Sett på igjen styrehjulsbolten og stram til mutteren helt.
Important: Kontroller lagerjusteringen ofte for å forhindre skade på pakning og lager. Snurr styrehjulet rundt. Hjulet skal ikke snurre fritt (mer enn 1 eller 2 omdreininger) eller vise tegn til sideslark. Hvis hjulet snurrer helt fritt, må du justere momentet på avstandsmutteren til det blir litt motstand. Påfør ytterligere et lag med gjengeforseglermiddel.
Hold hender, føtter, ansiktet, klær og andre kroppsdeler borte fra lyddemperen og andre varme overflater. La maskinkomponentene kjøle seg ned før du utfører vedlikehold.
Hastigheten til motorregulatoren må ikke endres, og motoren må ikke ruses.
| Vedlikeholdsintervall | Vedlikeholdsprosedyre |
|---|---|
| Hver 250. driftstime |
|
| Hver 500. driftstime |
|
Note: Overhal luftrenseren oftere når driftsforholdene er svært støvete eller sandete.
Parker maskinen på en jevn overflate, koble fra knivkontrollbryteren (kraftuttak), og sett på parkeringsbremsen.
Før du forlater førerplassen må du slå av motoren, ta ut nøkkelen og vente til alle bevegelige deler står stille.
Åpne låsene på luftrenserdekslet og trekk luftrenserdekslet av luftrenserkroppen (Figur 41).

Rengjør innsiden av luftrenserdekslet med trykkluft.
Skyv hovedfilteret forsiktig ut av luftrenserkroppen (Figur 41).
Note: Pass på at filteret ikke slår bort i luftrenserkroppen.
Ikke fjern sikkerhetsfilteret med mindre du skal skifte det ut.
Kontroller sikkerhetsfilteret. Hvis det er skittent, bytt ut både sikkerhets- og hovedfiltrene.
Important: Ikke prøv å rengjøre sikkerhetsfilteret. Hvis sikkerhetsfilteret er skittent, er hovedfilteret skadet.
Kontroller hovedfilteret for skader ved å se inn i filteret mens du lyser med en lykt på utsiden av filteret. Hvis hovedluftfilteret er skittent, bøyd eller skadet, bytt det ut.
Note: Hull i filteret vises som lyse flekker. Ikke rengjør hovedfilteret.
Important: For å unngå at motoren skades må alltid begge luftfiltrene og dekselet sitte på plass under bruk.
Hvis du installerer nye filtre, må du kontrollere at de ikke har blitt skadet under frakten.
Note: Ikke bruk et ødelagt filter.
Hvis du bytter ut sikkerhetsfilteret, skyv det forsiktig inn i filterenheten (Figur 41).
Skyv hovedfilteret forsiktig inn over sikkerhetsfilteret (Figur 41).
Note: Forsikre at hovedfilteret er satt korrekt på plass, ved å skyve på ytterkanten mens det settes inn.
Important: Ikke trykk på det elastiske midtpunktet til filteret.
Sett luftrenserdekslet på igjen, og fest låsene (Figur 41).
| Vedlikeholdsintervall | Vedlikeholdsprosedyre |
|---|---|
| For hver bruk eller daglig |
|
| Hver 100. driftstime |
|
| Hver 200. driftstime |
|
Oljetype: Renseolje (API-klassifikasjon SF, SG, SH, SJ eller SL)
Veivhuset har en kapasitet på:
Kawasaki FX691-motorer – 2,0 l med filterbytte, 1,8 l uten filterbytte
Kawasaki FX801-motorer – 2,3 l med filterbytte, 2,1 l uten filterbytte
Viskositet: Se tabellen nedenfor.

Note: Selv om 10W-40-motorolje er anbefalt for de fleste forhold, må du kanskje endre oljeviskositeten for å tilpasse til de atmosfæriske forholdene. Bruk av 20W-50-motorolje ved høyere omgivelsestemperaturer kan redusere oljeforbruket.
Note: Sjekk oljen når motoren er kald.
Important: Hvis du fyller på for mye eller for lite olje i veivhuset og kjører motoren, kan dette føre til skade på motoren.
Parker maskinen på en jevn overflate, koble fra knivkontrollbryteren (kraftuttak), og sett på parkeringsbremsen.
Før du forlater førerplassen må du slå av motoren, ta ut nøkkelen og vente til alle bevegelige deler står stille.
Note: Påse at motoren er slått av, står på flat mark og er avkjølt, slik at oljen har hatt tid til å renne ned i bunnpannen.
For å holde smuss, gress osv. ute av motoren, rengjør området rundt oljelokket og peilestaven før den fjernes (Figur 43).


Note: Den gamle oljen må kasseres eller gjenvinnes i henhold til lokale forskrifter.
Start motoren, og la den gå i fem minutter.
Note: Oljen vil da varmes opp slik at den flyter lettere.
Parker maskinen slik at siden der du tapper, står litt lavere enn motsatt side for å være sikker på at all oljen tømmes ut.
Koble fra knivkontrollbryteren (kraftuttaket), og aktiver parkeringsbremsen.
Før du forlater førerplassen må du stanse motoren, ta ut nøkkelen og vente til alle bevegelige deler står stille.
Tapp oljen fra motoren (Figur 44).


Slå langsomt cirka 80 % av den spesifiserte oljen ned i påfyllingsrøret, og tilfør sakte resten av oljen til den når Full-merket (Figur 45).

Start motoren og kjør til et flatt område.
Kontroller oljenivået på nytt.
Tapp olje fra motoren. Se Skifte motorolje.
Skift motoroljefilteret (Figur 46).


Note: Pass på at oljefilterpakningen er i kontakt med motoren, og drei deretter filteret en ekstra ¾ omdreining.
Fyll på ny olje av riktig sort i veivhuset. Se Motoroljespesifikasjoner.
| Vedlikeholdsintervall | Vedlikeholdsprosedyre |
|---|---|
| Hver 100. driftstime |
|
Påse at elektrodeavstanden (avstanden mellom elektroden på midten og elektroden på siden) er korrekt før pluggen settes inn. Tennpluggen monteres/demonteres ved hjelp av en tennpluggnøkkel, og elektrodeavstanden justeres ved hjelp av et spesialverktøy eller følerblad. Monter en ny tennplugg dersom det er nødvendig.
Type tennplugg:
Kawasaki FX691- og FX801-motorer – NGK® BPR4ES eller tilsvarende
Elektrodeavstand: 0,75 mm
Parker maskinen på en jevn overflate, koble fra knivkontrollbryteren (kraftuttak), og sett på parkeringsbremsen.
Før du forlater førerplassen må du slå av motoren, ta ut nøkkelen og vente til alle bevegelige deler står stille.
Rengjør området rundt bunnen av tennpluggen for å holde skitt og rusk ute av motoren.
Finn og fjern tennpluggen(e) som vist i Figur 47.


Important: Ikke rens tennpluggen(e). Kontroller alltid tennpluggen når den har et svart belegg, slitte elektroder, et oljebelegg eller sprekker.
Hvis du ser en lysebrun eller grå farge på isolatoren, fungerer motoren som den skal. Et svart belegg på isolatoren betyr som regel at luftfilteret er skittent.
Still avstanden til 0,76 mm.


Under visse forhold er drivstoff er meget brannfarlig og svært eksplosivt. Brann eller eksplosjon forårsaket av drivstoff kan påføre deg og andre brannskader samt ødelegge eiendom.
Se Drivstoffsikkerhet for en fullstendig liste over drivstofftilknyttet forholdsregler.
| Vedlikeholdsintervall | Vedlikeholdsprosedyre |
|---|---|
| Hver 500. driftstime |
|
Important: Monter drivstoffslangene på nytt og sikre med samme type plastikksnorer som de som opprinnelig fulgte med fra fabrikken, for å holde drivstoffslangene unna komponenter som kan forårsake skade.
Et skittent filter som er tatt av drivstoffslangen, må aldri monteres på nytt.
Bensinfilteret er plassert i nærheten av motoren til venstre foran på motoren.
Parker maskinen på en jevn overflate, koble fra knivkontrollbryteren (kraftuttak), og sett på parkeringsbremsen.
Før du forlater førerplassen må du slå av motoren, ta ut nøkkelen og vente til alle bevegelige deler står stille.
La motoren kjøle seg ned.
Bytt ut drivstoffilteret (Figur 50).
Note: Sørg for at pilen for gjennomstrømningsretning på utskiftingsfilteret peker mot motoren.

Forsøk aldri å tappe drivstofftanken. Påse at en autorisert forhandler tapper drivstofftanken og overhaler eventuelle komponenter for drivstoffsystemet.
Koble fra batteriet før du reparerer maskinen. Koble kabelen fra den negative polen først, og deretter den andre kabelen fra den positive polen. Koble til den positive polen først og den negative polen sist.
Lad opp batteriet på et åpent sted med god ventilasjon og borte fra gnister eller åpen ild. Koble laderen fra strømuttaket før du kobler den til eller fra batteriet. Ha på deg beskyttelsesklær og bruk verktøy som er isolert.
| Vedlikeholdsintervall | Vedlikeholdsprosedyre |
|---|---|
| én gang månedlig |
|
Batteripolene eller metallverktøy kan kortslutte mot metallkomponenter og forårsake gnister. Gnistene kan føre til at batterigassene eksploderer, noe som kan forårsake personskade.
Når du fjerner eller monterer batteriet, må du passe på at batteripolene ikke berører metalldeler på maskinen.
La ikke metallverktøy kortslutte mellom batteripolene og metalldeler på maskinen.
Feilaktig frakobling av batterikabler kan skade maskinen og kablene samt forårsake gnister. Gnistene kan føre til at batterigassene eksploderer, noe som kan forårsake personskade.
Koble alltid fra den negative (svarte) batterikabelen før du kobler fra den positive (røde) kabelen.
Koble alltid til den positive (røde) batterikabelen før du setter på den negative (svarte) kabelen.
Parker maskinen på en jevn overflate, koble fra knivkontrollbryteren (kraftuttak), og sett på parkeringsbremsen.
Før du forlater førerplassen må du slå av motoren, ta ut nøkkelen og vente til alle bevegelige deler står stille.
Fjern batteriet, som vist i Figur 51.


Når batteriet lades, utvikles det gasser som kan eksplodere.
Røyk aldri i nærheten av batteriet og hold gnister og åpen ild borte fra batteriet.
Important: Batteriet skal alltid være fulladet (1265 egenvekt). Dette er spesielt viktig for å forhindre at batteriet blir ødelagt når temperaturen er under 0 °C.
Fjern batteriet fra chassiset, se Fjerne batteriet.
Lad opp batteriet i 10 til 15 minutter ved 25 til 30 A, eller i 30 minutter ved 10 A.
Note: Batteriet må ikke overopplades.
Når batteriet er helt oppladet, kobler du laderen fra strømuttaket, og deretter laderledningene fra batteripolene (Figur 52).
Monter batteriet i maskinen og koble til batterikablene, se Installere batteriet.
Note: Kjør ikke maskinen med batteriet frakoblet, da dette kan føre til elektrisk skade.

Plasser batteriet med polene vendt bort fra den hydrauliske tanken (Figur 51).
Monter den positive (røde) kabelen til den positive (+) batteriklemmen.
Monter den negative (svarte) batterikabelen til den negative (–) batteriklemmen.
Note: For MyRide-maskiner må du påse at jordkabelen ikke gnis mot slepearmen eller nedre støtdemperfeste (Figur 54).

Sikre kablene med to bolter, to skiver og to låsemuttere (Figur 51).
Skyv den røde polhetten over den positive (+) batteriklemmen.
Fest batteriet med gummistroppen (Figur 51).
Det elektriske systemet er beskyttet av sikringer. Dette er vedlikeholdsfritt. Hvis en sikring går, kontrollerer du om det er kortslutning i en av komponentene eller ledningene.
Sikringene befinner seg i den høyre konsollen ved siden av setet (Figur 54).
For å bytte sikringer, trekk sikringen ut for å fjerne den.
Sett inn en ny sikring (Figur 54).

| Vedlikeholdsintervall | Vedlikeholdsprosedyre |
|---|---|
| For hver bruk eller daglig |
|
Inspiser sikkerhetsbeltet og se etter slitasje, hakk og at selvopprulleren og spennen fungerer som de skal. Skift ut sikkerhetsbeltet hvis det er skadet.
Koble fra knivkontrollbryteren (kraftuttak).
Kjør ut på et åpent, flatt område og sett bevegelseskontrollspakene i NøYTRAL låsestilling.
Flytt gassen slik at den står midt mellom stillingene HURTIG og LANGSOM.
Flytt begge bevegelseskontrollspakene fremover til de begge stopper i T-sporet.
Kontroller hvilken vei maskinen trekker.
Hvis maskinen sporer til høyre, setter du inn en 3/16 tommes sekskantet skrunøkkel gjennom tilgangshullet i det venstre, fremre dekselpanelet og roterer sporeskruen med eller mot klokken for å justere spaken (Figur 55).
Hvis maskinen sporer til venstre, setter du inn en 3/16 tommes sekskantet skrunøkkel gjennom tilgangshullet i det høyre, fremre dekselpanelet og roterer sporeskruen med eller mot klokken for å justere spaken (Figur 55).
Kjør maskinen, og kontroller sporingen i full hastighet.
Gjenta justeringene inntil ønsket sporing oppnås.

| Vedlikeholdsintervall | Vedlikeholdsprosedyre |
|---|---|
| Hver 50. driftstime |
|
Oppretthold korrekt lufttrykk i styre- og bakhjulene ved 0,9 bar. Forskjellig trykk i hjulene kan føre til ujevn klipping. Sjekk dekkene når de er kalde, for å få en mest mulig nøyaktig avlesning av trykket.

Kontroller og stram hjulhakemutterne til 122–136 Nm.
| Vedlikeholdsintervall | Vedlikeholdsprosedyre |
|---|---|
| Etter de 100 første timene |
|
| Hver 500. driftstime |
|
Note: Kontroller at parkeringsbremsen er riktig justert. Denne prosedyren må følges etter de første 100 timene eller når en bremsekomponent har blitt fjernet eller skiftet ut.
Parker maskinen på en jevn flate.
Koble fra knivkontrollbryteren (kraftuttaket), flytt bevegelseskontrollspakene til NøYTRAL, LåST stilling, og aktiver parkeringsbremsen.
Før du forlater førerplassen, må du slå av maskinen, ta ut nøkkelen og vente til alle bevegelige deler står stille.
Sett opp maskinen for å skyves for hånd. Se Bruke drivhjulets løseventiler.
Hev maskinens bakende og støtt opp med jekkstøtter.
Støtting av en hevet maskinen ved bare å bruke mekaniske eller hydrauliske jekker ved service eller vedlikehold, kan være farlig da jekkene kanskje ikke gir nok støtte eller kan svikte, og dermed føre til at maskinen faller og resultere i alvorlig personskade.
Stol ikke bare på mekaniske og hydrauliske jekker for støtte. Bruk tilstrekkelige jekkstøtter eller liknende støtter.
Koble til og koble fra parkeringsbremsen, og kontroller hvert drivhjul for å sikre at hver bremse aktiveres og deaktiveres.
Hvis justering er nødvendig, kobler du fra parkeringsbremsen. Se etter slitasje på alle komponentene i parkeringsbremskoblingen. Bytt ut slitte komponenter (Figur 57) og gjenta trinn 6.

Kontroller begge fjærlengdene som vist i Figur 58. Hvis justering er nødvendig, vrir du fjærsikringsmutteren med klokken for å gjøre fjæren kortere og mot klokken for å gjøre den lengre. Gjenta trinn 6.

Når justeringen er ferdig, fjerner du jekkstøtter eller lignende type støtte og senker maskinen.
Plasser maskinen i DRIFTS-stilling. Se Bruke drivhjulets løseventiler.
| Vedlikeholdsintervall | Vedlikeholdsprosedyre |
|---|---|
| Hver 50. driftstime |
|
Skift ut remmen hvis den er slitt. Tegn på en slitt rem omfatter kvining mens remmen roterer, knivene sklir ved klipping av gress og slitte kanter, brente merker og sprekker på/i remmen.
Parker maskinen på en jevn overflate, koble fra knivkontrollbryteren (kraftuttak), og sett på parkeringsbremsen.
Før du forlater førerplassen må du slå av motoren, ta ut nøkkelen og vente til alle bevegelige deler står stille.
Senk gressklipperen til en klippehøyde på 76 mm.
Løsne bolten på hvert av remdekslene.
Slipp løs klippeenhetsforhenget ved å fjerne hårnålssplinten. Se Frigjøre klippeenhetsforhenget.
Fjern skyddet i platemetall. Se Fjerne skydd i platemetall.
Fjern remdekslene (Figur 59).

Bruk en â…œ-tommes skralle i det firkantede hullet i lederullarmen for å redusere spenningen på blindfjæren (Figur 60).
Fjern remmen fra remskivene på klippeenheten og clutchremskiven.
Fjern remføreren på den fjærbelastede lederullarmen (Figur 60).
Fjern den eksisterende remmen.
Monter den nye remmen rundt knivremskivene og clutchremskiven under motoren (Figur 60).

Monter remføreren på lederullarmen (Figur 60).
Bruk â…œ-tommes skrallen i det firkantede hullet for å montere blindfjæren (Figur 60).
Note: Pass på at fjærendene er anbrakt i forankringssporene.
Monter remdekslene (Figur 61).

Parker maskinen på en jevn overflate, koble fra knivkontrollbryteren (kraftuttak), og sett på parkeringsbremsen.
Før du forlater førerplassen må du slå av motoren, ta ut nøkkelen og vente til alle bevegelige deler står stille.
Fjern klipperremmen. Se Skifte klipperremmen.
Løft opp maskinen og støtt den med jekkstøtter.
Bruk en ½-tommes skralle eller brytestang i et av de firkantede hullene på lederullarmen for å fjerne spenningen på lederullfjæren (Figur 62).
Fjern det eksisterende beltet fra lederullen, de to hydrauliske pumpedrivremskivene og motorremskiven (Figur 62).
Monter den nye remmen rundt lederullen, motorremskiven og de to hydraulikkpumperullene (Figur 62).
Monter lederullfjæren ved å bruke en ½-tommes skralle eller brytestang i et av de firkantede hullene-
Note: Pass på at fjærendene er anbrakt i forankringssporene.
Monter klipperremmen. Se Skifte klipperremmen.

Dersom endene på spakene slår mot hverandre, se Justere bevegelseskontrolleddene.
Du kan justere bevegelseskontrollspakene høyere eller lavere for maksimal komfort.
Parker maskinen på en jevn overflate, koble fra knivkontrollbryteren (kraftuttak), og sett på parkeringsbremsen.
Før du forlater førerplassen må du slå av motoren, ta ut nøkkelen og vente til alle bevegelige deler står stille.
Fjern delene som fester kontrollspaken til kontrollarmstaget.

Flytt kontrollspaken til neste hullpar. Fest spaken med delene.
Gjenta justeringen på den motsatte kontrollspaken.
Parker maskinen på en jevn overflate, koble fra knivkontrollbryteren (kraftuttak), og sett på parkeringsbremsen.
Før du forlater førerplassen må du slå av motoren, ta ut nøkkelen og vente til alle bevegelige deler står stille.
Løsne den øvre bolten som fester kontrollspaken til kontrollarmstaget.
Løsne den nedre bolten akkurat nok til å dreie kontrollspaken frem- eller bakover. Stram til begge boltene for å sikre kontrollen i den nye posisjonen.
Gjenta justeringen på den motsatte kontrollspaken.

Pumpekontrolleddene befinner seg på begge sidene av maskinen, under setet. Du kan finjustere ved å dreie på endemutteren med en ½-tommes pipenøkkel, slik at maskinen ikke beveger seg i når den er i nøytral. Det skal kun gjøres justeringer for nøytralstillingen.
Motoren må gå og drivhjulene rotere for at du skal kunne foreta justeringer. Kontakt med bevegelige deler eller varme overflater kan føre til personskade.
Hold fingre, hender og bekledning unna roterende komponenter og varme overflater.
Parker maskinen på en jevn overflate, koble fra knivkontrollbryteren (kraftuttak), og sett på parkeringsbremsen.
Før du forlater førerplassen må du slå av motoren, ta ut nøkkelen og vente til alle bevegelige deler står stille.
Tråkk løftepedalen for klippeenheten, ta ut klippehøydepinnen og senk klippeenheten ned på bakken
Hev bakre del av maskinen, og støtt med jekkstøtter (eller tilsvarende støtte) akkurat høyt nok til at drivhjulene kan rotere fritt.
Ta vekk den elektriske koblingen fra setesikkerhetsbryteren som er plassert under seteputen.
Note: Bryteren er en del av seteenheten.
Installer midlertidig en kaldstartsledning over terminalene i hovedledningsnettkonnektoren.
Start motoren, kjør den på full gass, og koble fra parkeringsbremsen.
Note: Påse at parkeringsbremsen er aktivert og at bevegelseskontrollspakene er ute før du starter motoren. Du trenger ikke å være i setet.
Kjør maskinen i minst fem minutter med drivspakene satt til full fart forover å få hydraulikktemperaturen opp til driftstemperatur.
Note: Bevegelseskontrollspakene må være i nøytral stilling mens du utfører justeringene.
Sett bevegelseskontrollspakene i NøYTRAL stilling.
Kontroller og sikre at kontrollplatetappene berører returner til fri-platene på den hydrauliske enheten.
Juster lengdene på pumpekontrollstangene ved å dreie mutteren i passende retning til hjulene kryper litt i revers (Figur 65 og Figur 66).


Flytt bevegelseskontrollspakene til REVERS-stillingen og bruk litt lett trykk på spaken mens du lar reversindikatorfjærene føre spakene tilbake til nøytral stilling.
Note: Hjulene skal slutte å bevege seg eller krype noe i revers.
Note: Du må kanskje fjerne bevegelseskontrolldekslet for å få tilgang.
Slå av maskinen.
Fjern kaldstartsledningen fra ledningsnettkonnektoren og koble konnektoren inn i setebryteren.
Ta bort jekkstøttene.
Hev klippeenheten og sett inn igjen klippehøydepinnen.
Kontroller at maskinen ikke beveger seg i fri når parkeringsbremsen er deaktivert.
Oppsøk legehjelp øyeblikkelig hvis olje kommer i direkte kontakt med huden. Innsprøytet væske må fjernes kirurgisk innen få timer av en lege.
Kontroller at alle hydraulikkslanger og ledninger er i god stand, og at alle hydrauliske koblinger og beslag er tette, før det hydrauliske systemet settes under trykk.
Hold kropp og hender borte fra hull eller dyser som sprøyter ut hydraulisk olje under høyt trykk.
Bruk kartong eller papir til å finne lekkasjer.
Før du utfører vedlikehold eller reparasjoner på det hydrauliske systemet, må du forsiktig slippe ut alt trykket.
Hydraulikkvæsketype: Toro® HYPR-OIL™ 500-hydraulikkvæske
Important: Bruk spesifisert olje. Andre oljer kan skade det hydrauliske systemet.
Hydraulikksystemets kapasitet (med filter fjernet): 7,57 l
| Vedlikeholdsintervall | Vedlikeholdsprosedyre |
|---|---|
| For hver bruk eller daglig |
|
La hydraulikkvæsken kjøle seg ned. Kontroller oljenivået når væsken er kald.
Sjekk ekspansjonstanken, og tilsett om nødvendig Toro® HYPR-OIL™ 500-hydraulikkvæske til FULL COLD-linjen (Figur 67).

| Vedlikeholdsintervall | Vedlikeholdsprosedyre |
|---|---|
| Etter de 100 første timene |
|
Filtrene må fjernes for å bytte hydraulikkvæske. Bytt begge samtidig. Se Spesifisering av hydraulikkvæske for væskespesifikasjoner.
Tøm eventuell luft i systemet etter at du har montert de nye filtrene, og tilsett væske. Se Tømme det hydrauliske systemet. Gjenta tappeprosedyren til væsken forblir på FULL COLD-linjen i tanken etter tapping.
Important: Hvis man ikke utfører denne prosedyren korrekt, kan det føre til uopprettelig skade på transakseldrivsystemet.
Parker maskinen på en jevn overflate, koble fra knivkontrollbryteren (kraftuttak), og sett på parkeringsbremsen.
Før du forlater førerplassen må du slå av motoren, ta ut nøkkelen og vente til alle bevegelige deler står stille.
La motoren kjøle seg ned.
Bruk en forlengelse og 7/16-tommes stikkontakt for å få tilgang til utluftingspluggen fra toppen av maskinen gjennom hullene i nærheten av veltebøylefestene (Figur 68).
Note: Sørg for at du tar vare på utluftingspluggen etter at du har fjernet den, den er lett å miste.

Rengjør området rundt filteret forsiktig.
Important: Ikke la smuss komme inn i hydraulikksystemet, ettersom det kan bli kontaminert.
Plasser et tappefat under filteret for å fange væsken som tappes ut når filteret og utluftingspluggene blir fjernet.
Fjern filterdekslet for hydraulikkvæsken fra transakselen for å tømme væsken (Figur 69).

Fjern O-ringen fra filterdekslet og kast O-ringen.
Når hydrauliske væsken dreneres fra transakselen, fjerner du filteret fra transakselhuset.
Gjenta denne prosedyren på den andre siden av maskinen.
Monter et nytt filter i transakselen og en ny O-ring på filterdekslet.
Montere filterdekslet.
Stram filterdekslet med et moment på 22,6 til 33,8 Nm.
Fjern lokket fra utvidelsestanken og fyll transakslene med den spesifiserte væsken til riktig væskekapasitet er oppfylt.
Note: Det kan ta lengre tid enn forventet å fylle transakslene.
Installer de tidligere fjernede utluftingspluggene og trekk til pluggene med et moment på 395 til 904 Ncm.
Gå videre til Tømme det hydrauliske systemet.
Important: Hvis man ikke utfører prosedyren for tømming av det hydrauliske systemet etter at man har skiftet hydraulikkfiltre og -væske, kan det føre til uopprettelig skade på transakseldrivsystemet.
Hev bakre del av maskinen og støtt med jekkstøtter (eller tilsvarende støtte) akkurat høyt nok til at drivhjulene kan rotere fritt.

Start motoren, flytt gasskontrollen frem til ½ gass-stillingen og deaktiver parkeringsbremsen.
Flytt omløpsspakene til skyvestillingen. Med omløpsventilene åpen og motoren i gang flytter du retningskontrollen sakte både fremover og bakover fem eller seks ganger.
Flytt omløpsspakene til driftsstillingen.
Med omløpsventilen lukket og motoren i gang flytter du kontrollspaken sakte både fremover og bakover fem eller seks ganger.
Slå av motoren og kontroller væskenivået i ekspansjonstanken. Tilsett spesifisert væske til den når FULL COLD-linjen i ekspansjonstanken.
Gjenta trinn 2 til all luften er helt tømt fra systemet.
Note: Når transakselen har normalt støynivå, beveger seg jevnt framover og har normal hastighet ved rygging, er den tømt.
Kontroller væskenivået i ekspansjonstanken en siste gang. Tilsett spesifisert væske til den når FULL COLD-linjen i ekspansjonstanken.
Inspiser knivene regelmessig for slitasje eller skade.
Vær forsiktig når du kontrollerer knivene. Legg noe rundt knivene eller bruk hansker, og vær svært forsiktig når du håndterer knivene. Bare skift ut eller slip knivene. Du må aldri rette eller sveise dem.
Vær forsiktig hvis maskinen har flere knivblader, da resten av knivene kan begynne å rotere når det ene knivbladet roteres.
Skadde eller slitte knivblader og bolter må skiftes ut i sett for å opprettholde balansen.
Sørg for å få best mulig klipperesultat ved å holde knivene skarpe. Det kan være praktisk å ha en ekstra kniv på for mer effektiv sliping og utskifting.
Parker maskinen på en jevn overflate, koble fra knivkontrollbryteren (kraftuttak), og sett på parkeringsbremsen.
Slå av motoren, ta ut nøkkelen, og koble tennpluggkablene fra tennpluggene.
| Vedlikeholdsintervall | Vedlikeholdsprosedyre |
|---|---|
| For hver bruk eller daglig |
|
Undersøk kniveggene (Figur 71).
Hvis kniven er sløv eller hvis det er hakk i den, må den tas av og slipes. Se Slipe knivbladene.
Undersøk knivbladene, spesielt buen.
Hvis du finner sprekker, slitasje eller ser at det begynner å dannes spor i denne delen av kniven, må den skiftes ut øyeblikkelig (Figur 71).

Note: Maskinen må stå på en plan overflate for den følgende prosedyren.
Hev klippeenheten til høyeste klippehøydeinnstilling.
Ta på tykke arbeidshansker eller annet hensiktsmessig håndvern og sakte roter kniven som skal måles, til en stilling som gjør det mulig å måle avstanden mellom kniveggen og den plane overflaten maskinen står på (Figur 72).

Mål fra knivtuppen til den flate overflaten (Figur 73).

Roter den samme kniven 180 grader så den motsatte kniveggen nå er i samme stilling (Figur 74).

Mål fra knivtuppen til den flate overflaten (Figur 75).
Note: Avviket skal ikke være større enn 3 mm.

Hvis forskjellen mellom A og B er større enn 3 mm, skift ut kniven med en ny, se Fjerne knivbladene og Montere knivbladene.
Note: Hvis en bøyd kniv skiftes ut med en ny kniv og forskjellen fortsatt overstiger 3 mm, kan det være at knivspindelen er bøyd. Ta kontakt med en autorisert Toro-forhandler for service.
Hvis avviket er innenfor grensene, fortsett til neste kniv.
Gjenta prosedyren for alle knivene.
Bytt ut knivene hvis de treffer en hard gjenstand, eller hvis de er ute av balanse eller bøyd.
Plasser en skrunøkkel på flaten av spindelakselen, eller hold knivenden ved hjelp av en fille eller en tykt polstret hanske.
Fjern knivbolten, hylsen og kniven fra spindelakselen (Figur 76).

Bruk en fil til å slipe eggen i begge ender av kniven (Figur 77).
Note: Oppretthold den opprinnelige vinkelen.
Note: Kniven opprettholder balansen hvis like mye materiale fjernes fra begge kniveggene.

Sjekk knivens balanse ved å legge den på en balanseringsinnretning (Figur 78).
Note: Hvis kniven holder seg i horisontal stilling, har den riktig balanse og kan brukes.
Note: Hvis kniven ikke er i balanse, filer du bort litt av metallet på enden av vingeområdet (Figur 77).

Fortsett med dette helt til kniven er balansert.
Monter hylsen gjennom bladet med hylseflensen på bunnsiden (gressiden) av bladet (Figur 79).

Monter hylse-/bladenheten inn i spindelakselen (Figur 80).

Påfør kobberbasert smøremiddel eller smørefett på trådene til knivbolten etter behov for å unngå fastkjøring. Monter knivbolten, og skru til med fingrene.
Plasser en skrunøkkel på flaten til spindelakselen, og trekk til knivbolten med et moment på 75 til 81 Nm.
Sjekk at klippeenheten er i vater hver gang du monterer klippeenheten eller du ser at plenen blir klippet ujevnt.
Klippeenheten må sjekkes for bøyde kniver før nivellering, og eventuelle bøyde kniver må fjernes og skiftes ut. SeOverhale gressklipperknivene før du fortsetter.
Rett opp klippeenheten på tvers først. Deretter kan du justere hellingsvinkel på langs.
Krav:
Maskinen på stå på plan overflate.
Alle dekk må ha korrekt trykk. Se Kontrollere trykket i dekkene.
Parker maskinen på en jevn overflate, koble fra knivkontrollbryteren (kraftuttak), og sett på parkeringsbremsen.
Før du forlater førerplassen må du slå av motoren, ta ut nøkkelen og vente til alle bevegelige deler står stille.
Kontroller dekktrykket for drivhjulene. Se Kontrollere trykket i dekkene.
Plasser klippeenheten i transportstillingen.
Roter knivene forsiktig fra side til side.
Mål mellom knivtuppen og den flate overflaten (Figur 81). Juster nivelleringen hvis begge målene ikke er innenfor 5 mm. Fortsett med denne prosedyren.

Sjekk knivnivået på langs (Figur 82). Påse at tuppen på den fremre kniven er lavere enn tuppen på den bakre kniven, som vist i tabellen for blokkhøyde og rake. Hvis justering er nødvendig, fortsetter du med denne prosedyren.

Still antiskalperingsrullene til topphullene eller fjern dem fullstendig for denne justeringen.
Hev klippeenheten til transportstilling (140 mm).
Løsne justeringsskruen til løftehjelpsfjæren langsomt helt til du kan fjerne skruen (Figur 83).
Note: Ta vare på skruen for installasjon.

Plasser to blokker (se tabellen for blokkhøyde og rake) under kanten nederst bak på klippeenheten, én på hver side av klippeenheten (Figur 84).
Sett klippehøydespaken til posisjonen 76 mm.
Plasser to blokker på under hver side av kanten foran på klippeenheten, men ikke under brakettene til antiskalperingsvalsen eller sveiseskjøtene.

| Klippeenhets-størrelse | Fremre blokkhøyde | Rake |
| Alle klippeenheter | 73 mm | 4,8 til 6,4 mm |
Roter knivene forsiktig fra side til side (Figur 81).
Løsne låsemutterne (Figur 85) på alle de fire hjørnene, og sikre at klippeenheten sitter trygt på alle fire blokkene.
Fjern eventuell slakk i klippeenhetshengere og påse at fotløftespaken for klippeenheten er skjøvet tilbake mot stoppen.
Stram de fire låsemutrene.

Påse at blokkene passer godt under klippeenhetskanten og at alle festeboltene er stramme
Fortsett å nivellere enheten ved å kontrollere knivens hellingsvinkel på langs.
Kontroller om knivene er plane og gjenta, om nødvendig, fremgangsmåten for oppretting.
Hev klippeenheten til transportstilling (140 mm).
Installer justeringsskruen til løftehjelpsfjæren som tidligere ble fjernet i trinn 10.
Still inn avstanden mellom fjæren og braketten til 22–29 mm.
Før du utfører service eller fjerner klippeenheten, må de fjærbelastede løftearmene for klippeenheten låses.
Parker maskinen på en jevn overflate, koble fra knivkontrollbryteren (kraftuttak), og sett på parkeringsbremsen.
Før du forlater førerplassen må du slå av motoren, ta ut nøkkelen og vente til alle bevegelige deler står stille.
Senk gressklipperen til en klippehøyde på 76 mm.
Slipp løs klippeenhetsforhenget ved å fjerne hårnålssplinten. Se Frigjøre klippeenhetsforhenget.
Fjern remdekslene.
Løsne klippeenhetslederullen, og fjern klipperemmen. Se Vedlikehold av remmer.
Fjern boltene og mutterne fra fronten på platen under fotstøtten.
Fjern og ta vare på boltene og mutterne på begge sider av maskinen (Figur 86).

Skyv klippeenheten ut til høyre side på maskinen.
En utildekket utslippsåpning kan føre til at maskinen slynger objekter mot deg eller tilskuere, noe som kan resultere i alvorlig skade. Det kan også oppstå kontakt med kniven.
Du må aldri bruke maskinen uten at du har montert en kvernplate, utslippsavleder eller gressoppsamler.
Fjern låsemutteren, bolten, fjæren og avstandsstykket som holder avlederen festet til svingbrakettene (Figur 87).
Fjern den skadde eller slitte gressavlederen (Figur 87).

Plasser avstandsstykket og fjæren på gressavlederen.
Plasser én J-ende av fjæren bak klippeenhetskanten.
Note: Påse at én J-krokende av fjæren er montert bak kanten på klippeenheten før du monterer bolten som vist i Figur 87.
Monter bolt og mutter.
Plasser én J-krokende av fjæren rundt gressavlederen (Figur 87).
Important: Gressavlederen må kunne rotere. Løft avlederen opp til helt åpen stilling og sørg for at den roterer helt til den nederste posisjonen.
| Vedlikeholdsintervall | Vedlikeholdsprosedyre |
|---|---|
| Etter hver bruk |
|
Parker maskinen på en jevn overflate, koble fra knivkontrollbryteren (kraftuttak), og sett på parkeringsbremsen.
Før du forlater førerplassen må du slå av motoren, ta ut nøkkelen og vente til alle bevegelige deler står stille.
Hev klippeenheten til TRANSPORT-stillingen.
Rengjør opphengssystemet ved hjelp av komprimert luft.
Note: Ikke rengjør støtdemperenhetene med trykkvann (Figur 88).

Motorolje, batterier, hydraulikkvæske og motorkjølemiddel er forurensende for miljøet. Avhend disse i henhold til nasjonale eller lokale regelverk.
Før du forlater førerplassen, må du slå av motoren, ta ut nøkkelen og vente til alle bevegelige deler står stille. La maskinen kjøle seg ned før justering, vedlikehold, rengjøring eller oppbevaring.
Oppbevar ikke maskinen eller drivstoffet i nærheten av flammer, og tøm ikke ut drivstoffet innendørs eller inne i en lukket tilhenger.
Oppbevar aldri maskinen eller bensinkannen hvor det er åpen ild, gnist eller kontrollampe som på en varmtvannstank eller andre apparater.
Koble fra knivkontrollbryteren (kraftuttaket), og aktiver parkeringsbremsen.
Før du forlater førerplassen må du slå av motoren, ta ut nøkkelen og vente til alle bevegelige deler står stille.
Rengjør hele alle utvendige deler på maskinen for gress, smuss og skitt, spesielt motoren og det hydrauliske systemet. Fjern utvendige gressrester og smuss på motorens sylindertoppribber og viftehus.
Important: Du kan vaske maskinen med skånsomt vaskemiddel og vann. Maskinen må ikke trykkvaskes. Unngå overdreven bruk av vann, spesielt nær kontrollpanelet, motoren og de hydrauliske pumpene og motorene.
Kontroller at parkeringsbremsen virker. Se Justere parkeringsbremsen.
Vedlikehold luftrenseren, se Overhale luftrenseren.
Smør maskinen, se Smøre maskinen.
Bytte veivhusolje, se Kontrollere motoroljenivået.
Kontroller trykket i dekkene. Se Kontrollere trykket i dekkene.
Skifte de hydrauliske filtrene. Se Skifte hydraulikkvæske og filter.
Bytt ut batteriet, se Lade batteriet.
Skrap bort oppsamlet gress og skitt fra gressklipperens underside, og spyl den med en hageslange.
Note: Kjør maskinen med knivkontrollbryteren (kraftuttak) innkoblet og motoren på høy tomgang i 2 til 5 minutter etter vask.
Kontroller knivenes tilstand. Se Overhale gressklipperknivene.
Gjør maskinen klar for oppbevaring når det er flere enn 30 dager til du skal bruke den igjen. Slik gjør du maskinen klar for lagring:
Bland et stabiliserings-/kondisjoneringsmiddel med petroleumsbase i drivstoffet på tanken. Følg blandingsinstruksjonene fra produsenten av stabiliseringsmiddelet. Stabiliseringsmidler med alkoholbase (etanol eller metanol) må ikke brukes.
Note: Et stabiliserings-/kondisjoneringsmiddel er mest effektivt når det blandes med ferskt drivstoff og brukes til enhver tid.
Kjør motoren i fem minutter for å fordele det behandlede drivstoffet i drivstoffsystemet.
Slå av motoren, la den kjøles ned og tøm drivstofftanken.
Start motoren og kjør den til den stopper.
Drivstoff må kasseres i henhold til lokale forskrifter. Resirkuler drivstoffet i samsvar med lokale forskrifter.
Important: Ikke oppbevar drivstoff som inneholder stabiliserings-/kondisjoneringsmiddel, lenger enn anbefalt av produsenten av middelet.
Fjern og sjekk tilstanden til tennpluggen(e). Se Overhale tennpluggen(s). Når tennpluggen(e) er tatt ut, heller du 30 ml (to spiseskjeer) med motorolje i tennplugghullet. Bruk starteren til å starte motoren og fordele oljen på innsiden av sylinderen. Monter tennpluggen(e). Ikke sett kabelen på tennpluggen(e).
Sjekk og stram til alle bolter, mutrer og skruer. Alle skadde eller defekte deler må repareres eller skiftes ut.
Reparer alle riper eller avskallinger i lakken. Du kan kjøpe maling hos ditt autoriserte forhandlerverksted.
Maskinen må oppbevares rent og tørt i en garasje eller på et lager. Ta nøkkelen ut av tenningen og hold den utenfor barns eller andre uautoriserte brukeres rekkevidde. Legg en presenning over maskinen for å beskytte den og holde den ren.
| Problem | Possible Cause | Corrective Action |
|---|---|---|
| Motoren overopphetes. |
|
|
| Startmotoren kjører ikke. |
|
|
| Motoren vil ikke starte, er vanskelig å starte eller går ikke. |
|
|
| Motoren mister kraft. |
|
|
| Klipperen trekker til høyre eller venstre (når spakene er satt rett fremover) |
|
|
| Maskinen kjører ikke. |
|
|
| Maskinen vibrerer unormalt mye. |
|
|
| Klippehøyden er ujevn. |
|
|
| Knivene roterer ikke. |
|
|
| Clutchen kobles ikke inn. |
|
|

