| Underhållsintervall | Underhållsförfarande |
|---|---|
| Varje användning eller dagligen |
|
Denna åkgräsklippare med roterande knivar är avsedd att användas av yrkesförare som har anlitats för kommersiellt arbete. Den är primärt konstruerad för att klippa gräs på väl underhållna gräsmattor runt bostäder eller kommersiella anläggningar. Det kan medföra fara för dig och kringstående om maskinen används i andra syften än vad som avsetts.
Läs den här informationen noga så att du lär dig att använda och underhålla produkten på rätt sätt och för att undvika person- och produktskador. Du är ansvarig för att produkten används på ett korrekt och säkert sätt.
Besök www.Toro.com om du behöver utbildningsmaterial för säkerhet och drift, information om tillbehör, hjälp med att hitta en återförsäljare eller om du vill registrera din produkt.
Kontakta en auktoriserad återförsäljare eller Toros kundservice och ha produktens modell- och artikelnummer till hands om du har behov av service, Toro-originaldelar eller ytterligare information. Figur 1 visar var på produkten modell- och serienumren sitter. Skriv numren i det tomma utrymmet.
Important: Skanna rutkoden på serienummerdekalen (i förekommande fall) med en mobil enhet för att få tillgång till information om garanti, reservdelar och annat.

Två ord används också i den här bruksanvisningen för att markera information. Viktigt anger speciell teknisk information och Observera anger allmän information som bör ges särskild uppmärksamhet.
Varningssymbolen (Figur 2) visas både i den här bruksanvisningen och på maskinen för att identifiera viktiga säkerhetsmeddelanden som du måste följa för att undvika olyckor. Den här symbolen visas tillsammans med ordet Fara, Varningeller Var försiktig.
Fara: anger en överhängande fara som kommer att leda till allvarliga personskador och innebär livsfara om den inte undviks.
Varning: anger en potentiellt farlig situation som kan leda till allvarliga personskador och innebära livsfara om den inte undviks.
Var försiktig: anger en potentiellt farlig situation som kan leda till lätta eller medelsvåra personskador.

Produkten uppfyller alla relevanta europeiska direktiv. Mer information finns i produktens separata försäkran om överensstämmelse.
Se motortillverkarens information som medföljer maskinen.
Brutto- eller nettomoment: Motorns brutto- eller nettomoment verkstadsbedömdes av motortillverkaren i enlighet med SAE (Society of Automotive Engineers) J1940 eller J2723. Den här gräsklipparklassens faktiska motormoment kommer att vara avsevärt lägre då den är konfigurerad för att uppfylla säkerhetskrav, utsläppsföreskrifter och funktionella krav. Se motortillverkarens information som medföljer maskinen.
Maskinen har utformats i enlighet med specifikationerna i SS-EN ISO 5395.
Maskinen kan slita av händer och fötter och kasta omkring föremål. Följ alltid alla säkerhetsanvisningar för att förhindra allvarliga personskador eller dödsfall.
Läs och se till att du har förstått innehållet i den här bruksanvisningen innan du startar motorn.
Håll kringstående och barn på avstånd.
Låt inte barn eller någon som inte har genomgått utbildning använda eller utföra underhåll på maskinen. Maskinen ska endast användas av personer som är ansvariga, utbildade, införstådda med anvisningarna och fysiskt kapabla att använda eller utföra service på maskinen.
Håll alltid störtbågen låst i helt upprätt läge och använd säkerhetsbältet.
Kör inte maskinen i närheten av stup, diken, flodbäddar, vatten eller andra faror eller i backar vars lutning överstiger 15 grader.
Håll händer och fötter på avstånd från maskinens rörliga delar.
Kör endast maskinen om skydd, säkerhetsbrytare och andra säkerhetsanordningar sitter på plats och fungerar.
Stäng av motorn, ta ut nyckeln och vänta tills alla rörliga delar har stannat innan du kliver ur förarsätet. Låt maskinen svalna innan du utför service, justerar, tankar, rengör eller ställer den i förvar.

![]() |
Säkerhetsdekalerna och anvisningarna är fullt synliga för föraren och finns nära alla potentiella farozoner. Ersätt dekaler som har skadats eller saknas. |





















Bekanta dig med alla reglage innan du startar motorn och använder maskinen.

Tändningslåset används för att starta och stänga av motorn och har tre lägen: AVSTäNGT LäGE, KöRLäGE och STARTLäGE. Se Starta motorn.
Använd ljusomkopplaren för att ställa ljusen till läget På eller läget AV (Figur 5).
Använd choken för att starta en kall motor.
Gasreglaget styr motorhastigheten och har en steglös reglerbar inställning från LåNGSAMT till SNABBT (Figur 5).
Knivreglagebrytaren betecknas med en kraftuttagssymbol (PTO) och kopplar på och av strömmen till klipparknivarna (Figur 5).
Timmätaren registrerar antalet timmar som motorn har arbetat. Den är aktiv när motorn är igång. Använd dessa tider för att schemalägga regelbundet underhåll (Figur 6).

Det finns symboler på timmätaren som med hjälp av en svart triangel anger att säkerhetskomponenten är i rätt läge (Figur 6).
Om du vrider tändningslåset till KöRLäGETi några sekunder visas batterispänningen där timmarna vanligtvis visas.
Batterilampan tänds när tändningslåset vrids på och när laddningen ligger under korrekt driftnivå (Figur 6).
Använd rörelsereglagespakarna för att köra maskinen framåt och bakåt och för att svänga åt olika håll (Figur 4).
För rörelsereglagespakarna utåt från mitten till NEUTRALLåSLäGET när du ska kliva ur maskinen (Figur 25). Sätt alltid rörelsereglagespakarna i NEUTRALLåSLäGET när du stannar maskinen eller lämnar den utan uppsikt.
Koppla in parkeringsbromsen för att undvika tillfällig maskinrörelse när du stänger av motorn.
Stäng bränslekranen när du ska transportera maskinen eller ställa den i förvaring. Se Använda bränslekranen.
Note: Delarnas mått och utseende kan ändras utan föregående meddelande.
| 122 cm klippdäck | 132 cm klippdäck | 152 cm klippdäck | |
|---|---|---|---|
| Utan klippdäck | 129 cm | 137 cm | 140 cm |
| Gräsriktare uppfälld | 141 cm | 150 cm | 166 cm |
| Gräsriktare nedfälld | 160 cm | 171 cm | 191 cm |
| Gräsriktaren borttagen | 132 cm | 141 cm | 156 cm |
| 24-tumsdäck | 26-tumsdäck | |
|---|---|---|
| Längd | 219 cm | 220 cm |
| 24-tumsdäck | 26-tumsdäck | |
|---|---|---|
| Störtbåge uppfälld | 182 cm | 185 cm |
| Störtbåge nedfälld | 126 cm | 129 cm |
| Maskiner | Vikt |
| Maskiner på 122 cm | 512 kg |
| Maskiner på 132 cm | 531 till 540 kg |
| Maskiner på 152 cm | 535 till 590 kg |
Det finns ett urval av godkända Toro-redskap och -tillbehör som du kan använda för att förbättra och utöka maskinens kapacitet. Kontakta en auktoriserad serviceverkstad eller Toro-återförsäljare eller gå till www.Toro.com för att se en lista över alla godkända redskap och tillbehör.
Använd endast originalreservdelar och tillbehör från Toro för att garantera optimal prestanda och fortlöpande säkerhet för produkten. Det kan vara farligt att använda reservdelar och tillbehör från andra tillverkare och det kan göra produktgarantin ogiltig.
Note: Vänster och höger sida på maskinen är lika med förarens vänstra respektive högra sida vid normal körning.
Låt inte barn eller någon som inte har genomgått utbildning använda eller utföra underhåll på maskinen. Lokala föreskrifter kan begränsa förarens ålder. Det är ägaren som ansvarar för att utbilda alla förare och mekaniker.
Inspektera området där maskinen ska användas och ta bort föremål som kan störa användningen av maskinen eller som maskinen kan slunga iväg.
Lär dig hur du använder utrustningen på ett säkert sätt och bekanta dig med förarreglage och säkerhetsskyltar.
Kontrollera att förarkontroller, säkerhetsbrytare och skydd sitter fast och fungerar som de ska. Kör inte maskinen om dessa inte fungerar som de ska.
Stäng av motorn, ta ut nyckeln och vänta tills alla rörliga delar har stannat innan du kliver ur förarsätet. Låt maskinen svalna innan du utför service, justerar, tankar, rengör eller ställer den i förvar.
Före klippning ska du kontrollera att klippenheterna fungerar som de ska.
Undersök terrängen för att avgöra vad som är lämplig utrustning och vilka redskap eller tillbehör som eventuellt krävs för att använda maskinen på ett korrekt och säkert sätt.
Använd lämpliga kläder, inklusive ögonskydd, långbyxor, rejäla och halkfria skor samt hörselskydd. Sätt upp långt hår och använd inte hängande smycken eller löst sittande kläder.
Skjutsa inte passagerare på maskinen.
Håll kringstående och husdjur på avstånd från maskinen under drift. Stoppa maskinen och redskapen om någon kommer i närheten av arbetsområdet.
Använd endast maskinen om alla skydd och säkerhetsanordningar, som gräsriktare och hela gräsuppsamlaren, sitter på plats och fungerar som de ska. Byt ut slitna delar vid behov.
Bränsle är extremt brandfarligt och mycket explosivt. Brand eller explosion i bränsle kan orsaka brännskador och materiella skador.
För att förhindra att statisk elektricitet antänder bränslet ska du ta ner maskinen från trucken eller släpvagnen och tanka den på marken på avstånd från andra fordon. Om detta inte är möjligt placerar du en bärbar bränslebehållare på marken, på avstånd från andra fordon, och fyller den. Tanka sedan maskinen från bränslebehållaren istället för från ett munstycke på bränslepumpen.
Fyll på bränsletanken utomhus på en plan yta på en öppen plats när motorn är kall. Torka upp utspillt bränsle.
Hantera inte bränsle när du röker eller befinner dig i närheten av en öppen låga eller gnistor.
Ta inte bort tanklocket och fyll aldrig på bränsle i bränsletanken när motorn är igång eller varm.
Om du har spillt bränsle ska du inte starta motorn. Undvik att orsaka gnistor tills bränsleångorna har skingrats.
Förvara bränslet i en godkänd dunk och håll den utom räckhåll från barn.
Bränsle är skadligt eller dödligt om det förtärs. Längre exponering för bränsleångor kan orsaka allvarliga skador och sjukdom.
Undvik att andas in bränsleångor under en längre tid.
Håll händer och ansikte borta från munstycket och bränsletankens öppning.
Håll bränsle borta från ögon och hud.
Förvara inte maskinen eller bränslebehållaren i närheten av en öppen låga, gnista eller tändlåga, t.ex. nära en varmvattenberedare eller annan utrustning.
Kör inte maskinen utan att ha hela avgassystemet på plats och i gott fungerande skick.
Se till att bensinpumpens munstycke hela tiden har kontakt med kanten på bränsletankens eller dunkens öppning tills tankningen är klar. Använd inte en låsöppningsanordning för munstycket.
Byt omedelbart kläder om du råkar spilla bränsle på dem.
Fyll inte på bränsletanken för mycket. Sätt på tanklocket och dra åt det ordentligt.
Ta bort gräs och skräp från klippenheten, ljuddämparen, drivhjulen, gräsuppsamlaren och motorrummet för att undvika eldsvåda. Torka upp eventuellt olje- eller bränslespill.
Använd endast ren och färsk (ej äldre än 30 dagar) blyfri bensin med oktantal 87 eller högre för bästa resultat (klassificeringsmetod [R+M]/2).
Etanol: Bensin som innehåller upp till 10 % etanol (gasohol) eller 15 % MTBE (metyl-tertiär-butyleter) baserat på volym är godkänd. Etanol och MTBE är inte samma sak. Bensin med 15 % etanol (E15) baserat på volym får inte användas. Använd inte bensin som innehåller mer än 10 % etanol baserat på volym, t.ex. E15 (innehåller 15 % etanol), E20 (innehåller 20 % etanol) eller E85 (innehåller upp till 85 % etanol). Användning av ej godkänd bensin kan leda till prestandaproblem och/eller skador på motorn som eventuellt inte omfattas av garantin.
Använd inte bensin som innehåller metanol.
Förvara inte bränsle i bränsletanken eller i en bränsledunk under vintern om inte en stabiliserare används.
Tillför inte olja i bensinen.
En bränslestabiliserare/-konditionerare i maskinen ger följande fördelar:
Håller bränslet färskt längre under förutsättning att det används enligt stabiliserartillverkarens anvisningar.
Rengör motorn under körning.
Motverkar att gummiliknande beläggningar bildas i bränslesystemet, något som orsakar trög start.
Important: Använd inte bränsletillsatser som innehåller metanol eller etanol.
Tillsätt rätt mängd stabiliserare/konditionerare till bränslet.
Note: En stabiliserare/konditionerare fungerar som mest effektivt när den blandas med färskt bränsle. Använd alltid bränslestabiliserare så minimeras risken för avlagringar i bränslesystemet.
Parkera maskinen på en plan yta.
Koppla in parkeringsbromsen.
Stäng av motorn och ta ut nyckeln.
Gör rent omkring tanklocket.
Fyll bränsletanken till påfyllningsrörets nedersta del (Figur 7).
Note: Fyll inte tanken helt full. Det tomma utrymmet behövs för bränslets expansion.

Innan maskinen startas varje dag ska Varje användning/dagligen-procedurerna utföras som anges i .
Det tar tid för nya maskiner att komma upp i sin fulla prestanda. Nya klippdäck och drivsystem har högre friktion vilket belastar motorn ytterligare. Räkna med att det tar 40 till 50 timmar att köra in nya maskiner så att de får full kraft och optimal prestanda.
Så här undviker du att välta, vilket kan leda till personskador och livsfara: Håll störtbågen i helt upprätt och låst läge och använd säkerhetsbältet.
Kontrollera att sätet sitter fast ordentligt på maskinen.
Det finns inget vältskydd om störtbågen är nedfälld.
Fäll inte ned störtbågen om det inte är absolut nödvändigt.
Använd inte säkerhetsbältet om störtbågen är nedfälld.
Kör långsamt och försiktigt.
Fäll upp störtbågen så snart som det finns tillräckligt med utrymme.
Var mycket uppmärksam på utrymmen ovanför dig (dvs. grenar, dörrar, elektriska sladdar) innan du kör under ett föremål och vidrör dem inte.
Om säkerhetsbrytarna är frånkopplade eller skadade kan maskinen plötsligt gå igång, vilket kan leda till personskador.
Gör inga otillåtna ändringar på säkerhetsbrytarna.
Kontrollera säkerhetsbrytarnas funktion dagligen och byt ut eventuella skadade brytare innan du kör maskinen.
Säkerhetssystemet är konstruerat så att motorn inte kan startas såvida inte
parkeringsbromsen är inkopplad
knivreglagebrytaren (kraftuttaget) är urkopplad
rörelsereglagen är i det NEUTRALA LåSLäGET.
Säkerhetssystemet ska också stänga av motorn när rörelsereglagen flyttas från det NEUTRALA LåSLäGET när parkeringsbromsen är inkopplad eller om du reser dig upp från sätet när kraftuttaget är inkopplat.
Det finns indikatorer på timmätaren som visar om säkerhetskomponenterna är i rätt läge. När komponenten är i det rätta läget visas en indikator på skärmen.

| Underhållsintervall | Underhållsförfarande |
|---|---|
| Varje användning eller dagligen |
|
Testa säkerhetssystemet före varje användningstillfälle. Låt en auktoriserad serviceverkstad reparera systemet omedelbart om det inte fungerar enligt nedanstående beskrivning.
Sitt på sätet, dra åt parkeringsbromsen och KOPPLA IN knivreglagebrytaren (kraftuttaget). Försök att starta motorn – det ska inte gå.
Sitt på sätet, koppla in parkeringsbromsen och KOPPLA UR knivreglagebrytaren (kraftuttaget). Flytta något av rörelsereglagen från det NEUTRALA LåSLäGET. Försök att starta motorn – det ska inte gå. Upprepa med den andra reglagespaken.
Sitt på sätet, koppla in parkeringsbromsen, KOPPLA UR knivreglagebrytaren (kraftuttaget) och för rörelsereglagen till det NEUTRALA LåSLäGET. Starta sedan motorn. Koppla ur parkeringsbromsen, koppla in knivreglagebrytaren (kraftuttaget) och res dig något från sätet medan motorn är igång. Motorn ska stängas av.
Sitt på sätet, koppla in parkeringsbromsen, KOPPLA UR knivreglagebrytaren (kraftuttaget) och för rörelsereglagen till det NEUTRALA LåSLäGET. Starta sedan motorn. För ett av rörelsereglagen mot mitten och rör på det (framåt eller bakåt) medan motorn är igång. Motorn ska stängas av. Upprepa samma sak för det andra rörelsereglaget.
Sitt på sätet, koppla ur parkeringsbromsen, KOPPLA UR knivreglagebrytaren (kraftuttaget) och för rörelsereglagen till det NEUTRALA LåSLäGET. Försök att starta motorn – det ska inte gå.
Sätet kan flyttas framåt och bakåt. Ställ in sätet så att du har bäst kontroll över maskinen och sitter bekvämt (Figur 11).

MyRide™-fjädringssystemet kan justeras så att du sitter bekvämt och får en behaglig åktur. Du kan justera de två bakre stötenheterna för att snabbt och enkelt byta ut fjädringssystemet. Ställ in fjädringssystemet i det läge som du tycker är mest bekvämt.
De bakre stötenheternas spår har skåror som referens. Du kan placera de bakre stötenheterna var som helst i spåret, förutom i skårorna. Följande bild visar läget för en mjuk eller fast körning och olika spärrade lägen (Figur 12).

Note: Kontrollera att de vänstra och högra bakre stötenheterna alltid justeras till samma lägen.
Justera de bakre stötenheterna (Figur 13).


Ägaren/operatören kan förebygga olyckor samt ansvarar för olyckor som kan ge upphov till personskador eller skador på egendom.
Var fullt koncentrerad på maskinen när du använder den. Delta inte i aktiviteter som kan distrahera dig, eftersom personskador eller skador på egendom då kan uppstå.
Kör inte maskinen om du är sjuk, trött eller påverkad av alkohol eller läkemedel.
Kontakt med kniven kan orsaka allvarliga personskador. Stäng av motorn, ta ut nyckeln och vänta tills alla rörliga delar har stannat innan du kliver ur förarsätet. När du vrider nyckeln till läget AV ska motorn stängas av och kniven stanna. Om de inte stannar slutar du genast att använda maskinen och kontaktar en auktoriserad återförsäljare.
Använd endast maskinen när sikten och väderförhållandena är goda. Använd inte maskinen när det finns risk för blixtnedslag.
Håll händer och fötter borta från klippenheterna. Håll avstånd till utkastaröppningen.
Klipp inte om gräsriktaren är uppfälld, har tagits bort eller modifierats såvida du inte använder ett gräsuppsamlingssystem eller en mullningssats som är monterad och fungerar korrekt.
Klipp inte under backning om det inte är absolut nödvändigt. Titta alltid nedåt och bakom dig innan du kör maskinen bakåt.
Var extra försiktig i närheten av skymda hörn, buskage, träd eller andra föremål som kan försämra sikten.
Stanna knivarna när du inte klipper gräs.
Om du kör på något föremål eller om maskinen börjar vibrera ska du omedelbart stänga av motorn, ta ut nyckeln (i förekommande fall) och vänta tills alla rörliga delar har stannat innan du kontrollerar om maskinen har skadats. Reparera alla skador innan du börjar köra maskinen igen.
Sakta ned och var försiktig när du svänger och korsar vägar och trottoarer med maskinen. Lämna alltid företräde.
Gör följande innan du lämnar förarplatsen:
Ställ maskinen på ett plant underlag.
Koppla ur kraftuttaget och sänk ner redskapen.
Koppla in parkeringsbromsen.
Stäng av motorn och ta ut nyckeln.
Vänta tills alla rörliga delar har stannat.
Kör endast motorn i välventilerade utrymmen. Avgaser innehåller koloxid, vilket är dödligt om det andas in.
Lämna aldrig en maskin som är i gång utan uppsikt.
Anslut endast bogseringsutrustning till maskinen via draganordningen.
Använd endast maskinen om alla skydd och säkerhetsanordningar, som gräsriktare och hela gräsuppsamlaren, sitter på plats och fungerar som de ska. Byt ut slitna delar vid behov.
Använd endast tillbehör och redskap som har godkänts av Toro.
Denna maskin ger ljudnivåer vid förarens öra som överstiger 85 dBA och kan orsaka hörselskador vid längre arbetspass.

Ta bort gräs och skräp från klippenheten, drivhjulen, ljuddämparna och motorn för att undvika eldsvåda.
Starta motorn med fötterna långt bort från kniven.
Vänd klipparen så att gräsklippet inte träffar kringstående under klippningen. Rikta inte det utkastade materialet mot en vägg eller något annat hinder eftersom det kan kastas tillbaka mot dig.
Stanna knivarna, sakta ner maskinen och var försiktig när du korsar andra ytor än gräs eller när du transporterar maskinen till och från arbetsområdet.
Ändra inte motorns varvtalshållare och övervarva inte motorn.
Barn intresserar sig ofta för maskinen och klippningen. Förutsätt aldrig att ett barn förblir på den plats där du såg det senast.
Håll barn på säkert avstånd från arbetsområdet och under en ansvarsfull vuxens uppsyn (inte förarens).
Var uppmärksam och stäng av maskinen om barn kommer i närheten av arbetsområdet.
Innan du backar eller svänger med maskinen ska du titta efter så att det inte finns några små barn omkring dig.
Låt inte barn åka på maskinen. Det gäller även när kniven inte rör sig. Barn kan ramla av och skadas allvarligt eller hindra dig från att använda maskinen på ett säkert sätt. Barn som har fått åka med förut kan dyka upp i arbetsområdet utan förvarning och bli överkörda eller påbackade av den som klipper.
Vältskyddet är en inbyggd säkerhetsanordning. Ta inte bort några vältskyddsdelar från maskinen.
Kontrollera att säkerhetsbältet är fastspänt och att du kan knäppa upp det snabbt i en nödsituation.
Håll störtbågen i det helt upphöjda och låsta läget och använd alltid säkerhetsbälte när störtbågen är uppfälld.
Kontrollera noga om det finns några hinder ovanför dig innan du kör under dem och vidrör dem inte.
Byt ut skadade vältskyddsdelar. Reparera eller ändra dem inte.
Det finns inget vältskydd när störtbågen är nedfälld.
Om hjulen glider över en kant, över branta dikesrenar eller ner i vatten kan det leda till en vältolycka, vilket kan medföra allvarliga personskador och innebära livsfara.
Använd inte säkerhetsbältet när störtbågen är nedfälld.
Fäll inte ned störtbågen om det inte är absolut nödvändigt. Fäll upp den så snart det finns utrymme för det.
Om maskinen välter ska du ta med den till en auktoriserad återförsäljare för att få vältskyddet besiktigat.
Använd endast Toro-godkända tillbehör och redskap för vältskyddet.
Sluttningar är en betydande faktor vid olyckor som orsakas av att föraren förlorat kontrollen eller att maskinen välter, vilket kan innebära livsfara eller leda till allvarliga personskador. Det är föraren som är ansvarig för säker manövrering i sluttningar. Om du kör maskinen i en sluttning måste du vara extra försiktig. Vidta följande åtgärder innan du använder maskinen i en sluttning:
Läs och ta till dig sluttningsanvisningarna i bruksanvisningen och på maskinen.
Använda en vinkelindikator för att fastställa områdets ungefärliga lutning.
Kör aldrig i backar vars lutning överstiger 15 grader.
Utvärdera dagligen förhållandena på platsen för att fastställa om sluttningen är säker för maskindrift. Använd sunt förnuft och ett gott omdöme när du utför utvärderingen. Förändringar i terrängen, t.ex. fukt, kan snabbt påverka hur maskinen fungerar i en sluttning.
Identifiera faror nere vid slutet av sluttningen. Kör inte maskinen nära stup, diken, flodbäddar, vatten eller andra riskfyllda områden. Maskinen kan välta plötsligt om ett hjul kör över en kant eller kanten ger vika. Håll säkert avstånd (dubbel maskinbredd) mellan maskinen och riskfyllda områden. Använd en manuell gräsklippare eller en handtrimmer för att klippa gräs i dessa områden.
Undvik att starta, stänga av eller svänga med maskinen i sluttningar. Undvik att göra plötsliga ändringar i hastighet eller riktning, sväng långsamt och gradvis.
Använd inte maskinen under förhållanden där det råder tvekan om dragkraft, styrning eller stabilitet. Observera att om du kör maskinen på vått gräs, tvärs över sluttningar och nedför en sluttning kan maskinen förlora dragkraft. Om drivhjulen tappar dragkraft kan det leda till att maskinen glider och att du förlorar kontrollen över bromsning och styrning. Maskinen kan glida även om drivhjulen stoppas.
Ta bort eller märk ut hinder som t.ex. diken, hål, fåror, gupp, stenar eller andra dolda faror. Det kan finnas dolda hinder i högt gräs. Ojämn terräng kan göra att maskinen välter.
Var extra försiktig när du kör med tillbehör eller redskap, t.ex. gräsuppsamlingssystem. Dessa kan ändra maskinens stabilitet och leda till att du förlorar kontrollen. Följ anvisningarna för motvikterna.
Om möjligt ska däcket hållas nedsänkt mot marken när du kör i sluttningar. Om klippdäcket höjs vid körning i sluttningar kan maskinen bli instabil.

Använd klippdäcket som hjälp för att sätta dig i förarsätet (Figur 16).

Koppla alltid in parkeringsbromsen när du stannar maskinen eller lämnar den utan uppsikt.
Ställ maskinen på ett plant underlag.


Med knivreglagebrytaren (kraftuttaget) startas och stoppas klipparens knivar och eventuella motordrivna redskap.
Note: Om knivreglagebrytaren (kraftuttaget) kopplas in med halvt gaspådrag eller mindre slits drivremmarna kraftigt.


Du kan flytta gasreglaget mellan det SNABBA och det LåNGSAMMA läget (Figur 21).
Använd alltid det SNABBA läget när du kopplar in kraftuttaget.

Note: En varm eller het motor behöver eventuellt inte chokas.
Important: Låt inte startmotorn gå i mer än 5 sekunder åt gången. Om startmotorn går i mer än 5 sekunder kan den skadas. Om motorn inte startar väntar du 10 sekunder innan du använder startmotorn igen.

Barn eller kringstående kan skadas om de flyttar eller försöker köra en maskin som har lämnats utan uppsikt.
Ta alltid ut nyckeln och koppla in parkeringsbromsen när du lämnar maskinen utan uppsikt.


Drivhjulen svänger oberoende av varandra och drivs av hydraulmotorer på varje axel. Du kan svänga ena sidan bakåt och den andra framåt så att maskinen snurrar istället för att svänga. Detta gör maskinen mycket mer lättmanövrerad, men det kan ta ett tag att vänja sig vid rörelserna.
Med gasreglaget styrs motorns varvtal mätt i rpm (varv per minut). Sätt gasreglaget i det SNABBA läget för bästa prestanda. Kör alltid med full gas vid klippning.
Maskinen kan rotera väldigt snabbt. Du kan förlora kontrollen över maskinen och orsaka personskador eller skador på maskinen.
Var försiktig i svängar.
Sakta ned innan du gör skarpa svängar.
Note: Motorn stängs av om rörelsereglaget flyttas när parkeringsbromsen är åtdragen.
Stanna maskinen genom att föra rörelsereglagen till NEUTRALLäGET.
Koppla ur parkeringsbromsen.
För rörelsereglagespakarna till det olåsta mittläget.
Kör framåt genom att försiktigt föra rörelsereglagespakarna framåt (Figur 26).

För rörelsereglagespakarna till det olåsta mittläget.
Backa genom att försiktigt dra rörelsereglagespakarna bakåt (Figur 27).

Klipparen har en fällbar gräsriktare som sprider ut det klippta gräset åt sidan och ner i gräsmattan.
Om ingen gräsriktare, utkastarlucka eller komplett gräsuppsamlare har monterats kan du och andra komma i kontakt med knivarna eller träffas av utslungat skräp. Kontakt med roterande kniv(ar) och utslungat skräp kan orsaka skador eller leda till dödsfall.
Ta aldrig bort gräsriktaren från klippdäcket eftersom gräsriktaren riktar avfallet ned mot gräset. Byt omedelbart ut gräsriktaren om den skadas.
För aldrig in händerna eller fötterna under klippdäcket.
Försök aldrig att rensa utkastaren eller knivarna utan att först KOPPLA UR knivreglagebrytaren (kraftuttaget), vrida tändningslåset till det AVSTäNGDAläget och sedan ta ut nyckeln ur tändningslåset.
Se till att gräsriktaren är i nedfällt läge.
Klipphöjden kan justeras från 38 till 140 mm i steg om 6 mm genom att sprintbulten flyttas till olika hål.
Tryck däcklyftpedalen helt framåt för att låsa klippdäcket i TRANSPORTläget (även klipphöjdsläget på 140 mm) enligt Figur 29.
Justera inställningen genom att ta ut sprinten ur klipphöjdsfästet (Figur 29).
Sätt i sprinten i det hål i klipphöjdsfästet som motsvarar den önskade klipphöjden (Figur 29).
Tryck däcklyftpedalen framåt, tryck transportlåset framåt och sänk sakta ned klippdäcket.

Tryck upp på däcklyftsknappen (Figur 30).

Sätt i sprinten i det hål i klipphöjdsfästet som motsvarar den önskade klipphöjden (Figur 31).
Tryck på däcklyftsknappen tills klipphöjdslänken nuddar vid klipphöjdssprinten (Figur 31).
Note: Om klipphöjdslänken och klipphöjdssprinten ligger an mot varandra kan det påverka klippdäckets klipphöjd och nivå negativt.

Varje gång du ändrar klipphöjden ska du även justera antiskalprullarnas höjdinställning.
Note: Justera antiskalpvalsarna så att de inte vidrör marken vid normal klippning på plana ytor.
Parkera maskinen på en plan yta, koppla ur knivreglagebrytaren och koppla in parkeringsbromsen.
Stäng av motorn, ta ut nyckeln och vänta tills alla rörliga delar har stannat innan du kliver ur förarsätet.
Justera antiskalpvalsarna enligt Figur 32.

Kör motorn i det SNABBA läget för bästa klippning och maximal luftcirkulation. Det krävs luft för att klippa gräset ordentligt. Ställ inte in för låg klipphöjd så att klippdäcket helt omges av oklippt gräs. Försök att alltid se till att en sida av klippdäcket är fritt från oklippt gräs, vilket medför att luft kan sugas in i klippdäcket.
Klipp gräset något högre än normalt så att inte klippdäcket skalperar ojämn mark. Den klipphöjd som använts tidigare är vanligtvis den bästa. Vid klippning av gräs som är längre än 15 cm kan du behöva klippa två gånger för att få ett acceptabelt klippresultat.
Det är bäst att bara klippa av cirka en tredjedel av grässtrået. Mer än så rekommenderas bara om gräset är glest eller om det är sent på hösten då gräset växer saktare.
Växla klippriktning för att hålla gräset rakt. Det underlättar också fördelningen av det klippta gräset, vilket förbättrar nedbrytning och gödning.
Gräs växer i olika takt beroende på årstiden. För att hålla samma längd på gräset ska man klippa oftare tidigt på våren. Klipp mer sällan när tillväxten avtar mot mitten av sommaren. Klipp med högre klipphöjd och klipp sedan igen efter två dagar med lägre klipphöjd om du inte kan klippa under en längre tidsperiod.
Du kan köra saktare för att få ett bättre klippresultat under vissa förhållanden.
Höj klipphöjden vid klippning av en ojämn gräsmatta så att inte gräsmattan skalas av.
Om du måste stanna maskinen under klippningen kan en klump med gräsklipp falla ner på gräsmattan. Kör till ett område som du redan har klippt medan knivarna är inkopplade för att undvika detta eller koppla bort klippardäcket samtidigt som du kör framåt.
Rensa bort gräsklipp och smuts från undersidan av klippdäcket efter varje klippning. Om gräs och smuts ansamlas inuti klippdäcket blir klippresultatet till slut inte tillfredsställande.
Se till att hålla kniven vass under klippsäsongen, eftersom en vass kniv klipper rent utan att slita och rycka av grässtråna. Om gräset slits och rycks av gulnar det i ändarna, vilket minskar tillväxten och ökar risken för sjukdomar. Kontrollera knivarna efter varje användning för att se till att de inte är slöa, slitna eller skadade. Fila ned eventuella hack och slipa knivarna om så behövs. Om en kniv är skadad eller sliten ska den bytas ut omedelbart mot en originalkniv från Toro.
Lägg i parkeringsbromsen, stanna motorn, ta ut nyckeln och vänta tills alla rörliga delar har stannat innan du lämnar förarplatsen. Låt maskinen svalna innan du utför service, justerar, tankar, rengör eller ställer den i förvar.
Ta bort gräs och skräp från klippenheten, ljuddämparen, drivhjulen, gräsuppsamlaren och motorrummet för att undvika eldsvåda. Torka upp eventuellt olje- eller bränslespill.
Stäng av bränsletillförseln och ta ut nyckeln vid förvaring och transport.
Stäng bränslekranen vid transport, underhåll och förvaring (Figur 33).
Kontrollera att bränslekranen är öppen när motorn startas.


Du kan fastna med händerna i de roterande drivningskomponenterna under motordäcket, vilket kan leda till allvarliga personskador.
Stäng av motorn, ta ut nyckeln och vänta tills alla rörliga delar har stannat innan du försöker att komma åt drivhjulens utlösningsventiler.
Motorn och hydrauldrivningsenheterna kan bli mycket varma. Om du rör vid en varm motor eller hydrauldrivningsenhet kan du få allvarliga brännskador.
Låt motorn och hydrauldrivningsenheterna svalna helt innan du försöker att komma åt drivhjulens utlösningsventiler.
Drivhjulens utlösningsventiler sitter på vänster och höger sida under motordäcket.
Parkera maskinen på en plan yta, koppla ur knivreglagebrytaren och koppla in parkeringsbromsen.
Stäng av motorn, ta ut nyckeln och vänta tills alla rörliga delar har stannat innan du kliver ur förarsätet.
Om du vill skjuta maskinen för hand för du båda förbikopplingsreglagen framåt och låser dem på plats (Figur 34).
Koppla ur parkeringsbromsen innan du skjuter maskinen för hand.
När du ska köra maskinen för du båda förbikopplingsreglagen bakåt och låser dem på plats (Figur 34).

Använd en släpvagn eller lastbil för tung last för att transportera maskinen. Använd en fullbreddsramp. Se till att alla bromsar, lampor och markeringar som krävs enligt lag finns på släpvagnen eller lastbilen. Läs alla säkerhetsanvisningarna noga. Att känna till den här informationen kan hjälpa dig och kringstående att undvika skador. Kontrollera vilka lokala bestämmelser som gäller för transport på släp.
Det är farligt att köra på gator eller vägar utan blinkers, strålkastare och reflexer, eller utan en skylt för långsamtgående fordon, och det kan orsaka olyckor med personskador som följd.
Kör inte maskinen på allmän väg.
Om man lastar på en maskin på ett släp eller en lastbil ökar risken för att välta, vilket kan orsaka allvarliga personskador och innebära livsfara (Figur 35).
Använd endast en fullbreddsramp. Använd inte åtskilda ramper för var sida av maskinen.
Kontrollera att lutningen mellan rampen och marken, eller mellan rampen och släpet eller lastbilen, inte är större än 15 grader.
Kontrollera att rampen är minst fyra gånger så lång som släpvagns- eller lastbilsflakets höjd från marken. Det tillförsäkrar att rampens vinkel inte överstiger 15 grader på plan mark.

Om man lastar på en maskin på ett släp eller en lastbil ökar risken för att välta, vilket kan orsaka allvarliga personskador och innebära livsfara.
Var mycket försiktig vid körning på en ramp.
Backa maskinen uppför rampen och kör den framåt nedför rampen.
Undvik plötslig acceleration eller inbromsning när du kör maskinen på en ramp, eftersom det kan orsaka att du tappar kontrollen eller tippar.
Om du använder en släpvagn ska den kopplas till det bogserande fordonet och säkras med säkerhetskedjor.
Anslut i förekommande fall släpvagnsbromsarna och släpvagnsbelysningen.
Sänk ned rampen och säkerställ att vinkeln mellan rampen och marken inte är större än 15 grader (Figur 35).
Backa maskinen uppför ramper (Figur 36).

Stäng av motorn, ta ut nyckeln och koppla in parkeringsbromsen.
Bind fast maskinen nära de främre svänghjulen och den bakre ramen med remmar, kedjor, kablar eller rep (Figur 37). Kontrollera vilka lokala bestämmelser som gäller för transport på släp.

Om du lämnar nyckeln i tändningslåset kan någon råka starta motorn av misstag och skada dig eller någon annan person allvarligt. Ta ut nyckeln ur tändningslåset innan du utför något underhåll.
Innan du kliver ur förarsätet ska du göra följande:
Ställ maskinen på ett plant underlag.
Koppla bort drivenheterna.
Koppla in parkeringsbromsen.
Stäng av motorn och ta ut nyckeln.
Låt maskinens komponenter svalna innan du utför underhåll.
Låt inte obehöriga personer underhålla maskinen.
Håll händer och fötter borta från rörliga delar och heta ytor. Gör helst inga justeringar när motorn är igång.
Lätta försiktigt på trycket i komponenter med lagrad energi.
Kontrollera parkeringsbromsens funktion ofta. Justera och utför underhåll om så erfordras.
Mixtra aldrig med säkerhetsbrytarna. Kontrollera regelbundet att säkerhetsbrytarna fungerar som de ska.
Ta bort gräs och skräp från klippenheten, ljuddämparen, drivhjulen, gräsuppsamlaren och motorrummet för att undvika eldsvåda.
Torka upp olja eller bränsle som har spillts ut och ta bort skräp som har dränkts in i bränsle.
Förlita dig inte på att ett hydraulsystem eller mekaniska domkrafter ska stötta upp maskinen. Stötta maskinen med pallbockar när du höjer upp den.
Håll alla delar i gott bruksskick och samtliga fästelement åtdragna, i synnerhet knivens fästelement. Byt ut alla slitna eller skadade dekaler.
Koppla bort kabeln från batteriets minuspol innan du reparerar maskinen.
Använd endast Toros originalreservdelar och tillbehör för att säkerställa optimal prestanda. Det kan vara farligt att använda reservdelar och tillbehör från andra tillverkare och det kan göra produktgarantin ogiltig.
| Underhållsintervall | Underhållsförfarande |
|---|---|
| Efter de första 100 timmarna |
|
| Varje användning eller dagligen |
|
| Efter varje användning |
|
| Var 50:e timme |
|
| Var 100:e timme |
|
| Var 200:e timme |
|
| Var 250:e timme |
|
| Var 400:e timme |
|
| Var 400:e timme eller årligen beroende på vilket som inträffar först |
|
| Var 500:e timme |
|
| En gång per månad |
|
| Årligen |
|
| Årligen eller före förvaring |
|
Important: Ytterligare information om underhållsrutiner finns i bruksanvisningen till motorn.
Om du lämnar nyckeln i tändningslåset kan någon råka starta motorn av misstag och skada dig eller någon annan person allvarligt.
Stäng av motorn och ta ut nyckeln ur låset innan du utför något underhåll.
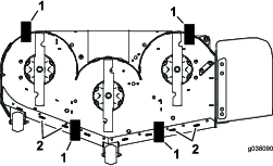
Lossa saxpinnen för att frigöra kjolen och få åtkomst till klippdäckets ovansida. När du har utfört underhållet monterar du kjolen med den tidigare borttagna saxpinnen.
Lossa de två främre bultarna och ta bort skyddsplåten för att komma åt klipparens remmar och spindlar (Figur 38). När underhållet har slutförts monterar du tillbaka skyddsplåten och drar åt skruvarna.

Smörj maskinen oftare vid dammiga och smutsiga förhållanden.
Typ av fett: litium- eller molybdenfett nr 2
Parkera maskinen på en plan yta, koppla ur knivreglagebrytaren och koppla in parkeringsbromsen.
Stäng av motorn, ta ut nyckeln och vänta tills alla rörliga delar har stannat innan du kliver ur förarsätet.
Torka av smörjnipplarna med en trasa.
Note: Skrapa av eventuell färg från nipplarnas framändar.
Sätt på en fettspruta på nippeln.
Pumpa in fett i nipplarna tills det börjar tränga ut ur lagren.
Torka bort överflödigt fett.
| Underhållsintervall | Underhållsförfarande |
|---|---|
| Var 100:e timme |
|
Smörj klippdäckets lyftsvängarmar med lätt olja eller smörjmedel i sprayform.

| Underhållsintervall | Underhållsförfarande |
|---|---|
| Var 400:e timme |
|
| Årligen |
|
Parkera maskinen på en plan yta, koppla ur knivreglagebrytaren och koppla in parkeringsbromsen.
Stäng av motorn, ta ut nyckeln och vänta tills alla rörliga delar har stannat innan du kliver ur förarsätet.
Ta bort dammkåpan och justera svängarmarna, och låt dammkåpan vara av tills smörjningen är klar. Se Smörja maskinen.
Ta bort sexkantpluggen.
Gänga in en smörjnippel i hålet.
Pumpa in fett i smörjnippeln tills det tränger ut runt det övre lagret.
Ta ut smörjnippeln ur hålet. Montera sexkantpluggen och kåpan.
| Underhållsintervall | Underhållsförfarande |
|---|---|
| Årligen |
|
Parkera maskinen på en plan yta, koppla ur knivreglagebrytaren och koppla in parkeringsbromsen.
Stäng av motorn, ta ut nyckeln och vänta tills alla rörliga delar har stannat innan du kliver ur förarsätet.
Höj upp gräsklipparen så att du kommer åt.
Ta bort styrhjulet från hjulgafflarna.
Ta bort skyddstätningarna från hjulnavet.

Ta bort en distansmutter från svänghjulets axel.
Note: Gänglåsningslim har applicerats för att fästa distansmuttrarna på axeln.
Ta bort axeln (med den andra distansmuttern fortfarande på plats) från hjulet.
Bänd loss tätningarna och kontrollera om lagren är slitna eller skadade. Byt ut dem vid behov.
Fyll lagren med universalfett.
Sätt i ett lager och en ny tätning i hjulet.
Stryk på gängtätningsmassa på en distansmutter och gänga på den på axeln med plattjärnen vända utåt om båda distansmuttrarna saknas.
Note: Gänga inte på distansmuttern hela vägen till axelns slut. Lämna ca 3 mm från distansmutterns ytterkant till axelns ände inuti muttern.
För in den monterade muttern och axeln i hjulet på sidan med den nya tätningen och det nya lagret.
Lägg hjulet med den öppna sidan vänd uppåt, och fyll området inuti hjulet runt axeln med universalfett.
För in det andra lagret och ett nytt skydd i hjulet.
Stryk på gängtätningsmassa på den andra distansmuttern och gänga på den på axeln med plattjärnen vända utåt.
Dra åt muttern till 8–9 N·m, lossa på den och dra därefter åt den igen till 2–3 Nm.
Note: Kontrollera att axeln inte sticker ut ur någon av muttrarna.
Sätt skyddstätningarna över hjulnavet och montera hjulet i hjulgaffeln.
Montera styrhjulets bult och dra åt muttern helt.
Important: Kontrollera lagerjusteringen ofta så att inte skyddet och lagret skadas. Snurra på styrhjulets däck. Däcket ska inte snurra fritt mer än ett till två varv och inte heller ha något spel i sidled. Om hjulet snurrar fritt ändrar du distansmutterns åtdragningsmoment tills det tar emot något. Applicera ytterligare ett lager gänglåsningslim.
Håll händer, fötter, ansikte och andra kroppsdelar samt kläder på avstånd från ljuddämparen och övriga heta ytor. Låt motorkomponenter svalna innan du utför underhåll.
Ändra inte motorns varvtalshållare och övervarva inte motorn.
| Underhållsintervall | Underhållsförfarande |
|---|---|
| Var 250:e timme |
|
| Var 500:e timme |
|
Note: Serva luftrenaren oftare vid extremt dammiga eller sandiga arbetsförhållanden.
Parkera maskinen på en plan yta, koppla ur knivreglagebrytaren (kraftuttaget) och koppla in parkeringsbromsen.
Stäng av motorn, ta ut nyckeln och vänta tills alla rörliga delar har stannat innan du kliver ur förarsätet.
Lossa spärrhakarna på luftrenaren och dra av luftrenarkåpan från luftrenarhuset (Figur 41).

Rengör luftrenarkåpan invändigt med tryckluft.
Dra försiktigt ut huvudfiltret ur luftrenarhuset (Figur 41).
Note: Undvik att knacka filtret mot sidan på luftrenarhuset.
Demontera endast säkerhetsfiltret om du har för avsikt att byta ut det.
Kontrollera säkerhetsfiltret. Byt ut både säkerhetsfiltret och huvudfiltret om det är smutsigt.
Important: Försök inte att rengöra säkerhetsfiltret. Om säkerhetsfiltret är smutsigt är huvudfiltret skadat.
Kontrollera om huvudfiltret är skadat genom att titta i filtret och lysa med en kraftig lampa på filtrets utsida. Byt ut huvudfiltret om det är smutsigt, böjt eller skadat.
Note: Hål i filtret syns som ljusa punkter. Rengör inte huvudfiltret.
Important: Kör alltid motorn med både luftfilter och skydd monterade för att undvika motorskador.
Kontrollera så att inte filtren har skadats under transporten innan du monterar nya filter.
Note: Använd inte ett skadat filter.
Om du byter ut det inre filtret ska du försiktigt skjuta in det i filterhuset (Figur 41).
Skjut försiktigt in huvudfiltret över säkerhetsfiltret (Figur 41).
Note: Kontrollera att huvudfiltret sitter ordentligt genom att trycka på dess yttre kant när du monterar det.
Important: Tryck inte mitt på filtret där det är mjukt.
Sätt tillbaka luftrenarkåpan och säkra spärrhakarna (Figur 41).
| Underhållsintervall | Underhållsförfarande |
|---|---|
| Varje användning eller dagligen |
|
| Var 100:e timme |
|
| Var 200:e timme |
|
Oljetyp: Renad olja (API service SF, SG, SH, SJ eller SL)
Vevhusvolym:
Kawasaki FX691-motorer – 2,0 liter med filterbyte, 1,8 liter utan filterbyte
Kawasaki FX801-motorer – 2,3 liter med filterbyte, 2,1 liter utan filterbyte
Viskositet: se tabellen nedan.

Note: Även om 10W-40 motorolja rekommenderas under de flesta förhållanden kan du behöva ändra oljeviskositeten beroende på de atmosfäriska förhållandena. Användning av 20W-50 motorolja i högre omgivningstemperaturer kan minska oljeförbrukningen.
Note: Kontrollera oljenivån när motorn är kall.
Important: Om du fyller på för mycket eller för lite olja i motorns vevhus och startar motorn kan den skadas.
Parkera maskinen på en plan yta, koppla ur knivreglagebrytaren (kraftuttaget) och koppla in parkeringsbromsen.
Stäng av motorn, ta ut nyckeln och vänta tills alla rörliga delar har stannat innan du kliver ur förarsätet.
Note: Säkerställ att motorn har svalnat så att oljan har hunnit rinna ned i sumpen.
Rengör området runt oljepåfyllningslocket och oljestickan innan du tar bort stickan så att smuts och gräsklipp inte hamnar i motorn (Figur 43).


Note: Lämna in spilloljan på en återvinningsstation.
Starta motorn och låt den gå i fem minuter.
Note: Då värms oljan upp så att den lättare rinner ut.
Parkera maskinen så att tömningssidan är något lägre än den motsatta sidan, så att all olja tappas ut.
Koppla ur knivreglagebrytaren (kraftuttaget) och koppla in parkeringsbromsen.
Stäng av motorn, ta ut nyckeln och vänta tills alla rörliga delar har stannat innan du kliver ur förarsätet.
Töm motorn på olja (Figur 44).


Häll långsamt ca 80 % av den angivna oljan i påfyllningsröret och tillsätt långsamt ytterligare olja tills den når markeringen Full (Figur 45).

Starta motorn och kör till ett plant område.
Kontrollera oljenivån igen.
Töm motorn på olja; se Byta ut motoroljan.
Byt ut motoroljefiltret (Figur 46).


Note: Kontrollera att oljefilterpackningen ligger mot motorn och vrid sedan oljefiltret ytterligare ¾ varv.
Fyll vevhuset med ny olja av rätt typ. Se Specifikationer för motoroljan.
| Underhållsintervall | Underhållsförfarande |
|---|---|
| Var 100:e timme |
|
Se till att mellanrummet mellan mitt- och sidoelektroderna är korrekt innan tändstiftet monteras. Använd en tändstiftsnyckel vid demontering och montering av tändstiftet och ett bladmått för kontroll och justering av mellanrummet. Montera vid behov ett nytt tändstift.
Typ av tändstift:
Kawasaki FX691- och FX801-motorer – NGK® BPR4ES eller motsvarande
Mellanrum: 0,75 mm
Parkera maskinen på en plan yta, koppla ur knivreglagebrytaren (kraftuttaget) och koppla in parkeringsbromsen.
Stäng av motorn, ta ut nyckeln och vänta tills alla rörliga delar har stannat innan du kliver ur förarsätet.
Rengör området runt stiftets bas så att smuts och skräp inte hamnar i motorn.
Lokalisera och ta bort tändstiftet enligt Figur 47.


Important: Rengör inte tändstiftet/-stiften. Byt alltid ut tändstiftet om det har en svart beläggning, slitna elektroder, en oljefilm eller sprickor.
Om isolatorn är ljust brun eller grå fungerar motorn korrekt. En svart beläggning på isolatorn betyder vanligen att luftrenaren är smutsig.
Ställ in gapet till 0,76 mm.


Under vissa förhållanden är bränsle extremt brandfarligt och mycket explosivt. Brand eller explosion i bränsle kan orsaka brännskador och materiella skador.
Mer information om försiktighetsåtgärder rörande bränslehantering finns i Bränslesäkerhet.
| Underhållsintervall | Underhållsförfarande |
|---|---|
| Var 500:e timme |
|
Important: Montera bränsleslangarna och fäst dem med spännband i plast på samma sätt som de ursprungligen var monterade. På så sätt undviker du att bränsleslangarna kommer i kontakt med komponenter som kan orsaka skador på dem.
Montera aldrig ett smutsigt filter efter att ha tagit bort det från bränsleslangen.
Bränslefiltret är placerat på vänster del av motorns framsida.
Parkera maskinen på en plan yta, koppla ur knivreglagebrytaren (kraftuttaget) och koppla in parkeringsbromsen.
Stäng av motorn, ta ut nyckeln och vänta tills alla rörliga delar har stannat innan du kliver ur förarsätet.
Låt maskinen svalna.
Byt ut bränslefiltret (Figur 50).
Note: Se till att pilen för flödesriktningen på ersättningsfiltret pekar mot motorn.

Försök inte att tömma bränsletanken. Låt en auktoriserad återförsäljare tömma bränsletanken och serva eventuella andra komponenter i bränslesystemet.
Koppla bort kabeln från batteriets minuspol innan du reparerar maskinen.
Ladda batteriet i ett öppet och välventilerat utrymme, på avstånd från gnistor och öppna lågor. Koppla ur laddaren innan batteriet ansluts eller kopplas bort. Använd skyddskläder och isolerade verktyg.
| Underhållsintervall | Underhållsförfarande |
|---|---|
| En gång per månad |
|
Batteriets kabelanslutningar eller metalldelar kan kortslutas mot maskinkomponenter i metall och orsaka gnistor. Gnistor kan få batterigaserna att explodera, vilket kan leda till personskador.
Vid avlägsnande eller installation av batteriet får du inte låta batterianslutningarna komma i kontakt med några av maskinens metalldelar.
Låt inte metallverktyg kortslutas mellan batterianslutningarna och maskinens metalldelar.
Felaktig borttagning av kablar från batteriet kan orsaka gnistor, vilket kan skada maskinen och kablarna. Gnistor kan få batterigaserna att explodera, vilket kan leda till personskador.
Lossa alltid batteriets minuskabel (svart) innan du lossar pluskabeln (röd).
Anslut alltid pluskabeln (röd) innan du ansluter minuskabeln (svart).
Parkera maskinen på en plan yta, koppla ur knivreglagebrytaren (kraftuttaget) och koppla in parkeringsbromsen.
Stäng av motorn, ta ut nyckeln och vänta tills alla rörliga delar har stannat innan du kliver ur förarsätet.
Ta bort batteriet enligt Figur 51.


När batteriet laddas bildas explosiva gaser.
Rök aldrig nära batteriet och håll det borta från gnistor och lågor.
Important: Håll alltid batteriet fulladdat, (specifik vikt 1,265). Detta är särskilt viktigt för att batteriet inte ska skadas när temperaturen understiger 0 °C.
Ta bort batteriet från chassit. Se Demontering av batteri.
Ladda batteriet i 10–15 minuter med 25–30 A eller i 30 minuter med 10 A.
Note: Överladda inte batteriet.
När batteriet är fulladdat ska laddaren kopplas bort från eluttaget först, och sedan ska laddningskablarna lossas från batteripolerna (Figur 52).
Sätt i batteriet i maskinen och anslut batterikablarna. Se Montera batteriet.
Note: Kör inte maskinen med bortkopplat batteri, eftersom detta kan orsaka elektriska skador.

Sätt i batteriet i lådan med anslutningspolerna mot hydraultanken (Figur 51).
Anslut batteriets pluskabel (röd) till batteriets pluspol (+).
Anslut batteriets minuskabel (svart) och jordkabel till batteriets minuspol (–).
Note: MyRide-maskiner: Kontrollera att jordkabeln inte skaver mot hjulinställningsarmen eller den nedre stötdämparmonteringen (Figur 53).

Fäst kablarna med två skruvar, två brickor och två låsmuttrar (Figur 51).
Trä på den röda anslutningsskon på batteriets pluspol (+).
Fäst batteriet med gummiremmen (Figur 51).
Elsystemet skyddas av säkringar. Det kräver inget underhåll, men om en säkring går bör du undersöka om det har uppstått funktionsfel eller kortslutning i komponenten eller kretsen.
Säkringarna sitter på den högra konsolen bredvid sätet (Figur 54).
Om du behöver byta ut en säkring drar du i den för att lossa den.
Sätt i en ny säkring (Figur 54).

| Underhållsintervall | Underhållsförfarande |
|---|---|
| Varje användning eller dagligen |
|
Se över säkerhetsbältet för att se om det är slitet eller trasigt och för att kontrollera att enheten och spännet fungerar som de ska. Byt ut säkerhetsbältet om det är skadat.
Koppla ur knivreglagebrytaren (kraftuttaget).
Kör till ett öppet och plant område och för rörelsereglagen till det NEUTRALA LåSLäGET.
För gasreglaget halvvägs mellan SNABBT och LåNGSAMT läge.
För båda rörelsereglagen framåt tills de når stoppen i T-skåran.
Kontrollera åt vilket håll maskinen går.
Om maskinen spårar till höger ska du föra in en 3/16 tums insexnyckel genom hålet i den vänstre främre täckpanelen och vrida spårskruven medurs eller moturs för att justera spakens riktning (Figur 55).
Om maskinen spårar till vänster ska du föra in en 3/16 tums insexnyckel genom hålet i den högre främre täckpanelen och vrida spårskruven medurs eller moturs för att justera spakens riktning (Figur 55).
Kör maskinen och kontrollera körning framåt med full fart.
Upprepa inställningen tills spårningen är korrekt.

| Underhållsintervall | Underhållsförfarande |
|---|---|
| Var 50:e timme |
|
Lufttrycket i både svänghjulen och bakdäcken ska vara 0,9 bar. Ojämnt lufttryck i däcken kan orsaka ojämn klippning. Mät trycket när däcken är kalla för att få en så exakt avläsning som möjligt.

Kontrollera hjulmuttrarna och dra åt dem till 122–136 Nm.
| Underhållsintervall | Underhållsförfarande |
|---|---|
| Efter de första 100 timmarna |
|
| Var 500:e timme |
|
Note: Kontrollera att parkeringsbromsen är korrekt inställd. Det här förfarandet måste följas efter de första 100 timmarna eller när en bromskomponent har tagits bort eller bytts ut.
Parkera maskinen på en plan yta.
Koppla ur knivreglagebrytaren (kraftuttaget), för rörelsereglagespakarna till det NEUTRALA LåSLäGET och koppla in parkeringsbromsen.
Stäng av maskinen, ta ut nyckeln och vänta tills alla rörliga delar har stannat innan du kliver ur förarsätet.
Ställ in maskinen för att skjutas för hand. Se Använda utlösningsventilerna för drivhjulen.
Höj upp den bakre delen av maskinen och stötta upp den med domkrafter.
Att enbart förlita sig på mekaniska eller hydrauliska domkrafter för att stödja en upplyft maskin vid service eller underhåll kan vara farligt. Domkrafterna kanske inte ger tillräckligt stöd eller har något funktionsfel, så maskinen kan ramla ned och orsaka allvarliga personskador.
Stötta inte maskinen enbart med mekaniska eller hydrauliska domkrafter. Använd lämpliga domkrafter eller liknande stöd.
Aktivera och koppla ur parkeringsbromsen och kontrollera varje drivhjul för att säkerställa att alla bromsar aktiveras och frigörs.
Om en justering är nödvändig ska du koppla ur parkeringsbromsen. Inspektera alla komponenter i parkeringsbromsens länkage för slitage. Byt ut alla slitna komponenter (Figur 57) och upprepa steg 6.

Kontrollera båda fjädrarnas längd enligt Figur 58. Om en justering är nödvändig ska du vrida fjäderfästmuttern medsols för att förkorta fjädern och motsols för att förlänga den. Upprepa steg 6.

När justeringen är färdig ska du ta bort domkraften eller motsvarande stöd och sänka ned maskinen.
Placera maskinen i ARBETSLäGET. Se Använda utlösningsventilerna för drivhjulen.
| Underhållsintervall | Underhållsförfarande |
|---|---|
| Var 50:e timme |
|
Byt ut remmen om den är sliten. Gnisslande ljud när remmen roterar, slirande knivar vid gräsklippning, fransiga remkanter, brännmärken och sprickor är tecken på en sliten klipparrem.
Parkera maskinen på en plan yta, koppla ur knivreglagebrytaren (kraftuttaget) och koppla in parkeringsbromsen.
Stäng av motorn, ta ut nyckeln och vänta tills alla rörliga delar har stannat innan du kliver ur förarsätet.
Sänk ned klipparen till en klipphöjd på 76 mm.
Lossa skruven på respektive remkåpa.
Frigör klippdäckskjolen genom att ta bort saxpinnen. Se Lossa klippdäckets kjol.
Ta bort skyddsplåten. Se Ta bort skyddsplåten.
Ta bort remkåporna (Figur 59).

Använd en â…œ tums spärrhake i det fyrkantiga hålet i mellandrevsarmen för att lossa spänningen från mellanremskivfjädern (Figur 60).
Ta bort remmen från klippdäcksskivorna och kopplingsskivan.
Ta bort remstyrningen på den fjäderbelastade mellandrevsarmen (Figur 60).
Ta bort remmen.
Montera en ny rem runt klipparremsskivorna och kopplingsskivan under motorn (Figur 60).

Montera remstyrningen på mellandrevsarmen (Figur 60).
Använd en â…œ tums spärrhake i det fyrkantiga hålet för att montera mellanremskivfjädern (Figur 60).
Note: Se till att fjäderändarna sitter i förankringsspåren.
Sätt tillbaka remkåporna (Figur 61).

Parkera maskinen på en plan yta, koppla ur knivreglagebrytaren (kraftuttaget) och koppla in parkeringsbromsen.
Stäng av motorn, ta ut nyckeln och vänta tills alla rörliga delar har stannat innan du kliver ur förarsätet.
Ta bort klipparremmen. Se Byta ut klipparremmen.
Höj upp maskinen och stötta upp den med pallbockar.
Använd en ½ tums spärrhake eller brytstång i ett av de fyrkantiga hålen i mellandrevsarmen för att lossa spänningen från mellanremskivfjädern (Figur 62).
Ta bort det befintliga bältet från mellanremskivan, de två hydrauliska pumpdrivskivorna och motordrivskivan (Figur 62).
Montera den nya remmen runt mellanremskivan, motorremskivan och de två hydrauliska pumpdrivskivorna (Figur 62).
Använd en ½ tums spärrhake eller brytstång i ett av de fyrkantiga hålen för att montera fjädern.
Note: Se till att fjäderändarna sitter i förankringsspåren.
Montera klipparremmen. Se Byta ut klipparremmen.

Se Justera rörelsereglagelänken om reglagens ändar slår mot varandra.
Du kan höja eller sänka rörelsereglagespakarna för maximal komfort.
Parkera maskinen på en plan yta, koppla ur knivreglagebrytaren (kraftuttaget) och koppla in parkeringsbromsen.
Stäng av motorn, ta ut nyckeln och vänta tills alla rörliga delar har stannat innan du kliver ur förarsätet.
Lossa beslaget som håller fast reglagespaken vid reglagearmen.

För reglaget till nästa hålpar. Fäst reglaget med beslaget.
Gör likadant med det andra gasreglaget.
Parkera maskinen på en plan yta, koppla ur knivreglagebrytaren (kraftuttaget) och koppla in parkeringsbromsen.
Stäng av motorn, ta ut nyckeln och vänta tills alla rörliga delar har stannat innan du kliver ur förarsätet.
Lossa på den övre skruv som håller fast reglagespaken vid reglagearmen.
Lossa den nedre skruven såpass mycket att du kan svänga reglagespaken framåt och bakåt. Dra åt båda skruvarna ordentligt för att säkra spaken i det nya läget.
Gör likadant med det andra gasreglaget.

Pumpstyrlänkarna sitter under sätet på båda sidorna av maskinen. Vrid slutskruven med en ½ tums hylsnyckel för att finjustera inställningarna så att maskinen inte rör sig i neutralläget. Eventuella justeringar ska endast göras för neutralläget.
För att du ska kunna utföra justeringarna måste motorn vara igång och drivhjulen snurra. Kontakt med rörliga delar eller varma ytor kan leda till personskador.
Håll fingrar, händer och kläder borta från roterande delar och varma ytor.
Parkera maskinen på en plan yta, koppla ur knivreglagebrytaren (kraftuttaget) och koppla in parkeringsbromsen.
Stäng av motorn, ta ut nyckeln och vänta tills alla rörliga delar har stannat innan du kliver ur förarsätet.
Tryck på däcklyftpedalen, ta bort klipphöjdssprinten och sänk ned klippdäcket till marken.
Höj upp maskinens bakdel och stötta med domkrafter (eller liknande stöd) så att maskinen är precis så högt över marken att drivhjulen kan snurra fritt.
Ta bort elanslutningen från sätets säkerhetsbrytare, som finns under sätets nedre dyna.
Note: Brytaren är en del av sätesenheten.
Montera tillfälligt en bygel över huvudkablagets anslutningar.
Starta motorn och kör den på full gas. Koppla ur parkeringsbromsen.
Note: Kontrollera att parkeringsbromsen är inkopplad och att rörelsereglagespakarna är i det yttre läget innan du startar motorn. Du måste inte sitta i sätet.
Kör maskinen i minst fem minuter med drivningsspakarna på full hastighet för körning framåt för att få upp hydraulvätskan till driftstemperatur.
Note: Rörelsereglagespakarna ska vara i neutralläget när du gör eventuella justeringar.
För rörelsereglagespakarna till NEUTRALLäGET.
Kontrollera och säkerställ att styrenhetsplattans flikar vidrör plattorna för återgång till neutralläget på de hydrauliska enheterna.
Justera pumpreglagestångens längd genom att vrida muttern i rätt riktning tills hjulen rör sig långsamt bakåt (Figur 65 och Figur 66).


För rörelsereglagen till BACKLäGET. Tryck försiktigt på reglaget och låt bakåtindikatorfjädrarna föra reglagen tillbaka till neutralläget.
Note: Hjulen ska sluta att snurra eller rotera långsamt bakåt.
Note: Du kanske behöver ta bort rörelsereglagekåpan för att komma åt.
Stäng av maskinen.
Ta bort bygeln från kablagekontakten och anslut kontakten till sätesomkopplaren.
Ta bort domkrafterna.
Höj upp klippdäcket och montera klipphöjdssprinten.
Kontrollera och säkerställ att maskinen inte kryper i neutralläget när parkeringsbromsen är urkopplad.
Sök omedelbart läkare om du träffas av en stråle hydraulvätska och vätskan tränger in i huden. Vätska som trängt in i huden måste opereras bort inom några få timmar av en läkare.
Se till att alla hydrauloljeslangar och -ledningar är i gott skick och att alla hydraulanslutningar och -kopplingar är ordentligt åtdragna innan hydraulsystemet trycksätts.
Håll kropp och händer borta från småläckor eller munstycken som sprutar ut hydraulvätska under högtryck.
Använd en kartong- eller pappersbit för att hitta hydraulläckor.
Lätta på allt tryck i hydraulsystemet på ett säkert sätt innan något arbete utförs i hydraulsystemet.
Hydraulvätsketyp: Toro® HYPR-OIL™ 500-hydraulvätska
Important: Använd angiven vätska. Andra vätskor kan skada hydraulsystemet.
Hydraulisk systemkapacitet (utan filter): 7,57 liter
| Underhållsintervall | Underhållsförfarande |
|---|---|
| Varje användning eller dagligen |
|
Låt hydraulvätskan svalna. Kontrollera oljenivån när vätskan är kall.
Kontrollera expansionstanken och fyll vid behov på med Toro® HYPR-OIL™ 500-hydraulolja till linjen FULL COLD (Figur 67).

| Underhållsintervall | Underhållsförfarande |
|---|---|
| Efter de första 100 timmarna |
|
Filtren måste tas bort innan hydraulvätskan kan bytas. Byt ut båda samtidigt. Vätskespecifikationer finns i Specifikationer för hydraulvätskan.
Avlufta systemet när du har monterat de nya filtren och fyllt på vätska. Se Lufta hydraulsystemet. Upprepa avluftningen tills vätskenivån stabiliseras vid linjen FULL COLD i tanken.
Important: Om du inte utför denna procedur kan det leda till skador på växellådans drivsystem som inte går att reparera.
Parkera maskinen på en plan yta, koppla ur knivreglagebrytaren (kraftuttaget) och koppla in parkeringsbromsen.
Stäng av motorn, ta ut nyckeln och vänta tills alla rörliga delar har stannat innan du kliver ur förarsätet.
Låt motorn svalna.
Använd en förlängning och en 7/16 tums hylsa för att öppna avluftarpluggen från maskinens ovansida genom hålen vid störtbågsfästena (Figur 68).
Note: Se till att spara ventilpluggen efter att du tagit bort den då den lätt kan tappas bort.

Gör försiktigt rent området runt filtret.
Important: Låt inte smuts komma in i hydraulsystemet eftersom det kan orsaka föroreningar.
Sätt ett avtappningskärl under filtret för att samla upp den vätska som tappas ur när filtret och avluftarpluggarna tas bort.
Ta bort kåpan för hydraulvätskans filter från växellådan för att tömma vätskan (Figur 69).

Ta bort och kassera o-ringen från filterkåpan.
Ta bort filtret från växellådshuset efter att växellådan tappats på hydraulvätska.
Upprepa proceduren på den andra sidan av maskinen.
Montera ett nytt filter i växellådan och en ny o-ring på filterkåpan.
Montera filterkåpan.
Dra åt låsmuttern med vridmoment 22,6–33,8 Nm.
Ta bort locket från expansionstanken och fyll på växellådorna med angiven vätska till korrekt vätskekapacitet.
Note: Påfyllning av växellådorna kan ta längre tid än man tror.
Montera de tidigare borttagna avluftarpluggarna och dra åt pluggarna med vridmoment 395–904 Ncm.
Gå vidare till Lufta hydraulsystemet.
Important: Om du inte utför proceduren som beskrivs i Lufta hydraulsystemet när du har bytt hydraulfilter och -vätska kan det leda till skador på växellådedrivsystemet som inte kan åtgärdas.
Höj upp maskinens bakdel och stötta med domkrafter (eller liknande stöd) så att maskinen är precis så högt över marken att drivhjulen kan snurra fritt.

Starta motorn, flytta gasreglaget framåt till halvgasläget och lossa parkeringsbromsen.
För förbikopplingsreglagen till läget för påskjutning av maskinen. Ha överströmningsventilerna öppna, låt motorn gå och för sakta rörelsereglagen både framåt och bakåt fem eller sex gånger.
För förbikopplingsreglagen till läget för körning av maskinen.
Stäng överströmningsventilen, låt motorn gå och för sakta styrspaken både framåt och bakåt fem till sex gånger.
Stäng av motorn och kontrollera vätskenivån i expansionstanken. Fyll på angiven vätska tills nivån når upp till linjen FULL COLD i expansionstanken.
Upprepa steg 2 tills systemet har tömts helt på luft.
Note: När ljudet från växellådan är normalt och maskinen går jämnt framåt och bakåt med normal hastighet har växellådan tömts på luft.
Kontrollera vätskenivån i expansionstanken en sista gång. Fyll på angiven vätska tills nivån når upp till linjen FULL COLD i expansionstanken.
Kontrollera om knivarna är slitna eller skadade med jämna mellanrum.
Var försiktig när du kontrollerar knivarna. Linda in knivarna i något eller ta på dig handskar, och var försiktig när du servar knivarna. Knivarna får endast bytas ut eller slipas – de ska aldrig rätas ut eller svetsas.
Var försiktig vid hantering av maskiner med flera knivar, eftersom en roterande kniv kan få andra knivar att rotera.
Byt ut slitna eller skadade knivar och skruvar i satser så att balanseringen bibehålls.
För bästa klippresultat ska knivarna hållas vassa. För att kunna slipa och byta knivar bekvämt är det bra att ha extraknivar till hands.
Parkera maskinen på en plan yta, koppla ur knivreglagebrytaren (kraftuttaget) och koppla in parkeringsbromsen.
Stäng av motorn, ta ut nyckeln och koppla bort tändkablarna från tändstiften.
| Underhållsintervall | Underhållsförfarande |
|---|---|
| Varje användning eller dagligen |
|
Kontrollera eggarna (Figur 71).
Ta bort kniven och slipa den om eggarna är slöa eller har fått hack, se Slipa knivarna.
Kontrollera knivarna, speciellt den böjda delen.
Montera omedelbart en ny kniv om du upptäcker sprickor, slitage eller spårbildning i detta område (Figur 71).

Note: Maskinen måste stå på en plan yta när följande procedur utförs.
Höj klippdäcket till det högsta klippläget.
Bär tjocka vadderade handskar eller annat lämpligt handskydd och rotera långsamt kniven till ett läge så att du kan mäta avståndet mellan knivseggen och det plana underlag som maskinen står på (Figur 72).

Mät från knivspetsen till den plana ytan (Figur 73).

Rotera samma kniv 180 grader så att den motsatta skäreggen nu är i samma läge (Figur 74).

Mät från knivspetsen till den plana ytan (Figur 75).
Note: Skillnaden bör inte vara mer större än 3 mm.

Om skillnaden mellan A och B är större än 3 mm ska kniven bytas ut mot en ny. Se Demontera knivarna och Montera knivarna.
Note: Om en böjd kniv byts ut mot en ny, men skillnaden fortfarande är större än 3 mm, kan knivspindeln vara böjd. Kontakta en auktoriserad återförsäljare för service.
Om skillnaden ligger inom de godkända värdena går du vidare till nästa kniv.
Upprepa proceduren på samtliga knivar.
Byt ut knivarna om de slår i ett hårt föremål eller om kniven är obalanserad eller böjd.
Sätt en skiftnyckel på spindelaxelns plana yta eller håll knivänden med en trasa eller en tjockt vadderad handske.
Ta bort knivskruven, bussningen och kniven från spindelaxeln (Figur 76).

Slipa eggarna i båda ändarna av kniven med en fil (Figur 77).
Note: Behåll ursprungsvinkeln.
Note: Kniven behåller balanseringen om samma mängd material avlägsnas från båda eggarna.

Kontrollera knivens balans med en knivbalanserare (Figur 78).
Note: Om kniven stannar kvar i ett horisontellt läge är den i balans och kan användas.
Note: Om kniven inte är balanserad kan du fila bort lite metall från knivens segeldel (Figur 77).

Upprepa proceduren tills kniven är balanserad.
Montera bussningen genom kniven med bussningsflänsen på knivens undersida (grässidan) (Figur 79).

Montera bussningen/knivanordningen i spindelaxeln (Figur 80).

Applicera kopparbaserat smörjmedel eller fett på knivskruvens gängor efter behov för att förhindra kärvning. Montera knivskruven och dra åt för hand.
Sätt en skiftnyckel på spindelaxelns plana yta och vrid åt knivskruven till 75–81 Nm.
Kontrollera att klippdäcket är plant när du monterar klipparen eller om du märker att din gräsmatta blir ojämnt klippt.
Kontrollera att klippdäckets knivar inte är böjda innan balansering och ta bort och byt ut alla böjda knivar. Se Serva knivarna innan du fortsätter.
Ställ in klippdäckets lutning i sidled innan du justerar den främre-bakre lutningen.
Krav:
Maskinen måste stå på en plan yta.
Alla däck måste ha rätt tryck. Se Kontrollera däcktrycket.
Parkera maskinen på en plan yta, koppla ur knivreglagebrytaren (kraftuttaget) och koppla in parkeringsbromsen.
Stäng av motorn, ta ut nyckeln och vänta tills alla rörliga delar har stannat innan du kliver ur förarsätet.
Kontrollera däcktrycket i drivhjulen. Se Kontrollera däcktrycket.
Placera klippdäcket i transportspärrläget eller den högsta klipphöjdsinställningen.
Vrid försiktigt på knivarna så att de pekar åt samma håll.
Mät mellan knivens spets och den plana ytan (Figur 81). Om inget av måtten är inom 5 mm måste de justeras. Fortsätt åtgärden.

Kontrollera den främre-bakre knivlutningen (Figur 82). Kontrollera att den främre knivens spets är lägre än den bakre knivens spets som visas tabellen över klosshöjd och räfsor. Om justering behövs ska du fortsätta med åtgärden.

Ställ in antiskalpvalsarna i de översta hålen eller ta bort dem helt när du gör den här justeringen.
Lyft upp klippdäcket till transportläget (140 mm).
Lossa långsamt justeringsskruven på lyfthjälpsfjädern tills du kan ta bort skruven (Figur 83).
Note: Spara skruven till monteringen.

Placera två klossar (se Tabell över klosshöjd och räfsor) under den bakre kanten på klippdäckets kjol, en på vardera sida av klippdäcket (Figur 84).
Ställ in klipphöjdsreglaget på 76 mm. Se Justera klipphöjden.
Lägg två klossar under var sida av däckets framkant, men inte under antiskalpvalsens fästen eller svetsfogar.

| Klippenhetsstorlek | Främre klosshöjd | Räfsa |
| Alla klippdäck | 73 mm | 4,8 till 6,4 mm |
Vrid försiktigt på knivarna i sidled (Figur 81).
Sänk klippdäcket till inställningen 76 mm. Se Justera klipphöjden.
Lossa låsmuttrarna (Figur 85) i alla fyra hörnen och säkerställ att klippdäcket sitter fast ordentligt på alla fyra klossar.
Se till att däckhållarna inte är slaka och att däcklyftsfotspaken är tryckt så långt tillbaka det går.
Dra åt de fyra låsmuttrarna.

Kontrollera att klossarna sitter säkert fast under däckkjolen och att skruvarna är åtdragna
Fortsätt att balansera däcket genom att kontrollera den främre-bakre knivlutningen.
Kontrollera att knivarna är balanserade, och upprepa proceduren för balansering av däcket vid behov.
Lyft upp klippdäcket till transportläget (140 mm).
Montera lyfthjälpsfjäderns justeringsskruv som tidigare togs bort i steg 10.
Ställ in avståndet mellan fjädern och fästet till 22–29 mm.
Lås de fjäderbelastade däckarmarna innan du servar eller tar bort klippdäcket.
Parkera maskinen på en plan yta, koppla ur knivreglagebrytaren (kraftuttaget) och koppla in parkeringsbromsen.
Stäng av motorn, ta ut nyckeln och vänta tills alla rörliga delar har stannat innan du kliver ur förarsätet.
Sänk ned klipparen till en klipphöjd på 76 mm.
Frigör klippdäckskjolen genom att ta bort saxpinnen. Se Lossa klippdäckets kjol.
Ta bort remkåporna.
Lossa klippdäckets remskiva och ta bort klippremmen. Se Underhålla remmarna.
Ta bort skruvar och muttrar från den främre delen av plattan under fotstödet.
Ta bort och spara skruvarna och muttrarna på båda sidor av maskinen (Figur 86).

För ut klippdäcket på maskinens högra sida.
Om utkastaröppningen inte är täckt kan maskinen slunga ut föremål i riktning mot föraren eller kringstående och därmed orsaka allvarliga skador. Det skulle också kunna medföra kontakt med knivarna.
Kör aldrig maskinen utan en mullplåt, en utkastarriktare eller ett gräsuppsamlingssystem.
Ta bort låsmuttern, skruven, fjädern och distansbrickan som håller fast gräsriktaren på tappfästena (Figur 87).
Demontera den skadade eller slitna gräsriktaren (Figur 87).

Sätt distansbrickan och fjädern på gräsriktaren.
Placera fjäderns ena J-formade ände bakom däckkanten.
Note: Kontrollera att den ena av fjäderns J-formade ändar sitter bakom däckkanten innan du monterar skruven enligt Figur 87.
Montera skruven och muttern.
Placera fjäderns 1 J krokformade ände runt gräsriktaren (Figur 87).
Important: Gräsriktaren måste kunna rotera. Lyft upp riktaren till det helt öppna läget och kontrollera att den roterar ned helt.
| Underhållsintervall | Underhållsförfarande |
|---|---|
| Efter varje användning |
|
Parkera maskinen på en plan yta, koppla ur knivreglagebrytaren (kraftuttaget) och koppla in parkeringsbromsen.
Stäng av motorn, ta ut nyckeln och vänta tills alla rörliga delar har stannat innan du kliver ur förarsätet.
Höj upp klippdäcket till TRANSPORTLäGET.
Använd tryckluft för att rengöra fjädringssystemet.
Note: Rengör inte stötenheterna med vatten under tryck (Figur 88).

Motorolja, batterier, hydraulvätska och kylarvätska förorenar miljön. Kassera dessa produkter i enlighet med gällande statliga och lokala föreskrifter.
Stäng av motorn, ta ut nyckeln och vänta tills alla rörliga delar har stannat innan du kliver ur förarsätet. Låt maskinen svalna innan du utför service, justerar, rengör eller ställer den i förvar.
Förvara varken maskinen eller bränsle i närheten av öppna lågor, och tappa inte ur bränsle inomhus eller inuti en sluten släpvagn.
Förvara inte maskinen eller bränslebehållaren i närheten av en öppen låga, gnista eller tändlåga, t.ex. nära en varmvattenberedare eller annan utrustning.
Koppla ur knivreglagebrytaren (kraftuttaget) och koppla in parkeringsbromsen.
Stäng av motorn, ta ut nyckeln och vänta tills alla rörliga delar har stannat innan du kliver ur förarsätet.
Avlägsna gräsklipp, smuts och smörja från maskinens utvändiga delar. Var särskilt noga med motorn och hydraulsystemet. Rensa bort smuts och skräp från utsidan av motorns kylflänsar och fläkthus.
Important: Tvätta maskinen med ett milt rengöringsmedel och vatten. Högtryckstvätta inte maskinen. Undvik att använda alltför mycket vatten, särskilt nära kontrollpanelen, motorn, hydraulpumparna och motorerna.
Kontrollera parkeringsbromsens funktion. Se Justera parkeringsbromsen.
Serva luftrenaren. Se Serva luftrenaren.
Smörj maskinen; se Smörja maskinen.
Byt oljan i vevhuset; se Serva motoroljan.
Kontrollera lufttrycket i däcken, se Kontrollera däcktrycket.
Byt hydraulfiltren, se Byta ut hydraulvätskan och hydraulfiltren.
Ladda batteriet, se Ladda batteriet.
Skrapa bort eventuella ansamlingar av gräs och smuts från klipparens undersida, och tvätta sedan klipparen med en trädgårdsslang.
Note: Kör maskinen med knivreglagebrytaren (kraftuttaget) inkopplad och motorn på hög tomgång under 2 till 5 minuter efter tvätt.
Kontrollera knivarnas skick, se Serva knivarna.
Förbered maskinen för förvaring om den ska stå oanvänd i över 30 dagar. Förbered maskinen för förvaring på följande sätt:
Tillsätt en oljebaserad stabiliserare/konditionerare till bränslet i tanken. Följ tillverkarens blandningsanvisningar. Använd inte en alkoholbaserad stabiliserare (etanol eller metanol).
Note: En stabiliserare/konditionerare fungerar effektivast när den blandas med färskt bränsle och alltid används.
Kör motorn för att fördela stabiliserat bränslet i bränslesystemet (5 minuter).
Stäng av motorn, låt den svalna och töm bränsletanken.
Starta motorn igen och kör den tills den stannar.
Kassera bränslet på lämpligt sätt. Återvinn bränsle enligt lokala föreskrifter.
Important: Förvara inte bränsle som innehåller stabiliserare/konditionerare längre än den tid som rekommenderas av bränslestabiliserarens tillverkare.
Lossa tändstiften och kontrollera deras skick. Se Serva tändstiftet. Häll i två matskedar (30 ml) motorolja i tändstiftshålet när stiftet/stiften har tagits bort. Använd elstarten för att dra runt motorn och sprida oljan inuti cylindern. Montera tändstiften. Sätt inte på tändkabeln.
Kontrollera och dra åt alla bultar, muttrar och skruvar. Reparera eller byt ut skadade delar.
Måla i lackskador och bara metallytor. Färg finns att köpa hos din närmaste auktoriserade återförsäljare.
Förvara maskinen i ett rent och torrt garage eller lagerutrymme. Ta ut nyckeln ur tändningslåset och förvara den utom räckhåll för barn och andra obehöriga användare. Täck över maskinen för att skydda den och hålla den ren.
| Problem | Possible Cause | Corrective Action |
|---|---|---|
| Motorn överhettas. |
|
|
| Startmotorn startar inte. |
|
|
| Motorn startar inte, är trögstartad eller stannar efter en stund. |
|
|
| Motorn tappar kraft. |
|
|
| Klipparen drar åt vänster eller höger (med reglagen riktade framåt). |
|
|
| Maskinen driver inte. |
|
|
| Maskinen vibrerar på ett onormalt sätt. |
|
|
| Klipphöjden är ojämn. |
|
|
| Knivarna roterar inte. |
|
|
| Kopplingen kopplar inte in. |
|
|

