| Intervalo de mantenimiento y servicio | Procedimiento de mantenimiento |
|---|---|
| Cada vez que se utilice o diariamente |
|
Esta máquina es un vehículo dedicado de fumigación del césped, diseñado para ser usado por operadores profesionales contratados en aplicaciones comerciales. Está diseñado principalmente para fumigar en césped bien mantenido en parques, campos de golf, campos deportivos y zonas verdes comerciales
Esta máquina está diseñada principalmente para el uso fuera de las carreteras y no está previsto su conducción continuada en la vía pública. El uso de este producto para otros propósitos que los previstos podría ser peligroso para usted y para otras personas.
Lea este manual detenidamente para aprender a utilizar y mantener correctamente su producto, y para evitar lesiones y daños al producto. Usted es responsable de utilizar el producto de forma correcta y segura.
Visite www.Toro.com para obtener más información, incluidos consejos de seguridad, materiales de formación, información sobre accesorios, ayuda para encontrar a un distribuidor o para registrar su producto.
Cuando necesite asistencia técnica, piezas genuinas Toro o información adicional, póngase en contacto con un Servicio Técnico Autorizado o con Asistencia al Cliente Toro, y tenga a mano los números de modelo y serie de su producto. Figura 1 identifica la ubicación de los números de modelo y serie en el producto. Escriba los números en el espacio provisto.
Con su dispositivo móvil, puede escanear el código QR de la calcomanía del número de serie (si se incluye) para acceder a información sobre la garantía, las piezas y otros datos sobre el producto.

Este manual identifica peligros potenciales y contiene mensajes de seguridad identificados por el símbolo de alerta de seguridad (Figura 2), que señala un peligro que puede causar lesiones graves o la muerte si usted no sigue las precauciones recomendadas.

Este manual utiliza 2 palabras para resaltar información. Importante llama la atención sobre información mecánica especial, y Nota resalta información general que merece una atención especial.
Este producto cumple todas las directivas europeas aplicables; si desea más detalles, consulte la Declaración de Conformidad (Declaration of Conformity – DOC) de cada producto.
El uso o la operación del motor en cualquier terreno forestal, de monte o cubierto de hierba a menos que el motor esté equipado con parachispas (conforme a la definición de la sección 4442) correctamente mantenido en buenas condiciones de funcionamiento, o que el motor haya sido fabricado, equipado y mantenido para la prevención de incendios, constituye una infracción de la legislación de California (California Public Resource Code Section 4442 o 4443).
El manual del propietario del motor adjunto ofrece información sobre las normas de la US Environmental Protection Agency (EPA) y de la California Emission Control Regulation sobre sistemas de emisiones, mantenimiento y garantía. Puede solicitarse un manual nuevo al fabricante del motor.
Si esta máquina está equipada con un dispositivo telemático, consulte a su distribuidor Toro autorizado para obtener instrucciones sobre cómo activar el dispositivo.
CALIFORNIA
Advertencia de la Propuesta 65
Los gases de escape de este producto contienen productos químicos que el Estado de California sabe que causan cáncer, defectos congénitos u otros peligros para la reproducción.
Los bornes, terminales y otros accesorios de la batería contienen plomo y compuestos de plomo, productos químicos reconocidos por el Estado de California como causantes de cáncer y daños reproductivos. Lávese las manos después de manejar el material.
El uso de este producto puede provocar la exposición a sustancias químicas que el Estado de California considera causantes de cáncer, defectos congénitos u otros trastornos del sistema reproductor.
El uso o mantenimiento indebido por parte del operador o el propietario puede causar lesiones. Para reducir el peligro de lesiones, cumpla estas instrucciones de seguridad y preste atención siempre al símbolo de alerta de seguridad (Figura 2), que significa: Cuidado, Advertencia o Peligro – instrucción relativa a la seguridad personal. El incumplimiento de estas instrucciones puede dar lugar a lesiones personales o la muerte.
Este producto puede producir lesiones personales. Siga siempre todas las instrucciones de seguridad con el fin de evitar lesiones personales graves.
Lea y comprenda el contenido de este Manual del operador antes de arrancar el motor.
Dedique toda su atención al manejo de la máquina. No realice ninguna actividad que pudiera distraerle; de lo contrario, podrían producirse lesiones o daños materiales.
Utilice equipos de protección individual (EPI) apropiados para protegerse contra el contacto con los productos químicos. Las sustancias químicas utilizadas en el sistema de fumigación pueden ser peligrosas y tóxicas.
No ponga las manos o los pies cerca de los componentes móviles de la máquina.
No haga funcionar la máquina si no están colocados y funcionando todos los protectores y dispositivos de seguridad.
No se acerque a la zona de descarga de las boquillas de fumigación o a la deriva de la fumigación. Mantenga a otras personas, especialmente a los niños, alejadas de la zona de trabajo.
Nunca permita que la máquina sea utilizada por niños.
Aparque la máquina en una superficie nivelada; accione el freno de estacionamiento; apague el motor; retire la llave (si está equipada) y espere a que se detenga todo movimiento antes de abandonar el puesto del operador. Deje que se enfríe la máquina antes de hacer trabajos de ajuste, mantenimiento, limpieza o almacenamiento.
El uso o mantenimiento incorrecto de esta máquina puede
causar lesiones. Para reducir el peligro de lesiones, cumpla estas
instrucciones de seguridad y preste atención siempre al símbolo
de alerta de seguridad
, que significa: Cuidado, Advertencia o Peligro
– instrucción relativa a la seguridad personal. El incumplimiento
de estas instrucciones puede dar lugar a lesiones personales o la
muerte.
Este manual no cubre todos los aperos adaptables a esta máquina. Consulte las instrucciones de seguridad adicionales proporcionadas en el manual del operador de cada apero.
![]() |
Las pegatinas de seguridad e instrucciones están a la vista del operador y están ubicadas cerca de cualquier zona de peligro potencial. Sustituya cualquier pegatina que esté dañada o que falte. |























Note: Los lados derecho e izquierdo de la máquina se determinan desde la posición normal del operador.
Note: Si tiene alguna duda o necesita más información sobre el sistema de control de fumigación, consulte el Manual del operador suministrado con el sistema.
Important: Este fumigador se vende sin boquillas de fumigación.Para utilizar el fumigador, usted debe obtener e instalar las boquillas. Póngase en contacto con su distribuidor autorizado Toro si desea más información sobre los kits de secciones y accesorios disponibles. Después de instalar las boquillas y antes de usar el fumigador por primera vez, calibre el caudal de fumigación y calibre las válvulas de desvío de sección para que la presión y el caudal de aplicación permanezcan constantes para todas las secciones al desactivar una o más secciones. Consulte Calibración del caudal de fumigación y Calibración de las válvulas de desvío de sección.
Piezas necesarias en este paso:
| Acoplamiento de 90° | 1 |
| Acoplamiento rápido | 1 |
| Adaptador de manguera | 1 |
| Soporte del dispositivo de llenado | 1 |
| Perno con arandela prensada (5/16" x ¾") | 1 |
| Manguera antisifónica | 1 |
Coloque el soporte del dispositivo de llenado sobre el taladro roscado del depósito y fíjelo con una tuerca con arandela prensada (5/16" x ¾"), según se muestra en Figura 3.

Pase el extremo roscado del codo de 90° por el soporte y enrosque sobre el mismo el acoplamiento rápido, fijándolo al soporte (Figura 3).
Note: Instale el dispositivo con el extremo abierto hacia la abertura grande del soporte y la boca de carga del depósito, de manera que el agua forme un arco y caiga en el depósito al llenar éste.
Instale el adaptador de manguera en el acoplamiento rápido (Figura 3).
Bloquee el adaptador en su sitio moviendo las palancas hacia el adaptador y luego fíjelas con los pasadores de horquilla (Figura 3).
Instale la manguera antisifónica a través de la abertura grande del soporte y en el extremo dentado del codo de 90° (Figura 3).
Important: No alargue la manguera permitiendo que entre en contacto con los líquidos del depósito.



El pedal del acelerador (Figura 7) le permite variar la velocidad del fumigador sobre el terreno. Si se presiona el pedal, la velocidad sobre el terreno aumenta. Si se suelta el pedal, el fumigador va más lento y el motor queda en ralentí.

Pise a fondo el pedal del embrague (Figura 7) para desengranar el embrague al arrancar el motor o cambiar de marcha. Suelte el pedal suavemente cuando haya engranado la transmisión para evitar desgastes innecesarios de la transmisión y otras piezas relacionadas.
Important: No deje el pie sobre el pedal del embrague durante el uso. Debe soltar totalmente el pedal del embrague o el pedal patinará, lo que provoca calor y desgaste. No utilice nunca el embrague para mantener la máquina detenida en una pendiente, ya que puede dañar el embrague.
Utilice el pedal de freno para reducir la velocidad o para detener el fumigador (Figura 7).
Los frenos pueden desgastarse o ser ajustados incorrectamente, dando lugar a lesiones personales.
Si puede pisar el pedal del freno a menos de 2,5 cm del suelo de la máquina, ajuste o repare los frenos.
El freno de estacionamiento es una palanca grande situada a la izquierda del asiento (Figura 8). Ponga el freno de estacionamiento cada vez que abandone el asiento para evitar el desplazamiento accidental del fumigador. Para poner el freno de estacionamiento, tire de la palanca hacia arriba y hacia atrás. Para quitarlo, empuje la palanca hacia adelante y hacia abajo. Si el fumigador está aparcado en una cuesta empinada, ponga el freno de estacionamiento y calce las ruedas.

La asistencia en cuestas evita saltos y desplazamientos del fumigador en cuestas al frenar momentáneamente el vehículo mientras el operador mueve el pie del pedal de freno al pedal del acelerador. Para activar la asistencia en cuestas, engrane el embrague y pise firmemente el pedal de freno. Cuando la asistencia en cuestas está activada, el icono de asistencia en cuestas aparece en el InfoCenter; consulte la Guía de software del fumigador de césped Multi Pro 1750. Asistencia en cuestas mantiene la máquina frenada durante 2 segundos después de soltarse el pedal de freno.
Note: La asistencia en cuestas solo frena la máquina momentáneamente y por tanto no puede utilizarse en lugar del freno de estacionamiento.
El bloqueo del diferencial permite bloquear el eje trasero para aumentar la tracción. Puede activar el bloqueo del diferencial (Figura 6) con el fumigador en movimiento. Mueva la palanca hacia adelante y a la derecha para activar el bloqueo.
Note: Puede que sea necesario conducir la máquina hacia delante mientras gira ligeramente para activar o desactivar el bloqueo del diferencial.
Si usted hace un giro con el bloqueo del diferencial puesto, puede perder el control de la máquina.
No conduzca con el bloqueo del diferencial puesto, al hacer giros cerrados o a altas velocidades; consulte Uso del bloqueo del diferencial.
El control del estárter es un pomo pequeño situado detrás del selector de velocidad (Figura 6). Para arrancar el motor cuando está frío, tire hacia arriba del control del estárter. Después de que el motor arranque, regule el estárter para que el motor siga funcionando suavemente. Tan pronto como sea posible, empuje el control hacia abajo, a la posición de DESCONECTADO. Si el motor está caliente, no será necesario usar el estárter, o sólo muy poco.
El selector de velocidad (Figura 6) tiene 5 posiciones: 3 marchas hacia adelante, PUNTO MUERTO y MARCHA ATRáS. El motor sólo arranca si el selector de velocidad está en la posición de PUNTO MUERTO.
El interruptor de encendido (Figura 6) tiene 3 posiciones: PARADA, MARCHA y ARRANQUE. Gire la llave en sentido horario a la posición de ARRANQUE para arrancar el motor y suéltela para que vaya a la posición de MARCHA cuando el motor arranque. Gire la llave a la posición de PARADA para apagar el motor.
Utilice este interruptor para encender y apagar los faros (Figura 6). Muévalo hacia adelante para encender los faros y hacia atrás para apagarlos.
Cuando el selector de velocidad está en la posición de PUNTO MUERTO, puede utilizar el pedal del acelerador para acelerar el motor, y luego empujar hacia adelante el interruptor situado debajo del InfoCenter para fijar esa velocidad de motor. Esto es necesario para poner en marcha la agitación del producto químico con la máquina detenida, o para utilizar accesorios tales como el fumigador manual (Figura 6).
Important: El selector de velocidad debe estar en la posición de PUNTO MUERTO y el freno de estacionamiento debe estar puesto para que funcione el interruptor.
El indicador de combustible está situado en la parte superior del depósito de combustible, en el lado izquierdo de la máquina, y muestra la cantidad de combustible que hay en el depósito.
El interruptor maestro (Figura 6) está situado en el lado de la consola, a la derecha del asiento del operador. Le permite iniciar o detener la operación de fumigación. Accione el interruptor para activar o desactivar el sistema de fumigación.
Los interruptores de las secciones izquierda, central y derecha están situados en el panel de control (Figura 6). Mueva cada interruptor hacia adelante para activar la sección correspondiente y hacia atrás para desactivarla. Cuando el interruptor está activado, se enciende la luz del interruptor. Estos interruptores sólo afectan al sistema de fumigación cuando el interruptor maestro está activado.
El interruptor de la bomba está situado en el panel de control, a la derecha del asiento (Figura 6). Mueva este interruptor hacia adelante para poner en marcha la bomba, o hacia atrás para parar la bomba.
Important: El interruptor de la bomba se acciona únicamente con el motor a ralentí bajo para evitar dañar la transmisión de la bomba.
El interruptor del caudal de aplicación está situado en el panel de control, a la derecha del asiento (Figura 6). Pulse y mantenga pulsado hacia adelante el interruptor para aumentar la presión del sistema de fumigación, o púlselo y manténgalo pulsado hacia atrás para reducir la presión.
El interruptor del supervisor está situado en el panel de control, a la derecha del asiento (Figura 6). Gire la llave en el sentido contrario a las agujas del reloj a la posición de BLOQUEADO para desactivar el interruptor de caudal, impidiendo así que alguien pueda cambiar accidentalmente el caudal de aplicación. Gire la llave en sentido horario a la posición de DESBLOQUEADO para activar el interruptor de caudal.
Los interruptores de elevación de las secciones de brazo están situados en el panel de control y se utilizan para elevar las secciones de brazo exteriores.
El horímetro muestra el número total de horas de funcionamiento del motor. Este número aparece en la primera pantalla del InfoCenter. El horímetro empieza a funcionar cada vez que la llave de contacto es girada a la posición de MARCHA.
Si usted instala el kit de marcador de espuma, tendrá que instalar interruptores en el panel de control para controlar su operación. El fumigador viene con tapones de plástico en los lugares donde irán estos interruptores.
Esta válvula, situada detrás del depósito (Figura 9), controla la cantidad de fluido que se envía a las secciones o la tasa de retorno al depósito.

La válvula maestra (Figura 9) controla el flujo al caudalímetro y a las válvulas de sección.
El caudalímetro mide el caudal del fluido para su uso por el sistema InfoCenter (Figura 9).
Estas válvulas activan y desactivan las secciones derecha, central e izquierda (Figura 9).
La válvula de cierre del desvío de sección redirige el caudal de fluido de una sección al depósito cuando se desactiva esa sección. Puede ajustar las válvulas de desvío para asegurar que la presión de las secciones permanezca constante, cualquiera que sea el número de secciones activadas. Consulte Ajuste las válvulas de desvío de sección.
Esta válvula está situada en la parte trasera del depósito (Figura 9). Cuando la agitación está activada, el caudal se dirige a través de las boquillas de agitación del depósito. Cuando la agitación está desactivada, el caudal es dirigido a través de la aspiración de la bomba.
El manómetro está situado en el panel de control (Figura 6). Este indicador muestra la presión del fluido del sistema en psi y kPa.
La pantalla LCD Del InfoCenter muestra información sobre su máquina y sobre la batería, como la carga actual de la batería, la velocidad, información diagnóstica y más (Figura 6).
Para más información, consulte la Guía de software del Multi Pro 1750.
La válvula de control de agitación se utiliza para reducir el caudal disponible en el circuito de agitación. Proporciona un caudal adicional a las secciones.
Note: Las especificaciones y el diseño están sujetos a modificación sin previo aviso.
| Peso con sistema de fumigación de serie, vacío, sin operador | 953 kg |
| Peso con sistema de fumigación de serie, lleno, sin operador | 1678 kg (3,700 libras) |
| Peso bruto máximo del vehículo (en una superficie nivelada) | 1814 kg (4,000 libras) |
| Longitud total con sistema de fumigación de serie | 343 cm |
| Altura total con sistema de fumigación estándar | 191 cm |
| Altura total con sistema de fumigación de serie hasta la parte superior de las secciones plegadas en forma de 'X' | 246 cm |
| Anchura total con sistema de fumigación de serie, secciones plegadas en forma de X | 178 cm |
| Separación del suelo | 14 cm |
| Distancia entre ejes | 155 cm |
| Capacidad del depósito (incluye el 5% de rebose exigido en la CE) | 662 l |
Está disponible una selección de aperos y accesorios homologados por Toro que pueden utilizarse con la máquina a fin de potenciar y aumentar sus prestaciones. Póngase en contacto con su distribuidor Toro autorizado.
Para asegurar un rendimiento óptimo y la continuada certificación de seguridad de la máquina, utilice únicamente piezas y accesorios genuinos Toro. Las piezas de repuesto y accesorios de otros fabricantes podrían ser peligrosos, y su uso podría invalidar la garantía del producto.
Note: Los lados derecho e izquierdo de la máquina se determinan desde la posición normal del operador.
No deje nunca que la máquina la utilicen o mantengan niños o personas que no hayan recibido la formación adecuada. La normativa local puede imponer límites sobre la edad del operador. El propietario es responsable de proporcionar formación a todos los operarios y mecánicos.
Familiarícese con la operación segura del equipo, los controles del operador y las señales de seguridad.
Antes de abandonar el puesto del operador, haga lo siguiente:
Aparque la máquina en una superficie nivelada.
Ponga la transmisión en la posición de PUNTO MUERTO (manual) o en la posición de APARCAR (automática).
Accione el freno de estacionamiento.
Apague el motor y retire la llave (si está equipada).
Espere a que se detenga todo movimiento.
Sepa cómo parar rápidamente la máquina y apagar el motor.
Compruebe que los controles de presencia del operador, los interruptores de seguridad y los protectores están instalados y que funcionan correctamente. No utilice la máquina si no funcionan correctamente.
Si la máquina no funciona correctamente o si está dañada de alguna manera, no utilice la máquina. Corrija el problema antes de utilizar la máquina o el apero.
Asegúrese de que todos los conectores de las líneas hidráulicas están apretados, y que todas las mangueras están en buenas condiciones antes de aplicar presión al sistema.
Extreme las precauciones al manejar combustible. Es inflamable y sus vapores son explosivos.
Apague cualquier cigarrillo, cigarro, pipa u otra fuente de ignición.
Utilice solamente un recipiente de combustible homologado.
No retire el tapón de combustible ni rellene de combustible el depósito mientras el motor está en marcha o está caliente.
No añada ni drene combustible en un lugar cerrado.
No guarde la máquina o un recipiente de combustible en un lugar donde pudiera haber una llama desnuda, chispas o una llama piloto, por ejemplo en un calentador de agua u otro electrodoméstico.
Si se derrama combustible, no intente arrancar el motor; evite crear fuentes de ignición hasta que los vapores del combustible se hayan disipado.
Las sustancias químicas utilizadas en el sistema de fumigación pueden ser peligrosas y tóxicas para usted y para otras personas, y para los animales, y pueden dañar las plantas, el suelo y otros bienes.
Lea la información sobre cada producto químico. ¡Niéguese a utilizar o trabajar con el fumigador si esta información no está disponible!
Antes de trabajar con un sistema de fumigación, asegúrese de que ha sido neutralizado y sometido a un triple enjuague con arreglo a las recomendaciones de los fabricantes de los productos químicos, y que todas las válvulas han sido abiertas y cerradas 3 veces.
Compruebe que hay un suministro adecuado de agua limpia y jabón en las inmediaciones, y lávese inmediatamente para eliminar cualquier producto químico que entre en contacto con usted.
Lea cuidadosamente y observe las indicaciones de todas las etiquetas de advertencia y Fichas de Datos de Seguridad (FDS) respecto a todos los productos químicos utilizados, y protéjase siguiendo las instrucciones del fabricante de los mismos.
Proteja siempre su cuerpo mientras utiliza productos químicos. Utilice equipos de protección individual (EPI) apropiados para protegerse contra el contacto con los productos químicos, por ejemplo:
gafas de seguridad y/o pantalla facial
un traje de protección para productos químicos
una máscara respiratoria o mascarilla
guantes resistentes a sustancias químicas
calzado de goma u otro calzado resistente
una muda de ropa limpia, jabón y toallas desechables
Obtenga una formación correcta antes de usar o manipular productos químicos.
Utilice el producto químico correcto para cada trabajo.
Siga las instrucciones del fabricante del producto químico respecto a la aplicación segura del producto. No supere la presión de aplicación recomendada del sistema.
No llene, calibre ni limpie la máquina si hay otras personas, especialmente niños, o animales domésticos en la zona.
Los productos químicos deben manipularse en una zona bien ventilada.
No coma, beba ni fume mientras trabaje cerca de productos químicos.
No limpie las boquillas de fumigación soplando a través de ellas, y no las meta en la boca.
Lávese siempre las manos y otras zonas expuestas del cuerpo lo antes posible después de trabajar con productos químicos.
Guarde los productos químicos en su embalaje original, en un lugar seguro.
Elimine correctamente los productos químicos no utilizados y los recipientes de productos químicos siguiendo las indicaciones del fabricante del producto químico y la normativa local.
Los productos químicos y los vapores son peligrosos; no entre nunca en el depósito ni coloque la cabeza sobre o en la boca de carga de un depósito.
Observe toda la normativa local, estatal y federal aplicable sobre el esparcido o la fumigación de productos químicos.
El motor se suministra con aceite en el cárter; no obstante, debe verificarse el nivel de aceite antes y después de arrancar el motor por primera vez.
Coloque la máquina en una superficie nivelada.
Retire la varilla y límpiela con un paño limpio (Figura 10).
Introduzca la varilla en el tubo asegurándose de que entre a fondo. Retire la varilla y compruebe el nivel de aceite.

Si el nivel de aceite es bajo, retire el tapón de llenado de la cubierta de la válvula (Figura 10) Y AñADA ACEITE POR EL ORIFICIO HASTA QUE EL NIVEL LLEGUE A LA MARCA LLENO DE LA VARILLA; EL TIPO Y LA VISCOSIDAD CORRECTOS FIGURAN EN LA SECCIóN .Mantenimiento del motor
Note: Añada el aceite lentamente y compruebe el nivel a menudo durante este proceso. No llene demasiado.
Coloque la varilla firmemente.
| Intervalo de mantenimiento y servicio | Procedimiento de mantenimiento |
|---|---|
| Cada vez que se utilice o diariamente |
|
Infle los neumáticos a 1,38 bar. Inspeccione los neumáticos para asegurarse de que no están desgastados ni dañados.
Note: Sustituya cualquier neumático desgastado o dañado.
| Combustible de petróleo | Utilice gasolina sin plomo con un octanaje de 87 o más (método (R + M)/2). |
| Mezcla de combustible con etanol | Es aceptable el uso de una mezcla de gasolina sin plomo con hasta el 10% de etanol (gasohol) o el 15% de MTBE (éter metil tert-butílico) por volumen. El etanol y el MTBE no son lo mismo. |
| No está autorizado el uso de gasolina con el 15 % de etanol (E15) por volumen. No utilice nunca gasolina que contenga más del 10% de etanol por volumen, como por ejemplo la E15 (contiene el 15% de etanol), la E20 (contiene el 20% de etanol) o la E85 (contiene hasta el 85% de etanol). El uso de gasolina no autorizada puede causar problemas de rendimiento o daños en el motor que pueden no estar cubiertos bajo la garantía. |
Important: Para obtener los mejores resultados, utilice solamente combustible fresco y limpio (comprado hace menos de 30 días).
No utilice gasolina que contenga metanol.
No guarde combustible en el depósito de combustible o en recipientes de combustible durante el invierno, a menos que utilice un estabilizador de combustible.
No añada aceite a la gasolina.
La capacidad del depósito de combustible es de aproximadamente 19 litros.
Note: El tapón del depósito de combustible contiene un indicador que muestra el nivel de combustible; compruébelo frecuentemente.
Aparque la máquina en una superficie nivelada, accione el freno de estacionamiento, apague el motor y retire la llave.
Limpie la zona alrededor del tapón del depósito de combustible (Figura 11).

Retire el tapón del depósito de combustible.
Llene el depósito hasta una distancia de 2,5 cm aproximadamente desde la parte superior del depósito (la parte inferior del cuello de llenado).
Note: Este espacio de aire en el depósito permite la dilatación del combustible. No llene demasiado el depósito.
Instale el tapón del depósito de combustible firmemente en el depósito.
Limpie cualquier combustible derramado.
| Intervalo de mantenimiento y servicio | Procedimiento de mantenimiento |
|---|---|
| Cada vez que se utilice o diariamente |
|
Para asegurar un rendimiento correcto y una larga vida del fumigador, siga estas pautas durante las 100 primeras horas de operación:
Compruebe regularmente los niveles de fluidos y del aceite del motor y esté atento a cualquier signo de sobrecalentamiento en cualquier componente del fumigador.
Después de arrancar un motor frío, deje que se caliente durante unos 15 segundos antes de acelerar.
Para optimizar el sistema de frenos, debe bruñir (rodar) los frenos de la siguiente manera:
Cargue 454 L de agua en el depósito.
Lleve la máquina a una zona abierta y llana.
Conduzca la máquina a velocidad máxima.
Aplique los frenos rápidamente.
Note: Pare la máquina en línea recta sin bloquear las ruedas.
Espere 1 minuto para que los frenos se enfríen.
Repita los pasos 3 a 5 otras 9 veces.
Evite acelerar el motor en vacío.
Varíe la velocidad del fumigador durante la operación. Evite arrancar o detener la máquina de forma súbita.
Consulte respecto a verificaciones especiales en las primeras horas de uso.
Note: Consulte la guía de selección de boquillas, disponible a través de su distribuidor autorizado Toro.
Las torretas de las boquillas pueden aceptar hasta 3 boquillas diferentes. Para seleccionar la boquilla deseada, realice lo siguiente:
Detenga el fumigador en una superficie nivelada, apague el motor y ponga el freno de estacionamiento.
Ponga el interruptor maestro en la posición de DESACTIVADO, y ponga el interruptor de la bomba de fumigación en la posición de DESACTIVADO.
Gire la torreta de boquillas en cualquier sentido para seleccionar la boquilla correcta.
Realice una calibración del caudal de fumigación; consulte Calibración del caudal de fumigación.
Realice una calibración de las válvulas de desvío de sección; consulte Calibración de las válvulas de desvío de sección.
Equipo estándar: filtro de aspiración de malla 50 (azul)
Utilice la tabla de filtro de aspiración para identificar la malla de filtro para las boquillas de fumigación que está utilizando, según los productos químicos o las soluciones con una viscosidad equivalente a agua.
| Código de color de la boquilla de fumigación (caudal) | Tamaño de la malla del filtro* | Código de color del filtro |
|---|---|---|
| Amarillo (0,8 L/min) | 50 | Azul |
| Rojo (1,5 L/min) | 50 | Azul |
| Marrón (1,9 L/min) | 50 (o 30) | Azul (o verde) |
| Gris (2,3 L/min) | 30 | Verde |
| Blanco (3,0 L/min) | 30 | Verde |
| Azul (3,8 L/min) | 30 | Verde |
| Verde (5,7 L/min) | 30 | Verde |
| *El tamaño de la malla de los filtros de aspiración de esta tabla se basan en productos químicos de fumigación o soluciones con una viscosidad equivalente a agua. | ||
Important: Cuando se fumiga con productos químicos de mayor viscosidad (más espesos) o soluciones de polvo humedecible, puede ser necesario utilizar una malla de filtro más abierta para el filtro de aspiración opcional; consulte la Figura 12.

Para fumigar con un caudal de aplicación superior, puede ser conveniente utilizar un filtro de aspiración con malla más abierta; consulte la Figura 13.

Los tamaños de filtro disponibles incluyen:
Equipo estándar: filtro de aspiración de malla 50 (azul)
Utilice la tabla de filtro de presión para identificar la malla de filtro para las boquillas de fumigación que está utilizando, según los productos químicos o las soluciones con una viscosidad equivalente a agua.
| Código de color de la boquilla de fumigación (caudal) | Tamaño de la malla del filtro* | Código de color del filtro |
|---|---|---|
| Tal y como sea necesario para productos químicos o soluciones de baja viscosidad o caudales de aplicación bajos | 100 | Verde |
| Amarillo (0,8 L/min) | 80 | Amarillo |
| Rojo (1,5 L/min) | 50 | Azul |
| Marrón (1,9 L/min) | 50 | Azul |
| Gris (2,3 L/min) | 50 | Azul |
| Blanco (3,0 L/min) | 50 | Azul |
| Azul (3,8 L/min) | 50 | Azul |
| Verde (5,7 L/min) | 50 | Azul |
| Tal y como sea necesario para productos químicos o soluciones de alta viscosidad o caudales de aplicación altos | 30 | Rojo |
| Tal y como sea necesario para productos químicos o soluciones de alta viscosidad o caudales de aplicación altos | 16 | Marrón |
| *El tamaño de la malla de los filtros de presión de esta tabla se basa en productos químicos de fumigación o soluciones con una viscosidad equivalente a agua. | ||
Important: Cuando se fumiga con productos químicos de mayor viscosidad (más espesos) o soluciones de polvo humedecible, puede ser necesario utilizar una malla de filtro más gruesa para el filtro de presión opcional; consulte la Figura 14.

Al fumigar con un caudal de aplicación superior, plantéese utilizar malla más gruesa opcional para el filtro de presión; consulte la Figura 15.

Note: Utilice el filtro opcional de punta de boquilla para proteger la punta de la boquilla de fumigación y aumentar su vida útil.
Utilice la tabla de filtro de punta de boquilla para identificar la malla de filtro para las boquillas de fumigación que está utilizando, según los productos químicos o las soluciones con una viscosidad equivalente a agua.
| Código de color de la boquilla de fumigación (caudal) | Tamaño de la malla del filtro* | Código de color del filtro |
|---|---|---|
| Amarillo (0,8 L/min) | 100 | Verde |
| Rojo (1,5 L/min) | 50 | Azul |
| Marrón (1,9 L/min) | 50 | Azul |
| Gris (2,3 L/min) | 50 | Azul |
| Blanco (3,0 L/min) | 50 | Azul |
| Azul (3,8 L/min) | 50 | Azul |
| Verde (5,7 L/min) | 50 | Azul |
| *El tamaño de la malla de los filtros de boquilla de esta tabla se basa en productos químicos de fumigación o soluciones con una viscosidad equivalente a agua. | ||
Important: Cuando se fumiga con productos químicos de mayor viscosidad (más espesos) o soluciones de polvo humedecible, puede ser necesario utilizar una malla de filtro más gruesa para el filtro de boquilla opcional; consulte la Figura 16.

Al fumigar con un caudal de aplicación superior, plantéese utilizar una malla más gruesa para el filtro de punta; consulte la Figura 17.

Important: No utilice aguas recicladas (aguas grises) en el depósito de agua limpia.
Note: El depósito de agua limpia proporciona un suministro de agua limpia para que usted pueda lavarse los ojos, la piel u otras superficies en el caso de exposición accidental a productos químicos.
Llene siempre el depósito de agua limpia con agua limpia antes de manejar o mezclar productos químicos.
Para llenar el depósito, desenrosque el tapón de la parte superior del depósito, llene el depósito con agua limpia y coloque el tapón (Figura 18).
Para abrir la llave de paso del depósito de agua limpia, gire la palanca de la llave de paso (Figura 18).

Instale el Kit opcional de premezcla de productos químicos para obtener una mezcla óptima y una limpieza perfecta del exterior del depósito.
Important: Si es posible, no utilice aguas recicladas (aguas grises) en el depósito de fumigación.
Important: Asegúrese de que los productos químicos que va a usar son compatibles con el VitonTM (consulte la etiqueta del fabricante, que debe indicar si no es compatible). El uso de un producto químico no compatible con el VitonTM degradará las juntas tóricas del fumigador, causando fugas.
Important: Verifique que se ha ajustado el caudal de aplicación adecuado antes de llenar el depósito con productos químicos.
Ponga en marcha las secciones para purgar el acondicionador del sistema de fumigación.
Detenga el fumigador sobre una superficie nivelada, ponga el selector de velocidad en posición de PUNTO MUERTO, pare el motor y ponga el freno de estacionamiento.
Asegúrese de que la válvula de vaciado del depósito está cerrada.
Determine la cantidad de agua necesaria para mezclar la cantidad de producto químico que necesita, siguiendo las indicaciones del fabricante del producto químico.
Abra la tapa del depósito de fumigación.
Note: La tapa del depósito está situada en la zona central superior del depósito. Para abrirla, gire la parte delantera de la tapa en el sentido contrario a las agujas del reloj y ábrala. El filtro de malla del interior puede ser retirado para su limpieza. Para cerrar el depósito, cierre la tapa y gire la parte delantera en sentido horario.
Añada 3/4 del agua necesaria al depósito de fumigación usando el dispositivo de llenado antisifónico.
Important: Utilice siempre agua limpia y fresca en el depósito de fumigación. No vierta concentrado en un depósito vacío.

Arranque el motor y ponga el interruptor de la bomba en la posición de ACTIVADO.
Pise el pedal del acelerador a fondo y ponga el bloqueo del acelerador en la posición de ACTIVADO.
Gire el interruptor maestro a la posición de DESACTIVADO.
Gire la válvula de agitación a la posición de ACTIVADO.
Añada la cantidad correcta de concentrado de producto químico al depósito, siguiendo las indicaciones del fabricante del producto químico.
Important: Si está usando un polvo humedecible sin agitación completa, mezcle el polvo con una pequeña cantidad de agua para formar una pasta líquida antes de añadirlo al depósito.
Añada el resto del agua al depósito.
Note: Para mejorar la agitación, reduzca el caudal de aplicación.
Important: Después de llenar el depósito por primera vez, compruebe que los flejes del depósito no tienen holgura. Apriete según sea necesario.
| Intervalo de mantenimiento y servicio | Procedimiento de mantenimiento |
|---|---|
| Cada vez que se utilice o diariamente |
|
Important: Si aprieta demasiado las fijaciones de los flejes del depósito, puede deformar y dañar el depósito y los flejes.
Important: Si es posible, no utilice aguas recicladas (aguas grises) en el depósito de fumigación.
Llene el depósito principal de agua.
Compruebe si hay holgura entre los flejes y el depósito (Figura 20).

Si los flejes tienen holgura, apriete las contratuercas con arandela prensada y los pernos del extremo superior de los flejes hasta que los flejes queden apretados contra la superficie del depósito (Figura 20).
Note: No apriete demasiado las fijaciones del fleje del depósito.
Antes de usar el fumigador por primera vez, al cambiar las boquillas o cuando sea necesario, calibre el caudal de fumigación.
Equipos que debe suministrar el operador: Un cronómetro capaz de medir ± 1/10 segundo y un recipiente graduado en incrementos de 50 ml.
Important: Si es posible, no utilice aguas recicladas (aguas grises) en el depósito de fumigación.
Llene el depósito de fumigación con agua limpia.
Note: Asegúrese de que hay suficiente agua en el depósito para completar la calibración.
Ponga el freno de estacionamiento y arranque el motor.
Ponga el interruptor de la bomba en la posición de ACTIVADO y encienda la agitación.
Pise el pedal del acelerador hasta alcanzar la máxima velocidad del motor, y mueva el interruptor de bloqueo del acelerador a la posición de ACTIVADO.
Ponga los interruptores de las 3 secciones y el interruptor maestro en la posición de ACTIVADO.
Gire el interruptor del supervisor (bloqueo de caudal) a la posición de DESBLOQUEADO.
Preparación para una prueba de recogida usando el recipiente graduado.
Empiece a 2,75 bar y utilice el interruptor de caudal para ajustar la presión de fumigación hasta que obtenga las cantidades que aparecen en la tabla siguiente en la prueba de recogida.
Note: Repita la prueba 3 veces y utilice el promedio.
| Color de la boquilla | Milílitros recogidos en 15 segundos | Onzas recogidas en 15 segundos |
| Amarillo | 189 | 6,4 |
| Rojo | 378 | 12,8 |
| Marrón | 473 | 16,0 |
| Gris | 567 | 19,2 |
| Blanco | 757 | 25,6 |
| Azul | 946 | 32,0 |
| Verde | 1419 | 48,0 |
Una vez que haya obtenido los resultados que aparecen en la tabla anterior, ponga el interruptor de bloqueo de caudal del supervisor en la posición de BLOQUEADO.
Desactive el interruptor maestro.
En el InfoCenter, vaya al menú Calibración y seleccione CALIBRACIóN DE CAUDAL:
Note: Para cancelar las calibraciones, seleccione el icono de la pantalla de Inicio en cualquier momento.
Pulse el botón de selección central del InfoCenter dos veces para acceder a los menús.
Entre en el menú Calibración pulsando el botón de selección derecho del InfoCenter.
Resalte CALIBRACIóN DE CAUDAL y pulse el botón de selección derecho del InfoCenter para seleccionar el modo de CALIBRACIóN DE CAUDAL.
En la pantalla siguiente, introduzca la cantidad conocida de agua que se pulverizará con las secciones durante el procedimiento de calibración; consulte la tabla siguiente.
Pulse el botón de selección derecho en el InfoCenter.
Usando los símbolos más (+) y menos (-), introduzca el volumen de acuerdo con la tabla siguiente.
| Color de la boquilla | Litros | Galones US |
| Amarillo | 42 | 11 |
| Rojo | 83 | 22 |
| Marrón | 106 | 28 |
| Gris | 125 | 33 |
| Blanco | 167 | 44 |
| Azul | 208 | 55 |
| Verde | 314 | 83 |
Active el interruptor maestro durante 5 minutos.
Note: A medida que la máquina fumiga, el InfoCenter muestra la cantidad de fluido registrada.
Después de fumigar durante cinco minutos, seleccione la marca de verificación pulsando el botón central del InfoCenter.
Note: Es aceptable que la cantidad en galones mostrada en la pantalla durante el proceso de calibración no coincida con la cantidad conocida de agua introducida en el InfoCenter.
Cierre el interruptor maestro.
Note: Se ha completado la calibración.
Antes de usar el fumigador por primera vez, al cambiar las boquillas, o cuando sea necesario, calibre la velocidad del fumigador.
Important: Si es posible, no utilice aguas recicladas (aguas grises) en el depósito de fumigación.
Llene el depósito con agua limpia.
En una zona llana y abierta, marque una distancia de entre 45 y 152 m.
Note: Toro recomienda marcar una distancia de 152 m para obtener resultados más precisos.
Arranque el motor y conduzca hasta el inicio de la distancia marcada.
Note: Alinee el centro de los neumáticos delanteros con la línea de salida para obtener la medición más exacta.
En el InfoCenter, vaya al menú Calibración y seleccione CALIBRACIóN DE VELOCIDAD.
Note: Para cancelar las calibraciones, seleccione el icono de la pantalla de Inicio en cualquier momento.
Seleccione la flecha Siguiente (→) en el InfoCenter.
Usando los símbolos más (+) y menos (–), introduzca la distancia marcada en el InfoCenter.
Ponga la máquina en marcha en primera velocidad y conduzca la distancia marcada en línea recta a velocidad máxima.
Pare la máquina a la distancia marcada y seleccione la marca de verificación en el InfoCenter.
Note: Para obtener una medición más exacta, ralentice la marcha y detenga la máquina con el centro de los neumáticos delanteros en la línea de meta.
Note: Se ha completado la calibración.
Antes de usar el fumigador por primera vez, al cambiar las boquillas, o cuando sea necesario, calibre el desvío de las secciones de fumigación..
Important: Seleccione una zona abierta y llana para realizar este procedimiento.
Important: Si es posible, no utilice aguas recicladas (aguas grises) en el depósito de fumigación.
Llene el depósito de fumigación hasta la mitad con agua limpia.
Baje las secciones de fumigación.
Mueva el selector de velocidad a la posición de PUNTO MUERTO, y ponga el freno de estacionamiento.
Ponga los 3 interruptores de sección en la posición de ACTIVADO, pero deje en desactivado el interruptor maestro.
Ponga el interruptor de la bomba en la posición de ACTIVADO y encienda la agitación.
Pise el pedal del acelerador hasta alcanzar la máxima velocidad del motor, y mueva el interruptor de bloqueo del acelerador a la posición de ACTIVADO.
En el InfoCenter, vaya al menú Calibración y seleccione VELOCIDAD DE PRUEBA.
Note: Para cancelar las calibraciones, seleccione el icono de la pantalla de Inicio en cualquier momento.
Usando los símbolos más (+) y menos (–), introduzca una velocidad de prueba de 5,6 km/h, y seleccione el icono Inicio.
Gire el interruptor del supervisor (bloqueo de caudal) a la posición de DESBLOQUEADO, y ponga el interruptor maestro en la posición de ACTIVADO.
Utilice el interruptor de caudal para ajustar el caudal de aplicación, según la tabla siguiente.
| Color de la boquilla | SI (métrico) | Inglés | Césped |
| Amarillo | 159 L/ha | 17 gpa | 0,39 gpk |
| Rojo | 319 L/ha | 34 gpa | 0,78 gpk |
| Marrón | 394 L/ha | 42 gpa | 0,96 gpk |
| Gris | 478 L/ha | 51 gpa | 1,17 gpk |
| Blanco | 637 L/ha | 68 gpa | 1,56 gpk |
| Azul | 796 L/ha | 85 gpa | 1,95 gpk |
| Verde | 1190 L/ha | 127 gpa | 2,91 gpk |
Desactive la sección izquierda y ajuste el mando de desvío de la sección (Figura 21) hasta que la presión marcada coincida con el valor previamente ajustado (típicamente 2,75 bar).
Note: Los indicadores numéricos del mando de desvío y la aguja son solamente valores de referencia.

Active la sección izquierda y desactive la sección derecha.
Ajuste el mando de desvío de la sección derecha (Figura 21) hasta que la presión marcada coincida con el valor previamente ajustado (típicamente 2,75 bar).
Active la sección derecha y desactive la sección central.
Ajuste el mando de desvío de la sección central (Figura 21) hasta que la presión marcada coincida con el valor previamente ajustado (típicamente 2,75 bar).
Desactive cada sección.
Pare la bomba.
Note: Se ha completado la calibración.
La Figura 22A muestra la válvula de desvío de agitación en la posición de totalmente abierta.
La Figura 22B muestra la válvula de desvío de agitación en la posición de cerrada (0).
La Figura 22C muestra la válvula de desvío de agitación en la posición intermedia (relativa al manómetro del sistema de fumigación).

| Intervalo de mantenimiento y servicio | Procedimiento de mantenimiento |
|---|---|
| Cada año |
|
Important: Si es posible, no utilice aguas recicladas (aguas grises) en el depósito de fumigación.
Seleccione una zona abierta y llana para realizar este procedimiento.
Llene el depósito de fumigación con agua limpia.
Compruebe que la válvula de control de agitación está abierta. Si ha sido ajustada, ábrala completamente ahora.
Ponga el freno de estacionamiento y arranque el motor.
Ponga el selector de velocidad en PUNTO MUERTO.
Ponga el interruptor de la bomba en la posición de ACTIVADO.
Pise el pedal del acelerador para alcanzar la máxima velocidad del motor, y ponga el bloqueo del acelerador.
Ponga las tres válvulas de sección en la posición de DESACTIVADO.
Ponga el interruptor maestro en la posición de ACTIVADO.
Ajuste la presión del sistema a MáXIMA.
Presione el interruptor de agitación a la posición de DESACTIVADO y lea el manómetro.
Si la lectura permanece en 6.9 bar la válvula de desvío de agitación está correctamente calibrada.
Si el manómetro muestra otra lectura continúe con el paso siguiente.
Ajuste la válvula de desvío de agitación (Figura 23), situada en la parte trasera de la válvula de agitación, hasta que la presión marcada en el manómetro sea de 6,9 bar.

Ponga el interruptor de la bomba en la posición de DESACTIVADO, ponga la palanca del acelerador en la posición de RALENTí, y gire la llave de contacto a la posición de DESCONECTADO.
Important: Si es posible, no utilice aguas recicladas (aguas grises) en el depósito de fumigación.
Note: La válvula maestra de desvío de las secciones reduce o aumenta el caudal enviado a las boquillas de agitación del depósito cuando el interruptor maestro está en la posición de DESACTIVADO.
Llene el depósito de fumigación hasta la mitad con agua limpia.
Mueva la máquina a una superficie abierta y llana.
Accione el freno de estacionamiento.
Ponga el selector de velocidad en la posición de PUNTO MUERTO.
Ponga el interruptor de la bomba en la posición de ACTIVADO.
Ponga el interruptor de agitación en la posición de ACTIVADO.
Ponga el interruptor maestro en la posición de DESACTIVADO.
Aumente la velocidad del motor al máximo y ponga el bloqueo del acelerador en la posición de ACTIVADO.
Ajuste la palanca de la válvula maestra de desvío para controlar la cantidad de agitación en el depósito (Figura 23).
Reduzca la velocidad del motor al ralentí.
Ponga el interruptor de agitación y el interruptor de la bomba en la posición de DESACTIVADO.
Apague la máquina.
La bomba de fumigación está situada debajo del asiento (Figura 24).

El propietario/operador puede prevenir, y es responsable de, cualquier accidente que pueda causar lesiones personales o daños materiales.
Lleve ropa adecuada, incluida protección ocular, pantalón largo, calzado resistente y antideslizante y protección auditiva. Si tiene el pelo largo, recójaselo, y no lleve joyas o prendas sueltas.
Lleve equipos de protección personales adecuados, siguiendo las indicaciones de la sección Seguridad en el manejo de los productos químicos.
Dedique toda su atención al manejo de la máquina. No realice ninguna actividad que pudiera distraerle; de lo contrario, podrían producirse lesiones o daños materiales.
No utilice la máquina si está enfermo, cansado o bajo la influencia de alcohol o drogas.
No lleve pasajeros en la máquina.
Utilice la máquina solamente en condiciones óptimas de visibilidad. Evite baches u otros peligros ocultos.
Antes de arrancar el motor, asegúrese de que usted está en la posición del operador, la transmisión está en la posición de PUNTO MUERTO (manual) o la posición de APARCAR (automática) y el freno de estacionamiento está puesto.
Permanezca sentado cuando la máquina está en movimiento. Mantenga ambas manos en el volante siempre que sea posible, y mantenga siempre los brazos y las piernas dentro del compartimento del operador.
Tenga cuidado al acercarse a esquinas ciegas, arbustos, árboles u otros objetos que puedan dificultar la visión.
Antes de ir hacia atrás, mire hacia atrás y asegúrese de que no hay nadie detrás de usted. Conduzca lentamente en marcha atrás.
No pulverice nunca si hay otras personas, especialmente niños, o animales, cerca.
No utilice la máquina cerca de terraplenes, fosas o taludes. La máquina podría volcar repentinamente si una rueda pasa por un borde o si el borde se desploma.
Reduzca la velocidad al conducir en terrenos accidentados o abruptos y cerca de bordillos, baches y otros cambios bruscos del terreno. La carga puede desplazarse, haciendo que la máquina pierda estabilidad.
Los cambios bruscos de terreno pueden hacer que el volante se mueva repentinamente, lo que podría causar lesiones en manos y brazos. Sujete el volante en su perímetro, sin agarrarlo con fuerza, y mantenga las manos alejadas de los radios del volante.
Pare la máquina, apague el motor, retire la llave, accione el freno de estacionamiento y compruebe si existen daños después de golpear un objeto o si se produce una vibración anormal en la máquina. Realice todas las reparaciones necesarias antes de volver a utilizar la máquina.
Vaya más despacio y tenga cuidado al girar y al cruzar calles y aceras con la máquina. Ceda el paso siempre.
Extreme las precauciones si utiliza la máquina en superficies mojadas, en condiciones meteorológicas adversas, a velocidades más altas o a plena carga. El tiempo y la distancia de parada son mayores en estas condiciones.
No toque el motor o el silenciador con el motor en marcha, o poco después de que el motor se haya parado. Estas zonas pueden estar lo suficientemente calientes como para producir quemaduras.
Antes de abandonar el puesto del operador, haga lo siguiente:
Aparque la máquina en una superficie nivelada.
Ponga la transmisión en la posición de PUNTO MUERTO (manual) o en la posición de APARCAR (automática).
Apague la bomba de fumigación.
Accione el freno de estacionamiento.
Apague el motor y retire la llave (si está equipada).
Espere a que se detenga todo movimiento.
No haga funcionar nunca un motor en un lugar cerrado donde no puedan liberarse los gases de escape.
No utilice la máquina cuando exista riesgo de caída de rayos.
Utilice solamente los accesorios y aperos aprobados por Toro.
Note: Para las máquinas cubiertas en este Manual del operador, una cabina instalada por Toro es un ROPS.
No retire el ROPS de la máquina.
Abroche el cinturón de seguridad y asegúrese de que puede desabrocharlo rápidamente en caso de emergencia. Lleve siempre el cinturón de seguridad.
Compruebe cuidadosamente que no haya obstrucciones en altura, y si las hay, no entre en contacto con ellos.
Mantenga el ROPS en condiciones seguras de funcionamiento, inspeccionándolo periódicamente en busca de daños y manteniendo bien apretadas todas las fijaciones de montaje.
Realice el mantenimiento de los cinturones y límpielos cuando sea necesario.
Sustituya cualquier componente dañado del ROPS. No lo repare ni lo modifique.
Las pendientes son una de las principales causas de accidentes por pérdida de control y vuelcos, que pueden causar lesiones graves o la muerte. Usted es responsable de la seguridad cuando trabaja en pendientes. El uso de la máquina en cualquier pendiente exige un cuidado especial.
Revise las instrucciones que aparecen a continuación sobre la operación de la máquina en pendientes y sobre la manera de determinar si la máquina puede utilizarse en las condiciones reinantes en ese día y lugar de trabajo en concreto. Los cambios en el terreno pueden producir un cambio en el funcionamiento de la máquina en pendientes.
Determine si es seguro trabajar en la pendiente con la máquina; puede ser necesario realizar un estudio detallado de la zona. Utilice siempre el sentido común y el buen juicio al realizar este estudio.
Evite arrancar, parar o girar la máquina en cuestas o pendientes. Desplácese hacia arriba y hacia abajo en las pendientes. Evite realizar cambios bruscos de velocidad o de dirección. Si es imprescindible girar la máquina, gire lenta y gradualmente, cuesta abajo si es posible. Tenga cuidado al ir hacia atrás.
No utilice la máquina si no está seguro de la tracción, la dirección o la estabilidad.
Retire o señale obstrucciones como terraplenes, baches, surcos, montículos, rocas u otros peligros ocultos. La hierba alta puede ocultar obstrucciones. Un terreno irregular puede hacer que la máquina vuelque.
Tenga en cuenta que el uso de la máquina en superficies húmedas, a través de pendientes o en pendientes descendentes puede hacer que la máquina pierda tracción. La pérdida de tracción en las ruedas puede hacer que patinen, con pérdida de frenado y de control de dirección.
Extreme las precauciones cuando utilice la máquina cerca de terraplenes, fosas, taludes, obstáculos de agua u otros obstáculos. La máquina podría volcar repentinamente si una rueda pasa por el borde de un terraplén o fosa, o si se socava un talud. Establezca un área de seguridad entre la máquina y cualquier peligro.
Extreme las precauciones al usar la máquina con accesorios; pueden afectar a la estabilidad de la máquina.
Si el motor se cala o si el vehículo no puede avanzar al subir una cuesta, aplique paulatinamente los frenos y baje la cuesta en línea recta, a baja velocidad, en marcha atrás.
Mantenga siempre una marcha puesta (si es aplicable) mientras baja la máquina por una pendiente.
No aparque la máquina en una pendiente.
El peso del material que contiene el depósito puede modificar las características de manejo de la máquina. Para evitar la pérdida de control y las lesiones personales, siga estas pautas:
Cuando lleve una carga pesada, reduzca la velocidad y deje una distancia de frenado suficiente. No frene bruscamente. Extreme las precauciones en cuestas o pendientes.
Las cargas líquidas se desplazan, sobre todo durante los giros, al subir o bajar pendientes, cuando se cambia repentinamente de velocidad o al conducir sobre terrenos accidentados. Los desplazamientos de la carga pueden hacer que la máquina vuelque.
Utilice el soporte de la radio para guardar una radio portátil mientras conduce la máquina (Figura 25).

Siéntese en el asiento del operador, inserte la llave en el interruptor de encendido y gírela en sentido horario a la posición de MARCHA.
Pise el embrague y ponga el selector de velocidad en PUNTO MUERTO.
Asegúrese de que el interruptor de la bomba está en posición DESACTIVADO.
Si el motor está frío, tire hacia arriba del pomo del estárter.
Important: No utilice el estárter si el motor está caliente.
Gire la llave a la posición de ARRANQUE hasta que el motor arranque.
Important: No mantenga la llave en posición de ARRANQUE durante más de 10 segundos. Si el motor no ha arrancado después de 10 segundos, espere 1 minuto antes de intentarlo de nuevo. No intente empujar o remolcar el fumigador para arrancar el motor.
Cuando el motor arranque, empuje el pomo del estárter lentamente hacia abajo.
Quite el freno de estacionamiento.
Pise a fondo el pedal del embrague.
Mueva la palanca de cambio a la primera velocidad.
Suelte el embrague suavemente mientras pisa el pedal del acelerador.
Cuando la máquina haya alcanzado la velocidad suficiente, retire el pie del pedal del acelerador, pise a fondo el pedal del embrague, mueva la palanca de cambios a la velocidad siguiente y suelte el pedal del embrague mientras pisa el pedal del acelerador. Repita este procedimiento hasta alcanzar la velocidad deseada.
Important: Pare siempre la máquina antes de cambiar de una marcha hacia adelante a marcha atrás, o de marcha atrás a una marcha hacia adelante.
Note: Evite tener el motor funcionando a ralentí durante mucho tiempo.
Utilice la tabla siguiente para determinar la velocidad de avance de una máquina vacía a 3400 RPM.
| Marcha | Relación | Velocidad (km/h) | Velocidad (mph) |
| 1 | 66,4: 1 | 5,6 | 3,5 |
| 2 | 38,1: 1 | 9,8 | 6,1 |
| 3 | 19,6: 1 | 19,2 | 11,9 |
| R | 80,7:1 | 4,7 | 2,9 |
Note: El dejar la llave de contacto en la posición de CONECTADO durante largos periodos de tiempo sin que el motor esté en marcha descargará la batería.
Important: No intente empujar o remolcar la máquina para arrancarla. Podría dañarse el tren de transmisión.
Note: El freno de estacionamiento debe estar puesto, la bomba de fumigación debe estar encendida, y el selector de velocidad debe estar en PUNTO MUERTO para activar el bloqueo del acelerador.
Pise el pedal del acelerador para alcanzar la velocidad deseada del motor.
Mueva el interruptor de bloqueo de velocidad del panel de control a la posición de ACTIVADO.
Para desactivar el bloqueo del acelerador, mueva el interruptor a la posición de DESACTIVADO o pise el pedal de freno o el pedal del embrague.
Note: Antes de activar el bloqueo de velocidad, el operador debe estar sentado en el asiento con el freno de estacionamiento quitado, la bomba encendida y una marcha seleccionada.
Pise el pedal del acelerador para alcanzar la velocidad deseada del motor.
Mueva el bloqueo de velocidad del panel de control a la posición de ACTIVADO.
Para desactivar el bloqueo de velocidad, mueva el interruptor a la posición de DESACTIVADO o pise el pedal de freno o el pedal del embrague.
Pise el embrague y ponga el freno para detener el fumigador.
Tire de la palanca del freno de estacionamiento hacia arriba y hacia atrás para poner el freno.
Mueva el selector de velocidad a PUNTO MUERTO.
Gire la llave de contacto a la posición de PARADA.
Retire la llave de contacto para evitar un arranque accidental.
El bloqueo del diferencial aumenta la tracción del fumigador bloqueando las ruedas traseras, evitando así que patine una de las ruedas. Esto puede ser de ayuda cuando usted tiene que llevar cargas pesadas en zonas mojadas o resbaladizas, al subir cuestas y en superficies de arena. Sin embargo, es importante recordar que esta tracción adicional debe usarse de forma limitada durante periodos cortos. Su uso no sustituye a la operación segura ya comentada para el caso de cuestas y cargas pesadas.
El bloqueo del diferencial hace que las ruedas traseras giren a la misma velocidad. Cuando se utiliza el bloqueo del diferencial, no es posible hacer giros tan cerrados, y los neumáticos pueden dañar el césped. Utilice el bloqueo del diferencial únicamente en caso de necesidad, conduciendo más lentamente y usando sólo la primera o la segunda velocidad.
Un vuelco del fumigador sobre una cuesta o pendiente causará graves lesiones.
La tracción adicional que está disponible con el bloqueo del diferencial puede ser suficiente para provocar situaciones comprometidas, por ejemplo, subir una cuesta demasiado empinada para poder girar. Extreme las precauciones al conducir con el bloqueo del diferencial activado, sobre todo en las pendientes más pronunciadas.
Si el bloqueo del diferencial está activado y usted hace un giro cerrado a alta velocidad y una de las ruedas interiores se levanta del suelo, puede producirse una pérdida de control que podría hacer que el fumigador patinara. Utilice el bloqueo del diferencial únicamente a baja velocidad.
Para usar el fumigador Multi Pro, primero llene el depósito de fumigación, luego aplique la solución a la zona de trabajo, y finalmente limpie el depósito. Realice los 3 pasos sucesivamente para evitar daños al fumigador. Por ejemplo, no se debe mezclar los productos químicos y añadirlos al depósito de fumigación por la noche y luego fumigar por la mañana. Esto conllevaría una separación de los productos químicos y posibles daños a los componentes del fumigador.
Los productos químicos son peligrosos y pueden causar lesiones personales.
Lea las instrucciones de las etiquetas de los productos químicos antes de manipular éstos, y siga todas las recomendaciones y precauciones del fabricante.
Evite el contacto de los productos químicos con la piel. Si entran en contacto con la piel, lave a fondo la zona afectada con jabón y agua limpia.
Lleve gafas protectoras y cualquier otro equipo de protección indicado por el fabricante del producto químico.
El fumigador Multi Pro se ha diseñado específicamente para tener una gran durabilidad, proporcionando una larga vida útil. Para cumplir este objetivo, se han elegido diferentes materiales por razones específicas en diferentes lugares del fumigador. Desgraciadamente, no hay ningún material que sea perfecto para todas las aplicaciones previsibles.
Algunos productos químicos son más agresivos que otros, y cada producto químico tiene diferentes interacciones con diferentes materiales. Algunos materiales (por ejemplo, polvo humedecible, carbón vegetal) tienen una consistencia más abrasiva, y por tanto el ritmo de desgaste es más alto de lo normal. Si un producto químico determinado está disponible en una formulación que proporciona una mayor vida al fumigador, utilice esta formulación alternativa.
Como siempre, recuerde limpiar a fondo el fumigador después de cada aplicación. Ésta es la mejor forma de asegurar una vida larga y sin problemas para su fumigador.
Important: Para asegurar que su solución esté siempre bien mezclada, utilice la agitación siempre que haya solución en el depósito. Para que funcione la agitación, la bomba debe estar encendida y el motor debe estar funcionando más rápidamente que en ralentí. Si usted detiene la máquina y necesita la agitación, ponga el freno de estacionamiento, encienda la bomba, pise el pedal del acelerador a fondo y ponga el bloqueo del acelerador en la posición de ACTIVADO.
Baje las secciones a la posición de trabajo.
Ponga el interruptor de la bomba de fumigación en la posición de ENGRANADO.
Ponga el interruptor maestro en la posición de DESACTIVADO, y ponga los tres interruptores de sección en la posición de ACTIVADO.
Conduzca el fumigador hasta el lugar en el que va a fumigar.
Ponga el interruptor maestro en la posición de ACTIVADO para empezar a fumigar.
Note: El InfoCenter muestra las secciones que tienen activada la fumigación.
Note: Cuando el depósito está casi vacío, la agitación puede causar la formación de espuma en el depósito. Para evitar esto, cierre la válvula de agitación. Alternativamente, puede utilizar un agente antiespuma en el depósito.
Utilice el interruptor de caudal para ajustar y establecer un objetivo.
Cuando termine de fumigar, ponga el interruptor maestro en la posición de DESACTIVADO para cerrar el paso a todas las secciones, luego ponga el interruptor de la bomba en la posición de DESACTIVADO.
Los interruptores de elevación de las secciones, situados en el panel de control del fumigador, le permiten mover las secciones de fumigación exteriores entre la posición de transporte y la posición de fumigación sin abandonar el puesto del operador. Siempre que sea posible, pare la máquina antes de cambiar la posición de las secciones de fumigación.
Aparque la máquina en una superficie nivelada.
Utilice los interruptores de elevación de las secciones de brazo para bajar las secciones exteriores.
Note: Espere a que las secciones de fumigación exteriores alcancen la posición de fumigación, totalmente extendidas.
Aparque la máquina en una superficie nivelada.
Utilice los interruptores de elevación de las secciones de brazo para elevar las secciones hasta que se hayan plegado completamente sobre los soportes de transporte, formando una “X”, y los cilindros de las secciones estén totalmente retraídos.
Important: Suelte los interruptores de elevación de las secciones de brazo cuando las secciones de fumigación exteriores lleguen a la posición deseada. Una presión continua de los actuadores contra los topes mecánicos puede causar daños en los cilindros de elevación y otros componentes hidráulicos.
Important: Asegúrese de que las secciones de fumigación no entran en contacto con ningún objeto en altura mientras están en la posición de transporte, porque esto podría dañar las secciones de fumigación.
Important: Las secciones de fumigación pueden resultar dañadas si son transportadas en otra posición que no sea la posición de transporte en “X” usando los soportes de transporte.

Important: Para evitar daños en el cilindro de elevación, asegúrese de que los actuadores están totalmente retraídos antes de transportar la máquina.
No solape zonas que ha fumigado anteriormente.
Vigile que no se obturen las boquillas. Sustituya cualquier boquilla desgastada o dañada.
Utilice el interruptor maestro para cortar el caudal de fumigación antes de detener el fumigador. Cuando se haya detenido el fumigador, use el control de velocidad del motor para mantener la velocidad del motor lo suficientemente alta como para que no se detenga la agitación.
Obtendrá mejores resultados si el fumigador está en marcha cuando active las secciones de fumigación.
Si una boquilla se obstruye durante la fumigación, limpie la boquilla como se indica a continuación:
Detenga el fumigador en una superficie nivelada, apague el motor y ponga el freno de estacionamiento.
Ponga el interruptor maestro en la posición de DESACTIVADO, y luego ponga el interruptor de la bomba de fumigación en la posición de DESACTIVADO.
Retire la boquilla obstruida y límpiela usando una botella de pulverización con agua y un cepillo de dientes.
Instale la boquilla.
Antes de abandonar el puesto del operador, haga lo siguiente:
Aparque la máquina en una superficie nivelada.
Ponga la transmisión en la posición de PUNTO MUERTO (manual) o en la posición de APARCAR (automática).
Apague la bomba de fumigación.
Accione el freno de estacionamiento.
Apague el motor y retire la llave (si está equipada).
Espere a que se detenga todo movimiento.
Deje que se enfríe la máquina antes de hacer trabajos de ajuste, mantenimiento, limpieza o almacenamiento.
Al final de cada jornada de trabajo con la máquina, lave todos los residuos químicos del exterior de la máquina y asegúrese de que el sistema ha sido neutralizado y sometido a un triple enjuague con arreglo a las recomendaciones de los fabricantes de los productos químicos, y que todas las válvulas han sido abiertas y cerradas 3 veces; consulte Seguridad en el manejo de los productos químicos.
Espere a que se enfríe el motor antes de guardar la máquina en un recinto cerrado.
No guarde nunca la máquina o un recipiente de combustible cerca de una llama desnuda, chispa o llama piloto, por ejemplo en un calentador de agua u otro electrodoméstico.
Mantenga todas las piezas de la máquina en buenas condiciones de funcionamiento y todas las fijaciones bien apretadas.
Substituya todas las pegatinas desgastadas, deterioradas o que falten.
Important: No utilice agua reciclada o salada para limpiar la máquina.
Pare el fumigador, ponga el freno de estacionamiento, apague el motor y retire la llave.
Localice la válvula de vaciado del depósito, situada en el lado izquierdo de la máquina, por delante del depósito de combustible (Figura 27).

Eleve la válvula y muévala hacia la parte interior, hasta que los espárragos de montaje de la válvula salgan de las ranuras en el soporte de la válvula de drenaje y mueva la válvula hacia atrás (Figura 27).
Alinee el extremo de la válvula con el recipiente de vaciado y gire la palanca de la válvula en sentido antihorario a la posición de abierto (Figura 27).
Cuando el depósito se haya vaciado por completo, gire la maneta de la válvula de vaciado a la posición de cerrado y monte la válvula en el soporte de la válvula de vaciado (Figura 27).
Important: Elimine los productos químicos del depósito de fumigación de acuerdo con la normativa local y las instrucciones del fabricante del material.
| Intervalo de mantenimiento y servicio | Procedimiento de mantenimiento |
|---|---|
| Después de cada uso |
|
Important: Utilice únicamente agua limpia para limpiar el fumigador.
Important: Siempre debe vaciar y enjuagar el fumigador, incluyendo cualquier accesorio que esté instalado en el sistema de fumigación, inmediatamente después de cada uso. Si no se limpia y enjuaga el fumigador, los productos químicos pueden secarse y obstaculizar las tuberías, los filtros, las válvulas, los cuerpos de las boquillas, la bomba y otros componentes.
Utilice el kit de enjuague homologado para esta máquina. Póngase en contacto con su distribuidor autorizado Toro para obtener más información.
Note: Las recomendaciones e instrucciones que siguen suponen que el Kit de enjuague de Toro no está instalado.
Limpie el sistema de fumigación y cualquier accesorio de fumigación que esté instalado después de cada sesión de fumigación. Para limpiar totalmente el sistema de fumigación, es necesario enjuagarlo 3 veces.
Llene el depósito con al menos 190 litros de agua limpia, y cierre la tapa.
En los dos primeros enjuagues del sistema, puede utilizar un agente limpiador/neutralizante en el agua, según sea necesario.
Note: En el enjuague final, utilice únicamente agua limpia y clara.
Baje las secciones de fumigación exteriores a la posición de fumigación.
Arranque el motor, ponga el interruptor de la bomba de fumigación en la posición de CONECTADO, y mueva el pedal del acelerador a una velocidad de motor mayor.
Ponga el interruptor de agitación en la posición de ACTIVADO.
Utilice el interruptor de caudal para aumentar la presión a un valor alto.
Ponga los interruptores individuales de las secciones y el interruptor maestro en la posición de ACTIVADO.
Compruebe las boquillas para asegurarse de que todas fumigan correctamente.
Deje que todo el agua del depósito salga en forma de espray por las boquillas.
Ponga el interruptor maestro en la posición de DESACTIVADO, ponga el interruptor de agitación y el interruptor de la bomba de fumigación en la posición de DESACTIVADO, y apague el motor.
Repita los pasos1 a 10 al menos 2 veces más para asegurarse de que el sistema de fumigación está totalmente limpio.
Important: Siempre debe realizar 3 ciclos de enjuague para asegurarse de que el sistema de fumigación y los accesorios de fumigación están totalmente limpios, evitando así que se produzcan daños en el sistema.
Limpie los filtros de aspiración y presión; consulte Limpieza del filtro de aspiración y Limpieza del filtro de presión .
Important: Si utilizó productos químicos de polvo humedecible, limpie el filtro de malla después de terminar cada depósito.
Usando una manguera de jardín, limpie el exterior del fumigador con agua limpia.
Retire las boquillas y límpielas a mano.
Note: Sustituya cualquier boquilla desgastada o dañada.
Note: Si su máquina tiene filtros de boquilla opcionales, límpielos antes de instalar las boquillas; consulte Limpieza de los filtros de boquilla opcionales.
| Intervalo de mantenimiento y servicio | Procedimiento de mantenimiento |
|---|---|
| Después de cada uso |
|
Aparque la máquina en una superficie nivelada, ponga el freno de estacionamiento, pare la bomba, apague el motor y retire la llave.
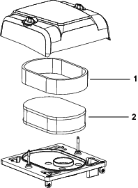
En la parte superior del depósito de fumigación, retire la horquilla de retención que sujeta el acoplamiento que está conectado a la manguera grande y al alojamiento del filtro (Figura 28).

Retire la manguera y el acoplamiento del alojamiento del filtro (Figura 28).
Retire el filtro de aspiración del alojamiento del filtro del depósito (Figura 29).

Limpie el filtro de aspiración con agua limpia.
Important: Sustituya el filtro si está dañado o si no puede ser limpiado.
Inserte el filtro de aspiración en el alojamiento del filtro hasta que quede correctamente asentado.
Alinee la manguera y el acoplamiento con el alojamiento del filtro en la parte superior del depósito y sujete el acoplamiento y el alojamiento con la horquilla de retención que retiró en el paso 2.
| Intervalo de mantenimiento y servicio | Procedimiento de mantenimiento |
|---|---|
| Después de cada uso |
|
Aparque la máquina en una superficie nivelada, ponga el freno de estacionamiento, pare la bomba de fumigación, apague el motor y retire la llave.
Coloque un recipiente de drenaje debajo del filtro de presión (Figura 30).

Gire el tapón de vaciado en sentido antihorario y retírelo de la cubeta del filtro de presión (Figura 30).
Note: Deje que la cubeta se vacíe completamente.
Enrosque la cubeta en sentido antihorario y retire la cabeza del filtro (Figura 30).
Retire el elemento del filtro de presión (Figura 30).
Limpie el elemento del filtro de presión con agua limpia.
Important: Sustituya el filtro si está dañado o si no puede ser limpiado.
Inspeccione la junta del tapón de vaciado (situada dentro de la cubeta) y la junta de la cubeta (situada dentro de la cabeza del filtro) en busca de daños o desgaste (Figura 30).
Important: Sustituya las juntas del tapón y de la cubeta si están dañadas o desgastadas.
Instale el elemento del filtro de presión en la cabeza del filtro (Figura 30).
Note: Asegúrese de que el elemento está firmemente asentado en la cabeza del filtro.
Instale la cubeta en la cabeza del filtro, y apriétela a mano (Figura 30).
Coloque el tapón de vaciado en el acoplamiento inferior de la cubeta, y apriete el tapón a mano (Figura 30).
Aparque la máquina en una superficie nivelada, ponga el freno de estacionamiento, pare la bomba de fumigación, apague el motor y retire la llave.
Retire la boquilla de la torreta de fumigación (Figura 31).

Retire el filtro de la boquilla (Figura 31).
Limpie el filtro de la boquilla con agua limpia.
Important: Sustituya el filtro si está dañado o si no puede ser limpiado.
Instale el filtro de la boquilla (Figura 31).
Note: Asegúrese de que el filtro está correctamente asentado.
Instale la boquilla en la torreta de fumigación (Figura 31).
Repita los pasos 2 a 6 con las demás boquillas de fumigación.
| Intervalo de mantenimiento y servicio | Procedimiento de mantenimiento |
|---|---|
| Cada año |
|
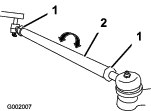
Gire la tapa del diafragma en sentido antihorario y retire la tapa del cuerpo de la boquilla (Figura 32).

Retire el diafragma de la válvula de retención de la tapa o del cuerpo de la boquilla (Figura 32).
Limpie la tapa, el diafragma y el cuerpo de la boquilla con agua limpia (Figura 32).
Monte el diafragma en la tapa con la punta del diafragma hacia la tapa (Figura 32).

Monte la tapa y el diafragma en el cuerpo de la boquilla y apriételos a mano (Figura 32).
Repita los pasos 1 a 5 con las demás boquillas de fumigación.
| Intervalo de mantenimiento y servicio | Procedimiento de mantenimiento |
|---|---|
| Después de cada uso |
|
Especificación del acondicionador: anticongelante RV de propilenglicol no tóxico con inhibidor de corrosión
Important: Utilice solamente propilenglicol con un inhibidor de corrosión. No utilice propilenglicol reciclado. No utilice anticongelante de etilenglicol.No utilice propilenglicol con adición de alcoholes solubles (metanol, etanol o isopropanol) o salmuera.
Mueva la máquina a una superficie nivelada, ponga el freno de estacionamiento, apague el motor y retire la llave.
Agregue acondicionador al depósito de la siguiente manera:
Anticongelante RV de propilenglicol listo para usar (premezclado): añada 38 litros de anticongelante RV de propilenglicol al depósito.
Si utiliza anticongelante RV de propilenglicol concentrado, siga estos pasos:
Añada una mezcla de 38 litros de anticongelante RV de propilenglicol y agua en el depósito del fumigador. Prepare la mezcla de anticongelante siguiendo las indicaciones del fabricante para obtener una concentración adecuada para una temperatura mínima de -45 °C.
Important: Utilice únicamente agua limpia para limpiar el fumigador.
Arranque el motor y ponga el interruptor de la bomba de fumigación en la posición de ACTIVADO.
Pise el pedal del acelerador para aumentar la velocidad del motor.
Ponga el interruptor de agitación en la posición de ACTIVADO.
Deje que la solución de acondicionador y agua circule durante 3 minutos o más.
Herramienta recomendada: un recipiente de recogida transparente.
Mueva la máquina a la zona de vaciado y ponga el freno de estacionamiento.
Baje las secciones exteriores de los brazos.
Ponga los interruptores de las secciones izquierda, central y derecha y el interruptor maestro en la posición de ACTIVADO.
Deje el sistema de fumigación en marcha hasta que las boquillas hayan expulsado todo el acondicionador.
Note: La mayoría de los anticongelantes RV de propilenglicol son de color rosa. Utilice el recipiente de recogida para tomar muestras de la descarga del fumigador de varias boquillas.
Apague el interruptor maestro, los 3 interruptores de sección, el interruptor de agitación, el interruptor de la bomba de fumigación y el motor.
Utilice un remolque o un camión para desplazar la máquina largas distancias.
Utilice rampas de ancho completo para cargar la máquina en un remolque o un camión.
Amarre las secciones de fumigación exteriores a los soportes de transporte de las secciones de brazo.
Amarre la máquina firmemente al vehículo de transporte; la Figura 34 ilustra los puntos de amarre de la máquina.

En caso de emergencia, es posible remolcar el fumigador una corta distancia. Sin embargo, no lo utilice como procedimiento estándar.
Remolcar a velocidades excesivas podría provocar una pérdida de control de la dirección, dando lugar a lesiones personales.
No remolque nunca el fumigador a más de 8 km/h.
Remolcar el fumigador es un trabajo para dos personas. Si es necesario trasladar la máquina una distancia considerable, transpórtela sobre un camión o un remolque; consulte Cómo transportar el fumigador.
Conecte un cable de remolque al bastidor.
Coloque el selector de velocidad en PUNTO MUERTO y quite el freno de estacionamiento.
Remolque el fumigador a menos de 8 km/h.
Note: Descargue una copia gratuita del esquema en www.toro.com y busque su máquina en el enlace Manuales de la página de inicio.Si desea más información sobre el sistema de fumigación, consulte el esquema del sistema de fumigación en .
Note: Los lados derecho e izquierdo de la máquina se determinan desde la posición normal del operador.
Antes de abandonar el puesto del operador, haga lo siguiente:
Aparque la máquina en una superficie nivelada.
Ponga la transmisión en la posición de PUNTO MUERTO (manual) o en la posición de APARCAR (automática).
Accione el freno de estacionamiento.
Apague el motor y retire la llave (si está equipada).
Espere a que se detenga todo movimiento.
Deje que se enfríen los componentes de la máquina antes de realizar cualquier tarea de mantenimiento.
Sólo permita realizar tareas de mantenimiento, reparaciones, ajustes o inspecciones de la máquina a personal debidamente cualificado y autorizado.
Antes de realizar cualquier tarea de mantenimiento, limpie y enjuague a fondo el fumigador; consulte Seguridad en el manejo de los productos químicos.
Los productos químicos utilizados en el sistema de fumigación pueden ser peligrosos y tóxicos para usted y para otras personas, animales, plantas, tierras y otros elementos.
Lea cuidadosamente y observe las indicaciones de todas las etiquetas de advertencia y Fichas de Datos de Seguridad de Materiales (FDSM) respecto a todos los productos químicos utilizados, y protéjase siguiendo las instrucciones del fabricante de los mismos.
Protéjase siempre la piel mientras esté cerca de productos químicos. Utilice equipos de protección individual (EPI) apropiados para protegerse contra el contacto con los productos químicos, incluyendo los siguientes:
gafas de seguridad y/o pantalla facial
un traje de protección para productos químicos
una máscara respiratoria o mascarilla
guantes resistentes a sustancias químicas
calzado de goma u otro calzado resistente
una muda de ropa limpia, jabón y toallas desechables
Niéguese a utilizar o trabajar con el fumigador si no está disponible información sobre la seguridad química.
No llene, calibre ni limpie la máquina si hay otras personas, especialmente niños, o animales domésticos en la zona.
Los productos químicos deben manipularse en una zona bien ventilada.
Tenga disponible agua limpia, sobre todo cuando llene el depósito de fumigación.
No coma, beba ni fume mientras trabaje cerca de productos químicos.
No limpie las boquillas de fumigación soplando a través de ellas, y no las meta en la boca.
Lávese siempre las manos y otras zonas expuestas del cuerpo lo antes posible después de trabajar con productos químicos.
Los productos químicos y los vapores son peligrosos; no entre nunca en el depósito ni coloque la cabeza sobre o en la boca de carga de un depósito.
Para asegurarse de que la máquina esté en buenas condiciones, mantenga correctamente apretadas todas las fijaciones.
Para reducir el peligro de incendio, mantenga la zona del motor libre de acumulaciones excesivas de grasa, productos químicos, hojas, hierba y suciedad.
Si el motor debe estar en marcha para realizar un ajuste, mantenga las manos, los pies, el resto del cuerpo y la ropa alejados del motor y de cualquier pieza en movimiento. No deje que se acerque nadie.
No ajuste la velocidad de avance de la máquina. Para garantizar la seguridad y la precisión, haga que un distribuidor autorizado Toro compruebe la velocidad de avance.
Si la máquina necesita reparaciones importantes o si usted necesita ayuda técnica, póngase en contacto con un distribuidor autorizado Toro.
La modificación de esta máquina de cualquier manera que pudiera afectar a la operación de la máquina, su rendimiento, durabilidad o uso, podría dar lugar a lesiones o a la muerte. Dicho uso podría invalidar la garantía del producto.
Apoye la máquina sobre las patas de apoyo siempre que trabaje debajo de la máquina.
Alivie con cuidado la tensión de aquellos componentes que tengan energía almacenada.
| Intervalo de mantenimiento y servicio | Procedimiento de mantenimiento |
|---|---|
| Después de las primeras 8 horas |
|
| Después de las primeras 50 horas |
|
| Cada vez que se utilice o diariamente |
|
| Después de cada uso |
|
| Cada 50 horas |
|
| Cada 100 horas |
|
| Cada 200 horas |
|
| Cada 400 horas |
|
| Cada 800 horas |
|
| Cada año |
|
Important: Consulte los procedimientos adicionales de mantenimiento del manual del propietario del motor.
Duplique esta página para su uso rutinario.
| Elemento a comprobar | Para la semana de: | ||||||
|---|---|---|---|---|---|---|---|
| Lun. | Mar. | Miér. | Jue. | Vie. | Sáb. | Dom. | |
| Compruebe la operación del freno y del freno de estacionamiento. | |||||||
| Compruebe la operación del cambio de marchas/punto muerto. | |||||||
| Compruebe el nivel de combustible. | |||||||
| Compruebe el nivel de aceite del motor. | |||||||
| Compruebe el nivel de aceite del transeje. | |||||||
| Inspeccione el filtro de aire. | |||||||
| Inspeccione las aletas de refrigeración del motor. | |||||||
| Compruebe que no hay ruidos extraños en el motor. | |||||||
| Compruebe que no hay ruidos extraños de operación. | |||||||
| Compruebe la presión de los neumáticos. | |||||||
| Compruebe que no hay fugas de fluidos. | |||||||
| Compruebe la operación de los instrumentos. | |||||||
| Compruebe la operación del acelerador. | |||||||
| Limpie el filtro de aspiración | |||||||
| Compruebe la convergencia de las ruedas. | |||||||
| Lubrique todos los engrasadores.1 | |||||||
| Retoque la pintura dañada. | |||||||
1Inmediatamente después de cada lavado, aunque no corresponda a los intervalos citados.
| Inspección realizada por: | ||
| Elemento | Fecha | Información |
| 1 | ||
| 2 | ||
| 3 | ||
| 4 | ||
| 5 | ||
| 6 | ||
| 7 | ||
| 8 | ||
| 9 | ||
| 10 | ||
| 11 | ||
| 12 | ||
Si deja la llave en el interruptor de encendido, alguien podría arrancar el motor accidentalmente y causar lesiones graves a usted o a otras personas.
Retire la llave del interruptor y desconecte el/los cable(s) de la(s) bujía(s) antes de realizar cualquier operación de mantenimiento. Aparte los cables para evitar su contacto accidental con las bujías.
Cuando el motor se pone en marcha para operaciones rutinarias de mantenimiento y/o diagnósticos del motor, las ruedas traseras del fumigador deben levantarse a 2,5 cm del suelo con el eje trasero apoyado en soportes de eje.
Un fumigador soportado con gato es inestable y podría caerse, hiriendo a cualquier persona que se encuentre debajo.
No arranque el motor mientras el fumigador está elevado con un gato.
Retire siempre la llave de contacto antes de bajarse del fumigador.
Bloquee las ruedas mientras el fumigador está elevado con un gato.
El punto de apoyo de la parte delantera del fumigador está debajo del travesaño delantero (Figura 35A) El punto de apoyo de la parte trasera del fumigador está en el soporte del bastidor trasero, detrás de los puntos de amarre traseros (Figura 35B).

| Intervalo de mantenimiento y servicio | Procedimiento de mantenimiento |
|---|---|
| Cada 100 horas |
|
Tipo de grasa: Grasa de litio N.º 2
Consulte la Figura 36 para conocer las ubicaciones de los puntos de engrase.

Limpie los puntos de engrase para evitar que penetre suciedad o residuos en el cojinete o el casquillo.
Bombee grasa en el cojinete o casquillo.
Elimine el exceso de grasa.
| Intervalo de mantenimiento y servicio | Procedimiento de mantenimiento |
|---|---|
| Cada 50 horas |
|
Tipo de grasa: Mobil XHP 461
Eleve el fumigador; consulte Elevación del fumigador.
Localice la bomba de fumigación.
Note: La bomba está situada debajo del asiento; consulte Ubicación de la bomba de fumigación.
Limpie los 2 engrasadores remotos (Figura 37A y Figura 37B).


Bombee grasa en cada engrasador remoto (Figura 37A y Figura 37B).
Elimine el exceso de grasa.
| Intervalo de mantenimiento y servicio | Procedimiento de mantenimiento |
|---|---|
| Cada 100 horas |
|
Important: Si se lava la articulación de la sección con agua, es necesario eliminar cualquier resto de agua y residuos del conjunto de la articulación y volver a engrasar el conjunto.
Tipo de grasa: Grasa de litio N.º 2
Limpie los engrasadores para evitar que penetre materia extraña en el cojinete o casquillo.
Bombee grasa en el cojinete o casquillo de cada punto de engrase (Figura 38).

Limpie cualquier exceso de grasa.
Repita el procedimiento en cada articulación.
Apague el motor antes de comprobar el aceite o añadir aceite al cárter.
| Intervalo de mantenimiento y servicio | Procedimiento de mantenimiento |
|---|---|
| Cada vez que se utilice o diariamente |
|
| Cada 100 horas |
|
Compruebe y, si es necesario, limpie la rejilla de la entrada de aire, en la parte delantera del motor, diariamente o antes de cada uso.
| Intervalo de mantenimiento y servicio | Procedimiento de mantenimiento |
|---|---|
| Cada 50 horas |
|
| Cada 200 horas |
|
Ponga el freno de estacionamiento, pare la bomba, pare el motor y retire la llave de contacto.
Libere el enganche que está en el respaldo del asiento y levante el asiento hacia adelante.
Limpie alrededor del limpiador de aire de forma que la suciedad no penetre en el motor y cause daños.

Afloje el pomo de la tapa del limpiador de aire y retire la tapa.
Deslice cuidadosamente el filtro de gomaespuma para separarlo del filtro de papel.
Retire la tuerca de la tapa, la tapa y el filtro de papel.
Lave el filtro de gomaespuma con jabón líquido y agua templada.
Cuando el filtro esté limpio, enjuáguelo bien.
Seque el elemento apretándolo con un paño limpio.
Ponga 30–59 ml de aceite en el elemento.
Important: Sustituya el elemento de gomaespuma si está roto o desgastado.
Apriete el filtro para distribuir el aceite.
Inspeccione el filtro de papel por si estuviera roto, tuviera una película aceitosa o por si hubiera daños en la junta de goma, suciedad excesiva u otros daños. En cualquiera de estos casos, cambie el filtro.
Important: No limpie el elemento de papel con aire o líquidos a presión, como por ejemplo disolvente, gasolina o queroseno.
Important: Para evitar dañar el motor, no haga funcionar nunca el motor sin que esté instalado el conjunto completo del limpiador de aire, con elementos de gomaespuma y papel.
Deslice cuidadosamente el filtro de gomaespuma sobre el filtro de papel.
Deslice el conjunto del limpiador de aire y la tapa sobre la varilla larga.
Coloque la tuerca de la tapa con la presión de los dedos solamente contra la tapa.
Note: Asegúrese de que la junta de goma queda plana contra la base y la tapa del limpiador de aire.
Instale la tapa del limpiador de aire.
Cierre y enganche el asiento.
La capacidad del cárter es de 2,0 litros con el filtro.
Utilice aceite para motores de alta calidad que cumpla las siguientes especificaciones:
Nivel de clasificación API necesario: SJ o superior.
Aceite preferido: SAE10W30 (por encima de -18 °C)
Aceite alternativo: SAE 5W30 (por debajo de 0° C)
Su distribuidor dispone de aceite para motores Toro Premium, de viscosidad 10W30 o 5W30. Consulte los números de pieza en el Catálogo de piezas.
| Intervalo de mantenimiento y servicio | Procedimiento de mantenimiento |
|---|---|
| Cada vez que se utilice o diariamente |
|
| Cada 400 horas |
|
El motor se suministra con aceite en el cárter; no obstante, debe verificarse el nivel de aceite antes y después de arrancar el motor por primera vez.
Coloque la máquina en una superficie nivelada.
Retire la varilla y límpiela con un paño limpio. Introduzca la varilla en el tubo asegurándose de que entre a fondo. Retire la varilla y compruebe el nivel de aceite.

Si el nivel de aceite es bajo, retire el tapón de llenado de la cubierta de la válvula y vierta aceite por el orificio hasta que el nivel de aceite llegue a la marca LLENO de la varilla. Añada el aceite lentamente y compruebe el nivel a menudo durante este proceso. No llene demasiado.
Coloque la varilla firmemente.
| Intervalo de mantenimiento y servicio | Procedimiento de mantenimiento |
|---|---|
| Después de las primeras 50 horas |
|
| Cada 100 horas |
|
Arranque el motor y déjelo funcionar durante 5 minutos. Al hacerlo, el aceite se calentará y será más fácil drenarlo.
Coloque la máquina sobre una superficie nivelada, ponga el freno de estacionamiento, pare la bomba de fumigación, apague el motor y retire la llave.
Libere el enganche que está en el respaldo del asiento y levante el asiento hacia adelante.
Los componentes que se encuentran debajo del asiento estarán calientes si el fumigador ha estado funcionando. Si usted toca un componente caliente puede quemarse.
Deje que el fumigador se enfríe antes de realizar tareas de mantenimiento o tocar componentes que se encuentran debajo del capó.
Coloque un recipiente debajo del orificio de drenaje de aceite.
Retire el tapón de vaciado (Figura 41).

Cuando se haya vaciado todo el aceite, coloque el tapón de vaciado y apriételo a 13,6 N·m.
Elimine el aceite usado en un centro de reciclaje homologado.
Agregue lentamente un 80% de la cantidad especificada de aceite por el tubo de llenado (Figura 41).
Compruebe el nivel de aceite.
Añada lentamente más aceite, si es necesario, para que el nivel llegue a la marca LLENO de la varilla.
Important: No llene excesivamente el cárter de aceite ya que podría dañar el motor.
| Intervalo de mantenimiento y servicio | Procedimiento de mantenimiento |
|---|---|
| Cada 100 horas |
|
Drene el aceite del motor; consulte Cómo cambiar el aceite del motor, pasos 1 a 7.
Retire el filtro de aceite (Figura 41).
Limpie con un paño la superficie de la junta del adaptador del filtro.
Aplique una capa fina de aceite nuevo a la junta de goma del filtro nuevo.
Instale el filtro de aceite nuevo en el adaptador del filtro. Gire el filtro en sentido horario hasta que la junta de goma entre en contacto con el adaptador del filtro, luego apriete el filtro 1/2 de vuelta más (Figura 41).
Llene el cárter con el tipo de aceite correcto; consulte Cómo cambiar el aceite del motor, pasos8 a 10.
Deseche el filtro de aceite usado en un centro de reciclaje homologado.
| Intervalo de mantenimiento y servicio | Procedimiento de mantenimiento |
|---|---|
| Cada 200 horas |
|
Tipo: Champion RC-12YC (o equivalente)
Distancia entre electrodos: 0,76 mm
Antes de instalar la bujía, asegúrese de que la distancia entre los electrodos central y lateral es correcta. Utilice una llave para bujías para desmontar e instalar las bujías, y una galga de espesores/herramienta de separación de electrodos para comprobar y ajustar la distancia entre los mismos.
Coloque la máquina sobre una superficie nivelada, ponga el freno de estacionamiento, pare la bomba de fumigación, apague el motor y retire la llave.
Libere el enganche que está en el respaldo del asiento y levante el asiento hacia adelante.
Desconecte los cables de las bujías (Figura 42).
Limpie alrededor de las bujías para evitar que entre suciedad en el motor y pueda causar daños.
Retire las bujías y las arandelas de metal.

Mire la parte central de las bujías (Figura 43).
Note: Si se observa un revestimiento de color gris o marrón claro en el aislante, el motor está funcionando correctamente. Si el aislante aparece de color negro, significa que el limpiador de aire está sucio.
Important: No limpie las bujías. Cambie siempre la bujía si tiene un revestimiento negro, electrodos desgastados, una película aceitosa o grietas.
Compruebe la separación entre los electrodos central y lateral (Figura 43) y doble el electrodo lateral si la separación no es correcta.

Instale las bujías y las arandelas de metal.
Apriete las bujías a 24,4 – 29,8 N·m.
Conecte los cables a las bujías (Figura 42).
Cierre y enganche el asiento.
| Intervalo de mantenimiento y servicio | Procedimiento de mantenimiento |
|---|---|
| Cada 100 horas |
|
| Cada 400 horas |
|
Ponga el freno de estacionamiento, pare la bomba, pare el motor y retire la llave de contacto.
Libere el enganche que está en el respaldo del asiento y levante el asiento hacia adelante.
Coloque un dispositivo de apriete en los tubos en cada lado del filtro de combustible para evitar que salga gasolina de los tubos cuando retire el filtro.
Coloque un recipiente debajo del filtro.
Apriete los extremos de las abrazaderas y deslícelas por el tubo alejándolas del filtro (Figura 44).
Desmonte el filtro de los tubos de combustible.

Instale un filtro nuevo y acerque las abrazaderas al filtro.
Asegúrese de que la flecha de dirección de flujo señale hacia el motor.
| Intervalo de mantenimiento y servicio | Procedimiento de mantenimiento |
|---|---|
| Después de las primeras 50 horas |
|
| Cada 200 horas |
|
Compruebe el orificio de la parte inferior del filtro de aire del cartucho de carbono, y asegúrese de que está limpio y libre de residuos y obstrucciones (Figura 45).

| Intervalo de mantenimiento y servicio | Procedimiento de mantenimiento |
|---|---|
| Después de las primeras 50 horas |
|
| Cada 200 horas |
|
Desconecte el acoplamiento dentado del filtro del cartucho de carbón de la manguera de la parte inferior del cartucho de carbono, y retire el filtro (Figura 45).
Note: Deseche el filtro usado.
Introduzca a fondo el acoplamiento dentado del filtro nuevo del cartucho de carbón en la manguera situada en la parte inferior del cartucho de carbón.
| Intervalo de mantenimiento y servicio | Procedimiento de mantenimiento |
|---|---|
| Cada 400 horas |
|
Drene y limpie el depósito si se contamina el sistema de combustible o si usted pretende almacenar la máquina durante un periodo de tiempo prolongado. Utilice combustible limpio y fresco para enjuagar el depósito.
Transfiera el combustible del depósito a un recipiente de combustible homologado usando una bomba de sifón, o retire el depósito de la máquina y vierta el combustible por el tubo de llenado al recipiente de combustible.
Note: Si retira el depósito de combustible, desconecte también los tubos de combustible y retorno del depósito antes de retirar el depósito.
Cambie el filtro de combustible; consulte Cómo cambiar el filtro de combustible.
Enjuague el depósito de combustible con combustible fresco y limpio, si es necesario.
Instale el depósito si lo retiró.
Llene el depósito con combustible fresco y limpio.
Desconecte la batería antes de realizar reparaciones en la máquina. Desconecte primero el terminal negativo y luego el positivo. Conecte primero el terminal positivo y luego el negativo.
Cargue la batería en una zona abierta y bien ventilada, lejos de chispas y llamas. Desenchufe el cargador antes de conectar o desconectar la batería.
Lleve ropa protectora y utilice herramientas aisladas.
Hay 2 bloques de fusibles y 1 zócalo vacío en el sistema eléctrico. Se encuentran debajo del asiento (Figura 46).

Important: No arranque el fumigador con batería externa.
Mantenga siempre la batería limpia y completamente cargada. Utilice una toalla de papel para limpiar la batería y su soporte. Si los bornes de la batería están corroídos, límpielos con una disolución de 4 partes de agua y 1 parte de bicarbonato sódico. Aplique una ligera capa de grasa en los terminales de la batería para evitar la corrosión.
Voltaje: 12 V, 280 amperios de arranque en frío a -18 °C.
Coloque el fumigador sobre una superficie nivelada, ponga el freno de estacionamiento, pare la bomba de fumigación, apague el motor y retire la llave.
La batería está situada en el lado derecho de la máquina, detrás de la bomba (Figura 46).
Desconecte el cable negativo de tierra (negro) del borne de la batería.
Un enrutado incorrecto de los cables de la batería podría dañar el fumigador y los cables, causando chispas. Las chispas podrían hacer explotar los gases de la batería, causando lesiones personales.
Desconecte siempre el cable negativo (negro) de la batería antes de desconectar el cable positivo (rojo).
Conecte siempre el cable positivo (rojo) de la batería antes de conectar el cable negativo (negro).
Los bornes de la batería o una herramienta metálica podrían hacer cortocircuito si entran en contacto con los componentes metálicos del fumigador, causando chispas. Las chispas podrían hacer explotar los gases de la batería, causando lesiones personales.
Al retirar o colocar la batería, no deje que los terminales toquen ninguna parte metálica del fumigador.
No deje que las herramientas metálicas hagan cortocircuito entre los bornes de la batería y las partes metálicas del fumigador.
Coloque siempre la correa de la batería para proteger y fijar la batería.
Desconecte el cable positivo (rojo) del borne de la batería.
Retire el dispositivo de sujeción de la batería y los herrajes (Figura 46).
Retire la batería.
| Intervalo de mantenimiento y servicio | Procedimiento de mantenimiento |
|---|---|
| Cada 50 horas |
|
Coloque la batería sobre su caja con los bornes hacia la parte delantera del fumigador.
Instale el dispositivo de sujeción de la batería, fijándolo con los herrajes que retiró anteriormente (Figura 46).
Important: Tenga instalado siempre el dispositivo de sujeción de la batería para proteger y fijar la batería.
Conecte el cable positivo (rojo) al borne positivo (+) de la batería y el cable negativo (negro) al borne negativo (–) de la batería usando los pernos y las tuercas de orejeta. Deslice la cubierta de goma sobre el borne positivo de la batería.
Instale la tapa de la batería y fíjela con los 2 pomos (Figura 46).
| Intervalo de mantenimiento y servicio | Procedimiento de mantenimiento |
|---|---|
| Cada 50 horas |
|
Note: Mientras la máquina está almacenada, compruebe el nivel de electrolito de la batería cada 30 días.
Afloje los pomos de los lados de la caja de la batería y retire la tapa de la batería (Figura 46).
Retire los tapones de llenado. Si el electrolito no llega a la línea de llenado, añada la cantidad necesaria de agua destilada; consulte Cómo añadir agua a la batería.
El electrolito de la batería contiene ácido sulfúrico, que es un veneno mortal y causa quemaduras graves.
No beba electrolito y evite el contacto con la piel, los ojos y la ropa. Lleve gafas de seguridad para proteger sus ojos, y guantes de goma para proteger sus manos.
Llene la batería en un lugar que tenga disponible agua limpia para enjuagar la piel.
El mejor momento para añadir agua destilada a la batería es justo antes de operar la máquina. Esto permite que el agua se mezcle perfectamente con la solución de electrolito.
Limpie la parte superior de la batería con una toalla de papel.
Retire los tapones de llenado de la batería y llene cada celda lentamente con agua destilada hasta que el nivel llegue a la línea de llenado. Vuelva a colocar los tapones de llenado.
Important: No llene la batería demasiado. El electrolito rebosará a otras zonas del fumigador, causando corrosión y deterioros importantes.
El proceso de carga de la batería produce gases que pueden explotar.
No fume cerca de la batería, y mantenga alejada de la batería cualquier chispa o llama.
Important: Mantenga siempre la batería completamente cargada (densidad de 1,260). Esto es especialmente importante para evitar daños a la batería cuando la temperatura está por debajo de los 0 °C.
Retire la batería del chasis; consulte Cómo retirar la batería.
Compruebe el nivel de electrolito; consulte Comprobación del nivel de electrolito.
Conecte un cargador de batería de 3 a 4 amperios a los bornes de la batería. Cargue la batería a un ritmo de 3 a 4 amperios durante entre 4 y 8 horas (12 V).
Important: No sobrecargue la batería.
Instale la batería en el chasis; consulte Instalación de la batería.
Si la máquina va a estar inactiva durante más de 30 días, retire la batería y cárguela totalmente. Guárdela en una estantería o en la máquina. Deje desconectados los cables si la guarda en la máquina. Guarde la batería en un ambiente fresco para evitar el rápido deterioro de la carga. Para evitar que la batería se congele, asegúrese de que está totalmente cargada.
| Intervalo de mantenimiento y servicio | Procedimiento de mantenimiento |
|---|---|
| Después de las primeras 8 horas |
|
| Cada vez que se utilice o diariamente |
|
| Cada 100 horas |
|
Compruebe la presión de los neumáticos cada 8 horas o cada día para asegurarse de que la presión es correcta. Infle los neumáticos a 1,38 bar. Inspeccione los neumáticos para asegurarse de que no están desgastados ni dañados.
Compruebe las ruedas para asegurarse de que están montadas firmemente después de las primeras 8 horas de operación y luego cada 100 horas. Apriete las tuercas de las ruedas delanteras y traseras a 102–108 N·m.
Compruebe la condición de los neumáticos al menos cada 100 horas de operación. Los accidentes producidos durante el uso, como un choque contra un bordillo, pueden dañar un neumático o una llanta y provocar la alineación incorrecta de la dirección. Inspeccione el estado de los neumáticos tras un accidente.
| Intervalo de mantenimiento y servicio | Procedimiento de mantenimiento |
|---|---|
| Cada 200 horas |
|
Mueva la palanca de bloqueo del diferencial a la posición de DESCONECTADO.
Afloje las contratuercas que sujetan el cable de bloqueo del diferencial al soporte del transeje (Figura 47).

Ajuste las contratuercas para obtener una distancia de 0,25 a 1,5 mm entre el gancho del muelle y el diámetro exterior del taladro de la palanca del transeje.
Apriete las contratuercas cuando termine.
| Intervalo de mantenimiento y servicio | Procedimiento de mantenimiento |
|---|---|
| Cada 100 horas |
|
La convergencia debe ser de 0 a 6 mm.
Llene el depósito con aproximadamente 331 litros de agua.
Compruebe la presión de los neumáticos e ínflelos si es necesario; consulte Inspección de las ruedas y los neumáticos.
Conduzca el fumigador hacia adelante y hacia atrás unas cuantas veces para relajar los brazos en A, luego condúzcalo hacia adelante al menos 3 metros.
Mida la distancia entre los neumáticos delanteros a la altura del eje, en la parte delantera y trasera de las ruedas (Figura 48).
Note: Necesitará una plantilla o un indicador de alineación para medir la parte delantera de las ruedas delanteras a la altura del eje. Utilice la misma plantilla para medir con precisión la parte delantera de las ruedas delanteras a la altura del eje (Figura 48).
La distancia entre la parte delantera de los neumáticos debe ser de 0–6 mm menos que entre la parte trasera de los neumáticos delanteros.

Si la distancia no está en el intervalo especificado, afloje las contratuercas en ambos extremos de las bielas (Figura 49).

Gire ambas bielas para mover la parte delantera del neumático hacia dentro o hacia fuera.
Note: Las bielas miden lo mismo de largo.
Apriete las tuercas autoblocantes de las bielas cuando el ajuste sea correcto.
Asegúrese de que el volante tiene un recorrido completo en ambas direcciones.
El depósito de líquido de frenos sale de fábrica lleno de líquido de frenos DOT 3. Compruebe el nivel antes de arrancar el motor cada día.

Coloque el fumigador sobre una superficie nivelada, ponga el freno de estacionamiento, pare la bomba, pare el motor y retire la llave de contacto.
El nivel de líquido debe llegar a la línea LLENO del depósito.
Si el nivel de líquido es bajo, limpie la zona alrededor del tapón del depósito, retire el tapón y llene el depósito hasta que el nivel sea correcto. No llene demasiado.
| Intervalo de mantenimiento y servicio | Procedimiento de mantenimiento |
|---|---|
| Cada 100 horas |
|
Los frenos constituyen un componente de seguridad del fumigador de importancia vital. Inspecciónelos de la manera siguiente:
Inspeccione las zapatas de freno para asegurarse de que no están desgastadas ni dañadas. Si el grosor de la zapata es de menos de 1,6 mm, las zapatas deben ser cambiadas.
Inspeccione el soporte y los demás componentes por si hubiera señales de desgaste o deformación excesivos. Si se encuentra alguna deformación, cambie los componentes en cuestión.
| Intervalo de mantenimiento y servicio | Procedimiento de mantenimiento |
|---|---|
| Cada 200 horas |
|
Retire la empuñadura de plástico.
Afloje el tornillo de fijación que sujeta el pomo a la palanca del freno de estacionamiento (Figura 51).

Gire el pomo hasta que se requiera una fuerza de 18 a 23 kg para accionar la palanca.
Apriete el tornillo de fijación.
Busque atención médica inmediatamente si el fluido penetra en la piel. Un médico deberá eliminar quirúrgicamente el fluido inyectado en pocas horas.
Alivie de manera segura toda presión en el sistema antes de realizar trabajo alguno en el mismo.
Asegúrese de que todas las mangueras y líneas de fluido hidráulico están en buenas condiciones de uso, y que todos los acoplamientos y conexiones hidráulicos están apretados, antes de aplicar presión al sistema hidráulico.
Mantenga el cuerpo y las manos alejados de fugas pequeñas o de boquillas que liberan fluido hidráulico a alta presión.
Utilice un cartón o un papel para buscar fugas hidráulicas.
Tipo de fluido: Dexron III ATF.
Capacidad del depósito: 7 litros aproximadamente
| Intervalo de mantenimiento y servicio | Procedimiento de mantenimiento |
|---|---|
| Cada 200 horas |
|
Coloque el fumigador sobre una superficie nivelada, ponga el freno de estacionamiento, pare la bomba de fumigación, apague el motor y retire la llave.
Retire la varilla del transeje y límpiela con un paño limpio (Figura 52).

Important: No deje que entre suciedad u otros contaminantes en el orificio mientras comprueba el aceite de la transmisión.
Introduzca la varilla en el tubo asegurándose de que entre a fondo. Retire la varilla y compruebe el nivel de aceite.
El nivel de aceite del transeje debe llegar a la parte superior de la parte plana de la varilla. Si no es así, llene el depósito con el tipo correcto de fluido hidráulico; consulte Especificación del aceite hidráulico.
Coloque la varilla firmemente.
| Intervalo de mantenimiento y servicio | Procedimiento de mantenimiento |
|---|---|
| Cada 800 horas |
|
Coloque el fumigador sobre una superficie nivelada, ponga el freno de estacionamiento, pare la bomba, pare el motor y retire la llave de contacto.
Coloque un recipiente debajo del tapón de vaciado del depósito.
Retire el tapón de vaciado del lado del depósito y deje que se drene el fluido hidráulico al recipiente (Figura 53).

Observe la orientación del tubo hidráulico y del codo de 90° conectado al filtro.
Retire el tubo hidráulico y el codo de 90° (Figura 54).

Retire el filtro de malla y límpielo enjuagando con un desengrasante limpio.
Deje que el filtro se seque al aire.
Instale el filtro de malla mientras se vacía el aceite.
Instale el tubo hidráulico y el codo de 90° en el filtro.
Instale el tapón de vaciado y apriételo.
Llene el depósito con aproximadamente 7 litros de Dexron III ATF.
Important: Utilice solamente los fluidos hidráulicos especificados. Otros fluidos podrían causar daños en el sistema.
Arranque el motor y conduzca el fumigador para llenar el sistema hidráulico.
Compruebe el nivel de aceite y rellene si es necesario.
| Intervalo de mantenimiento y servicio | Procedimiento de mantenimiento |
|---|---|
| Después de las primeras 8 horas |
|
| Cada 800 horas |
|
Utilice el filtro de recambio Toro (Pieza N.º 54-0110).
Important: El uso de cualquier otro filtro puede anular la garantía de algunos componentes.
Coloque el fumigador sobre una superficie nivelada, ponga el freno de estacionamiento, pare la bomba, pare el motor y retire la llave de contacto.
Limpie la zona de montaje del filtro.
Coloque un recipiente debajo del filtro.
Retire el filtro (Figura 55).

Lubrique la junta del filtro nuevo.
Asegúrese de que la zona de montaje del filtro está limpia.
Enrosque el filtro nuevo hasta que la junta toque la placa de montaje, luego apriete el filtro 1/2 vuelta más.
Arranque el motor y déjelo funcionar durante unos dos minutos para purgar el aire del sistema.
Pare el motor, compruebe el nivel de fluido hidráulico y compruebe que no hay fugas; consulte Comprobación del fluido hidráulico/del transeje.
Inspeccione a diario los tubos y las mangueras hidráulicos para comprobar que no tienen fugas, que no están doblados, que los soportes no están sueltos, y que no hay desgaste, elementos sueltos, o deterioro causado por agentes ambientales o químicos. Haga todas las reparaciones necesarias antes de operar la máquina.
| Intervalo de mantenimiento y servicio | Procedimiento de mantenimiento |
|---|---|
| Cada 200 horas |
|
Examine cada manguera del sistema de fumigación en busca de grietas, fugas u otros daños. Al mismo tiempo, inspeccione los conectores y acoplamientos en busca de daños similares. Sustituya cualquier manguera o acoplamiento que esté desgastado o dañado.
| Intervalo de mantenimiento y servicio | Procedimiento de mantenimiento |
|---|---|
| Cada 400 horas |
|
Note: Determine el tamaño de la malla del filtro de aspiración apropiado para su trabajo; consulte Selección de un filtro de aspiración.
Aparque la máquina en una superficie nivelada, ponga el freno de estacionamiento, pare la bomba, apague el motor y retire la llave.
En la parte superior del depósito de fumigación, retire la horquilla de retención que sujeta el acoplamiento que está conectado a la manguera grande y al alojamiento del filtro (Figura 56).

Retire la manguera y el acoplamiento del alojamiento del filtro (Figura 56).
Retire el filtro de aspiración usado del alojamiento del filtro del depósito (Figura 57).
Note: Deseche el filtro usado.

Instale el filtro de aspiración nuevo en el alojamiento del filtro.
Note: Asegúrese de que el filtro está correctamente asentado.
Alinee la manguera y el acoplamiento con el alojamiento del filtro en la parte superior del depósito y sujete el acoplamiento y el alojamiento con la horquilla de retención que retiró en el paso 2.
| Intervalo de mantenimiento y servicio | Procedimiento de mantenimiento |
|---|---|
| Cada 400 horas |
|
Lleve la máquina a una superficie nivelada, pare la bomba de fumigación, pare el motor y retire la llave.
Coloque un recipiente de drenaje debajo del filtro de presión (Figura 58).

Gire el tapón de vaciado en sentido antihorario y retírelo de la cubeta del filtro de presión (Figura 58).
Note: Deje que la cubeta se vacíe completamente.
Enrosque la cubeta en sentido antihorario y retírela de la cabeza del filtro (Figura 58).
Retire el elemento usado del filtro de presión (Figura 58).
Note: Deseche el filtro usado.
Inspeccione la junta tórica del tapón de vaciado (situada dentro de la cubeta) y la junta tórica de la cubeta (situada dentro de la cabeza del filtro) en busca de daños o desgaste (Figura 58).
Note: Sustituya las juntas tóricas del tapón y de la cubeta si están dañadas o desgastadas.
Instale el elemento nuevo del filtro de presión en la cabeza del filtro (Figura 58).
Note: Asegúrese de que el elemento está firmemente asentado en la cabeza del filtro.
Instale la cubeta en la cabeza del filtro, y apriétela a mano (Figura 58).
Instale el tapón en la cubeta, y apriételo a mano (Figura 58).
Note: Determine el tamaño de malla del filtro de boquilla apropiado para su trabajo; consulte Selección del filtro de punta de boquilla (opcional).
Aparque la máquina en una superficie nivelada, ponga el freno de estacionamiento, pare la bomba de fumigación, apague el motor y retire la llave.
Retire la boquilla de la torreta de fumigación (Figura 59).

Retire el filtro de boquilla usado (Figura 59).
Note: Deseche el filtro usado.
Instale el filtro de boquilla nuevo (Figura 59).
Note: Asegúrese de que el filtro está correctamente asentado.
Instale la boquilla en la torreta de fumigación (Figura 59).
| Intervalo de mantenimiento y servicio | Procedimiento de mantenimiento |
|---|---|
| Cada 400 horas |
|
Note: Los siguientes componentes de la máquina se consideran piezas consumibles durante el uso a menos que sean defectuosas, y no están cubiertas por la garantía asociada a esta máquina.
Haga que un distribuidor autorizado de Toro revise los siguientes componentes internos de la bomba para detectar posibles daños:
Diafragmas de la bomba
Conjuntos de válvulas de retención de la bomba
Cambie cualquier componente que esté dañado.
| Intervalo de mantenimiento y servicio | Procedimiento de mantenimiento |
|---|---|
| Cada 400 horas |
|
Aparque la máquina en una superficie nivelada, ponga el freno de estacionamiento, pare la bomba, apague el motor y retire la llave.
Extienda las secciones de los brazos exteriores a la posición de fumigación y apoye los brazos usando soportes o eslingas y equipo de izado.
Con el peso del brazo apoyado, retire el perno y la tuerca que fijan el pasador de giro al conjunto del brazo (Figura 60).

Retire el perno y la tuerca que sujetan el pasador de giro y retire el pasador (Figura 60).
Retire el conjunto de brazo y soporte pivote del bastidor central para tener acceso a los casquillos de nailon.
Retire los casquillos de nailon desde delante y desde detrás del soporte de giro e inspecciónelos (Figura 60).
Note: Sustituya los casquillos desgastados o dañados.
Aplique una pequeña cantidad de aceite en los casquillos de nylon e instálelos en el soporte del pivote (Figura 60).
Instale el conjunto de brazo y soporte del pivote en el bastidor central, alineando los orificios (Figura 60).
Instale el pasador de giro, fijándolo con el perno y la tuerca que retiró en el paso 4.
Repita los pasos 2 a 9 para la otra sección de brazo exterior.
Realice el siguiente procedimiento para ajustar el nivel de las secciones de brazo izquierda y derecha cuando están en la posición de fumigación.
Extienda los brazos a la posición de fumigación.
Retire la chaveta del pasador de giro (Figura 61).

Levante el brazo, retire el pasador (Figura 61), y baje el brazo lentamente al suelo.
Inspeccione si el pasador presenta algún daño y cámbielo si es necesario.
Utilice una llave sobre las zonas planas del émbolo del actuador para inmovilizarlo y, a continuación, afloje la contratuerca para poder ajustar la varilla de ojal (Figura 62).

Gire la varilla de ojal en el émbolo del actuador para acortar o alargar el actuador extendido a la posición deseada (Figura 62).
Note: La varilla de ojal debe enroscarse en intervalos de vuelta completa o media vuelta para permitir el montaje de la varilla en el brazo.
Cuando logre el ajuste deseado, apriete la contratuerca para sujetar el actuador y la varilla de ojal.
Eleve el brazo para alinear el pivote con el émbolo del actuador.
Sujetando el brazo, introduzca el pasador a través del pivote del brazo y del émbolo del actuador (Figura 61).
Con el pasador colocado, suelte el brazo y fije el pasador con la chaveta que retiró anteriormente.
Repita el procedimiento en el cojinete de todos los émbolos de actuador, si es necesario.
Important: No utilice agua reciclada o salada para limpiar la máquina.
| Intervalo de mantenimiento y servicio | Procedimiento de mantenimiento |
|---|---|
| Cada 200 horas |
|
Lave a fondo y vacíe el sistema de fumigación entero.
Retire el caudalímetro del fumigador y enjuáguelo con agua limpia.
Retire el anillo de sujeción del lado “aguas arriba” (Figura 63).

Limpie la turbina y el buje de la turbina para eliminar limaduras metálicas y cualquier resto de polvo humedecible.
Compruebe que las palas de la turbina no están desgastadas.
Note: Sujete la turbina en la mano y hágala rotar. Debe rotar libremente con muy poca resistencia. Si no es así, cámbiela.
Monte el caudalímetro.
Utilice un chorro de aire de baja presión (0,34 bar (5 psi)) para asegurarse de que la turbina rota libremente.
Note: Si la turbina no rota libremente, afloje la tuerca hexagonal del buje de la turbina 1/16 de vuelta hasta que rote libremente.
Antes de abandonar el puesto del operador, haga lo siguiente:
Aparque la máquina en una superficie nivelada.
Apague la bomba de fumigación.
Accione el freno de estacionamiento.
Apague el motor y retire la llave (si está equipada).
Espere a que se detenga todo movimiento.
Deje que se enfríe la máquina antes de hacer trabajos de ajuste, mantenimiento, limpieza o almacenamiento.
No guarde la máquina o un recipiente de combustible en un lugar donde pudiera haber una llama desnuda, chispas o una llama piloto, por ejemplo en un calentador de agua u otro electrodoméstico.
Coloque el fumigador sobre una superficie nivelada, ponga el freno de estacionamiento, pare la bomba, apague el motor y retire la llave.
Limpie la máquina entera, incluyendo el exterior de las aletas de la culata del motor y del alojamiento del soplador.
Important: La máquina puede lavarse con un detergente suave y agua. No utilice agua a presión para lavar la máquina. El lavado a presión puede dañar el sistema eléctrico o eliminar grasa necesaria en los puntos de fricción. No utilice demasiada agua, especialmente cerca del tablero de control, las luces, el motor y la batería.
Limpie el sistema de fumigación; consulte .
Acondicione el sistema de fumigación como se indica a continuación:
Drene el depósito de agua limpia.
Vacíe lo más completamente posible el sistema de fumigación.
Prepare una solución anticongelante RV inhibidora de corrosión, de base no alcohólica, siguiendo las indicaciones del fabricante.
Añada la solución anticongelante RV al depósito de agua limpia, al depósito de fumigación, y, si está instalado, al depósito de enjuague opcional.
Si está instalado el depósito de enjuague opcional, bombee la solución de anticongelante RV que contiene al depósito de fumigación.
Ponga en marcha la bomba de fumigación durante unos minutos para hacer circular el anticongelante RV por el sistema de fumigación y por cualquier accesorio de fumigación instalado.
Pulverice la solución anticongelante RV por las boquillas de fumigación.
Vacíe lo más completamente posible el depósito de agua limpia y el sistema de fumigación.
Utilice los interruptores de elevación de las secciones de brazo para elevar las secciones de brazo exteriores. Eleve las secciones hasta que se hayan plegado completamente sobre el soporte de transporte, formando una “X”, y los cilindros de las secciones estén totalmente retraídos.
Note: Compruebe que los cilindros de las secciones estén totalmente retraídos para impedir que el émbolo del actuador sufra daños.
Inspeccione los frenos; consulte Inspección de los frenos.
Revise el limpiador de aire; consulte Mantenimiento del motor.
Engrase el fumigador; consulte Lubricación.
Cambie el aceite del motor; consulte Cómo cambiar el aceite del motor.
Compruebe la presión de los neumáticos; consulte Comprobación de la presión de aire de los neumáticos.
Si va a guardar la máquina durante más de 30 días, prepare el sistema de combustible de la forma siguiente.
Agregue un estabilizador/acondicionador a base de petróleo al combustible del depósito.
Siga las instrucciones de mezcla del fabricante del estabilizador. No use un estabilizador a base de alcohol (etanol o metanol).
Note: Un estabilizador/acondicionador de combustible resulta más eficaz cuando se mezcla con combustible nuevo a lo largo del año.
Haga funcionar el motor para distribuir el combustible con acondicionador por todo el sistema de combustible (5 minutos).
Pare el motor, deje que se enfríe y drene el depósito de combustible.
Arranque el motor y hágalo funcionar hasta que se pare.
Accione el estárter.
Arranque el motor y déjelo en marcha hasta que no vuelva a arrancar.
Elimine el combustible adecuadamente. Recicle observando la normativa local.
Important: No guarde el combustible con estabilizador/acondicionador durante más de 90 días.
Retire las bujías y compruebe su condición; consulte Cómo retirar las bujías.
Con las bujías retiradas del motor, vierta dos cucharadas soperas de aceite de motor en el orificio de la bujía.
Utilice el motor de arranque eléctrico para hacer girar el motor y distribuir el aceite dentro del cilindro.
Instale las bujías y apriételas al par recomendado; consulte Instalación de las bujías.
Note: No instale los cables en la(s) bujía(s).
Retire la batería del chasis; verifique el nivel de electrolito, y cárguela completamente; consulte Mantenimiento de la batería.
Note: No conecte los cables de la batería a los bornes de la batería durante el almacenamiento.
Important: La batería debe estar completamente cargada para evitar que se congele y sufra daños a temperaturas inferiores a los 0 °C. Una batería completamente cargada mantiene su carga durante aproximadamente 50 días a temperaturas inferiores a los 4 °C. Si la temperatura va a estar por encima de los 4 °C, compruebe el nivel de agua en la batería y cárguela cada 30 días.
Revise y apriete todos los pernos, tuercas y tornillos. Repare o sustituya cualquier pieza dañada.
Compruebe la condición de todos los tubos y mangueras de fumigación, y cambie cualquiera que esté desgastado o dañado.
Apriete los herrajes de todos los tubos y mangueras.
Pinte las superficies que estén arañadas o donde esté visible el metal. Puede adquirir pintura en su Distribuidor Autorizado Toro.
Guarde la máquina en un garaje o almacén seco y limpio.
Retire la llave de contacto y guárdela en un lugar seguro, fuera del alcance de los niños.
Cubra la máquina para protegerla y para conservarla limpia.
| Problem | Possible Cause | Corrective Action |
|---|---|---|
| El motor de arranque no se engrana. |
|
|
| El motor gira pero no arranca. |
|
|
| El motor arranca, pero no sigue funcionando. |
|
|
| El motor funciona, pero irregularmente. |
|
|
| El motor no funciona al ralentí. |
|
|
| El motor se sobrecalienta. |
|
|
| El motor pierde potencia. |
|
|
| Hay vibración o ruido anormal. |
|
|
| La máquina no funciona o funciona con dificultad en ambas direcciones porque el motor se ahoga o se cala. |
|
|
| La máquina no funciona en ninguna de las dos direcciones. |
|
|
| Problem | Possible Cause | Corrective Action |
|---|---|---|
| Una sección no fumiga. |
|
|
| Una sección no se desactiva. |
|
|
| Una válvula de sección tiene fugas. |
|
|
| Las boquillas de fumigación gotean cuando se cierra uno o más interruptores de sección |
|
|
| Se produce una caída de presión al activar una sección. |
|
|
| Cuando se desactivan las secciones, hay un cambio de presión al mover el interruptor de agitación a la posición de Activado. |
|
|
| Cuando se fumiga con múltiples secciones, la presión cambia cuando se desactiva una sección. |
|
|
| Al final del trabajo de fumigación, queda más fluido de lo previsto en el depósito. |
|
|
| El depósito de fumigación se queda de repente sin fluido durante el trabajo de fumigación. |
|
|
