| Périodicité d'entretien | Procédure d'entretien |
|---|---|
| À chaque utilisation ou une fois par jour |
|
Cette machine est un véhicule pulvérisateur spécial destiné aux utilisateurs professionnels et temporaires employés à des applications professionnelles. Il est principalement conçu pour pulvériser les pelouses entretenues régulièrement dans les parcs, les terrains de golf, les terrains de sport et les espaces verts professionnels.
Cette machine est principalement conçue comme un véhicule non routier et ne doit pas être conduite régulièrement sur la voie publique. L'utilisation de ce produit à d'autres fins que celle prévue peut être dangereuse pour vous-même et toute personne à proximité.
Lisez attentivement cette notice pour apprendre comment utiliser et entretenir correctement votre produit, et éviter ainsi de l'endommager ou de vous blesser. Vous êtes responsable de l'utilisation sûre et correcte du produit.
Pour plus d'informations, y compris des conseils de sécurité, des documents de formation, des renseignements concernant un accessoire, pour obtenir l'adresse d'un concessionnaire ou pour enregistrer votre produit, rendez-vous sur www.Toro.com.
Pour obtenir des prestations de service, des pièces d'origine Toro ou des renseignements complémentaires, munissez-vous des numéros de modèle et de série du produit et contactez un concessionnaire-réparateur agréé ou le service client Toro. La Figure 1 indique l'emplacement des numéros de modèle et de série sur le produit. Inscrivez les numéros dans l'espace réservé à cet effet.
Avec votre appareil mobile, vous pouvez scanner le QR code sur l'autocollant du numéro de série (le cas échéant) pour accéder aux renseignements sur la garantie, les pièces détachées et autres informations concernant le produit.

Les mises en garde de ce manuel soulignent des dangers potentiels et sont signalées par le symbole de sécurité (Figure 2), qui indique un danger pouvant entraîner des blessures graves ou mortelles si les précautions recommandées ne sont pas respectées.

Ce manuel utilise deux termes pour faire passer des renseignements essentiels. Important pour attirer l'attention sur des informations d'ordre mécanique spécifiques et Remarque pour souligner des informations d'ordre général méritant une attention particulière.
Ce produit est conforme à toutes les directives européennes pertinentes. Pour plus de renseignements, reportez-vous à la Déclaration de conformité spécifique du produit fournie séparément.
Vous commettez une infraction à la section 4442 ou 4443 du Code des ressources publiques de Californie si vous utilisez cette machine dans une zone boisée, broussailleuse ou recouverte d'herbe à moins d'équiper le moteur d'un pare-étincelles, tel que défini à la section 4442, maintenu en bon état de marche, ou à moins de construire, équiper et entretenir le moteur de manière à prévenir les incendies.
Le manuel du propriétaire du moteur ci-joint est fourni à titre informatif concernant la réglementation de l'Agence américaine pour la protection de l'environnement (EPA) et la réglementation antipollution de l'état de Californie relative aux systèmes antipollution, à leur entretien et à leur garantie. Vous pouvez vous en procurer un nouvel exemplaire en vous adressant au constructeur du moteur.
Si cette machine est équipée d'un système télématique, demandez conseil à votre distributeur Toro agréé pour savoir comment l'activer.
CALIFORNIE
Proposition 65 - Avertissement
Les gaz d'échappement de ce produit contiennent des substances chimiques considérées par l'état de Californie comme susceptibles de provoquer des cancers, des malformations congénitales et autres troubles de la reproduction.
Les bornes de la batterie et accessoires connexes contiennent du plomb et des composés de plomb. L'état de Californie considère ces substances chimiques comme susceptibles de provoquer des cancers et des troubles de la reproduction. Lavez-vous les mains après avoir manipulé la batterie.
L'utilisation de ce produit peut entraîner une exposition à des substances chimiques considérées pas l'état de Californie comme capables de provoquer des cancers, des anomalies congénitales ou d'autres troubles de la reproduction.
Cette machine peut occasionner des accidents si elle n'est pas utilisée ou entretenue correctement. Pour réduire les risques d'accidents et de blessures, respectez les consignes de sécurité qui suivent. Tenez toujours compte des mises en garde signalées par le symbole de sécurité Figure 2 et la mention Prudence, Attention ou Danger. Le non respect des instructions peut entraîner des blessures graves ou mortelles.
Ce produit peut causer des blessures. Respectez toujours toutes les consignes de sécurité pour éviter des blessures graves.
Vous devez lire et comprendre le contenu de ce Manuel de l'utilisateur avant de démarrer le moteur.
Accordez toute votre attention à l'utilisation de la machine. Ne faites rien d’autre qui puisse vous distraire, au risque de causer des dommages corporels ou matériels.
Utilisez un équipement de protection individuelle (EPI) adapté pour éviter tout contact avec les produits chimiques. Les substances chimiques utilisées dans le système de pulvérisation peuvent être nocives et toxiques.
N'approchez pas les mains ou les pieds des composants mobiles de la machine.
N'utilisez pas la machine s'il manque des capots ou d'autres dispositifs de protection, ou s'ils sont endommagés.
Ne vous approchez pas des buses pendant la pulvérisation et tenez-vous à l'écart du brouillard de pulvérisation. N'admettez personne, notamment les enfants, dans le périmètre de travail.
N'autorisez jamais les enfants à utiliser la machine.
Avant de quitter la position d'utilisation, garez la machine sur une surface plane et horizontale, serrez le frein de stationnement, coupez le moteur, enlevez la clé (selon l'équipement) et attendez l'arrêt de tout mouvement. Laissez refroidir la machine avant de la régler, d'en faire l'entretien, de la nettoyer ou de la remiser.
L'usage ou l'entretien incorrect de cette machine
peut occasionner des accidents. Pour réduire les risques d'accidents
et de blessures, respectez les consignes de sécurité
qui suivent. Tenez toujours compte des mises en garde signalées
par le symbole de sécurité (
) et la mention Prudence,
Attention ou Danger. Le non respect de ces instructions peut entraîner
des blessures graves ou mortelles.
Les accessoires disponibles pour cette machine ne sont pas tous abordés dans ce manuel. Reportez-vous au manuel de l'utilisateur de chaque accessoire pour plus de précisions sur les consignes de sécurité.
![]() |
Des autocollants de sécurité et des instructions bien visibles par l'utilisateur sont placés près de tous les endroits potentiellement dangereux. Remplacez tout autocollant endommagé ou manquant. |























Note: Les côtés gauche et droit de la machine sont déterminés d'après la position d'utilisation normale.
Note: Si vous avez besoin de conseils ou de renseignements supplémentaires concernant le système de pulvérisation, consultez le Manuel de l'utilisateur fourni avec le système.
Important: Ce pulvérisateur est vendu sans buses.Pour utiliser le pulvérisateur, vous devez vous procurer et monter les buses. Contactez votre distributeur Toro agréé pour tout renseignement sur les kits de sections et les accessoires disponibles. Après avoir monté les buses et avant d'utiliser le pulvérisateur pour la première fois, réglez le débit de pulvérisation et étalonnez les vannes de dérivation des sections afin que la pression et le débit d'application restent identiques pour toutes les sections lorsque vous en désactivez une ou plusieurs sections. Voir la Étalonnage de la pulvérisation et la Étalonnage des vannes de dérivation des sections.
Pièces nécessaires pour cette opération:
| Raccord à 90° | 1 |
| Raccord rapide | 1 |
| Adaptateur de flexible | 1 |
| Support de l'embout de remplissage | 1 |
| Boulon à embase (5/16" x ¾") | 1 |
| Flexible anti-siphonnage | 1 |
Posez le support de l'embout de remplissage sur le trou fileté de la cuve et fixez-le en place avec un boulon à embase (5/16" x ¾"), comme montré à la Figure 3.

Passez l'extrémité filetée du raccord coudé à 90 degrés dans le trou du support et vissez-y le raccord rapide pour le fixer au support (Figure 3).
Note: Lorsque vous installez le raccord à 90°, dirigez l'extrémité ouverte vers la grande ouverture du support et vers l'ouverture de la cuve pour que le jet d'eau soit dirigé dans la cuve lors du remplissage.
Raccordez l'adaptateur de flexible au raccord rapide (Figure 3).
Bloquez l'adaptateur en place en basculant les leviers vers l'adaptateur puis en les fixant en position avec les goupilles fendues (Figure 3).
Insérez le flexible anti-siphonnage dans la grande ouverture du support et branchez-le sur l'extrémité cannelée du raccord coudé à 90 degrés (Figure 3
Important: N'allongez pas le flexible au point qu'il touche les liquides dans la cuve.



La pédale d'accélérateur (Figure 7) permet de varier la vitesse de déplacement du pulvérisateur. Enfoncez la pédale pour augmenter la vitesse de déplacement. Relâchez la pédale pour ralentir le pulvérisateur et baisser le régime moteur au ralenti.

Enfoncez complètement la pédale d'embrayage (Figure 7) pour désengager l'embrayage lors du démarrage du moteur ou d'un changement de vitesse. Relâchez la pédale en douceur quand la transmission est en prise pour éviter toute usure inutile de la transmission et des pièces connexes.
Important: Ne laissez pas le pied sur la pédale d'embrayage pendant l'utilisation. Vous devez relâcher complètement la pédale d'embrayage, sinon l'embrayage patinera, ce qui le fera chauffer et l'usera. N'utilisez jamais l'embrayage pour maintenir la machine à l'arrêt sur une pente ; vous risqueriez d'endommager l'embrayage.
Elle permet d'arrêter le pulvérisateur ou de réduire la vitesse de déplacement (Figure 7).
Les freins peuvent s'user ou se dérégler et provoquer des accidents.
Si vous pouvez enfoncer la pédale de frein à moins de 2,5 cm du plancher, réglez ou réparez les freins.
Le frein de stationnement est un grand levier situé à gauche du siège (Figure 8). Serrez le frein de stationnement chaque fois que vous quittez le siège pour éviter tout déplacement accidentel du pulvérisateur. Tirez sur le levier et ramenez-le en arrière pour serrer le frein de stationnement. Pour desserrer le frein, poussez le levier vers l'avant et vers le bas. Si le pulvérisateur est garé sur une pente raide, serrez le frein de stationnement et placez des cales sous les roues en aval.

La fonction d'aide en côte empêche le pulvérisateur de rouler ou d'avancer par saccades sur les terrains ondulés en le retenant temporairement quand vous déplacez votre pied de la pédale de frein à la pédale d'accélérateur. Pour engager l'aide en côte, engagez l'embrayage et enfoncez fermement la pédale de frein. Lorsque l'aide en côte est engagée, l'icône correspondante s'affiche sur l'InfoCenter ; voir le Guide du logiciel du pulvérisateur Multi Pro 1750 L'aide en côte retient la machine pendant 2 secondes après le relâchement de la pédale de frein.
Note: La fonction d'aide en côte ne retient la machine que temporairement et ne remplace donc pas le frein de stationnement.
Le blocage du différentiel permet de bloquer l'essieu arrière afin d'accroître la motricité. Vous pouvez engager le blocage du différentiel (Figure 6) pendant le déplacement du pulvérisateur. Déplacez le levier en avant et à droite pour engager le blocage du différentiel.
Note: Il peut être nécessaire de conduire la machine en marche avant tout en braquant légèrement pour engager ou désengager le blocage du différentiel.
Si vous braquez alors que le différentiel est bloqué, vous risquez de perdre le contrôle de la machine.
Ne bloquez pas le différentiel en prenant des virages serrés ou à grande vitesse ; voir Utilisation du blocage du différentiel.
La commande de starter est un petit bouton situé derrière le sélecteur de vitesses (Figure 6). Pour mettre en marche un moteur froid, tirez la commande de starter vers le haut. Dès que le moteur a démarré, réglez la commande de starter de façon à obtenir un régime moteur régulier. Repoussez la commande en position HORS SERVICE le plus rapidement possible. Le starter n'est pas ou presque pas nécessaire si le moteur est chaud.
Le sélecteur de vitesses (Figure 6) a 5 positions : 3 vitesses en marche avant, le POINT MORT et la MARCHE ARRIèRE. Le moteur ne peut démarrer que si le sélecteur de vitesses est à la position POINT MORT.
Le commutateur d'allumage (Figure 6) a 3 positions : ARRêT, CONTACT et DéMARRAGE. Tournez la clé dans le sens horaire à la position de DéMARRAGE pour mettre le moteur en marche et laissez-la revenir à la position CONTACT quand il a démarré. Tournez la clé à la position d'ARRêT pour couper le moteur.
Basculez l'interrupteur pour commander les phares (Figure 6). Appuyez vers l'avant pour allumer les phares, et vers l'arrière pour les éteindre.
Lorsque le sélecteur de vitesses est au POINT MORT, vous pouvez vous utiliser la pédale d'accélérateur pour augmenter le régime moteur, puis pousser en avant la commande située sous l'InfoCenter pour régler le moteur à ce régime. Cela est nécessaire pour utiliser la fonction d'agitation de la cuve quand la machine est à l'arrêt ou pour utiliser des accessoires comme le pulvérisateur manuel (Figure 6).
Important: Le sélecteur de vitesses doit être à la position POINT MORT et le frein de stationnement doit être serré pour que cette commande fonctionne.
La jauge de carburant est située en haut du réservoir de carburant, sur le côté gauche de la machine, et indique le niveau de carburant dans le réservoir.
La commande générale des sections (Figure 6) est située sur le côté de la console et à la droite du siège de l'utilisateur. Elle permet de démarrer et d'arrêter la pulvérisation. Appuyez sur la commande pour activer ou désactiver le système de pulvérisation.
Les interrupteurs des sections gauche, centrale et droite se trouvent sur le panneau de commande (Figure 6). Basculez chaque interrupteur en avant pour activer la section correspondante et en arrière pour la désactiver. Un voyant s'allume sur la commande quand elle est en position activée. Ces interrupteurs n'ont d'effet sur le système de pulvérisation que si la commande générale des sections est activée.
La commande de pompe se trouve sur le panneau de commande, à droite du siège (Figure 6). Basculez la commande en avant pour faire fonctionner la pompe, ou en arrière pour l'arrêter.
Important: La commande de pompe s'engage uniquement lorsque le moteur tourne au ralenti pour éviter d'endommager l'entraînement de la pompe.
La commande de débit de pulvérisation est située sur le panneau de commande, à droite du siège (Figure 6). Appuyez de manière prolongée sur le haut de la commande pour augmenter la pression du système de pulvérisation ou sur le bas pour réduire la pression.
Le commutateur de l'intendant est situé sur le panneau de commande, à droite du siège (Figure 6). Tournez la clé dans le sens antihoraire à la position de BLOCAGE pour désactiver la commande de débit de pulvérisation et interdire ainsi toute modification accidentelle du débit. Tournez la clé dans le sens horaire à la position de DéBLOCAGE pour activer le commutateur de débit de pulvérisation.
Les interrupteurs de levage de de rampe section sont situés sur le panneau de commande et permettent de lever les sections de rampe extérieures.
Le compteur horaire indique le nombre total d'heures de fonctionnement du moteur. Ce nombre est affiché sur le premier écran de l'InfoCenter. Le compteur horaire se déclenche chaque fois que la clé de contact est tournée à la position CONTACT.
Si vous montez le kit traceur à mousse, vous devez ajouter les commandes correspondantes au panneau de commande. Des obturateurs en plastique occupent ces emplacements sur le pulvérisateur.
Il se trouve derrière la cuve (Figure 9) et régule le volume de liquide qui est dirigé vers les sections ou le retour de débit vers la cuve.

La vanne principale des sections (Figure 9) régule le débit vers le débitmètre et les vannes des sections.
Le débitmètre mesure le débit de liquide qui sera utilisé par le système InfoCenter (Figure 9).
Ces vannes activent ou désactivent les sections droite, centrale et gauche (Figure 9).
La vanne de coupure de dérivation de section redirige le liquide d'une section vers la cuve lorsque vous désactivez la section concernée. Vous pouvez réglez la dérivation de sorte à maintenir constante la pression de section quel que soit le nombre de sections en service. Voir Réglage des vannes de dérivation des sections.
Cette vanne est située à l'arrière de la cuve (Figure 9). Lorsque l'agitation est activée, le débit passe par les buses d'agitation dans la cuve. Lorsque l'agitation est désactivée, le débit passe par l'aspiration de la pompe.
Le manomètre se trouve sur le panneau de commande (Figure 6). Il indique la pression du liquide dans le système en bar et en psi.
L'écran LCD de l'InfoCenter affiche des données concernant votre machine et le bloc batterie, telles que la charge actuelle de la batterie, la vitesse, des données de diagnostic et autres (Figure 6).
Pour en savoir plus, consultez le Guide de logiciel du Multi Pro 1750.
La vanne d'étranglement d'agitation permet de réduire le débit disponible dans le circuit d'agitation. Elle fournit un débit additionnel pour les sections.
Note: Les spécifications et la conception peuvent faire l'objet de modifications sans préavis.
| Poids avec système de pulvérisation standard à vide, sans l'utilisateur | 953 kg |
| Poids avec système de pulvérisation standard plein, sans l'utilisateur | 1678 kg |
| Poids total autorisé en charge (PTAC) maximum (sur surface plane) | 1814 kg |
| Longueur hors tout avec système de pulvérisation standard | 343 cm |
| Hauteur hors tout avec système de pulvérisation standard | 191 cm |
| Hauteur hors tout avec système de pulvérisation standard jusqu'en haut des sections repliées en croix. | 246 cm |
| Largeur hors tout quand les sections du système de pulvérisation standard sont repliées en croix | 178 cm |
| Garde au sol | 14 cm |
| Empattement | 155 cm |
| Capacité du réservoir (y compris expansion 5% selon la réglementation CE) | 662 l |
Une sélection d'outils et d'accessoires agréés par Toro est disponible pour augmenter et améliorer les capacités de la machine. Contactez un distributeur Toro agréé.
Pour garantir un rendement optimal et conserver la certification de sécurité de la machine, utilisez uniquement des pièces de rechange et accessoires d'origine Toro. Les pièces de rechange et accessoires provenant d'autres constructeurs peuvent être dangereux, et leur utilisation risque d'annuler la garantie de la machine.
Note: Les côtés gauche et droit de la machine sont déterminés d'après la position d'utilisation normale.
Ne confiez jamais l'utilisation ou l'entretien de la machine à des enfants ou à des personnes non qualifiées. La réglementation locale peut imposer un âge minimum pour les utilisateurs. Le propriétaire de la machine doit assurer la formation de tous les utilisateurs et mécaniciens.
Familiarisez-vous avec le maniement correct du matériel, les commandes et les symboles de sécurité.
Avant de quitter la position d'utilisation :
Garez la machine sur une surface plane et horizontale.
Sélectionnez le POINT MORT (transmission manuelle) ou la position STATIONNEMENT (transmission automatique).
Serrez le frein de stationnement.
Coupez le moteur de la machine et enlevez la clé (selon l'équipement).
Attendez l'arrêt complet de tout mouvement.
Apprenez à arrêter la machine et le moteur rapidement.
Vérifiez toujours que les commandes de présence de l'utilisateur, les contacteurs de sécurité et les capots de protection sont en place et fonctionnent correctement. N'utilisez pas la machine s'ils ne fonctionnent pas correctement.
N'utilisez pas la machine si elle ne fonctionne pas correctement ou si elle est endommagée de quelque manière que ce soit. Remédiez au problème avant d'utiliser la machine ou l'accessoire.
Vérifiez le serrage de tous les raccords, ainsi que l'état de tous les flexibles avant de mettre le système sous pression.
Faites preuve de la plus grande prudence quand vous manipulez du carburant, en raison de son inflammabilité et du risque d'explosion des vapeurs qu'il dégage.
Éteignez cigarettes, cigares, pipes et autres sources d'étincelles.
Utilisez exclusivement un bidon à carburant homologué.
N'enlevez pas le bouchon du réservoir de carburant et n'ajoutez pas de carburant pendant que le moteur tourne ou est encore chaud.
N'ajoutez pas de carburant et ne vidangez pas le réservoir dans un local fermé.
Ne rangez pas la machine ni les bidons de carburant à proximité d'une flamme nue, d'une source d'étincelles ou d'une veilleuse, telle celle d'un chauffe-eau ou autre appareil.
Si vous renversez du carburant, ne mettez pas le moteur en marche. Évitez toute source possible d'inflammation jusqu'à dissipation complète des vapeurs de carburant.
Les substances chimiques utilisées dans le système de pulvérisation peuvent être nocives et toxiques pour vous-même, toute autre personne et les animaux ; elles peuvent aussi endommager les plantes, les sols et autres.
Lisez l'information sur chaque produit chimique. Refusez d'utiliser ou d'intervenir sur le pulvérisateur si ces renseignements ne sont pas disponibles.
Avant toute intervention sur un système de pulvérisation, assurez-vous qu'il a été neutralisé et rincé à trois reprises conformément aux recommandations du ou des fabricants des produits chimiques et que toutes les vannes ont effectué 3 cycles.
Assurez-vous de disposez d'une source d'eau propre et de savon à proximité afin de pouvoir vous laver immédiatement en cas de contact direct avec un produit chimique.
Lisez attentivement les étiquettes signalétiques et les fiches de données de sécurité (FDS) de tous les produits chimiques utilisés et protégez-vous en suivant les recommandations des fabricants des produits chimiques.
Protégez-vous toujours le corps lorsque vous utilisez des produits chimiques. Utilisez un équipement de protection individuelle (EPI) adapté pour éviter tout contact direct avec les produits chimiques, notamment les équipements suivants :
lunettes de sécurité, lunettes enveloppantes et/ou écran facial
combinaison de protection chimique
appareil respiratoire ou masque filtrant
gants résistants aux produits chimiques
bottes en caoutchouc ou autres chaussures solides
vêtements de rechange propres, savon et serviettes jetables pour le nettoyage
Suivez la formation appropriée avant d'utiliser ou de manipuler des produits chimiques.
Utilisez le produit chimique correct pour la tâche à accomplir.
Suivez les instructions du fabricant concernant l'application sûre du produit chimique. Ne dépassez pas la pression d'application recommandée du système.
Ne remplissez-pas, n'étalonnez pas ou ne nettoyez pas la machine lorsque des personnes, en particulier des enfants, ou des animaux se trouvent à proximité.
Manipulez les produits chimiques dans un local bien ventilé.
Vous ne devez jamais manger, boire ou fumer lorsque vous travaillez près de produits chimiques.
Ne nettoyez pas les buses de pulvérisation en soufflant dedans ou les mettant dans la bouche.
Lavez-vous toujours les mains et toute autre partie du corps exposée après avoir travaillé avec des produits chimiques.
Conservez les produits chimiques dans leur emballage d'origine et rangez-les en lieu sûr.
Débarrassez-vous correctement des produits chimiques et des récipients qui les contiennent, selon les instructions du fabricant et la réglementation locale.
Les produits chimiques et les vapeurs à l'intérieur des cuves sont dangereux. Ne pénétrez jamais à l'intérieur et ne passez jamais votre tête au-dessus ou par l'ouverture de la cuve.
Respectez la réglementation locale et nationale concernant la pulvérisation ou l'épandage de produits chimiques.
Le moteur est expédié avec de l'huile dans le carter. Vérifiez toutefois le niveau d'huile avant et après la première mise en marche du moteur.
Placez la machine sur une surface plane et horizontale.
Retirez la jauge et essuyez-la sur un chiffon propre (Figure 10).
Remettez la jauge dans le tube en l'enfonçant complètement. Sortez de nouveau la jauge et vérifiez le niveau d'huile.

Si le niveau d'huile est trop bas, retirez le bouchon de remplissage du couvre-culasse (Figure 10) et versez la quantité d'huile nécessaire dans l'orifice pour amener le niveau au repère MAXIMUM sur la jauge ; voir Entretien du moteur pour connaître le type d'huile et la viscosité qui conviennent.
Note: Versez l'huile lentement et vérifiez souvent le niveau durant la procédure. Ne remplissez pas excessivement.
Revissez la jauge solidement en place.
| Périodicité d'entretien | Procédure d'entretien |
|---|---|
| À chaque utilisation ou une fois par jour |
|
Gonflez les pneus à 1,38 bar. Vérifiez aussi si les pneus sont usés ou endommagés.
Note: Remplacez les pneus usés ou endommagés.
| Carburant à base de pétrole | Utilisez de l'essence sans plomb avec un indice d'octane de 87 ou plus (méthode de calcul [R+M]/2). |
| Carburant à l'éthanol | Utilisez de l'essence sans plomb contenant jusqu'à 10 % d'éthanol (essence-alcool), ou de l'essence avec 15 % de MTBE (éther méthyltertiobutylique) par volume peut être utilisée à la rigueur. L'éthanol et le MTBE sont deux produits différents. |
| L'utilisation d'essence contenant 15 % d'éthanol (E15) par volume n'est pas agréée. N'utilisez jamais d'essence contenant plus de 10 % d'éthanol par volume, comme E15 (qui contient 15 % d'éthanol), E20 (qui contient 20 % d'éthanol) ou E85 (qui contient jusqu'à 85 % d'éthanol). L'utilisation d'essence non agréée peut entraîner des problèmes de performances et/ou des dommages au moteur qui peuvent ne pas être couverts par la garantie. |
Important: Pour assurer le fonctionnement optimal de la machine, utilisez uniquement du carburant propre et frais (stocké depuis moins d'un mois).
N'utilisez pas d'essence contenant du méthanol.
Ne stockez pas le carburant dans le réservoir ou dans des bidons pendant l'hiver, à moins d'utiliser un stabilisateur de carburant.
N'ajoutez pas d'huile à l'essence.
La capacité approximative du réservoir de carburant est de 19 litres.
Note: Le bouchon du réservoir de carburant comporte une jauge qui indique le niveau de carburant. Contrôlez fréquemment le niveau de carburant.
Garez la machine sur une surface plane et horizontale, serrez le frein de stationnement, coupez le moteur et enlevez la clé.
Nettoyez la surface autour du bouchon du réservoir de carburant (Figure 11).

Enlevez le bouchon du réservoir de carburant.
Remplissez le réservoir de carburant jusqu'à 2,5 cm au-dessous du haut du réservoir (base du goulot de remplissage).
Note: L'espace vide dans le réservoir permet au carburant de se dilater. Ne remplissez pas excessivement le réservoir.
Revissez solidement le bouchon du réservoir.
Essuyez le carburant éventuellement répandu.
| Périodicité d'entretien | Procédure d'entretien |
|---|---|
| À chaque utilisation ou une fois par jour |
|
Pour préserver le bon fonctionnement et prolonger la vie du pulvérisateur, suivez les instructions ci-dessous pendant les 100 premières heures de fonctionnement :
Vérifiez régulièrement les niveaux de liquides et d'huile moteur, et recherchez des signes de surchauffe des composants du pulvérisateur.
Si le moteur est froid, laissez-le tourner pendant environ 15 secondes avant d'appuyer sur la pédale d'accélérateur.
Pour optimiser le système de freinage, vous devez roder les freins comme suit :
Versez 454 l d'eau dans la cuve.
Amenez la machine sur une surface plane et dégagée.
Conduisez la machine à la vitesse maximale.
Freinez rapidement.
Note: Arrêtez la machine en ligne droite sans bloquer les roues.
Patientez 1 minute pour laissez aux freins le temps de refroidir.
Répétez les opérations 3 à 5 9 fois de plus.
Évitez d'emballer le moteur.
Variez la vitesse du pulvérisateur pendant l'utilisation. Évitez les démarrages brutaux et les arrêts rapides.
Reportez-vous à pour connaître les contrôles spéciaux à effectuer pendant le rodage.
Note: Consultez le guide de sélection des buses disponible auprès de votre distributeur Toro agréé.
Les corps de tourelles peuvent recevoir jusqu'à 3 buses différentes. Pour choisir une buse, procédez comme suit :
Arrêtez le pulvérisateur sur une surface plane et horizontale, coupez le moteur et serrez le frein de stationnement.
Réglez la commande générale des sections en position DéSACTIVéE et la commande de la pompe de pulvérisation en position ARRêT.
Tournez la tourelle de buses dans un sens ou dans l'autre jusqu'à la buse correcte.
Effectuez l'étalonnage du débit de pulvérisation ; voir Étalonnage de la pulvérisation.
Effectuez l'étalonnage des vannes de dérivation des sections ; voir Étalonnage des vannes de dérivation des sections.
Équipement standard : filtre d'aspiration maillage 50 (bleu)
Utilisez le tableau des filtres d'aspiration pour identifier le maillage correct pour les buses utilisées, en fonction des produits chimiques ou des solutions de viscosité équivalente à l'eau.
| Code couleur des buses de pulvérisation (débit) | Maillage de la crépine* | Code couleur des filtres |
|---|---|---|
| Jaune (0,75 l/min) | 50 | Bleu |
| Rouge (1,5 l/min) | 50 | Bleu |
| Brun (1,90 l/min) | 50 (ou 30) | Bleu (ou vert) |
| Gris (2,25 l/min) | 30 | Vert |
| Blanc (3 l/min) | 30 | Vert |
| Bleu (3,5 l/min) | 30 | Vert |
| Vert (5,5 l/min) | 30 | Vert |
| *Le maillage des filtres d'aspiration indiqué dans ce tableau est basé sur des produits chimiques ou des solutions de viscosité équivalente à l'eau. | ||
Important: Si vous pulvérisez des produits chimiques de viscosité plus élevée (plus épais) ou des solutions avec poudres mouillables, vous devrez peut-être utiliser un maillage plus grossier pour le filtre d'aspiration en option ; voir Figure 12.

Lorsque vous utilisez un débit de pulvérisation plus élevé, envisagez d'utiliser un filtre d'aspiration à maillage plus grossier ; voir Figure 13.

Les maillages suivants sont proposés :
Équipement standard : filtre d'aspiration maillage 50 (bleu)
Consultez le tableau des filtres de pression pour identifier le maillage correct pour les buses utilisées, en fonction des produits chimiques ou des solutions de viscosité équivalente à l'eau.
| Code couleur des buses de pulvérisation (débit) | Maillage de la crépine* | Code couleur des filtres |
|---|---|---|
| Selon besoin pour les produits chimiques ou les solutions à faible viscosité ou pour de faibles débits d'application | 100 | Vert |
| Jaune (0,75 l/min) | 80 | Jaune |
| Rouge (1,5 l/min) | 50 | Bleu |
| Brun (1,90 l/min) | 50 | Bleu |
| Gris (2,25 l/min) | 50 | Bleu |
| Blanc (3 l/min) | 50 | Bleu |
| Bleu (3,5 l/min) | 50 | Bleu |
| Vert (5,5 l/min) | 50 | Bleu |
| Selon besoin pour les produits chimiques ou les solutions à viscosité élevée ou pour des débits d'application élevés | 30 | Rouge |
| Selon besoin pour les produits chimiques ou les solutions à viscosité élevée ou pour des débits d'application élevés | 16 | Marron |
| *Le maillage des filtres de pression indiqué dans ce tableau est basé sur des produits chimiques ou des solutions de viscosité équivalente à l'eau. | ||
Important: Si vous pulvérisez des produits chimiques de viscosité plus élevée (plus épais) ou des solutions avec poudres mouillables, vous devrez peut-être utiliser un maillage plus grossier pour le filtre de pression optionnel ; voir Figure 14.

Quand vous utilisez un débit de pulvérisation plus élevé, songez à utiliser un filtre de pression à maillage plus grossier ; voir Figure 15.

Note: Utilisez le filtre de pastille optionnel pour protéger la pastille et prolonger sa vie utile.
Utilisez le tableau des filtres de buse pour identifier le maillage correct pour les buses utilisées, en fonction des produits chimiques ou des solutions de viscosité équivalente à l'eau.
| Code couleur des buses de pulvérisation (débit) | Maillage du filtre* | Code couleur des filtres |
|---|---|---|
| Jaune (0,75 l/min) | 100 | Vert |
| Rouge (1,5 l/min) | 50 | Bleu |
| Brun (1,90 l/min) | 50 | Bleu |
| Gris (2,25 l/min) | 50 | Bleu |
| Blanc (3 l/min) | 50 | Bleu |
| Bleu (3,5 l/min) | 50 | Bleu |
| Vert (5,5 l/min) | 50 | Bleu |
| *Le maillage des filtres de buse indiqué dans ce tableau est basé sur des produits chimiques ou des solutions de viscosité équivalente à l'eau. | ||
Important: Lorsque vous pulvérisez des produits chimiques de viscosité plus élevée (plus épais) ou des solutions avec poudres mouillables, vous devrez peut-être utiliser un maillage plus grossier pour le filtre des pastilles de buses optionnel ; voir Figure 16.

Quand vous utilisez un débit de pulvérisation plus élevé, songez à utiliser un filtre de buse à maillage plus grossier ; voir Figure 17.

Important: N'utilisez pas d'eau recyclée (eau grise) dans le réservoir d'eau douce.
Note: Ce réservoir constitue une source d'eau douce que vous pouvez utiliser pour laver la peau, les yeux ou d'autres parties du corps en cas d'exposition accidentelle aux produits chimiques.
Remplissez toujours le réservoir d'eau douce propre avant de manipuler ou de mélanger des produits chimiques.
Pour remplir le réservoir, dévissez le bouchon situé sur le dessus, remplissez-le d'eau douce puis revissez le bouchon en place (Figure 18).
Pour ouvrir le robinet du réservoir d'eau douce, tournez le levier sur le robinet (Figure 18).

Montez le kit de prémélange de produit chimique en option pour optimiser le mélange et la propreté extérieure de la cuve.
Important: Dans la mesure du possible, n'utilisez pas d'eau recyclée (eau grise) dans la cuve du pulvérisateur.
Important: Vérifiez que les produits chimiques que vous utilisez sont compatibles avec le VitonTM (voir l'étiquette du fabricant qui devrait indiquer la compatibilité). L'utilisation d'un produit chimique non compatible avec le VitonTM aura pour effet de dégrader les joints toriques du pulvérisateur et de causer des fuites.
Important: Vérifiez que le débit de pulvérisation correct est réglé avant de remplir la cuve de produits chimiques.
Actionnez les sections pour purger le conditionneur présent dans le système de pulvérisation.
Arrêtez le pulvérisateur sur une surface plane et horizontale, placez le sélecteur de vitesses au POINT MORT, coupez le moteur et serrez le frein de stationnement.
Vérifiez que le robinet de vidange de la cuve est fermé.
Déterminez la quantité d'eau nécessaire pour mélanger la quantité de produit chimique requise selon les indications du fabricant.
Ouvrez le couvercle de la cuve du pulvérisateur.
Note: Le couvercle se trouve en haut, au centre de la cuve. Pour ouvrir le couvercle, tournez la moitié avant dans le sens antihoraire et soulevez-le. Vous pouvez retirer la crépine qui se trouve à l'intérieur pour la nettoyer. Pour fermer la cuve, rabattez le couvercle et tournez la moitié avant dans le sens horaire.
Versez les 3/4 de l'eau nécessaire dans la cuve à l'aide de l'embout de remplissage anti-siphonnage.
Important: Utilisez toujours de l'eau douce et propre dans la cuve de produit. Ne versez pas de concentré dans la cuve vide.

Mettez le moteur en marche et réglez la commande de la pompe à la position de MARCHE.
Enfoncez la pédale d'accélérateur au plancher et ACTIVEZ le blocage du régime moteur.
Placez la commande générale des sections en position DéSACTIVéE.
Tournez la commande d'agitation en position de MARCHE.
Ajoutez la proportion correcte de concentré chimique dans la cuve selon les instructions du fabricant du produit.
Important: Si vous utilisez de la poudre mouillable sans agitation complète, mélangez-la avec une petite quantité d'eau pour former une bouillie avant de la verser dans la cuve.
Ajoutez le reste d'eau dans la cuve.
Note: Pour améliorer l'agitation, diminuez le réglage du débit de pulvérisation.
Important: Après avoir rempli la cuve pour la première fois, vérifiez le serrage des sangles de la cuve. Serrez au besoin.
| Périodicité d'entretien | Procédure d'entretien |
|---|---|
| À chaque utilisation ou une fois par jour |
|
Important: Vous risque de déformer et d'endommager la cuve et ses sangles si vous serrez les fixations excessivement.
Important: Dans la mesure du possible, n'utilisez pas d'eau recyclée (eau grise) dans la cuve du pulvérisateur.
Remplissez la cuve principale d'eau.
Vérifiez qu'il n'y a aucun jeu entre les sangles et la cuve (Figure 20).

Si les sangles de la cuve ne sont pas assez serrées, resserrez les contre-écrous à embase et les boulons en haut des sangles jusqu'à ce que ces dernières soient parfaitement en appui sur la surface de la cuve (Figure 20).
Note: Ne serrez pas excessivement les fixations des sangles de la cuve.
Étalonnez le débit de pulvérisation avant d'utiliser le pulvérisateur pour la première fois, après avoir changé de buses ou selon les besoins.
Matériel fourni par l'utilisateur : un chronomètre capable de mesurer ± 1/10 seconde et un récipient gradué par 50 ml.
Important: Dans la mesure du possible, n'utilisez pas d'eau recyclée (eau grise) dans la cuve du pulvérisateur.
Remplissez la cuve du pulvérisateur d'eau propre.
Note: Vérifiez que la cuve contient suffisamment d'eau pour terminer l'étalonnage.
Serrez le frein de stationnement et mettez le moteur en marche.
Placez la commande de la pompe à la position de MARCHE et lancez l'agitation.
Enfoncez la pédale d'accélérateur jusqu'à ce que vous atteignez le régime moteur maximum, puis placez la commande de blocage d'accélérateur en position ACTIVéE.
Réglez les 3 interrupteurs de section et la commande générale des sections à la position ACTIVéE.
Tournez le commutateur de blocage de débit en position DéVERROUILLéE.
Préparez-vous à effectuer un essai de récupération à l'aide d'un récipient gradué.
Commencez à 2,75 bar et ajustez la pression de pulvérisation à l'aide de la commande de débit de pulvérisation de manière que l'essai de récupération produise les quantités indiquées ci-après.
Note: Répétez l'essai 3 fois et utilisez la moyenne.
| Couleur de buse | Millilitres récupérés en 15 secondes | Onces récupérées en 15 secondes |
| Jaune | 189 | 6,4 |
| Rouge | 378 | 12,8 |
| Marron | 473 | 16 |
| Gris | 567 | 19,2 |
| Blanc | 757 | 25,6 |
| Bleu | 946 | 32 |
| Vert | 1 419 | 48 |
Lorsque vous avez obtenu les quantités indiquées dans le tableau ci-dessus, tournez le commutateur de blocage de débit à la position de BLOCAGE.
Placez la commande générale des sections en position désactivée.
Sur l'écran de l'InfoCenter, ouvrez le menu d'étalonnage et sélectionnez l'option FLOW CAL (étalonnage du débit), comme suit :
Note: Vous pouvez sélectionner l'icône de l'écran d'accueil à tout moment pour annuler l'étalonnage.
Appuyez deux fois sur le bouton de sélection central de l'InfoCenter pour accéder aux menus.
Ouvrez le menu d'étalonnage en appuyant sur le bouton de sélection droit de l'InfoCenter.
Mettez l'option FLOW CAL (étalonnage de débit) en surbrillance pour la sélectionner et appuyez sur le bouton de sélection droit de l'InfoCenter.
Sur l'écran suivant, entrez la quantité d'eau connue qui sera pulvérisée pour la procédure d'étalonnage ; voir le tableau ci-dessous.
Appuyez sur le bouton de sélection droit sur l'InfoCenter.
À l'aide des symboles plus (+) et moins (-), entrez le débit selon le tableau ci-dessous.
| Couleur de buse | Litres | Gallons américains |
| Jaune | 42 | 11 |
| Rouge | 83 | 22 |
| Marron | 106 | 28 |
| Gris | 125 | 33 |
| Blanc | 167 | 44 |
| Bleu | 208 | 55 |
| Vert | 314 | 83 |
Tournez la commande générale des sections en position activée pendant 5 minutes.
Note: Pendant la pulvérisation, l'InfoCenter affiche la quantité de liquide qu'il calcule.
Après 5 minutes de pulvérisation, cliquez sur la coche en appuyant sur le bouton central de l'lnfoCenter.
Note: Il est possible que les litres affichés pendant la pulvérisation ne correspondent pas à la quantité d'eau connue que vous avez entrée sur l'InfoCenter ; cela n'a pas d'importance.
Placez la commande générale des sections en position désactivée.
Note: L'étalonnage est maintenant terminé.
Avant d'utiliser le pulvérisateur pour la première fois, si vous changez de buses ou selon les besoins, étalonnez la vitesse de pulvérisation.
Important: Dans la mesure du possible, n'utilisez pas d'eau recyclée (eau grise) dans la cuve du pulvérisateur.
Remplissez la cuve d'eau propre.
Sur une surface plane et dégagée, repérez une distance entre 45 et 152 m.
Note: Toro recommande de repérer une distance de 152 m pour obtenir des résultats plus précis.
Démarrez le moteur et conduisez la machine au début de la distance repérée.
Note: Alignez le centre des pneus avant sur le ligne de départ pour obtenir une mesure plus précise.
Sur l'écran de l'InfoCenter, ouvrez le menu d'étalonnage et sélectionnez l'option SPEED CAL (étalonnage de vitesse).
Note: Vous pouvez sélectionner l'icône de l'écran d'accueil à tout moment pour annuler l'étalonnage.
Sélectionnez sur la flèche Suivant (→) sur l'InfoCenter.
À l'aide des symboles plus (+) et moins (-), entrez la distance repérée dans l'InfoCenter.
Sélectionnez la 1ère et parcourez la distance repérée en ligne droite, à pleins gaz.
Arrêtez la machine à la distance repérée et sélectionnez la coche sur l'écran de l'InfoCenter.
Note: Ralentissez et arrêtez la machine en alignant le centre des pneus avant sur la ligne de fin, pour obtenir une mesure plus précise.
Note: L'étalonnage est maintenant terminé.
Étalonnez la dérivation des sections avant d'utiliser le pulvérisateur pour la première fois, si vous changez de buses ou selon les besoins..
Important: Choisissez une surface plane et horizontale pour effectuer cette procédure.
Important: Dans la mesure du possible, n'utilisez pas d'eau recyclée (eau grise) dans la cuve du pulvérisateur.
Remplissez la cuve du pulvérisateur à moitié d'eau propre.
Abaissez les sections de pulvérisation.
Placez le sélecteur de vitesses au POINT MORT et serrez le frein de stationnement.
Placez les 3 interrupteurs de section en position ACTIVéE, mais laissez la commande générale en position désactivée.
Placez la commande de la pompe à la position de MARCHE et lancez l'agitation.
Enfoncez la pédale d'accélérateur jusqu'à ce que vous atteignez le régime moteur maximum, puis placez la commande de blocage d'accélérateur en position ACTIVéE.
Sur l'écran de l'InfoCenter, ouvrez le menu d'étalonnage et sélectionnez l'option TEST SPEED (vitesse d'essai).
Note: Vous pouvez sélectionner l'icône de l'écran d'accueil à tout moment pour annuler l'étalonnage.
À l'aide des symboles plus (+) et moins (-), entrez une vitesse d'essai de 5,6 km, puis sélectionnez l'icône de l'écran d'accueil.
Tournez le commutateur du responsable (blocage de débit) en position DéVERROUILLéE, et tournez la commande générale des sections en position ACTIVéE.
À l'aide de la commande de débit de pulvérisation, réglez le débit de pulvérisation selon le tableau ci-dessous.
| Couleur de buse | SI (métrique) | Anglais | Turf |
| Jaune | 159 l/ha | 17 gal/a | 0,39 gpk |
| Rouge | 319 l/ha | 34 gal/a | 0,78 gpk |
| Marron | 394 l/ha | 42 gal/a | 0,96 gpk |
| Gris | 478 l/ha | 51 gal/a | 1,17 gpk |
| Blanc | 637 l/ha | 68 gal/a | 1,56 gpk |
| Bleu | 796 l/ha | 85 gal/a | 1,95 gpk |
| Vert | 1 190 l/ha | 127 gal/a | 2,91 gpk |
Désactivez la section gauche et réglez le bouton de dérivation de section (Figure 21) jusqu'à ce que la pression indiquée corresponde à celle réglée précédemment (généralement 2,75 bar).
Note: Les chiffres sur le bouton de dérivation et l'aiguille servent uniquement de référence.

Activez la section gauche et désactivez la section droite.
Tournez le bouton de dérivation de la section droite (Figure 21) jusqu'à ce que la pression indiquée corresponde à celle réglée précédemment (généralement 2,75 bar).
Activez la section droite et désactivez la section centrale.
Réglez le bouton de dérivation de la section centrale (Figure 21) jusqu'à ce que la pression indiquée corresponde à celle réglée précédemment (généralement 2,75 bar).
Désactivez chaque section.
Arrêtez la pompe.
Note: L'étalonnage est maintenant terminé.
La vanne de dérivation d'agitation est en position complètement ouverte comme montré à la Figure 22A.
La vanne de dérivation d'agitation est en position complètement fermée (0) comme montré à la Figure 22B.
La vanne de dérivation d'agitation est en position intermédiaire (réglée en fonction du manomètre pour le système de pulvérisation) comme montré à la Figure 22C.

| Périodicité d'entretien | Procédure d'entretien |
|---|---|
| Une fois par an |
|
Important: Dans la mesure du possible, n'utilisez pas d'eau recyclée (eau grise) dans la cuve du pulvérisateur.
Choisissez une surface plane et horizontale pour effectuer cette procédure.
Remplissez la cuve du pulvérisateur d'eau propre.
Vérifiez si la vanne de commande d'agitation est ouverte. Si elle a été réglée, ouvrez-la complètement.
Serrez le frein de stationnement et mettez le moteur en marche.
Sélectionnez le POINT MORT.
Réglez la commande de pompe à la position de MARCHE.
Enfoncez la pédale d'accélérateur pour faire tourner le moteur au régime maximum et bloquez l'accélérateur.
Réglez les 3 vannes de section en position DéSACTIVéE.
Placez la commande générale des sections en position ACTIVéE.
Réglez la pression du système au MAXIMUM.
Poussez la commande d'agitation à la position ARRêT et observez le manomètre.
Si la pression indiquée reste à 6,9 bar, la vanne de dérivation est étalonnée correctement.
Si la pression indiquée est différente, passez à l'opération suivante.
Réglez la vanne de dérivation (Figure 23) à l'arrière de la vanne d'agitation jusqu'à ce que la pression indiquée soit 6,9 bar.

Poussez la commande de pompe à la position ARRêT, placez la commande d'accélérateur en position de RALENTI, et tournez la clé à la position ARRêT.
Important: Dans la mesure du possible, n'utilisez pas d'eau recyclée (eau grise) dans la cuve du pulvérisateur.
Note: Cette vanne permet de réduire ou d'augmenter le volume de liquide envoyé aux buses d'agitation dans la cuve lorsque la commande générale des sections est en position DéSACTIVéE.
Remplissez la cuve du pulvérisateur à moitié d'eau propre.
Amenez la machine sur une surface plane et dégagée.
Serrez le frein de stationnement.
Sélectionnez le POINT MORT.
Réglez la commande de pompe à la position de MARCHE.
Réglez la commande d'agitation à la position de MARCHE.
Placez la commande générale des sections à la position ARRêT.
Faites monter le régime moteur au régime maximum et placez la commande de blocage d'accélérateur en position ACTIVéE.
Déplacez plus ou moins la poignée de dérivation générale des sections de manière à réguler l'agitation à l'intérieur de la cuve (Figure 23).
Réduisez le régime moteur au ralenti.
Réglez la commande d'agitation et la commande de pompe en position ARRêT.
Coupez le moteur.
La pompe de pulvérisation se trouve sous le siège (Figure 24).

Le propriétaire/l'utilisateur est responsable des accidents pouvant entraîner des dommages corporels ou matériels et peut les prévenir.
Portez une tenue adaptée, y compris une protection oculaire, un pantalon, des chaussures solides à semelle antidérapante et des protecteurs d'oreilles. Si vos cheveux sont longs, attachez-les et ne portez pas de vêtements amples ni de bijoux pendants.
Portez un équipement de protection individuelle adapté comme stipulé dans la section consacrée à la sécurité chimique.
Accordez toute votre attention à l'utilisation de la machine. Ne faites rien d’autre qui puisse vous distraire, au risque de causer des dommages corporels ou matériels.
N'utilisez pas la machine si vous êtes fatigué(e), malade ou sous l'emprise de l'alcool, de médicaments ou de drogues.
Ne transportez jamais personne sur la machine.
N'utilisez la machine que si la visibilité est bonne. Évitez les trous ou autres dangers cachés.
Avant de démarrer le moteur, asseyez-vous sur le siège, vérifiez que la transmission est à la position POINT MORT (manuelle) ou STATIONNEMENT (automatique) et que le frein de stationnement est serré.
Restez assis(e) pendant le déplacement de la machine. Gardez les deux mains sur le volant autant que possible et gardez toujours les bras et les jambes à l'intérieur du poste opérateur.
Soyez prudent à l'approche de tournants sans visibilité, de buissons, d'arbres ou d'autres objets susceptibles de vous masquer la vue.
Avant de faire marche arrière, vérifiez que la voie est libre derrière vous Reculez lentement.
Ne pulvérisez jamais à proximité de personnes, en particulier des enfants ou des animaux familiers.
Ne travaillez pas à proximité de dénivellations, fossés ou berges. La machine pourrait se retourner brusquement si une roue passe par-dessus une dénivellation quelconque et se retrouve dans le vide, ou si un bord s'effondre.
Ralentissez sur terrain accidenté, irrégulier et près de trottoirs, trous et autres accidents de terrain. La charge peut se déplacer et rendre la machine instable.
Les changements de relief soudains peuvent provoquer un brusque mouvement du volant et vous blesser aux mains et aux bras. Tenez le volant par la jante sans le serrer excessivement, sans mettre les mains sur les branches du volant.
Si la machine heurte un obstacle ou vibre de manière inhabituelle, coupez le moteur, enlevez la clé, serrez le frein de stationnement et vérifiez si la machine est endommagée. Effectuez toutes les réparations nécessaires avant de réutiliser la machine.
Ralentissez et faites preuve de prudence quand vous changez de direction, ainsi que pour traverser des routes et des trottoirs avec la machine. Cédez toujours le passage.
Soyez particulièrement prudent lorsque vous utilisez la machine sur des surfaces humides, dans des conditions météorologiques défavorables, à grande vitesse ou à pleine charge. Le temps et la distance d'arrêt augmentent dans ces conditions.
Ne touchez pas le moteur ou le silencieux si le moteur est en marche ou vient de s'arrêter, car vous risquez de vous brûler.
Avant de quitter la position d'utilisation, effectuez la procédure suivante :
Garez la machine sur une surface plane et horizontale.
Sélectionnez le POINT MORT (transmission manuelle) ou la position STATIONNEMENT (transmission automatique).
Arrêtez la pompe de pulvérisation.
Serrez le frein de stationnement.
Coupez le moteur de la machine et enlevez la clé (selon l'équipement).
Attendez l'arrêt complet de tout mouvement.
Ne faites jamais tourner le moteur dans un local ne permettant pas d'évacuer les gaz d'échappement.
N'utilisez pas la machine s'il y a risque d'orage.
Utilisez uniquement les outils et accessoires agréés par Toro.
Note: La cabine installée par Toro sur chacune des machines mentionnées dans ce manuel de l'utilisateur est un système ROPS.
Ne retirez pas le système ROPS de la machine.
Attachez la ceinture de sécurité et apprenez à la détacher rapidement en cas d'urgence. Attachez toujours la ceinture de sécurité.
Vérifiez soigneusement où se trouvent les obstacles en hauteur et ne les touchez pas.
Maintenez le système ROPS en bon état en vérifiant minutieusement et régulièrement s'il est endommagé et en maintenant toutes les fixations bien serrées.
Faites l'entretien de la ou des ceintures de sécurité, et nettoyez-les au besoin.
Remplacez les composants du ROPS endommagés. Ne le réparez pas et ne le modifiez pas.
Les pentes augmentent significativement les risques de perte de contrôle et de retournement de la machine pouvant entraîner des accidents graves, voire mortels. Vous êtes responsable de la sécurité d'utilisation de la machine sur les pentes. L'utilisation de la machine sur une pente, quelle qu'elle soit, demande une attention particulière.
Lisez les instructions ci-dessous relatives à l'utilisation de la machine sur les pentes et déterminez si les conditions d'utilisation existantes et le site se prêtent à l'utilisation de la machine. Les variations de terrain peuvent modifier le fonctionnement de la machine sur les pentes.
Déterminez si la pente vous permet d'utiliser la machine sans risque, en étudiant le terrain entre autres. Faites toujours preuve de bon sens et de discernement quand vous réalisez cette étude.
Évitez de démarrer, de vous arrêter ou de tourner sur les pentes. Déplacez-vous toujours dans le sens de la pente. Évitez de changer soudainement de vitesse ou de direction. Si vous ne pouvez pas faire autrement, tournez lentement et progressivement, de préférence vers le bas. Faites toujours marche arrière avec prudence.
N'utilisez pas la machine si vous avez des doutes concernant la motricité, la direction ou la stabilité de la machine.
Enlevez ou balisez les obstacles tels que fossés, trous, ornières, bosses, rochers ou autres dangers cachés. L'herbe haute peut masquer les accidents du terrain. Les irrégularités du terrain risquent de provoquer le retournement de la machine.
Tenez compte du fait que la motricité de la machine peut être réduite sur les surfaces humides, en travers des pentes ou dans les descentes. La perte de motricité peut faire patiner la machine et entraîner la perte du freinage et de la direction.
Faites preuve de la plus grande prudence lorsque vous utilisez la machine près de fortes dénivellations, de fossés, de berges, d'étendues d'eau ou autres dangers. La machine pourrait se retourner brusquement si une roue passe par-dessus une dénivellation quelconque et se retrouve dans le vide, ou si un bord s'effondre. Établissez une zone de sécurité entre la machine et tout danger potentiel.
Redoublez de prudence lorsque la machine est équipée d'accessoires, car ceux-ci peuvent affecter la stabilité de la machine.
Si le moteur cale ou commence à faiblir pendant que vous montez une pente, freinez progressivement et descendez lentement la pente en ligne droite et en marche arrière.
Laissez toujours la machine en prise (le cas échéant) quand vous descendez une pente.
Ne garez pas la machine sur une pente.
Le poids du produit dans la cuve peut modifier le comportement de la machine. Pour éviter de perdre le contrôle de la machine et de vous blesser, respectez les consignes de sécurité suivantes :
Si vous transportez de lourdes charges, ralentissez et prévoyez une distance de freinage suffisante. Ne freinez pas brutalement. Soyez particulièrement prudent sur les pentes.
Les charges liquides se déplacent, particulièrement dans les virages, en montant ou en descendant des pentes, si vous changez brusquement de vitesse ou si vous traversez des surfaces irrégulières. La machine peut alors se renverser.
Il permet de ranger une radio portable quand vous êtes au volant (Figure 25).

Asseyez-vous sur le siège, introduisez la clé dans le commutateur d'allumage et tournez-la dans le sens horaire à la position CONTACT.
Appuyez sur la pédale d'embrayage et placez le sélecteur de vitesses au POINT MORT.
Vérifiez que la commande de pompe est à la position ARRêT.
Si le moteur est froid, tirez la commande de starter vers le haut.
Important: N'utilisez pas le starter si le moteur est chaud.
Tournez la clé à la position DéMARRAGE jusqu'à ce que le moteur démarre.
Important: Ne laissez pas la clé à la position DéMARRAGE plus de 10 secondes. Si le moteur ne démarre pas au bout de 10 secondes, attendez 1 minute puis réessayez. Ne poussez pas ou ne remorquez pas le pulvérisateur pour faire démarrer le moteur.
Lorsque le moteur démarre, abaissez lentement la commande de starter.
Desserrez le frein de stationnement.
Appuyez à fond sur la pédale d'embrayage.
Sélectionnez la première vitesse.
Relâchez la pédale d'embrayage en douceur tout en appuyant sur la pédale d'accélérateur.
Lorsque la machine atteint une vitesse suffisante, relâchez la pédale d'accélérateur, appuyez à fond sur la pédale d'embrayage, sélectionnez le rapport suivant et relâchez la pédale d'embrayage tout en appuyant sur la pédale d'accélérateur. Répétez la procédure jusqu'à ce que la vitesse voulue soit atteinte.
Important: Arrêtez toujours la machine avant de passer de la marche avant à la marche arrière ou inversement.
Note: Ne faites pas tourner le moteur au ralenti pendant des périodes prolongées.
Consultez le tableau ci-dessous pour déterminer la vitesse de déplacement d'une machine vide à 3 400 tr/min.
| Vitesse | Rapport | Vitesse (km/h) | |
| 1 | 66,4:1 | 5,6 | 3,5 |
| 2 | 38,1:1 | 9,8 | 6,1 |
| 3 | 19,6:1 | 19,2 | 11,9 |
| Marche AR | 80,7:1 | 4,7 | 2,9 |
Note: Ne laissez pas le commutateur d'allumage en position CONTACT pendant une période prolongée quand le moteur est arrêté, cela décharge la batterie.
Important: Ne poussez pas ou ne remorquez pas la machine pour la faire démarrer. Vous risqueriez d'endommager la transmission.
Note: Le frein de stationnement doit être serré, la pompe de pulvérisation en marche et le levier de vitesses au POINT MORT pour régler le blocage de l'accélérateur.
Appuyez sur la pédale d'accélérateur pour obtenir le régime moteur voulu (tr/min).
Sur le panneau de commande, placez la commande de blocage d'accélérateur en position ACTIVéE.
Pour débloquer le blocage de l'accélérateur, placez la commande en position DéSACTIVéE et enfoncez la pédale de frein ou d'embrayage.
Note: Avant de régler le blocage du régime moteur, vous devez être assis(e) sur le siège de la machine, frein de stationnement desserré, pompe en marche et sélecteur de vitesses en prise.
Appuyez sur la pédale d'accélérateur pour obtenir le régime moteur voulu.
Sur le panneau de commande, placez la commande de blocage du régime moteur en position ACTIVéE.
Pour débloquer le blocage du régime moteur, placez la commande en position DéSACTIVéE et enfoncez la pédale de frein ou d'embrayage.
Enfoncez la pédale d'embrayage et serrez le frein pour arrêter le pulvérisateur.
Tirez le levier de frein de stationnement vers le haut et en arrière pour serrer le frein.
Placez le sélecteur de vitesses à la position POINT MORT.
Tournez la clé de contact à la position ARRêT.
Retirez la clé du commutateur pour éviter tout démarrage accidentel.
Le blocage du différentiel augmente la motricité du pulvérisateur en bloquant les roues arrière pour empêcher une roue de patiner. Cela peut vous faciliter la tâche lorsque vous devez remorquer de lourdes charges sur de l'herbe humide ou des surfaces glissantes, en côte ou sur des surfaces sableuses. Toutefois, il est important de rappeler que cette motricité supplémentaire n'est destinée qu'à un usage temporaire ou limité. Son utilisation ne remplace pas le maniement sûr de la machine sur les fortes pentes et avec des charges élevées comme déjà expliqué.
Le blocage du différentiel fait tourner les roues arrière à la même vitesse. Lorsque le différentiel est bloqué, il devient plus difficile de prendre des virages serrés et les roues peuvent endommager le gazon. Utilisez le blocage du différentiel uniquement lorsque cela est nécessaire, à basses vitesses et seulement en première ou en deuxième.
Le renversement ou le retournement du pulvérisateur sur une pente entraînera de graves blessures.
Le supplément de motricité procuré par le blocage du différentiel peut suffire à vous placer dans des situations dangereuses, par exemple en montant des pentes trop raides pour permettre de faire demi-tour. Soyez particulièrement prudent lorsque vous bloquez le différentiel, surtout sur les pentes à fort pourcentage.
Si vous bloquez le différentiel pour prendre un virage serré à grande vitesse et que la roue arrière intérieure se décolle du sol, vous risquez de perdre le contrôle du pulvérisateur qui peut alors patiner. Ne bloquez le différentiel qu'à vitesse réduite.
Pour utiliser le pulvérisateur Multi-Pro, commencez par remplir la cuve, puis pulvérisez la solution sur la zone de travail et terminez en nettoyant la cuve Effectuer chacune des 3 opérations dans l'ordre pour éviter d'endommager le pulvérisateur. Par exemple, vous ne devez pas mélanger ni ajouter de produits chimiques dans la cuve du pulvérisateur le soir pour les pulvériser le lendemain matin. Cela entraînerait une séparation des produits chimiques et risquerait d'endommager les composants du pulvérisateur.
Les produits chimiques sont dangereux et peuvent causer des blessures.
Lisez le mode d'emploi des produits chimiques avant de les manipuler, et suivez les recommandations et les consignes de sécurité du fabricant.
Ne mettez pas les produits chimiques en contact avec la peau. En cas de contact, lavez soigneusement la zone affectée à l'eau propre et au savon.
Portez des lunettes enveloppantes et tout autre équipement de protection recommandé par le fabricant du produit chimique.
Le pulvérisateur Multi Pro a été spécifiquement conçu pour offrir une grande durabilité et une longue vie utile. À cet effet, différents matériaux ont été spécifiquement choisis pour les différentes parties de la machine. Malheureusement, aucun matériau ne convient parfaitement à toutes les applications prévisibles.
Certains produits chimiques sont plus agressifs que d'autres et chacun réagit différemment avec divers matériaux. Certaines consistances (poudres mouillables, charbon de bois, par ex.) sont plus abrasives et entraînent des taux d'usure plus élevés. Si un produit chimique est proposé sous forme d'une préparation qui prolonge la vie utile du pulvérisateur, choisissez cette préparation.
Comme toujours, ne manquez pas de nettoyer le pulvérisateur après chaque application. Votre pulvérisateur bénéficiera ainsi d'une longue vie et d'un fonctionnement exempt de problèmes.
Important: Pour que la solution reste bien mélangée, utilisez la fonction d'agitation chaque fois que la cuve contient de la solution. Pour que l'agitation soit possible, la pompe doit être en marche et le moteur doit tourner au-dessus du régime de ralenti. Si vous arrêtez la machine mais que vous voulez activer l'agitation, serrez le frein de stationnement, mettez la pompe en marche, enfoncez la pédale d'accélérateur au plancher et placez la commande de blocage de l'accélérateur en position ACTIVéE.
Abaissez les sections en position.
Réglez la commande de pompe de pulvérisation à la position de MARCHE.
Placez la commande générale des sections en position ARRêT et les 3 interrupteurs de section en position ACTIVéE.
Rendez-vous jusqu'à la zone à pulvériser.
Réglez la commande générale des sections en position ACTIVéE pour commencer la pulvérisation.
Note: L'InfoCenter indique les sections qui pulvérisent.
Note: Lorsque la cuve est pratiquement vide, l'agitation peut créer de la mousse à l'intérieur. Pour éviter cela, coupez la vanne d'agitation. Vous pouvez aussi utiliser un agent antimousse dans la cuve.
Utilisez la commande de débit de pulvérisation pour régler et programmer un débit cible.
Une fois la pulvérisation terminée, placez la commande générale en position ARRêT pour désactiver toutes les sections, puis réglez la commande de la pompe à la position ARRêT.
Les interrupteurs de levage des sections de rampe situés sur le panneau de commande du pulvérisateur vous permettent de placer les sections extérieures en position transport ou de pulvérisation sans quitter le siège. Dans la mesure du possible, arrêtez la machine avant de changer les sections de position.
Garez la machine sur une surface plane et horizontale.
Utilisez les interrupteurs de levage des sections de rampe pour abaisser les sections extérieures.
Note: Attendez que les sections extérieures soient complètement déployées en position de pulvérisation.
Garez la machine sur une surface plane et horizontale.
Utilisez les interrupteurs de levage pour lever les sections extérieures jusqu'à ce qu'elles soient complètement rentrées dans le berceau de transport et repliées en croix, et que les vérins de levage soient complètement rétractés.
Important: Relâchez le(s) interrupteur(s) de levage une fois que les sections extérieures ont atteint la position voulue. Les vérins de levage et/ou d'autres composants hydrauliques peuvent être endommagés s'ils percutent les butées mécaniques.
Important: Assurez-vous que les sections des rampes en position de transport ne heurtent pas accidentellement un obstacle bas en passant dessous, car elles risquent alors d'être endommagées.
Important: Les sections peuvent être endommagées si elles sont transportées autrement que repliées en croix dans le berceau de transport.

Important: Pour ne pas endommager les vérins de levage, rétractez-les toujours complètement avant de transporter la machine.
N'empiétez pas sur les zones déjà pulvérisées.
Vérifiez que les buses ne sont pas bouchées. Remplacez toutes les buses usées ou endommagées.
Utilisez la commande générale des sections pour arrêter la pulvérisation avant d'arrêter le pulvérisateur. Lorsque la machine est arrêtée, utilisez la commande d'accélérateur pour maintenir le régime moteur afin de ne pas interrompre l'agitation.
Vous obtiendrez de bien meilleurs résultats si le pulvérisateur se déplace quand vous mettez les sections en service.
Si une buse se bouche en cours de pulvérisation, nettoyez-la comme suit :
Arrêtez le pulvérisateur sur une surface plane et horizontale, coupez le moteur et serrez le frein de stationnement.
Réglez la commande générale des sections en position DéSACTIVéE et la commande de la pompe en position ARRêT.
Retirez la buse bouchée et nettoyez-la avec un flacon pulvérisateur d'eau et une brosse à dents.
Reposez la buse.
Avant de quitter la position d'utilisation, effectuez la procédure suivante :
Garez la machine sur une surface plane et horizontale.
Sélectionnez le POINT MORT (transmission manuelle) ou la position STATIONNEMENT (transmission automatique).
Arrêtez la pompe de pulvérisation.
Serrez le frein de stationnement.
Coupez le moteur de la machine et enlevez la clé (selon l'équipement).
Attendez l'arrêt complet de tout mouvement.
Laissez refroidir la machine avant de la régler, d'en faire l'entretien, de la nettoyer ou de la remiser.
À la fin de votre journée de travail, lavez les résidus de produit chimique qui se sont déposés sur les surfaces extérieures de la machine et veillez à neutraliser et rincer trois fois le système conformément aux recommandations du ou des fabricant(s) des produits chimiques et assurez-vous que toutes les vannes ont effectué 3 cycles ; voir la section sur la sécurité chimique.
Laissez refroidir le moteur avant de ranger la machine dans un local fermé.
Ne remisez jamais la machine ni les bidons de carburant à proximité d'une flamme nue, d'une source d'étincelles ou d'une veilleuse, telle celle d'un chauffe-eau ou autre appareil.
Maintenez toutes les pièces de la machine en bon état de marche et toutes les fixations bien serrées.
Remplacez tous les autocollants usés, endommagés ou manquants.
Important: Ne nettoyez pas la machine avec de l'eau saumâtre ou recyclée.
Arrêtez le pulvérisateur, serrez le frein de stationnement, coupez le moteur et enlevez la clé.
Trouvez l'emplacement du robinet de vidange de la cuve sur le côté gauche de la machine, devant le réservoir de carburant (Figure 27).

Soulevez le robinet et déplacez-le vers l'intérieur jusqu'à ce que les goujons de montage soient dégagés des fentes dans le support, puis déplacez le robinet vers l'arrière (Figure 27).
Alignez l'extrémité du robinet et le bac de vidange, et tournez la poignée dans le sens antihoraire à la position ouverte (Figure 27).
Lorsque la cuve est complètement vide, tournez la poignée du robinet de vidange à la position fermée et replacez le robinet le sur son support (Figure 27).
Important: Débarrassez-vous des produits chimiques du pulvérisateur conformément à la réglementation locale en matière d'environnement et aux consignes du fabricant.
| Périodicité d'entretien | Procédure d'entretien |
|---|---|
| Après chaque utilisation |
|
Important: Utilisez uniquement de l'eau propre pour nettoyer le pulvérisateur.
Important: Vous devez toujours vidanger et rincer le pulvérisateur, y compris les accessoires de pulvérisation qui sont montés, immédiatement après chaque utilisation. Si vous ne le faites pas, les produits chimiques risquent de sécher et de boucher les canalisations, les filtres, les vannes, les buses, la pompe et autres composants.
Utilisez le kit de rinçage et nettoyage approuvé pour cette machine. Pour plus de renseignements, contactez votre distributeur Toro agréé.
Note: Les recommandations et instructions qui suivent supposent que le kit de rinçage Toro n'est pas installé.
Nettoyez le système de pulvérisation et les accessoires installés après chaque séance de pulvérisation. Pour nettoyer complètement le système de pulvérisation, vous devez le rincer 3 fois.
Versez au moins 190 l d'eau propre dans la cuve et fermez le couvercle.
Au premier et deuxième rinçage, vous pouvez ajouter un agent nettoyant/neutralisant à l'eau au besoin.
Note: Pour le dernier rinçage, utilisez uniquement de l'eau pure et propre.
Abaissez les sections extérieures en position de pulvérisation.
Démarrez le moteur, placez la commande de la pompe en position MARCHE et enfoncez la pédale d'accélérateur pour augmenter le régime moteur.
Réglez la commande d'agitation à la position de MARCHE.
Utilisez la commande de débit pour augmenter la pression à une valeur élevée.
Réglez la commande générale et les interrupteurs des sections en position MARCHE.
Vérifiez que toutes les buses pulvérisent correctement.
Attendez que toute l'eau de la cuve soit sortie par les buses de pulvérisation.
Réglez la commande générale des sections à la position ARRêT, la commande d'agitation et la commande de pompe de pulvérisation à la position ARRêT, puis coupez le moteur.
Répétez les opérations 1 à 10 au moins 2 autres fois pour que le système de pulvérisation soit parfaitement nettoyé.
Important: Vous devez toujours effectuer 3 cycles de rinçage pour nettoyer parfaitement le système de pulvérisation et les accessoires de pulvérisation ; cela évitera de causer des dommages au système.
Nettoyez le filtre d'aspiration et le filtre de pression ; voir Nettoyage du filtre d'aspiration et Nettoyage du filtre de pression.
Important: Si vous utilisez des produits chimiques en poudre mouillable, nettoyez la crépine après chaque remplissage de la cuve.
À l'aide d'un tuyau d'arrosage ordinaire, lavez l'extérieur du pulvérisateur à l'eau propre.
Déposez les buses et nettoyez-les à la main.
Note: Remplacez les buses usées ou endommagées.
Note: Si votre machine est équipée des filtres de buses en option, nettoyez-les avant de mettre les buses en place ; voir Nettoyage des filtres de buses en option.
| Périodicité d'entretien | Procédure d'entretien |
|---|---|
| Après chaque utilisation |
|
Garez la machine sur une surface plane et horizontale, serrez le frein de stationnement, arrêtez la pompe, coupez le moteur et enlevez la clé de contact.
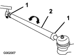
Au sommet de la cuve du pulvérisateur, retirez l'étrier qui fixe le raccord de flexible sur le grand flexible et le logement du filtre (Figure 28).

Retirez le flexible et le raccord du logement du filtre (Figure 28).
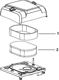
Sortez la crépine d'aspiration du logement du filtre dans le réservoir (Figure 29).

Nettoyez le filtre d'aspiration à l'eau propre.
Important: Remplacez le filtre à air s'il est endommagé ou s'il est impossible de le nettoyer.
Insérez le filtre d'aspiration dans le logement du filtre jusqu'à ce que le filtre soit complètement engagé.
Alignez le flexible et le raccord sur le logement du filtre au sommet du de la cuve, et fixez le raccord et le logement au moyen de l'étrier retiré à l'opération 2.
| Périodicité d'entretien | Procédure d'entretien |
|---|---|
| Après chaque utilisation |
|
Garez la machine sur une surface plane et horizontale, serrez le frein de stationnement, arrêtez la pompe de pulvérisation, coupez le moteur et enlevez la clé de contact.
Placez un bac de vidange sous le filtre de pression (Figure 30).

Tournez le bouchon de vidange dans le sens antihoraire et retirez-le de la cuvette du filtre de pression (Figure 30).
Note: Vidangez complètement la cuvette.
Tournez la cuvette dans le sens antihoraire et déposez la tête du filtre (Figure 30).
Retirez l'élément du filtre de pression (Figure 30).
Nettoyez l'élément du filtre de pression à l'eau propre.
Important: Remplacez le filtre à air s'il est endommagé ou s'il est impossible de le nettoyer.
Contrôlez l'état et l'usure du joint du bouchon de vidange (à l'intérieur de la cuvette) et du joint de la cuvette (à l'intérieur de la tête du filtre) (Figure 30).
Important: Remplacez les joints usés ou endommagés du bouchon, de la cuvette ou les deux.
Placez l'élément dans la tête du filtre de pression (Figure 30).
Note: Vérifiez que l'élément filtrant est bien engagé dans la tête du filtre.
Vissez la cuvette sur la tête du filtre et serrez-la à la main (Figure 30).
Vissez le bouchon de vidange sur le raccord au fond de la cuvette et serrez-le à la main (Figure 30).
Garez la machine sur une surface plane et horizontale, serrez le frein de stationnement, arrêtez la pompe de pulvérisation, coupez le moteur et enlevez la clé de contact.
Déposez la buse de la tourelle de pulvérisation (Figure 31).

Déposez le filtre de buse (Figure 31).
Nettoyez le filtre de buse à l'eau propre.
Important: Remplacez le filtre à air s'il est endommagé ou s'il est impossible de le nettoyer.
Montez le filtre de buse (Figure 31).
Note: Vérifiez que le filtre est complètement engagé.
Montez la buse sur la tourelle de pulvérisation (Figure 31).
Répétez les opérations 2 à 6 pour les autres buses de pulvérisation.
| Périodicité d'entretien | Procédure d'entretien |
|---|---|
| Une fois par an |
|
Tournez le capuchon de la membrane dans le sens antihoraire et retirez le capuchon du corps de la buse (Figure 32).

Enlevez la membrane du clapet antiretour du capuchon ou du corps de la buse (Figure 32).
Nettoyez le capuchon, la membrane et le corps de la buse à l'eau propre (Figure 32).
Insérez la membrane dans le capuchon, la pointe vers le capuchon (Figure 32).

Montez le capuchon garni de la membrane sur le corps de la buse et serrez-le à la main (Figure 32).
Répétez les opérations 1 à 5 pour les autres buses de pulvérisation.
| Périodicité d'entretien | Procédure d'entretien |
|---|---|
| Après chaque utilisation |
|
Spécifications du conditionneur : « antigel RV non toxique » au propylène glycol avec inhibiteur de corrosion
Important: Utilisez uniquement du propylène glycol avec inhibiteur de corrosion. N'utilisez pas de propylène glycol recyclé. N'utilisez pas d'antigel à l'éthylène glycol.N'utilisez pas de propylène glycol additionné d'alcools solubles (méthanol, éthanol ou isopropanol) ou de saumures.
Amenez la machine sur une surface plane et horizontale, serrez le frein de stationnement, coupez le moteur et enlevez la clé de contact.
Ajoutez le conditionneur dans la cuve comme suit :
Si vous utilisez de l'antigel RV au propylène glycol prêt à l'emploi (prémélangé), versez 38 litres de cet antigel dans la cuve
Pour de l'antigel RV au propylène glycol concentré, procédez comme suit :
Versez 38 litres de mélange d'antigel RV au propylène glycol et d'eau dans la cuve du pulvérisateur. Préparez le mélange antigel comme expliqué par le fabricant pour une concentration adaptée pour -45°C minimum.
Important: Utilisez uniquement de l'eau propre pour nettoyer le pulvérisateur.
Mettez le moteur en marche et réglez la commande de la pompe de pulvérisation à la position MARCHE.
Appuyez sur la pédale d'accélérateur pour augmenter le régime moteur.
Réglez la commande d'agitation à la position de MARCHE.
Faites circuler le mélange de conditionneur et d'eau pendant au moins 3 minutes.
Outil recommandé : récipient de récupération transparent.
Amenez la machine jusqu'à une zone de vidange et serrez le frein de stationnement.
Abaissez les sections de rampes extérieures.
Réglez les interrupteurs des sections gauche, centrale et droite, ainsi que la commande générale des sections à la position MARCHE.
Actionnez le système de pulvérisation jusqu'à ce que le conditionneur sorte par les buses.
Note: La plupart des antigels RV au propylène glycol sont de couleur rose. Utilisez le récipient de récupération pour recueillir le liquide pulvérisé par plusieurs des buses.
Coupez la commande générale des sections, les 3 interrupteurs de section, la commande d'agitation, la commande de la pompe de pulvérisation et le moteur.
Chargez la machine sur une remorque ou un camion pour la déplacer sur une longue distance.
Utilisez des rampes d'une seule pièce pour charger la machine sur une remorque ou un camion.
Attachez les sections extérieures aux berceaux de transport.
Arrimez solidement la machine sur le véhicule de transport ; la Figure 34 montre les points d'attache de la machine.

En cas d'urgence, vous pouvez remorquer le pulvérisateur sur une courte distance. Il est toutefois déconseillé d'employer cette procédure de manière habituelle.
Le remorquage à des vitesses excessives peut entraîner la perte du contrôle de la direction et provoquer des accidents.
Ne remorquez jamais le pulvérisateur à plus de 8 km/h.
Le remorquage du pulvérisateur nécessite l'intervention de 2 personnes. S'il est nécessaire de déplacer la machine sur une longue distance, faites-la transporter par camion ou chargez-la sur une remorque ; voir Transport du pulvérisateur.
Accrochez un câble de remorquage au cadre.
Placez le sélecteur de vitesses au POINT MORT et desserrez le frein de stationnement.
Ne remorquez pas le pulvérisateur à plus de 8 km/h.
Note: Téléchargez gratuitement une copie des schémas en vous rendant sur www.Toro.com et en recherchant votre machine sous le lien Manuels sur la page d'accueil.Pour plus de renseignements sur le système de pulvérisation, reportez-vous au schéma du système de pulvérisation sous .
Note: Les côtés gauche et droit de la machine sont déterminés d'après la position d'utilisation normale.
Avant de quitter la position d'utilisation :
Garez la machine sur une surface plane et horizontale.
Sélectionnez le POINT MORT (transmission manuelle) ou la position STATIONNEMENT (transmission automatique).
Serrez le frein de stationnement.
Coupez le moteur de la machine et enlevez la clé (selon l'équipement).
Attendez l'arrêt complet de tout mouvement.
Laissez refroidir les composants de la machine avant d'effectuer tout entretien.
Ne confiez l'entretien, les réparations, les réglages et les contrôles de la machine qu'à du personnel qualifié et autorisé.
Avant d'effectuer un entretien, nettoyez et rincez soigneusement le pulvérisateur ; voir la Sécurité chimique.
Les produits chimiques utilisés dans le système de pulvérisation peuvent être nocifs et toxiques pour vous-même, toute personne présente, les animaux, les plantes, les sols et autres.
Lisez attentivement les étiquettes signalétiques et les fiches de données de sécurité (FDS) de tous les produits chimiques utilisés et protégez-vous en suivant les recommandations des fabricants des produits chimiques.
Protégez toujours votre peau quand vous travaillez près de produits chimiques. Utilisez un équipement de protection individuelle (EPI) adapté pour éviter tout contact direct avec les produits chimiques, notamment :
lunettes de sécurité, lunettes enveloppantes et/ou écran facial
combinaison de protection chimique
appareil respiratoire ou masque filtrant
gants résistants aux produits chimiques
bottes en caoutchouc ou autres chaussures solides
vêtements de rechange propres, savon et serviettes jetables pour le nettoyage
Refusez d'utiliser ou d'intervenir sur le pulvérisateur si les informations sur la sécurité des produits chimiques ne sont pas disponibles.
Ne remplissez-pas, n'étalonnez pas ou ne nettoyez pas la machine lorsque des personnes, en particulier des enfants, ou des animaux se trouvent à proximité.
Manipulez les produits chimiques dans un local bien ventilé.
Prévoyez une source d'eau propre, particulièrement quand vous remplissez la cuve du pulvérisateur.
Vous ne devez jamais manger, boire ou fumer lorsque vous travaillez près de produits chimiques.
Ne nettoyez pas les buses de pulvérisation en soufflant dedans ou les mettant dans la bouche.
Lavez-vous toujours les mains et toute autre partie du corps exposée après avoir travaillé avec des produits chimiques.
Les produits chimiques et les vapeurs à l'intérieur des cuves sont dangereux. Ne pénétrez jamais à l'intérieur et ne passez jamais votre tête au-dessus ou par l'ouverture de la cuve.
Vérifiez l'état de la machine dans son ensemble et maintenez toutes les fixations serrées au couple prescrit.
Pour réduire les risques d'incendie, débarrassez le moteur de tout excès de graisse, produits chimiques, débris d'herbe, feuilles et saletés.
Si le moteur doit tourner pour effectuer un réglage, n’approchez pas les mains, les pieds et autres parties du corps ni les vêtements, du moteur et des pièces mobiles. Tenez tout le monde à l'écart.
Ne modifiez pas la vitesse de déplacement de la machine. Pour garantir la sécurité et la précision du fonctionnement, demandez à un distributeur Toro agréé de contrôler la vitesse de déplacement.
Si la machine nécessite une réparation importante ou si vous avez besoin d'une assistance technique, contactez un concessionnaire Toro agréé.
Toute modification de la machine susceptible d'en altérer le fonctionnement, les performances, la durabilité ou l'utilisation risque d'entraîner des blessures parfois mortelles. La garantie risque alors d'être annulée.
Soutenez la machine avec des chandelles chaque fois que vous devez travailler dessous.
Libérez la pression emmagasinée dans les composants avec précaution.
| Périodicité d'entretien | Procédure d'entretien |
|---|---|
| Après les 8 premières heures de fonctionnement |
|
| Après les 50 premières heures de fonctionnement |
|
| À chaque utilisation ou une fois par jour |
|
| Après chaque utilisation |
|
| Toutes les 50 heures |
|
| Toutes les 100 heures |
|
| Toutes les 200 heures |
|
| Toutes les 400 heures |
|
| Toutes les 800 heures |
|
| Une fois par an |
|
Important: Reportez-vous au manuel du propriétaire du moteur pour toutes procédures d'entretien supplémentaires.
Copiez cette page pour pouvoir vous en servir régulièrement.
| Entretiens à effectuer | Pour la semaine du : | ||||||
|---|---|---|---|---|---|---|---|
| Lun. | Mar. | Mer. | Jeu. | Ven. | Sam. | Dim. | |
| Contrôlez le fonctionnement du frein et du frein de stationnement. | |||||||
| Contrôlez le fonctionnement du changement de vitesse/du point mort. | |||||||
| Contrôlez le niveau de carburant. | |||||||
| Contrôlez le niveau d'huile moteur. | |||||||
| Contrôlez le niveau d'huile de la boîte-pont. | |||||||
| Examinez le filtre à air. | |||||||
| Examinez les ailettes de refroidissement du moteur. | |||||||
| Vérifiez tous bruits anormaux en provenance du moteur. | |||||||
| Vérifiez les bruits de fonctionnement anormaux. | |||||||
| Contrôlez la pression des pneus. | |||||||
| Recherchez des fuites éventuelles. | |||||||
| Vérifiez le fonctionnement des instruments. | |||||||
| Vérifiez le fonctionnement de l'accélérateur. | |||||||
| Nettoyez la crépine d'aspiration. | |||||||
| Contrôlez le pincement des roues. | |||||||
| Lubrifiez tous les graisseurs.1 | |||||||
| Retouchez les peintures endommagées. | |||||||
1Immédiatement après chaque lavage, quelle que soit la fréquence d'entretien indiquée.
| Contrôle effectué par : | ||
| Point contrôlé | Date | Information |
| 1 | ||
| 2 | ||
| 3 | ||
| 4 | ||
| 5 | ||
| 6 | ||
| 7 | ||
| 8 | ||
| 9 | ||
| 10 | ||
| 11 | ||
| 12 | ||
Si vous laissez la clé dans le commutateur d'allumage, quelqu'un pourrait mettre le moteur en marche accidentellement et vous blesser gravement, ainsi que toute personne à proximité.
Avant tout entretien, enlevez la clé de contact et débranchez le fil de la ou des bougies. Écartez le ou les fils pour éviter tout contact accidentel avec la ou les bougies.
Si le moteur doit tourner à des fins d'entretien et/ou de diagnostic, placez des chandelles sous le pont arrière de manière que les roues arrière soient à 2,5 cm du sol.
Un pulvérisateur en appui sur un cric peut être instable ; il pourrait tomber et blesser la personne qui se trouve dessous.
Ne mettez pas le moteur en marche lorsque le pulvérisateur est en appui sur un cric.
Retirez toujours la clé du commutateur d'allumage avant de descendre du pulvérisateur.
Calez les roues quand le pulvérisateur est soutenu par un cric.
Le point de levage au cric à l'avant du pulvérisateur se trouve sous la barre transversale avant (Figure 35A). Le point de levage à l'arrière du pulvérisateur se trouve sur le support arrière du cadre, derrière les points d'attache arrière (Figure 35B).

| Périodicité d'entretien | Procédure d'entretien |
|---|---|
| Toutes les 100 heures |
|
Type de graisse : graisse au lithium nº 2
L'emplacement des points de graissage est indiqué à la Figure 36.

Essuyez soigneusement les graisseurs pour éviter que des impuretés ne pénètrent dans le roulement ou la bague.
Injectez la graisse dans le roulement ou la bague.
Essuyez tout excès de graisse.
| Périodicité d'entretien | Procédure d'entretien |
|---|---|
| Toutes les 50 heures |
|
Type de graisse : Mobil XHP 461
Levez le pulvérisateur ; voir Levage du pulvérisateur.
Localisez la pompe de pulvérisation.
Note: La pompe se trouve en-dessous du siège ; voir Localisation de la pompe de pulvérisation.
Essuyez soigneusement les 2 graisseurs à distance (Figure 37A et Figure 37B).


Injectez de la graisse dans chaque graisseur à distance (Figure 37A et Figure 37B).
Essuyez tout excès de graisse.
| Périodicité d'entretien | Procédure d'entretien |
|---|---|
| Toutes les 100 heures |
|
Important: Si vous lavez la charnière de la section à l'eau, vous devez ensuite éliminer complètement l'eau et les impuretés déposées dessus et appliquer de la graisse fraîche.
Type de graisse : graisse au lithium nº 2
Essuyez les graisseurs pour éviter que des impuretés ne pénètrent dans le roulement ou la bague.
Injectez la graisse dans le roulement ou la bague au niveau de chaque graisseur (Figure 38).

Essuyez tout excès de graisse.
Répétez la procédure pour chaque pivot de section.
Coupez le moteur avant de contrôler le niveau d'huile ou d'ajouter de l'huile dans le carter.
| Périodicité d'entretien | Procédure d'entretien |
|---|---|
| À chaque utilisation ou une fois par jour |
|
| Toutes les 100 heures |
|
Chaque jour, ou avant chaque utilisation, contrôlez et nettoyez le filtre d'admission d'air selon les besoins.
| Périodicité d'entretien | Procédure d'entretien |
|---|---|
| Toutes les 50 heures |
|
| Toutes les 200 heures |
|
Serrez le frein de stationnement, arrêtez la pompe, coupez le moteur et retirez la clé de contact.
Débloquez le verrou à l'arrière du siège et basculez le siège en avant.
Nettoyez la surface autour du filtre à air pour éviter que des impuretés n'endommagent le moteur en tombant à l'intérieur.

Desserrez le bouton sur le couvercle du filtre à air et déposez le couvercle.
Sortez délicatement l'élément en mousse de l'élément en papier.
Retirez l'écrou du couvercle et enlevez le couvercle et l'élément en papier.
Lavez l'élément en mousse dans de l'eau chaude additionnée de savon liquide.
Rincez soigneusement l'élément une fois propre.
Séchez l'élément en le pressant dans un chiffon propre.
Imbibez l'élément de 30 à 60 ml d'huile.
Important: Remplacez l'élément en mousse s'il est usé ou déchiré.
Pressez l'élément pour bien répartir l'huile.
Vérifiez que l'élément n'est pas déchiré, couvert d'une pellicule grasse, encrassé ou présente d'autres problèmes, et que le joint de caoutchouc n'est pas endommagé. Remplacez le filtre quand il présente ce genre de problème.
Important: Ne nettoyez jamais l'élément en papier à l'air comprimé ou à l'aide de liquides tels que des solvants, de l'essence ou du kérosène.
Important: Pour ne pas endommager le moteur, ne le faites jamais tourner sans le filtre à air complet garni des éléments en mousse et en papier.
Glissez délicatement l'élément en mousse sur l'élément en papier.
Enfilez le filtre complet et le couvercle sur la longue tige.
Vissez l'écrou à la main contre le couvercle.
Note: Veillez à ce que le joint de caoutchouc repose à plat sur la base du filtre à air et le couvercle.
Reposez le couvercle du filtre à air.
Abaissez et bloquez le siège.
Le carter moteur a une capacité de 2 litres avec le filtre.
Utilisez une huile moteur de qualité qui répond aux spécifications suivantes :
Classification API requise : SJ ou mieux.
Huile préférée : SAE 10W30 (au-dessus de -18 ºC)
Huile possible : SAE 5W30 (au-dessous de 0 °C)
L'huile moteur Toro Premium est en vente chez votre distributeur avec une viscosité de 10W30 ou de 5W30. Consultez le Catalogue de pièces pour les numéros de référence.
| Périodicité d'entretien | Procédure d'entretien |
|---|---|
| À chaque utilisation ou une fois par jour |
|
| Toutes les 400 heures |
|
Le moteur est expédié avec de l'huile dans le carter. Vérifiez toutefois le niveau d'huile avant et après la première mise en marche du moteur.
Placez la machine sur une surface plane et horizontale.
Retirez la jauge et essuyez-la sur un chiffon propre. Remettez la jauge dans le tube en l'enfonçant complètement. Sortez de nouveau la jauge et vérifiez le niveau d'huile.

Si le niveau d'huile est trop bas, enlevez le bouchon de remplissage du couvre-culasse et versez la quantité d'huile nécessaire dans l'orifice pour faire monter le niveau jusqu'au repère MAXIMUM sur la jauge. Versez l'huile lentement et vérifiez souvent le niveau durant la procédure. Ne remplissez pas excessivement.
Revissez la jauge solidement en place.
| Périodicité d'entretien | Procédure d'entretien |
|---|---|
| Après les 50 premières heures de fonctionnement |
|
| Toutes les 100 heures |
|
Démarrez le moteur et laissez-le tourner pendant 5 minutes. Faire tourner le moteur permet de réchauffer l'huile, qui s'écoule alors plus facilement.
Placez la machine sur une surface plane et horizontale, serrez le frein de stationnement, arrêtez la pompe de pulvérisation, coupez le moteur et enlevez la clé de contact.
Débloquez le verrou à l'arrière du siège et basculez le siège en avant.
Les composants qui se trouvent sous le siège sont très chauds quand le pulvérisateur vient de s'arrêter. Vous risquez de vous brûler à leur contact.
Laissez refroidir le pulvérisateur avant tout entretien ou avant de toucher les composants situés sous le capot.
Placez un bac de vidange sous l'orifice de vidange.
Enlevez le bouchon de vidange (Figure 41).

Lorsque toute l'huile s'est écoulée, remettez le bouchon de vidange et serrez-le à 14 N·m.
Débarrassez-vous de l'huile usagée dans un centre de recyclage agréé.
Versez lentement environ 80% de la quantité d'huile spécifiée dans le goulot de remplissage (Figure 41).
Contrôlez le niveau d'huile.
Faites l'appoint d'huile avec précaution pour faire monter le niveau jusqu'au repère MAXIMUM sur la jauge.
Important: Ne remplissez pas excessivement le carter pour ne pas endommager le moteur.
| Périodicité d'entretien | Procédure d'entretien |
|---|---|
| Toutes les 100 heures |
|
Vidangez l'huile moteur ; voir Vidange de l'huile moteur, opérations 1 à 7.
Déposez le filtre à huile (Figure 41).
Essuyez la surface du joint de l'adaptateur du filtre.
Appliquez une fine couche d'huile neuve sur le joint en caoutchouc du filtre de rechange.
Posez le filtre à huile de rechange sur l'adaptateur. Tournez le filtre dans le sens horaire jusqu'à ce que le joint rejoigne l'adaptateur, puis serrez-le encore de 1/2 tour (Figure 41).
Faites le plein du carter moteur avec une huile du type correct ; voir Vidange de l'huile moteur, opérations 8 à 10.
Débarrassez-vous du filtre à huile usagé dans un centre de recyclage agréé.
| Périodicité d'entretien | Procédure d'entretien |
|---|---|
| Toutes les 200 heures |
|
Type : Champion RC-12YC (ou équivalent)
Écartement des électrodes : 0,76 mm
Avant de monter une bougie, vérifiez si l'écartement entre l'électrode centrale et l'électrode latérale est correct. Utilisez une clé à bougies pour déposer et reposer les bougies, et une jauge d'épaisseur pour contrôler et régler l'écartement des électrodes.
Placez la machine sur une surface plane et horizontale, serrez le frein de stationnement, arrêtez la pompe de pulvérisation, coupez le moteur et enlevez la clé de contact.
Débloquez le verrou à l'arrière du siège et basculez le siège en avant.
Débranchez les fils des bougies (Figure 42).
Nettoyez la surface autour des bougies pour éviter que des impuretés n'endommagent le moteur en tombant à l'intérieur.
Déposez les bougies et les rondelles métalliques.

Examinez le centre des bougies (Figure 43).
Note: Si le bec isolant est recouvert d'un léger dépôt gris ou brun, le moteur fonctionne correctement. S'il est recouvert d'un dépôt noir, cela signifie généralement que le filtre à air est encrassé.
Important: Ne nettoyez pas les bougies. Remplacez toujours les bougies si elles sont recouvertes d'un dépôt noir ou d'une couche grasse, si elles sont fissurées ou si les électrodes sont usées.
Contrôlez l'écartement entre les électrodes centrale et latérale (Figure 43) et pliez l'électrode latérale si l'écartement est incorrect.

Montez les bougies et les rondelles métalliques.
Serrez les bougies à un couple de 24,4 à 30 N·m.
Rebranchez le fil de la ou des bougies (Figure 42).
Abaissez et bloquez le siège.
| Périodicité d'entretien | Procédure d'entretien |
|---|---|
| Toutes les 100 heures |
|
| Toutes les 400 heures |
|
Serrez le frein de stationnement, arrêtez la pompe, coupez le moteur et retirez la clé de contact.
Débloquez le verrou à l'arrière du siège et basculez le siège en avant.
Fermez le flexible avec un collier de chaque côté du filtre à carburant pour empêcher le carburant de s'écouler par les flexibles lors de la dépose du filtre.
Placez un bac de vidange sous le filtre.
Pincez les extrémités des colliers et éloignez les colliers du filtre (Figure 44).
Détachez le filtre des conduites de carburant.

Posez un filtre neuf et rapprochez les colliers de fixation du filtre.
La flèche indiquant le sens d'écoulement doit être dirigée vers le moteur.
| Périodicité d'entretien | Procédure d'entretien |
|---|---|
| Après les 50 premières heures de fonctionnement |
|
| Toutes les 200 heures |
|
Vérifiez par l'ouverture au bas du filtre à air de la cartouche de charbon actif qu'il est propre et exempte de débris et d'obstructions (Figure 45).

| Périodicité d'entretien | Procédure d'entretien |
|---|---|
| Après les 50 premières heures de fonctionnement |
|
| Toutes les 200 heures |
|
Retirez le raccord cannelé du filtre à charbon actif au bout du flexible situé au bas de la cartouche, et déposez le filtre (Figure 45).
Note: Mettez l'ancien filtre au rebut.
Insérez complètement le raccord cannelé du filtre neuf dans le flexible au bas de la cartouche de charbon.
| Périodicité d'entretien | Procédure d'entretien |
|---|---|
| Toutes les 400 heures |
|
Vidangez et nettoyez le réservoir de carburant si le système d'alimentation est contaminé ou si vous prévoyez de remiser la machine pendant une période prolongée. Rincez le réservoir avec du carburant propre et neuf.
Transférez le carburant restant dans le réservoir dans un bidon homologué à l'aide d'une pompe de siphonnage, ou déposez le réservoir de la machine et videz le carburant par le bec de remplissage dans le bidon de carburant.
Note: Si vous déposez le réservoir de carburant, vous devez auparavant débrancher les flexibles de carburant et de retour du réservoir.
Remplacez le filtre à carburant ; voir Remplacement du filtre à carburant.
Rincez le réservoir de carburant avec du carburant propre et frais le cas échéant.
Reposez le réservoir si vous l'avez déposé.
Remplissez le réservoir de carburant frais et propre.
Débranchez la batterie avant de réparer la machine. Débranchez toujours la borne négative avant la borne positive. Rebranchez toujours la borne positive avant la borne négative.
Chargez la batterie dans un endroit dégagé et bien aéré, à l'écart des flammes ou sources d'étincelles. Débranchez le chargeur du secteur avant de brancher ou de débrancher la batterie.
Portez des vêtements de protection et utilisez des outils isolés.
Le système électrique comprend 2 porte-fusibles et 1 emplacement libre. Ils sont situés sous le siège (Figure 46).

Important: N'utilisez pas de batterie de secours pour lancer la batterie de la machine.
Maintenez toujours la batterie propre et chargée au maximum. Nettoyez la batterie et le bac à batterie à l'aide d'une serviette en papier. Si les bornes de la batterie sont corrodées, nettoyez-les avec un mélange constitué de 4 volumes d'eau pour 1 volume de bicarbonate de soude. Enduisez les bornes de la batterie d'une mince couche de graisse pour éviter la corrosion.
Tension : 12 V avec 280 ampères de démarrage à froid à -18 ºC.
Placez le pulvérisateur sur une surface plane et horizontale, serrez le frein de stationnement, arrêtez la pompe de pulvérisation, coupez le moteur et enlevez la clé de contact.
La batterie est située sur le côté droit de la machine, derrière la pompe (Figure 46).
Débranchez le câble de masse négatif (noir) de la borne de la batterie.
S'ils sont mal acheminés, les câbles de la batterie peuvent subir des dommages ou endommager le pulvérisateur et produire des étincelles. Les étincelles peuvent provoquer l'explosion des gaz de la batterie et vous blesser.
Débranchez toujours le câble négatif (noir) de la batterie avant le câble positif (rouge).
Connectez toujours le câble positif (rouge) de la batterie avant le câble négatif (noir).
Les bornes de la batterie ou les outils en métal peuvent causer des courts-circuits au contact des pièces métalliques du pulvérisateur et produire des étincelles. Les étincelles peuvent provoquer l'explosion des gaz de la batterie et vous blesser.
Lors de la mise en place ou du retrait de la batterie, évitez que les bornes touchent les parties métalliques du pulvérisateur.
Évitez de créer des courts-circuits entre les bornes de la batterie et les parties métalliques du pulvérisateur avec des outils en métal.
Laissez toujours la sangle de la batterie en place pour protéger et immobiliser la batterie.
Débranchez le câble positif (rouge) de la borne de la batterie.
Retirez le dispositif de retenue et les fixations de la batterie (Figure 46).
Retirez la batterie.
| Périodicité d'entretien | Procédure d'entretien |
|---|---|
| Toutes les 50 heures |
|
Placez la batterie sur son support en veillant à diriger les bornes vers l'avant du pulvérisateur.
Posez le dispositif de retenue de la batterie et serrez-le avec les fixations retirées précédemment (Figure 46).
Important: Laissez toujours le dispositif de maintien en place pour protéger et immobiliser la batterie.
Branchez le câble positif (rouge) à la borne positive (+) de la batterie, et le câble négatif (noir) à la borne négative (-) à l'aide des boulons et écrous à oreilles. Glissez le capuchon en caoutchouc sur la borne positive de la batterie.
Posez le couvercle de la batterie et fixez-le à l'aide des 2 boutons (Figure 46).
| Périodicité d'entretien | Procédure d'entretien |
|---|---|
| Toutes les 50 heures |
|
Note: Si la machine est remisée, vérifiez le niveau d'électrolyte dans la batterie tous les 30 jours.
Desserrez les boutons sur les côtés du bac de la batterie et enlevez le couvercle de la batterie (Figure 46).
Enlevez les bouchons de remplissage. Si le niveau d'électrolyte est trop bas, ajoutez la quantité d'eau distillée requise ; voir Ajout d'eau dans la batterie.
L'électrolyte contient de l'acide sulfurique, un poison mortel qui cause de graves brûlures.
Ne buvez jamais d'électrolyte et évitez tout contact avec les yeux, la peau ou les vêtements. Portez des lunettes de protection et des gants en caoutchouc.
Faites le plein d'électrolyte à proximité d'une arrivée d'eau propre, de manière à pouvoir rincer abondamment la peau en cas d'accident.
Le meilleur moment pour rajouter de l'eau distillée dans la batterie est juste avant l'utilisation de la machine. Ceci permet à l'eau de bien se mélanger à l'électrolyte.
Nettoyez le dessus de la batterie avec une serviette en papier.
Enlevez les bouchons de remplissage des éléments de la batterie et versez de l'eau distillée avec précaution dans chaque élément jusqu'à ce que le niveau atteigne le repère. Remettez les bouchons de remplissage.
Important: Ne remplissez pas la batterie excessivement, sinon l'électrolyte débordera sur d'autres parties du pulvérisateur ce qui causera une grave corrosion et de gros dégâts.
La batterie en charge produit des gaz qui peuvent exploser.
Ne fumez jamais à côté de la batterie et tenez-la à l'écart des flammes ou sources d'étincelles.
Important: Maintenez toujours la batterie chargée au maximum (densité 1,260). Cela est particulièrement important pour prévenir la dégradation de la batterie si la température tombe en dessous de 0 °C.
Retirez la batterie du châssis ; voir Retrait de la batterie.
Vérifiez le niveau d'électrolyte dans la batterie ; voir Contrôle du niveau d'électrolyte.
Raccordez un chargeur de 3 à 4 A aux bornes de la batterie. Chargez la batterie au régime de 3 à 4 ampères durant 4 à 8 heures (12 V).
Important: Ne chargez pas la batterie excessivement.
Reposez la batterie sur le châssis ; voir Mise en place de la batterie.
Si la machine est remisée pendant plus d'un mois, enlevez la batterie et chargez-la au maximum. Rangez-la sur une étagère ou remettez-la sur la machine. Ne rebranchez pas les câbles si vous remettez la batterie sur la machine. Rangez la batterie dans un endroit frais pour éviter qu'elle ne se décharge trop rapidement. Pour protéger la batterie du gel, maintenez-la chargée au maximum.
| Périodicité d'entretien | Procédure d'entretien |
|---|---|
| Après les 8 premières heures de fonctionnement |
|
| À chaque utilisation ou une fois par jour |
|
| Toutes les 100 heures |
|
Contrôlez la pression des pneus toutes les 8 heures ou une fois par jour pour maintenir la pression correcte. Gonflez les pneus à 1,38 bar. Vérifiez aussi si les pneus sont usés ou endommagés.
Vérifiez que les roues sont solidement fixées après les 8 premières heures de fonctionnement, puis toutes les 100 heures de fonctionnement. Serrez les écrous de roue avant et arrière à un couple de 102 à 108 N·m.
Vérifiez l'état des pneus au moins toutes les 100 heures d'utilisation. Les accidents de conduite tels que la collision contre une bordure de trottoir peuvent endommager un pneu ou une jante et dérégler le parallélisme des roues. Après un accident, vérifiez l'état des pneus.
| Périodicité d'entretien | Procédure d'entretien |
|---|---|
| Toutes les 200 heures |
|
Placez le levier de blocage du différentiel en position de DéBLOCAGE.
Desserrez les écrous de blocage qui fixent le câble de blocage du différentiel au support de la boîte-pont (Figure 47).

Réglez les écrous de blocage de manière obtenir un espace de 0,25 à 1,5 mm entre le crochet du ressort et le diamètre extérieur du trou dans le levier de la boîte-pont.
Resserrez les écrous de blocage pour terminer.
| Périodicité d'entretien | Procédure d'entretien |
|---|---|
| Toutes les 100 heures |
|
Le pincement des roues avant doit être compris entre 0 et 6 mm.
Versez environ 331 litres d'eau dans la cuve.
Contrôlez et gonflez tous les pneus ; voir Contrôle des roues et des pneus.
Faites plusieurs allers et retours avec le pulvérisateur pour détendre les bras triangulés, puis parcourez au moins 3 m en marche avant.
Mesurez la distance entre les deux roues avant à hauteur d'essieu, à l'avant et à l'arrière des roues (Figure 48).
Note: Vous aurez besoin d'un gabarit ou d'un contrôleur d'alignement pour mesurer précisément l'arrière des roues avant à hauteur d'essieu. Utilisez le même gabarit ou outil pour mesurer précisément l'avant des roues avant à hauteur d'essieu (Figure 48).
L'avant des pneus doit être de 0 à 6 mm plus rapprochés que l'arrière des pneus avant.

Si les mesures sont hors spécifications, desserrez les écrous de blocage aux deux extrémités des biellettes (Figure 49).

Tournez les biellettes de façon à déplacer l'avant de la roue vers l'intérieur ou l'extérieur.
Note: Les biellettes sont toutes de la même longueur.
Resserrez les écrous de blocage des biellettes quand le réglage correct est obtenu.
Vérifiez si le volant parcourt toute sa course dans les deux sens.
La machine est expédiée de l'usine avec du liquide du type DOT 3 dans le réservoir de liquide de frein. Contrôlez le niveau de liquide au début de chaque journée, avant la première mise en route du moteur.

Placez le pulvérisateur sur une surface plane et horizontale, serrez le frein de stationnement, arrêtez la pompe, coupez le moteur et enlevez la clé du commutateur d'allumage.
Le niveau de liquide doit atteindre le repère MAXIMUM sur le réservoir.
Si le niveau de liquide est bas, nettoyez la surface autour du bouchon du réservoir, retirez le bouchon et remplissez le réservoir jusqu'au niveau correct. Ne remplissez pas excessivement.
| Périodicité d'entretien | Procédure d'entretien |
|---|---|
| Toutes les 100 heures |
|
Les freins sont l'un des éléments de sécurité fondamentaux du pulvérisateur. Vérifiez-les comme suit :
Vérifiez l'état et l'usure des segments de frein. Remplacez les segments de frein si la garniture (plaquette de frein) fait moins de 1,6 mm d'épaisseur.
Vérifiez si le support de garniture et autres composants semblent excessivement usés ou déformés. Si vous constatez des déformations, remplacez les composants concernés.
| Périodicité d'entretien | Procédure d'entretien |
|---|---|
| Toutes les 200 heures |
|
Déposez la poignée en plastique.
Desserrez la vis de fixation du pommeau sur le levier du frein de stationnement (Figure 51).

Tournez le bouton jusqu'à ce qu'une force de 18 à 23 kg soit nécessaire pour actionner le levier.
Resserrez la vis de fixation.
Consultez immédiatement un médecin si du liquide est injecté sous la peau. Toute injection de liquide hydraulique sous la peau doit être éliminée dans les quelques heures qui suivent par une intervention chirurgicale réalisée par un médecin.
Dépressurisez avec précaution le système hydraulique avant toute intervention sur le système.
Vérifiez l'état de tous les flexibles et conduits de liquide hydraulique, ainsi que le serrage de tous les branchements et raccords avant de mettre le système hydraulique sous pression.
N'approchez pas les mains ni aucune autre partie du corps des fuites en trou d'épingle ou des gicleurs d'où sort du liquide hydraulique sous haute pression.
Utilisez un morceau de papier ou de carton pour détecter les fuites.
Type de liquide : Dexron III ATF.
Capacité du réservoir : environ 7 l
| Périodicité d'entretien | Procédure d'entretien |
|---|---|
| Toutes les 200 heures |
|
Placez le pulvérisateur sur une surface plane et horizontale, serrez le frein de stationnement, arrêtez la pompe de pulvérisation, coupez le moteur et enlevez la clé de contact.
Retirez la jauge de la boîte-pont et essuyez-la sur un chiffon propre (Figure 52).

Important: Ne faites pas tomber de poussière ou autres impuretés dans l'ouverture lorsque vous contrôlez l'huile de transmission.
Remettez la jauge dans le tube en l'enfonçant complètement. Sortez de nouveau la jauge et vérifiez le niveau d'huile.
Le niveau du liquide de la boîte-pont doit atteindre le haut de la partie plate de la jauge. Si ce n'est pas le cas, remplissez le réservoir avec le liquide hydraulique spécifié ; voir Spécifications de liquide hydraulique.
Revissez la jauge solidement en place.
| Périodicité d'entretien | Procédure d'entretien |
|---|---|
| Toutes les 800 heures |
|
Placez le pulvérisateur sur une surface plane et horizontale, serrez le frein de stationnement, arrêtez la pompe, coupez le moteur et enlevez la clé du commutateur d'allumage.
Placez un bac de vidange sous le bouchon de vidange du réservoir.
Retirez le bouchon de vidange sur le côté du réservoir et laissez l'huile s'écouler dans le bac de vidange (Figure 53).

Notez l'orientation du flexible hydraulique et du raccord à 90° raccordé à la crépine.
Déposez le flexible hydraulique et le raccord à 90° (Figure 54).

Enlevez la crépine et nettoyez-la en la rinçant à contre-courant avec un produit dégraissant propre.
Laissez sécher la crépine à l'air libre.
Montez la crépine pendant la vidange de l'huile.
Branchez le flexible hydraulique et le raccord à 90° à la crépine.
Reposez et resserrez le bouchon de vidange.
Versez environ 7 litres d'huile Dexron III ATF dans le réservoir.
Important: Utilisez uniquement les liquides hydrauliques spécifiés. Tout autre liquide est susceptible d'endommager le système.
Mettez le moteur en marche et conduisez le pulvérisateur pour remplir le circuit hydraulique.
Contrôlez le niveau d'huile et faites l'appoint au besoin.
| Périodicité d'entretien | Procédure d'entretien |
|---|---|
| Après les 8 premières heures de fonctionnement |
|
| Toutes les 800 heures |
|
Utilisez le filtre de rechange Toro (réf. 54-0110).
Important: L'utilisation de tout autre filtre peut annuler la garantie de certaines pièces.
Placez le pulvérisateur sur une surface plane et horizontale, serrez le frein de stationnement, arrêtez la pompe, coupez le moteur et enlevez la clé du commutateur d'allumage.
Nettoyez la zone autour de la surface de montage du filtre.
Placez un bac de vidange sous le filtre.
Retirez le filtre (Figure 55).

Lubrifiez le joint du filtre neuf.
Vérifiez la propreté de la surface de montage du filtre.
Vissez le filtre jusqu'à ce que le joint touche la plaque de montage, puis serrez le filtre d'un demi-tour.
Mettez le moteur en marche et laissez-le tourner environ 2 minutes pour purger l'air du circuit.
Coupez le moteur, contrôlez le niveau de liquide hydraulique et recherchez des fuites éventuelles ; voir Contrôle du niveau de liquide hydraulique/de la boîte-pont.
Vérifiez chaque jour que les conduites et flexibles hydrauliques ne présentent pas de fuites, ne sont pas pliés, usés, détériorés par les conditions atmosphériques ou les produits chimiques, et que les supports de montage et les raccords ne sont pas desserrés. Effectuez les réparations nécessaires avant d'utiliser la machine.
| Périodicité d'entretien | Procédure d'entretien |
|---|---|
| Toutes les 200 heures |
|
Vérifiez que les flexibles du système de pulvérisation ne présentent pas de fissures, fuites ou autres dégâts. En même temps, vérifiez l'état des différents raccords. Remplacez les flexibles et raccords usés ou endommagés.
| Périodicité d'entretien | Procédure d'entretien |
|---|---|
| Toutes les 400 heures |
|
Note: Déterminez le maillage du filtre d'aspiration convenant le mieux pour la tâche à accomplir ; voir Sélection d'un filtre d'aspiration.
Garez la machine sur une surface plane et horizontale, serrez le frein de stationnement, arrêtez la pompe, coupez le moteur et enlevez la clé de contact.
Au sommet de la cuve du pulvérisateur, retirez l'étrier qui fixe le raccord de flexible sur le grand flexible et le logement du filtre (Figure 56).

Retirez le flexible et le raccord du logement du filtre (Figure 56).
Sortez le filtre d'aspiration existant de son logement dans le réservoir (Figure 57).
Note: Mettez le filtre existant au rebut.

Montez le filtre d'aspiration neuf dans le logement du filtre.
Note: Vérifiez que le filtre est complètement engagé.
Alignez le flexible et le raccord sur le logement du filtre au sommet de la cuve, et fixez le raccord et le logement avec l'étrier retiré à l'opération 2.
| Périodicité d'entretien | Procédure d'entretien |
|---|---|
| Toutes les 400 heures |
|
Placez la machine sur une surface plane et horizontale, arrêtez la pompe de pulvérisation, coupez le moteur et enlevez la clé.
Placez un bac de vidange sous le filtre de pression (Figure 58).

Tournez le bouchon de vidange dans le sens antihoraire et déposez-le de la cuvette du filtre de pression (Figure 58).
Note: Vidangez complètement la cuvette.
Tournez la cuvette dans le sens antihoraire et déposez la tête du filtre (Figure 58).
Retirez l'ancien élément du filtre de pression (Figure 58).
Note: Mettez l'ancien filtre au rebut.
Contrôlez l'état et l'usure du joint torique du bouchon de vidange (à l'intérieur de la cuvette) et du joint torique de la cuvette (à l'intérieur de la tête du filtre) (Figure 58).
Note: Remplacez les joints toriques usés ou endommagés pour le bouchon, la cuvette ou les deux .
Placez le nouvel élément filtrant dans la tête du filtre de pression (Figure 58).
Note: Vérifiez que l'élément filtrant est bien engagé dans la tête du filtre.
Vissez la cuvette sur la tête du filtre et serrez-la à la main (Figure 58).
Vissez le bouchon sur la cuvette à la main (Figure 58).
Note: Déterminez le maillage du filtre de buse qui convient pour la tâche à accomplir ; voir Sélection d'un filtre de buse (option).
Garez la machine sur une surface plane et horizontale, serrez le frein de stationnement, arrêtez la pompe de pulvérisation, coupez le moteur et enlevez la clé de contact.
Déposez la buse de la tourelle de pulvérisation (Figure 59).

Retirez le filtre de buse usagé (Figure 59).
Note: Mettez le filtre existant au rebut.
Montez le filtre de buse neuf (Figure 59).
Note: Vérifiez que le filtre est complètement engagé.
Montez la buse sur la tourelle de pulvérisation (Figure 59).
| Périodicité d'entretien | Procédure d'entretien |
|---|---|
| Toutes les 400 heures |
|
Note: Les pièces suivantes de la machine sont considérées comme non durables, sauf si elle sont défectueuses, et ne sont pas couvertes par la garantie associée à cette machine.
Demandez à un concessionnaire Toro agréé de vérifier l'état des composants de la pompe suivants :
Membranes de pompe
Clapets antiretour
Remplacez les composants le cas échéant.
| Périodicité d'entretien | Procédure d'entretien |
|---|---|
| Toutes les 400 heures |
|
Garez la machine sur une surface plane et horizontale, serrez le frein de stationnement, arrêtez la pompe, coupez le moteur et enlevez la clé de contact.
Déployez les sections extérieures en position de pulvérisation et soutenez les rampes avec des chandelles ou avec des sangles et un dispositif de levage.
Lorsque le poids de la rampe est soutenu, retirez le boulon et l'écrou qui fixent l'axe de pivot à la rampe (Figure 60).

Retirez le boulon et l'écrou qui fixent l'axe de pivot, et déposez celui-ci (Figure 60).
Déposez la rampe et support de pivot du cadre central pour accéder aux bagues en nylon.
Déposez et examinez les bagues en nylon à l'avant et à l'arrière du support de pivot (Figure 60).
Note: Remplacez les bagues usées ou endommagées.
Appliquez une petite quantité d'huile sur les bagues en nylon et montez-les sur le support de pivot (Figure 60).
Montez la rampe et support de pivot dans le cadre central en alignant les trous (Figure 60).
Posez l'axe de pivot et fixez-le avec le boulon et l'écrou retirés à l'opération 4.
Répétez les opérations 2 à 9 pour l'autre section de rampe extérieure.
Utilisez la procédure suivante pour régler le niveau des sections de rampe gauche et droite quand elles sont en position de pulvérisation.
Déployez les rampes en position de pulvérisation.
Retirez la goupille fendue de l'axe de pivotement (Figure 61).

Élevez la rampe et retirez l'axe (Figure 61), puis abaissez lentement la rampe au sol.
Vérifiez l'état de l'axe et remplacez-le au besoin.
Placez une clé sur les méplats de la tige de vérin pour l'immobiliser, puis desserrez l'écrou de blocage pour pouvoir ajuster la tige à œillet (Figure 62).

Tournez la tige à œillet dans la tige du vérin pour raccourcir ou allonger le vérin déployé à la position voulue (Figure 62).
Note: Vous devez tourner la tige à œillet un demi ou un tour complet à la fois pour pouvoir l'assembler avec la rampe.
Lorsque la position correcte est obtenue, serrez l'écrou de blocage pour fixer le vérin et la tige à œillet.
Élevez la rampe pour aligner le pivot sur la tige de vérin.
Tout en maintenant la rampe, insérez l'axe dans le pivot de rampe et la tige de vérin (Figure 61).
Une fois l'axe en position, relâchez la rampe et fixez l'axe au moyen de la goupille fendue retirée précédemment.
Répétez la procédure pour chaque roulement de tige de vérin au besoin.
Important: Ne nettoyez pas la machine avec de l'eau saumâtre ou recyclée.
| Périodicité d'entretien | Procédure d'entretien |
|---|---|
| Toutes les 200 heures |
|
Rincez et vidangez soigneusement tout le système de pulvérisation.
Déposez le débitmètre du pulvérisateur et rincez-le à l'eau propre.
Retirez le circlip en amont (Figure 63).

Nettoyez la turbine et le moyeu de turbine pour éliminer toute trace de limaille de fer et de poudres mouillables.
Vérifiez l'usure des pales de la turbine.
Note: Tenez la turbine dans la main et faites-la tourner. Elle doit tourner librement avec très peu de frottement. Remplacez-la si ce n'est pas le cas.
Montez le débitmètre.
Utilisez un jet d'air basse pression (5 bar) pour que la turbine tourne librement.
Note: Si elle ne tourne pas librement, desserrez le goujon hexagonal au bas du moyeu de turbine de 1/16ème de tour jusqu'à ce que la turbine tourne librement.
Avant de quitter la position d'utilisation :
Garez la machine sur une surface plane et horizontale.
Arrêtez la pompe de pulvérisation.
Serrez le frein de stationnement.
Coupez le moteur de la machine et enlevez la clé (selon l'équipement).
Attendez l'arrêt complet de tout mouvement.
Laissez refroidir la machine avant de la régler, d'en faire l'entretien, de la nettoyer ou de la remiser.
Ne rangez pas la machine ni les bidons de carburant à proximité d'une flamme nue, d'une source d'étincelles ou d'une veilleuse, telle celle d'un chauffe-eau ou autre appareil.
Placez le pulvérisateur sur une surface plane et horizontale, serrez le frein de stationnement, arrêtez la pompe, coupez le moteur et enlevez la clé de contact.
Éliminez toutes les saletés et la crasse se trouvant sur la machine, y compris à l'extérieur des ailettes de la culasse et du boîtier du ventilateur.
Important: Vous pouvez laver la machine avec de l'eau et un détergent doux. N'utilisez pas un nettoyeur haute pression pour laver la machine. Le lavage à haute pression peut endommager le système électrique ou enlever la graisse nécessaire aux points de frottement. N'utilisez pas trop d'eau, surtout près du panneau de commande, des feux, du moteur et de la batterie.
Nettoyez le système de pulvérisation ; voir .
Conditionnez le système de pulvérisation comme suit :
Vidangez le réservoir d'eau douce.
Vidangez le système de pulvérisation aussi complètement que possible.
Préparez une solution antigel RV sans alcool et antirouille conformément aux instructions du fabricant.
Ajoutez la solution antigel RV dans le réservoir d'eau douce, la cuve du pulvérisateur et le réservoir de rinçage optionnel si celui-ci est installé.
Le cas échéant, pompez la solution antigel RV du réservoir de rinçage en option dans la cuve du pulvérisateur.
Faites fonctionner la pompe de pulvérisation pendant quelques minutes pour faire circuler l'antigel RV dans tout le système de pulvérisation et dans les accessoires de pulvérisation qui sont montés.
Pulvérisez la solution antigel RV par les buses.
Vidangez le réservoir d'eau douce et le système de pulvérisation aussi complètement que possible.
Utilisez les interrupteurs de levage des sections pour lever les sections extérieures. Élevez les sections jusqu'à ce qu'elles soient complètement rentrées dans le berceau de transport et repliées en croix, et que les vérins soient complètement rétractés.
Note: Les vérins doivent être complètement rétractés pour éviter d'endommager la tige.
Contrôlez les freins ; voir Contrôle des freins.
Faites l'entretien du filtre à air ; voir Entretien du moteur.
Graissez le pulvérisateur ; voir Lubrification.
Vidangez l'huile moteur ; voir Vidange de l'huile moteur.
Contrôlez la pression des pneus ; voir Contrôle de la pression des pneus.
Si vous ne comptez pas utiliser la machine avant plus d'un mois, préparez le circuit d'alimentation comme suit :
Ajoutez un additif stabilisateur/conditionneur à base de pétrole dans le réservoir de carburant.
Respectez les proportions spécifiées par le fabricant du stabilisateur N'utilisez pas de stabilisateur à base d'alcool (éthanol ou méthanol).
Note: L'efficacité des stabilisateurs/conditionneurs est optimale lorsqu'ils sont ajoutés à de l'essence fraîche tout au long de l’année.
Faites tourner le moteur pendant 5 minutes pour faire circuler le carburant traité dans tout le circuit d'alimentation.
Coupez le moteur, laissez-le refroidir puis vidangez le réservoir de carburant.
Remettez le moteur en marche et laissez-le tourner jusqu'à ce qu'il s'arrête.
Actionnez le starter.
Démarrez le moteur et laissez-le tourner jusqu'à ce qu'il ne veuille plus démarrer.
Débarrassez-vous du carburant correctement. Respectez la réglementation locale en matière de recyclage.
Important: Ne conservez pas le carburant traité/additionné de stabilisateur plus de 3 mois.
Déposez les bougies et vérifiez leur état ; voir Dépose des bougies.
Versez 2 cuillerées à soupe d'huile moteur dans l'ouverture laissée par la bougie.
Actionnez le démarreur pour faire tourner le moteur et bien répartir l'huile dans le cylindre.
Montez et serrez les bougies au couple préconisé ; voir Mise en place des bougies.
Note: Ne rebranchez pas le fil de la ou des bougies.
Déposez la batterie du châssis, contrôlez le niveau d'électrolyte et chargez la batterie au maximum ; voir Entretien de la batterie.
Note: Ne laissez pas les câbles connectés aux bornes de la batterie durant le remisage.
Important: La batterie doit être chargée au maximum pour éviter de geler et de subir des dommages à des températures inférieures à 0 °C. Une batterie chargée au maximum conserve sa charge durant environ 50 jours à des températures inférieures à 4 °C. Si la température doit dépasser 4 ºC, vérifiez le niveau d'eau dans la batterie et chargez-la tous les 30 jours.
Contrôlez et resserrez tous les boulons, écrous et vis. Réparez ou remplacez toute pièce endommagée.
Vérifiez l'état de tous les flexibles de pulvérisation et remplacez ceux qui sont usés ou endommagés.
Serrez tous les colliers de flexibles.
Peignez toutes les surfaces métalliques éraflées ou mises à nu. Une peinture pour retouches est disponible chez les concessionnaires Toro agréés.
Rangez la machine dans un endroit propre et sec, comme un garage ou une remise.
Retirez la clé de contact et rangez-la en lieu sûr, hors de la portée des enfants.
Couvrez la machine pour la protéger et la garder propre.
| Problem | Possible Cause | Corrective Action |
|---|---|---|
| Le démarreur ne fonctionne pas. |
|
|
| Le démarreur fonctionne mais le moteur ne démarre pas. |
|
|
| Le moteur démarre, mais s'arrête aussitôt. |
|
|
| Le moteur tourne, mais cogne et a des ratés. |
|
|
| Le moteur ne tourne pas au ralenti. |
|
|
| Le moteur surchauffe. |
|
|
| Le moteur perd de la puissance. |
|
|
| Vibrations ou bruit anormaux. |
|
|
| La machine ne fonctionne pas du tout ou fonctionne laborieusement quel que soit le sens de la marche, car le moteur peine ou cale. |
|
|
| La machine ne fonctionne dans aucune direction. |
|
|
| Problem | Possible Cause | Corrective Action |
|---|---|---|
| Une section ne pulvérise pas. |
|
|
| Une section fonctionne en permanence. |
|
|
| Une vanne de section fuit. |
|
|
| Une ou des buses de pulvérisation gouttent quand les interrupteurs de section sont en position arrêt. |
|
|
| Une baisse de pression se produit quand vous activez une section. |
|
|
| Lorsque vous arrêtez les sections, il se produit un changement de pression quand vous placez la commande d'agitation à la la position Marche. |
|
|
| Lorsque vous utilisez plusieurs sections pour pulvériser, la pression change quand vous coupez une des sections. |
|
|
| Il reste plus de liquide que prévu dans la cuve à la fin de la pulvérisation. |
|
|
| La cuve du pulvérisateur est subitement vide en cours de pulvérisation. |
|
|
