Se está a instalar este kit numa unidade de tração apenas ROPS (ou seja, a unidade de tração não tem cabina), deve também instalar o Kit de cablagem de potência (Peça N.º 140-1559).
![]() |
Os autocolantes de segurança e instruções estão facilmente visíveis para o operador e situam-se próximos das zonas de potencial perigo. Substitua todos os autocolantes danificados ou perdidos. |

Estacione a máquina numa superfície nivelada.
Engate o travão de estacionamento.
Desça a unidade de corte.
Desligue o motor e retire a chave.
Desligue a bateria; consulte a secção de manutenção do sistema elétrico do Manual do utilizador.
Peças necessárias para este passo:
| Montagem do interruptor | 1 |
| Clipe (¼ pol.) | 6 |
| Porca de velocidade | 2 |
| Placa de montagem do fusível | 1 |
| Porca de velocidade do tipo U | 4 |
| Bloco de fusíveis | 1 |
| Parafuso (n.º 10 x ¾ pol.) | 2 |
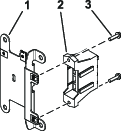
Instale os 6 clipes e 2 porcas de velocidade na montagem do interruptor (Figura 1).

Instale as porcas de velocidade do tipo U na placa de montagem do fusível (Figura 2).

Instale o bloco de fusível na cablagem na placa de montagem do fusível utilizando os dois parafusos (n.º 10 x ¾ pol.) como se mostra na Figura 3.

Peças necessárias para este passo:
| Suporte de montagem | 2 |
| Parafuso de carroçaria (¼ x 2 pol.) | 4 |
| Porca de bloqueio (¼ pol.) | 2 |
| Parafuso de cabeça sextavada (¼ pol. x ¾ pol.) | 2 |
| Porca flangeada (¼ pol.) | 2 |
| Pisca | 1 |
| Relé | 1 |
| Cablagem | 1 |
| Braçadeira de cabos | 2 |
| Cobertura dos fusíveis | 1 |
| Parafuso de aperto manual | 2 |
| Porca de pressão | 2 |
| Autocolante | 1 |
| Parafuso (n.º 10 x ⅜ pol.) | 2 |
| Interruptor multifunções | 1 |
| Tampa do furo | 3 |
| Interruptor do oscilador | 1 |
| Cobertura de controlo | 1 |
| Parafuso de cabeça sextavada (¼ pol. x ¾ pol.) | 6 |
| Clipe do interruptor | 2 |
| Rebite de pressão | 2 |
Instale, sem apertar, a montagem do interruptor em redor da coluna da direção utilizando quatro parafusos de carroçaria (¼ pol. x 2 pol.), dois suportes de montagem, placa de montagem do fusível e quatro porcas de bloqueio (¼ pol.) como se mostra na Figura 4.

Instale o interruptor multifunções na montagem do interruptor e prenda-o utilizando os clipes do interruptor por baixo do furo para o interruptor (Figura 5).

Instale o interruptor oscilador e tampões do furo na montagem do interruptor (Figura 6).

Instale o pisca e o relé na placa de montagem do fusível utilizando dois parafusos (n.º 10 x ⅜ pol.) como se mostra na Figura 7.

Prenda o pisca utilizando uma braçadeiras de cabos (Figura 8).
Ligue a cablagem no interruptor oscilador e interruptor multifunções (Figura 8).

Ligue a cablagem no relé e piscas (Figura 8).
Desaperte os parafusos em redor da base da coluna da direção (Figura 9).
Eleve a base e faça um furo de 22 mm como se mostra na Figura 9.

Encaminhe a cablagem através do furo que fez na base.
Deixe os conectores bala desligados, como se mostra na Figura 10.

Aplique o autocolante na cobertura do fusível como se mostra na Figura 11.

Instale a cobertura do fusível na montagem do interruptor utilizando dois parafusos de aperto manual e duas porcas de retenção (Figura 12).
Note: Certifique-se de que as porcas de retenção são instaladas no interior da cobertura do fusível (Figura 12).

Ajuste o conjunto de controlo de forma a que os interruptores fiquem acessíveis.
Aperte todas as fixações.
Instale a cobertura de controlo na montagem do interruptor utilizando dois rebites de pressão e seis parafusos de cabeça sextavada (¼ x ¾ pol.) como se mostra na Figura 13.

Peças necessárias para este passo:
| Base da luz esquerda (para máquinas com uma cabina) | 1 |
| Base da luz direita (para máquinas com uma cabina) | 1 |
| Montagem da luz esquerda | 1 |
| Montagem da luz direita | 1 |
| Conjunto do farol esquerdo | 1 |
| Conjunto do farol direito | 1 |
| Parafuso de cabeça de tremoço (¼ x ⅝ pol.) | 6 |
| Parafuso de carroçaria (⅜ x ¾ pol.)—para máquinas com cabina | 4 |
| Porca de bloqueio (⅜ pol.)—para máquinas com cabina | 4 |
| Montagem cruzada das luzes (para máquinas sem cabina) | 1 |
Ao instalar a montagem das luzes, consulte o quadro seguinte para obter a posição de montagem com base na dimensão e tipo da sua plataforma.
| Número do modelo da unidade de corte | Luzes frontais | Luz traseira esquerda | Luz traseira direita |
| 31970 | estreito | estreito | largo |
| 31971 | estreito | estreito | estreito |
| 31972 | largo | estreito | largo |
| 31973 | estreito | estreito | estreito |
| 31974 | estreito | estreito | estreito |
| 31975 | estreito | estreito | estreito |
Prenda a base da luz esquerda e base da luz direita à estrutura da cabina utilizando dois parafusos de carroçaria (⅜ x ¾ pol.) e duas porcas de bloqueio (⅜ pol.) em cada lado (Figura 14).

Prenda a montagem da luz esquerda e montagem da luz direita às bases das luzes utilizando três parafusos de cabeça de tremoço (¼ x ⅝ pol.) através das porcas de velocidade em cada lado (Figura 15).
Note: Consulte a Tabela da posição das luzes para obter a posição adequada das luzes.

Prenda o conjunto da luz esquerda e conjunto da luz direita à montagem da luz esquerda e montagem da luz direita utilizando a porca hexagonal nos conjuntos das luzes (Figura 16).
Note: Instale as luzes com o feixe baixo na direção da extremidade exterior da máquina.Olhe para a parte inferior das luzes para a orientação do feixe inferior e superior.

Remova o suporte da abraçadeira da plataforma (Figura 17).
Guarde as peças.

Prenda a montagem cruzada das luzes à plataforma utilizando os parafusos, porcas e suporte da abraçadeira previamente removidos (Figura 18).

Prenda a montagem da luz esquerda e montagem da luz direita à montagem cruzada das luzes utilizando três parafusos de cabeça de tremoço (¼ x 5/8 pol.) através das porcas de velocidade em cada lado (Figura 19).
Note: Consulte a Tabela da posição das luzes para obter a posição adequada das luzes.

Prenda o conjunto da luz esquerda e conjunto da luz direita à montagem da luz esquerda e montagem da luz direita utilizando a anilha de bloqueio e porca hexagonal nos conjuntos das luzes (Figura 20).
Note: Instale as luzes com o feixe baixo na direção da extremidade exterior da máquina.Olhe para a parte inferior das luzes para a orientação do feixe inferior e superior.

Peças necessárias para este passo:
| Montagem esquerda | 1 |
| Montagem direita | 1 |
| Montagem curta esquerda | 1 |
| Montagem curta direita | 1 |
| Parafuso de carroçaria (5/16 x ¾ pol.) | 4 |
| Porca flangeada (5/16 pol.) | 4 |
| Parafuso de carroçaria (¼ x ⅝ pol.) | 4 |
| Porca de bloqueio (¼ pol.) | 8 |
| Conjunto da montagem interior | 2 |
| Luz traseira | 2 |
| Parafuso de cabeça de panela (n.º 10 x 1-¼ pol.) | 4 |
| Porca flangeada (n.º 10) | 4 |
| Parafuso de cabeça sextavada (⅜ x 3 pol.) | 4 |
| Porca de bloqueio (⅜ pol.) | 4 |
| Montagem do marcador | 1 |
| Montagem traseira | 2 |
| Parafuso de cabeça flangeada (¼ x ¾ pol.) | 4 |
| Montagem da placa de velocidade | 1 |
| Porca de velocidade | 2 |
| Parafuso de carroçaria (¼ x ½ pol.) | 5 |
| Porca de bloqueio (¼ pol.) | 5 |
| Suporte de montagem da buzina | 1 |
| Buzina | 1 |
| Autocolante de velocidade de 20 km/h | 3 |
| Autocolante de velocidade de 24 km/h | 3 |
| Montagem comprida, direita | 1 |
| Caixa da luz esquerda | 1 |
| Caixa da luz direita | 1 |
Remova o parafuso de cabeça flangeada (⅜ x 2¾ pol.) e porca flangeada (⅜ pol.) que prendem o para-choques à estrutura do tubo traseiro em cada lado do para-choques (Figura 21).

Prenda a montagem esquerda e montagem direita aos tubos da estrutura traseira utilizando dois parafusos hexagonais (⅜ x 3 pol.) e duas porcas de bloqueio (⅜ pol.) em cada lado (Figura 22).

Prenda a montagem curta esquerda e a montagem curta ou comprida direita na montagem esquerda e direita utilizando quatro parafusos de carroçaria (5/16 x ¾ pol.) e quatro porcas flangeadas (5/16 pol.) como se mostra na Figura 23.
Note: Consulte a Tabela da posição das luzes para obter a posição adequada das luzes.

Prenda a caixa da luz esquerda e caixa da luz direita à montagem curta esquerda e montagem curta direita utilizando quatro parafusos de carroçaria (¼ x ⅝ pol.) e quatro porcas de bloqueio (¼ pol.) como se mostra na Figura 24.

Aplique o autocolante de velocidade adequado na montagem da placa de velocidade (Figura 25).
Aplique o autocolante de 20 km/h nos modelos 31900 e 31901.
Aplique o autocolante de 24 km/h nos modelos 31902 e 31903.

Instale as duas porcas de velocidade na montagem da placa de velocidade (Figura 26).

Prenda a montagem da placa de velocidade na montagem do marcador utilizando cinco parafusos de carroçaria (¼ x ½ pol.) e cinco porcas de bloqueio (¼ pol.) como se mostra na Figura 27.

Remova os sete tampões de plástico mostrados na Figura 28 do capot.

Eleve o capot (Figura 29).

Prenda a montagem da placa de velocidade montada ao capot utilizando quatro parafusos de cabeça flangeada (¼ x ¾ pol.), duas montagens traseiras e quatro porcas de bloqueio (¼ pol.) como se mostra na Figura 30.

Faça um furo (½ pol.) através do filtro do capot para encaminhar a cablagem (Figura 31).
Important: Certifique-se de que não fura através de qualquer componente do motor, especificamente o filtro de partículas de gasóleo (FPG).

Retire o parafuso e a porca do tubo da montagem da linha hidráulica (Figura 32).
Guarde todos os fixadores.

Prenda a buzina ao suporte de montagem da buzina utilizando o parafuso e porca previamente removidos (Figura 33).

Aplique o autocolante de velocidade adequado em cada lado do capot (Figura 34).
Aplique os autocolantes de 20 km/h nos modelos 31900 e 31901.
Aplique os autocolantes de 24 km/h nos modelos 31902 e 31903.

Peças necessárias para este passo:
| Cablagem da luz | 1 |
| Anilha plana | 3 |
| Parafuso de cabeça sextavada (¼ pol. x 1 pol.) | 3 |
| Abraçadeira | 3 |
| Porca flangeada (¼ pol.) | 3 |
| Conjunto da montagem interior | 2 |
| Luz traseira | 2 |
| Parafuso de cabeça de panela (n.º 10 x 1-¼ pol.) | 4 |
| Porca flangeada (n.º 10) | 4 |
| Parafuso de cabeça de tremoço (¼ x ¾ pol.) | 8 |
| Luz da matrícula | 1 |
| Parafuso de cabeça de tremoço (n. 10 x ¾ pol.) | 2 |
| Braçadeira de cabos | 8 |
Consulte as figuras seguintes e instruções para encaminhar a cablagem da luz.
Encaminhe o conector de cablagem rotulado para o lado esquerdo da unidade. Ligue a cablagem à luz (Figura 35).
Encaminhe o conector de cablagem rotulado para o lado direito da unidade. Ligue a cablagem à luz (Figura 35).
Encaminhe o conector de cablagem rotulado para o lado esquerdo traseiro da unidade (Figura 35).
Encaminhe o conector de cablagem rotulado para o lado direito da unidade (Figura 35).

Prenda as luzes traseiras aos conjuntos de montagem interior utilizando quatro parafusos de cabeça de panela (n.º 10 pol. x 1-¼ pol.) e quatro porcas flangeadas (n.º 10), como se mostra na Figura 36.

Ligue o conector de cablagem rotulado à luz traseira (Figura 35).
Ligue o conector de cablagem rotulado à luz traseira (Figura 35).
Prenda as luzes traseiras montadas às caixas das luzes traseiras utilizando oito parafusos de cabeça de tremoço (¼ x ¾ pol) como se mostra na Figura 37.
Certifique-se de que instala as luzes traseiras com as lentes amarelas na parte superior (Figura 36 e Figura 37).

Encaminhe o conector da cablagem rotulada através do capot e ligue-o à luz da matrícula (Figura 38).

Prenda a cablagem ao capot utilizando três parafusos de cabeça sextavada (¼ x 1 pol.), 3 anilhas chatas, 3 abraçadeiras e 3 porcas flangeadas (¼ pol.) como se mostra na Figura 38.
Ligue a cablagem à luz da placa da matrícula (Figura 39).
Prenda a luz de matrícula à montagem da placa de velocidade montada utilizando duas porcas de velocidade instaladas em Figura 26 e dois parafusos de cabeça de tremoço (n.º 10 x ¾ pol.) como se mostra na Figura 39.

Para máquinas sem cabina: Agrupe o comprimento adicional da cablagem na área por baixo do suporte da luz em cruz, como se mostra na Figura 35. Utilize uma braçadeira de cabos para agrupar a cablalgem.
Peças necessárias para este passo:
| Cablagem de controlo | 1 |
Consulte as figuras seguintes e instruções para encaminhar a cablagem de controlo.

Encaminhe a cablagem através a abertura da plataforma e ao longo do encaminhamento da cablagem da luz.
Ligue o conector de controlo de cablagem rotulado TO ROAD LTS HARNESS (P06) ao conector de cablagem da luz rotulado TO MAIN HARNESS (P03).
Ligue o conector de controlo de cablagem rotulado TO POWER HARNESS (P05) ao conector de cablagem da alimentação rotulado POD CONTROL HARNESS (P04).

Ligue os conectores de cablagem de controlo rotulados HORN (J01, J02) à buzina (Figura 42).

Peças necessárias para este passo:
| Placa do número de série | 1 |
| Fita de placa do número de série | 1 |
Marque o número de série na estrutura.
O tamanho do texto tem de ser de 7 mm ou superior.
Marque a informação adequada na placa do número de série.
Limpe a parte inferior da estrutura e placa do número de série com um pano embebido em álcool (Figura 43).

Aplique a fita na placa do número de série.
Instale a placa na estrutura (Figura 44).
Utilize as dimensões mostradas em Figura 45.


Ligue a bateria; consulte a secção de manutenção do sistema elétrico do Manual do utilizador.