Εάν πρόκειται να εγκαταστήσετε αυτό το κιτ σε ελκυστήρα μόνο με σύστημα ROPS (δηλ. ο ελκυστήρας δεν διαθέτει καμπίνα), τότε πρέπει να εγκαταστήσετε και το Κιτ καλωδίωσης ισχύος (Κωδ. 140-1559).
![]() |
Οι ετικέτες προειδοποίησης και οδηγιών ασφάλειας είναι εύκολα αναγνώσιμες από τον χειριστή και βρίσκονται κοντά σε κάθε πηγή δυνητικού κινδύνου. ντικαταστήστε τις τυχόν φθαρμένες ή αποκολλημένες ετικέτες. |

Σταθμεύστε το μηχάνημα σε επίπεδο έδαφος.
άλτε χειρόφρενο.
Κατεβάστε τη μονάδα κοπής.
Σβήστε τον κινητήρα και αφαιρέστε το κλειδί.
ποσυνδέστε την μπαταρία. νατρέξτε στην ενότητα συντήρησης ηλεκτρικού συστήματος που υπάρχει στο Εγχειρίδιο Χειριστή.
Εξαρτήματα που απαιτούνται για αυτή τη διαδικασία:
| άση διακοπτών | 1 |
| Κλιπ (¼") | 6 |
| Παξιμάδι με έλασμα | 2 |
| Πλάκα στερέωσης ασφαλειών | 1 |
| Παξιμάδι με έλασμα τύπου U | 4 |
| σφαλειοθήκη | 1 |
| ίδα (#10 x ¾") | 2 |
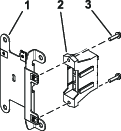
Εγκαταστήστε τα 6 κλιπ και τα 2 παξιμάδια με έλασμα στη βάση των διακοπτών (Σχήμα 1).

Εγκαταστήστε τα παξιμάδια με έλασμα τύπου U στην πλάκα στερέωσης ασφαλειών (Σχήμα 2).

Εγκαταστήστε την ασφαλειοθήκη της πλεξούδας καλωδίωσης στην πλάκα στερέωσης ασφαλειών, χρησιμοποιώντας 2 βίδες (#10 x ¾") όπως φαίνεται στο Σχήμα 3.

Εξαρτήματα που απαιτούνται για αυτή τη διαδικασία:
| άση σύσφιγξης | 2 |
| Καρόβιδα (¼" x 2") | 4 |
| σφαλιστικό παξιμάδι (1/4") | 2 |
| ίδα εξαγωνικής κεφαλής (¼" x ¾") | 2 |
| Φλαντζωτό παξιμάδι (¼") | 2 |
| Φλασέρ | 1 |
| Ρελέ | 1 |
| Πλεξούδα καλωδίωσης | 1 |
| Δεματικό καλωδίων | 2 |
| Κάλυμμα ασφαλειών | 1 |
| Χειρόβιδα | 2 |
| Κουμπωτό παξιμάδι | 2 |
| Ετικέτα | 1 |
| ίδα (#10 x ⅜") | 2 |
| Διακόπτης πολλαπλών λειτουργιών | 1 |
| Τάπα | 3 |
| Διακόπτης πίεσης | 1 |
| Κάλυμμα χειριστηρίων | 1 |
| ίδα εξαγωνικής κεφαλής (¼" x ¾") | 6 |
| Κλιπ στερέωσης διακόπτη | 2 |
| Κουμπωτό πριτσίνι | 2 |
Εφαρμόστε χωρίς να σφίξετε τη βάση διακοπτών γύρω από την κολόνα του τιμονιού, χρησιμοποιώντας τις 4 καρόβιδες (¼" x 2"), τις 2 βάσεις σύσφιγξης, την πλάκα στερέωσης ασφαλειών και τα 4 παξιμάδια ασφάλισης (¼") όπως φαίνεται στο Σχήμα 4.

Εγκαταστήστε τον διακόπτη πολλαπλών λειτουργιών στη βάση των διακοπτών και στερεώστε τον εφαρμόζοντας τα κλιπ στερέωσης διακόπτη κάτω από την οπή που προορίζεται για τον διακόπτη (Σχήμα 5).

Εγκαταστήστε τον διακόπτη πίεσης και τις τάπες στη βάση διακοπτών (Σχήμα 6).

Εγκαταστήστε το φλασέρ και το ρελέ στην πλάκα στερέωσης ασφαλειών, χρησιμοποιώντας 2 βίδες (#10 x ⅜") όπως φαίνεται στο Σχήμα 7.

Στερεώστε το φλασέρ χρησιμοποιώντας ένα δεματικό καλωδίων (Σχήμα 8).
Συνδέστε την καλωδίωση στον διακόπτη πίεσης και τον διακόπτη πολλαπλών λειτουργιών (Σχήμα 8).

Συνδέστε τον πλεξούδα καλωδίωσης στο ρελέ και το φλασέρ (Σχήμα 8).
Ξεσφίξτε τα μπουλόνια που υπάρχουν γύρω από την έδρα της κολόνας του τιμονιού (Σχήμα 9).
νεβάστε την έδρα και ανοίξτε μία οπή 22 mm, όπως φαίνεται στο Σχήμα 9.

Περάστε την καλωδίωση μέσα από την οπή που ανοίξατε στην έδρα.
φήστε τα κουμπωτά βύσματα (ακίδας) αποσυνδεδεμένα, όπως φαίνεται στο Σχήμα 10.

Επικολλήστε την ετικέτα στο κάλυμμα ασφαλειών, όπως φαίνεται στο Σχήμα 11.

Εγκαταστήστε το κάλυμμα ασφαλειών στη βάση των διακοπτών, χρησιμοποιώντας 2 χειρόβιδες και 2 κουμπωτά παξιμάδια (Σχήμα 12).
Note: εβαιωθείτε ότι τα κουμπωτά παξιμάδια έχουν τοποθετηθεί στο εσωτερικό του καλύμματος ασφαλειών (Σχήμα 12).

Ρυθμίστε το συγκρότημα χειριστηρίων έτσι ώστε οι διακόπτες να είναι προσβάσιμοι.
Σφίξτε όλα τα συνδετικά εξαρτήματα.
Εγκαταστήστε το κάλυμμα χειριστηρίων στη βάση των διακοπτών χρησιμοποιώντας 2 κουμπωτά πριτσίνια και 6 βίδες εξαγωνικής κεφαλής (¼" x ¾"), όπως φαίνεται στο Σχήμα 13.

Εξαρτήματα που απαιτούνται για αυτή τη διαδικασία:
| ριστερή έδρα φώτων (για μηχανήματα με καμπίνα) | 1 |
| Δεξιά έδρα φώτων (για μηχανήματα με καμπίνα) | 1 |
| ριστερή βάση φώτων | 1 |
| Δεξιά βάση φώτων | 1 |
| ριστερό συγκρότημα φώτων | 1 |
| Δεξί συγκρότημα φώτων | 1 |
| Μπουλόνι πομπέ κεφαλής (¼" x ⅝") | 6 |
| Καρόβιδα (⅜" x ¾")—για μηχανήματα με καμπίνα | 4 |
| Παξιμάδι ασφάλισης (⅜")—για μηχανήματα με καμπίνα | 4 |
| Τραβέρσα φώτων (για μηχανήματα χωρίς καμπίνα) | 1 |
Κατά την εγκατάσταση των βάσεων, ανατρέξτε στον παρακάτω πίνακα για τη θέση στερέωσης ανάλογα με το μέγεθος και τον τύπο του δαπέδου χλοοκοπτικού που διαθέτετε.
| ριθμός μοντέλου μονάδας κοπής | Εμπρός φώτα | Πίσω, αριστερό φως | Πίσω, δεξί φως |
| 31970 | Μέσα θέση | Μέσα θέση | Έξω θέση |
| 31971 | Μέσα θέση | Μέσα θέση | Μέσα θέση |
| 31972 | Έξω θέση | Μέσα θέση | Έξω θέση |
| 31973 | Μέσα θέση | Μέσα θέση | Μέσα θέση |
| 31974 | Μέσα θέση | Μέσα θέση | Μέσα θέση |
| 31975 | Μέσα θέση | Μέσα θέση | Μέσα θέση |
Στερεώστε την αριστερή έδρα φώτων στο πλαίσιο της καμπίνας, χρησιμοποιώντας 2 καρόβιδες (⅜" x ¾") και 2 παξιμάδια ασφάλισης (⅜") σε κάθε πλευρά (Σχήμα 14).

Στερεώστε την αριστερή και δεξιά βάση φώτων στις έδρες φώτων, χρησιμοποιώντας 3 μπουλόνια πομπέ κεφαλής (¼" x ⅝") μέσα από τα παξιμάδια με έλασμα σε κάθε πλευρά (Σχήμα 15).
Note: Για τη σωστή τοποθέτηση των φώτων ανατρέξτε στην ενότητα Πίνακας τοποθέτησης φώτων.

Στερεώστε το αριστερό και δεξί συγκρότημα φώτων στην αριστερή και δεξιά βάση φώτων αντίστοιχα, χρησιμοποιώντας το εξαγωνικό παξιμάδι που υπάρχει στα συγκροτήματα φώτων (Σχήμα 16).
Note: Εγκαταστήστε τα φώτα με τη μεσαία σκάλα προς την εξωτερική πλευρά του μηχανήματος.Για να δείτε τον προσανατολισμό της μεσαίας και μεγάλης σκάλας κοιτάξτε στην κάτω πλευρά των φώτων.

φαιρέστε τη βάση πρόσδεσης από την πλατφόρμα (Σχήμα 17).
Φυλάξτε τα εξαρτήματα.

Στερεώστε την τραβέρσα φώτων στην πλατφόρμα, χρησιμοποιώντας τα μπουλόνια, τα παξιμάδια και τη βάση πρόσδεσης που αφαιρέσατε προηγουμένως (Σχήμα 18).

Στερεώστε την αριστερή και δεξιά βάση φώτων στην τραβέρσα, χρησιμοποιώντας σε κάθε πλευρά 3 μπουλόνια πομπέ κεφαλής (¼" x ⅝") μέσα από τα παξιμάδια με έλασμα (Σχήμα 19).
Note: Για τη σωστή τοποθέτηση των φώτων ανατρέξτε στην ενότητα Πίνακας τοποθέτησης φώτων.

Στερεώστε το αριστερό και δεξί συγκρότημα φώτων στην αριστερή και δεξιά βάση φώτων αντίστοιχα, χρησιμοποιώντας το γκρόβερ και το εξαγωνικό παξιμάδι που υπάρχει στα συγκροτήματα φώτων (Σχήμα 20).
Note: Εγκαταστήστε τα φώτα με τη μεσαία σκάλα προς την εξωτερική πλευρά του μηχανήματος.Για να δείτε τον προσανατολισμό της μεσαίας και μεγάλης σκάλας κοιτάξτε στην κάτω πλευρά των φώτων.

Εξαρτήματα που απαιτούνται για αυτή τη διαδικασία:
| ριστερή βάση | 1 |
| Δεξιά βάση | 1 |
| Κοντή βάση αριστερά | 1 |
| Κοντή βάση δεξιά | 1 |
| Καρόβιδα (5/16" x ¾") | 4 |
| Φλαντζωτό παξιμάδι (5/16") | 4 |
| Καρόβιδα (¼" x ⅝") | 4 |
| σφαλιστικό παξιμάδι (1/4") | 8 |
| Συγκρότημα εσωτερικής βάσης | 2 |
| Πίσω φως | 2 |
| ίδα «ψωμάκι» (#10 x 1¼") | 4 |
| Φλαντζωτό παξιμάδι (#10) | 4 |
| Εξαγωνικό μπουλόνι (⅜" x 3") | 4 |
| σφαλιστικό παξιμάδι (3/8") | 4 |
| άση φώτων σήμανσης | 1 |
| Πίσω βάση | 2 |
| Μπουλόνι φλαντζωτής κεφαλής (¼" x ¾") | 4 |
| άση πινακίδας ορίου ταχύτητας | 1 |
| Παξιμάδι με έλασμα | 2 |
| Καρόβιδα (¼" x ½") | 5 |
| σφαλιστικό παξιμάδι (1/4") | 5 |
| άση στερέωσης κόρνας | 1 |
| Κόρνα | 1 |
| Ετικέτα ταχύτητας 20 kph | 3 |
| Ετικέτα ταχύτητας 24 kph | 3 |
| Δεξιά, μακριά βάση | 1 |
| ριστερό περίβλημα φώτων | 1 |
| Δεξί περίβλημα φώτων | 1 |
φαιρέστε το μπουλόνι φλαντζωτής κεφαλής (⅜" x 2¾") και το φλαντζωτό παξιμάδι (⅜") που στερεώνουν τον προφυλακτήρα στην πίσω δοκό του πλαισίου, σε κάθε πλευρά του προφυλακτήρα (Σχήμα 21).

Στερεώστε την αριστερά και δεξιά βάση στις πίσω δοκούς του πλαισίου, χρησιμοποιώντας 2 εξαγωνικά μπουλόνια (⅜" x 3") και 2 παξιμάδια ασφάλισης (⅜") σε κάθε πλευρά (Σχήμα 22).

Στερεώστε την αριστερή κοντή βάση και τη δεξιά κοντή ή μακριά βάση στην αριστερή και δεξιά βάση αντίστοιχα, χρησιμοποιώντας τις 4 καρόβιδες (5/16" x ¾") και τα 4 φλαντζωτά παξιμάδια (5/16"), όπως φαίνεται στο Σχήμα 23.
Note: Για τη σωστή τοποθέτηση των φώτων ανατρέξτε στην ενότητα Πίνακας τοποθέτησης φώτων.

Στερεώστε το αριστερό και δεξί περίβλημα φώτων στην αριστερή κοντή βάση και τη δεξιά κοντή ή μακριά βάση αντίστοιχα, χρησιμοποιώντας τις 4 καρόβιδες (¼" x ⅝") και τα 4 παξιμάδια ασφάλισης (¼"), όπως φαίνεται στο Σχήμα 24.

Επικολλήστε την κατάλληλη ετικέτα ορίου ταχύτητας στην αντίστοιχη βάση (Σχήμα 25).
Στα μοντέλα 31900 και 31901 επικολλήστε την ετικέτα των 20 kph.
Στα μοντέλα 31902 και 31903 επικολλήστε την ετικέτα των 24 kph.

Εγκαταστήστε τα 2 παξιμάδια με έλασμα στη βάση της πινακίδας ορίου ταχύτητας (Σχήμα 26).

Στερεώστε την πινακίδα ορίου ταχύτητας στη βάση φώτων σήμανσης, χρησιμοποιώντας 5 καρόβιδες (¼" x ½") και 5 ασφαλιστικά παξιμάδια (¼"), όπως φαίνεται στο Σχήμα 27.

φαιρέστε από το καπό τις 7 πλαστικές τάπες που φαίνονται στο Σχήμα 28.

νοίξτε το καπό (Σχήμα 29).

Στερεώστε τη συναρμολογημένη βάση πινακίδας ορίου ταχύτητας στο καπό, χρησιμοποιώντας 4 μπουλόνια φλαντζωτής κεφαλής (¼" x ¾"), 2 πίσω βάσεις και 4 παξιμάδια ασφάλισης (¼"), όπως φαίνεται στο Σχήμα 30.

νοίξτε μια οπή (13 mm) στη σήτα του καπό για να περάσετε την πλεξούδα καλωδίωσης (Σχήμα 31).
Important: Προσέξτε να μην τρυπήσετε οποιοδήποτε εξάρτημα του κινητήρα, ειδικά το φίλτρο σωματιδίων ντίζελ (DPF).

φαιρέστε το μπουλόνι και το παξιμάδι από τη βάση της υδραυλικής γραμμής (Σχήμα 32).
Φυλάξτε τα εξαρτήματα στερέωσης.

Στερεώστε την κόρνα στη βάση στερέωσής της, χρησιμοποιώντας το μπουλόνι και το παξιμάδι που αφαιρέσατε προηγουμένως (Σχήμα 33).

Επικολλήστε την κατάλληλη ετικέτα ορίου ταχύτητας σε κάθε πλευρά του καπό (Σχήμα 34).
Στα μοντέλα 31900 και 31901 επικολλήστε την ετικέτα των 20 kph.
Στα μοντέλα 31902 και 31903 επικολλήστε την ετικέτα των 24 kph.

Εξαρτήματα που απαιτούνται για αυτή τη διαδικασία:
| Πλεξούδα καλωδίωσης φώτων | 1 |
| Επίπεδη ροδέλα | 3 |
| λλενόβιδα (¼ x 1") | 3 |
| Σφιγκτήρας | 3 |
| Φλαντζωτό παξιμάδι (¼") | 3 |
| Συγκρότημα εσωτερικής βάσης | 2 |
| Πίσω φως | 2 |
| ίδα «ψωμάκι» (#10 x 1¼") | 4 |
| Φλαντζωτό παξιμάδι (#10) | 4 |
| Μπουλόνι πομπέ κεφαλής (¼" x ¾") | 8 |
| Φως πινακίδας | 1 |
| Μπουλόνι πομπέ κεφαλής (#10 x ¾") | 2 |
| Δεματικό καλωδίων | 8 |
Για τη διαδρομή εγκατάστασης της πλεξούδας καλωδίωσης των φώτων ανατρέξτε στα παρακάτω σχέδια.
Περάστε το βύσμα της καλωδίωσης με την ετικέτα (Εμπρός φως Ρ (P04)) προς την αριστερή πλευρά της μονάδας. Συνδέστε την καλωδίωση στο φως (Σχήμα 35).
Περάστε το βύσμα της καλωδίωσης με την ετικέτα (Εμπρός φως ΔΞ (P05)) προς τη δεξιά πλευρά της μονάδας. Συνδέστε την καλωδίωση στο φως (Σχήμα 35).
Περάστε το βύσμα της καλωδίωσης με την ετικέτα (Πίσω φως Ρ (P01)) προς την πίσω, αριστερά πλευρά της μονάδας (Σχήμα 35).
Περάστε το βύσμα της καλωδίωσης με την ετικέτα (Πίσω φως ΔΞ (P02)) προς την πίσω δεξιά πλευρά της μονάδας (Σχήμα 35).

Στερεώστε τα πίσω φώτα στα συγκροτήματα εσωτερικής βάσης, χρησιμοποιώντας 4 βίδες πομπέ κεφαλής (#10 x 1¼") και 4 φλαντζωτά παξιμάδια (#10), όπως φαίνεται στο Σχήμα 36.

Συνδέστε το βύσμα της καλωδίωσης με την ετικέτα (Πίσω φως Ρ (P01)) στο πίσω φως (Σχήμα 35).
Συνδέστε το βύσμα της καλωδίωσης με την ετικέτα (Πίσω φως Ρ (P02)) στο πίσω φως (Σχήμα 35).
Στερεώστε τα συναρμολογημένα πίσω φώτα στα περιβλήματά τους, χρησιμοποιώντας 8 μπουλόνια πομπέ κεφαλής (¼" x ¾"), όπως φαίνεται στο Σχήμα 37.
Φροντίστε να εγκαταστήσετε τα πίσω φώτα με το διαφανές κάλυμμα προς τα πάνω (Σχήμα 36 και Σχήμα 37).

Περάστε το βύσμα της καλωδίωσης με την ετικέτα μέσα από το καπό και συνδέστε το με το φως της πινακίδας (Σχήμα 38).

Στερεώστε την πλεξούδα καλωδίωσης στο καπό, χρησιμοποιώντας 3 αλλενόβιδες (¼" x 1"), 3 επίπεδες ροδέλες, 3 σφιγκτήρες και 3 φλαντζωτά παξιμάδια (¼"), όπως φαίνεται στο Σχήμα 38.
Συνδέστε την πλεξούδα καλωδίωσης στο φως πινακίδας (Σχήμα 39).
Στερεώστε το φως πινακίδας στη συναρμολογημένη βάση πινακίδας ορίου ταχύτητας, χρησιμοποιώντας τα 2 παξιμάδια με έλασμα που εγκαταστήσατε στο Σχήμα 26 και 2 μπουλόνια πομπέ κεφαλής (#10 x ¾"), όπως φαίνεται στο Σχήμα 39.

Για μηχανήματα χωρίς καμπίνα: Δέστε το επιπλέον μήκος της πλεξούδας καλωδίωσης στην περιοχή κάτω από την τραβέρσα φώτων, όπως φαίνεται στο Σχήμα 35. Χρησιμοποιήστε δεματικό καλωδίων για να στερεώσετε τη δέσμη.
Εξαρτήματα που απαιτούνται για αυτή τη διαδικασία:
| Πλεξούδα καλωδίωσης χειριστηρίων | 1 |
Για τη διαδρομή εγκατάστασης της πλεξούδας καλωδίωσης των χειριστηρίων ανατρέξτε στα παρακάτω σχέδια.

Περάστε την πλεξούδα καλωδίωσης μέσα από το άνοιγμα της πλατφόρμας, κατά μήκος της πλεξούδας καλωδίωσης.
Συνδέστε το βύσμα της καλωδίωσης χειριστηρίων με την ετικέτα TO ROAD LTS HARNESS (P06) (Προς καλωδίωση φώτων οδικής κυκλοφορίας (P06)) στο βύσμα της καλωδίωσης φώτων με την ετικέτα TO MAIN HARNESS (P03) (Προς κύρια καλωδίωση (P03)).
Συνδέστε το βύσμα της καλωδίωσης χειριστηρίων με την ετικέτα TO POWER HARNESS (P05) (Προς καλωδίωση ισχύος-τροφοδοσίας (P05)) στο βύσμα της καλωδίωσης ισχύος-τροφοδοσίας με την ετικέτα POD CONTROL HARNESS (P04) (Καλωδίωση χειριστηρίων μηχανήματος (P04)).

Συνδέστε το βύσμα της καλωδίωσης χειριστηρίων με την ετικέτα HORN (J01, J02) (Κόρνα (J01, J02)) στην κόρνα (Σχήμα 42).

Εξαρτήματα που απαιτούνται για αυτή τη διαδικασία:
| Πινακίδα σειριακού αριθμού | 1 |
| υτοκόλλητη ταινία πινακίδας σειριακού αριθμού | 1 |
ποτυπώστε τον σειριακό αριθμό στο πλαίσιο.
Το ύψος των χαρακτήρων πρέπει να είναι τουλάχιστον 7 mm.
ποτυπώστε τις απαραίτητες πληροφορίες στην πινακίδα σειριακού αριθμού.
Καθαρίστε την κάτω πλευρά του πλαισίου και την πινακίδα σειριακού αριθμού με οινόπνευμα (Σχήμα 43).

Επικολλήστε την αυτοκόλλητη ταινία στην πινακίδα σειριακού αριθμού
Εγκαταστήστε την πινακίδα στο πλαίσιο (Σχήμα 44).
Χρησιμοποιήστε τις διαστάσεις που φαίνονται στο Σχήμα 45.


Συνδέστε την μπαταρία. νατρέξτε στην ενότητα συντήρησης ηλεκτρικού συστήματος που υπάρχει στο Εγχειρίδιο Χειριστή.