Para instalar este kit en una unidad de tracción con ROPS únicamente (es decir, la unidad de tracción no tiene cabina), debe instalar también el Kit de arnés de alimentación (Pieza Nº 140-1559).
![]() |
Las pegatinas e instrucciones de seguridad están a la vista del operador y están ubicadas cerca de cualquier zona de peligro potencial. Sustituya cualquier pegatina que esté dañada o que falte. |

Aparque la máquina en una superficie nivelada.
Accione el freno de estacionamiento.
Baje la unidad de corte.
Apague el motor y retire la llave.
Desconecte la batería; consulte la sección de mantenimiento del sistema eléctrico en el Manual del operador.
Piezas necesarias en este paso:
| Bastidor de interruptores | 1 |
| Clip (¼") | 6 |
| Tuerca rápida | 2 |
| Placa de montaje de fusibles | 1 |
| Tuerca rápida de tipo U | 4 |
| Bloque de fusibles | 1 |
| Tornillo (n.º 10 x ¾") | 2 |
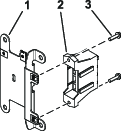
Instale los 6 clips y las 2 tuercas rápidas en el soporte de los interruptores (Figura 1).

Instale las tuercas rápidas de tipo U en la placa de montaje de fusibles (Figura 2).

Instale el bloque de fusibles del arnés de cables en la placa de montaje de fusibles utilizando 2 tornillos (n.º 10 x ¾"), tal y como se muestra en la Figura 3.

Piezas necesarias en este paso:
| Soporte de montaje | 2 |
| Perno de cuello cuadrado (¼" x 2") | 4 |
| Contratuerca (¼") | 2 |
| Perno de cabeza hexagonal (¼" x ¾") | 2 |
| Tuerca con arandela prensada (¼") | 2 |
| Intermitente | 1 |
| Relé | 1 |
| Arnés de cables | 1 |
| Brida | 2 |
| Cubierta de los fusibles | 1 |
| Tornillo | 2 |
| Tuerca rápida | 2 |
| Pegatina | 1 |
| Tornillo (n.º 10 x ⅜") | 2 |
| Interruptor multifunción | 1 |
| Tapón del hueco | 3 |
| Interruptor basculante | 1 |
| Cubierta del control | 1 |
| Perno de cabeza hexagonal (¼" × ¾") | 6 |
| Clip de interruptor | 2 |
| Remache de presión | 2 |
Instale provisionalmente el soporte de los interruptores alrededor de la columna de dirección con 4 pernos de cuello cuadrado (¼" × 2"), 2 soportes de montaje, la placa de montaje de fusibles y 4 contratuercas (¼"), como se muestra en la Figura 4.

Instale el interruptor multifunción en el soporte de los interruptores y fíjelo con los clips del interruptor debajo del hueco del interruptor (Figura 5).

Instale el interruptor basculante y los tapones del hueco en el soporte de los interruptores (Figura 6).

Instale el intermitente y el relé en la placa de montaje de fusibles con 2 tornillos (n.º 10 x ⅜"), tal y como se muestra en la Figura 7.

Fije el intermitente con una brida (Figura 8).
Enchufe el arnés en el interruptor basculante y el interruptor multifunción (Figura 8).

Enchufe el arnés de cables en el relé y el intermitente (Figura 8).
Afloje los pernos alrededor de la base de la columna de dirección (Figura 9).
Eleve la base y realice un taladro de 22 mm, tal y como se muestra en la Figura 9.

Dirija el arnés a través del taladro que realizó en la base.
Deje desconectados los conectores bala, como se muestra en la Figura 10.

Coloque la pegatina en la cubierta de los fusibles, tal y como se muestra en la Figura 11.

Instale la cubierta de los fusibles en el bastidor de interruptores con 2 tornillos moleteados y 2 tuercas rápidas (Figura 12).
Note: Asegúrese de que las tuercas rápidas están instaladas dentro de la cubierta de los fusibles (Figura 12).

Ajuste el conjunto de control, de modo que se pueda acceder a los interruptores.
Apriete todas las fijaciones.
Instale la cubierta de los mandos en el soporte de los interruptores usando 2 grapas y 6 tornillos de cabeza hexagonal (¼" x ¾"), como se muestra en la Figura 13.

Piezas necesarias en este paso:
| Base de luz izquierda (para máquinas con cabina) | 1 |
| Base de luz derecha (para máquinas con cabina) | 1 |
| Soporte de la luz izquierda | 1 |
| Soporte de luz derecha | 1 |
| Conjunto de luz izquierda | 1 |
| Conjunto de luz derecha | 1 |
| Perno de cabeza de botón (¼" x ⅝") | 6 |
| Perno de cuello cuadrado (⅜" x ¾") – para máquinas con cabina | 4 |
| Contratuerca (⅜") – para máquinas con cabina | 4 |
| Bastidor transversal de luces (para máquinas sin cabina) | 1 |
Al instalar los bastidores de luz, consulte el siguiente gráfico para conocer la posición de montaje en función del tipo y el tamaño de carcasa del cortacésped.
| Número de modelo de unidad de corte | Luces delanteras | Luz izquierda trasera | Luz derecha trasera |
| 31970 | Estrecha | Estrecha | Ancha |
| 31971 | Estrecha | Estrecha | Estrecha |
| 31972 | Ancha | Estrecha | Ancha |
| 31973 | Estrecha | Estrecha | Estrecha |
| 31974 | Estrecha | Estrecha | Estrecha |
| 31975 | Estrecha | Estrecha | Estrecha |
Fije la base de la luz izquierda y la base de la luz derecha al chasis de la cabina con 2 pernos de cuello cuadrado (⅜" x ¾") y 2 contratuercas (⅜") a cada lado (Figura 14).

Fije el bastidor de la luz izquierda y el bastidor de la luz derecha en las bases de las luces con 3 pernos de cabeza de botón (¼" x ⅝") a través de las tuercas rápidas a cada lado (Figura 15).
Note: Consulte la Tabla de posición de las luces para conocer la posición correcta de las luces.

Fije el conjunto de luz izquierda y el conjunto de luz derecha en el bastidor de luz izquierda y el bastidor de luz derecha con la tuerca hexagonal en los conjuntos de luces (Figura 16).
Note: Instale las luces con la luz de cruce hacia el extremo exterior de la máquina.Mire la parte inferior de las luces para determinar la orientación de la luz de carretera y la luz de cruce.

Retire la placa de amarre de la plataforma (Figura 17).
Guarde las piezas.

Fije el soporte transversal de las luces en la plataforma con los pernos, las tuercas y la placa de amarre que retiró anteriormente (Figura 18).

Fije el bastidor de la luz izquierda y el bastidor de la luz derecha en el bastidor transversal de luces con 3 pernos de cabeza de botón (¼" x ⅝") a través de las tuercas rápidas a cada lado (Figura 19).
Note: Consulte la Tabla de posición de las luces para conocer la posición correcta de las luces.

Fije el conjunto de luz izquierda y el conjunto de luz derecha en el soporte de luz izquierda y el soporte de luz derecha con la arandela de freno y la tuerca hexagonal de los conjuntos de luces (Figura 20).
Note: Instale las luces con la luz de cruce hacia el extremo exterior de la máquina.Mire la parte inferior de las luces para determinar la orientación de la luz de carretera y la luz de cruce.

Piezas necesarias en este paso:
| Soporte izquierdo | 1 |
| Soporte derecho | 1 |
| Soporte corto izquierdo | 1 |
| Soporte corto derecho | 1 |
| Perno de cuello cuadrado (5/16" x ¾") | 4 |
| Tuerca con arandela prensada (5/16") | 4 |
| Perno de cuello cuadrado (¼" x ⅝") | 4 |
| Contratuerca (¼") | 8 |
| Conjunto del bastidor interno | 2 |
| Luz trasera | 2 |
| Tornillo de cabeza plana (Nº 10 x 1-¼") | 4 |
| Tuerca con arandela prensada (Nº 10) | 4 |
| Perno de cabeza hexagonal (⅜" x 3") | 4 |
| Contratuerca (⅜") | 4 |
| Soporte de marcador | 1 |
| Bastidor trasero | 2 |
| Perno con arandela prensada (¼" x ¾") | 4 |
| Bastidor de placa de velocidad | 1 |
| Tuerca rápida | 2 |
| Perno de cuello cuadrado (¼" x ½") | 5 |
| Contratuerca (¼") | 5 |
| Soporte de montaje de claxon | 1 |
| Claxon | 1 |
| Pegatina de limitación de velocidad a 20 km/h | 3 |
| Pegatina de limitación de velocidad a 24 km/h | 3 |
| Bastidor largo, derecho | 1 |
| Carcasa de luz izquierda | 1 |
| Carcasa de luz derecha | 1 |
Retire el perno con arandela prensada (⅜" x 2-¾") y la tuerca con arandela prensada (⅜") que fijan el parachoques al bastidor de tubo trasero a cada lado del parachoques (Figura 21).

Fije el bastidor izquierdo y el bastidor derecho a los tubos del bastidor trasero con 2 pernos de cabeza hexagonal (⅜" x 2-¾") y 2 contratuercas (⅜") a cada lado (Figura 22).

Fije el bastidor corto izquierdo y el bastidor corto o largo derecho al bastidor izquierdo y al bastidor derecho con 4 pernos de cuello cuadrado (5/16" x ¾") y 4 tuercas con arandela prensada (5/16"), tal y como se muestra en la Figura 23.
Note: Consulte la Tabla de posición de las luces para conocer la posición correcta de las luces.

Fije la carcasa de la luz izquierda y la carcasa de la luz derecha al bastidor corto izquierdo y al bastidor corto derecho con 4 pernos de cuello cuadrado (¼" x ⅝") y 4 contratuercas (¼"), tal y como se muestra en la Figura 24.

Coloque la pegatina de limitación de velocidad adecuada en el bastidor de placa de velocidad (Figura 25).
Coloque la pegatina de 20 km/h en los modelos 31900 y 31901.
Coloque la pegatina de 24 km/h en los modelos 31902 y 31903.

Instale las 2 tuercas rápidas en el bastidor de placa de velocidad (Figura 26).

Fije el bastidor de la placa de velocidad en el bastidor del marcador con 5 pernos de cuello cuadrado (¼" x ½") y 5 contratuercas (¼"), tal y como se muestra en la Figura 27.

Retire los 7 tapones de plástico del capó como se muestra en la Figura 28.

Levante el capó (Figura 29).

Fije el bastidor de placa de velocidad montado al capó con 4 pernos con arandela prensada (¼" x ¾"), 2 bastidores traseros y 4 contratuercas (¼"), tal y como se muestra en la Figura 30.

Realice un taladro (½") a través de la rejilla del capó para dirigir el arnés de cables (Figura 31).
Important: Asegúrese de no taladrar ningún componente del motor, sobre todo el filtro de partículas diésel (DPF).

Retire el perno y la tuerca del bastidor de la manguera hidráulica (Figura 32).
Guarde las fijaciones.

Fije el claxon al soporte de montaje de claxon con el perno y la tuerca que retiró anteriormente (Figura 33).

Coloque las pegatinas adecuadas de limitación de velocidad a cada lado del capó (Figura 34).
Coloque las pegatinas de 20 km/h en los modelos 31900 y 31901.
Coloque la pegatina de 24 km/h en los modelos 31902 y 31903.

Piezas necesarias en este paso:
| Arnés de cables de luces | 1 |
| Arandela plana | 3 |
| Tornillo allen (¼" x 1") | 3 |
| Abrazadera | 3 |
| Tuerca con arandela prensada (¼") | 3 |
| Conjunto del soporte interno | 2 |
| Luz trasera | 2 |
| Tornillo de cabeza plana (Nº 10 x 1-¼") | 4 |
| Tuerca con arandela prensada (Nº 10) | 4 |
| Perno de cabeza de botón (¼" x ¾") | 8 |
| Luz de la placa | 1 |
| Perno de cabeza de botón (Nº 10 x ¾") | 2 |
| Brida | 8 |
Consulte las siguientes figuras e instrucciones para enrutar el arnés de cables de las luces.
Enrute el conector del arnés de cables marcado hasta el lado izquierdo de la unidad. Conecte el arnés a la luz (Figura 35).
Enrute el conector del arnés de cables marcado hasta el lado derecho de la unidad. Conecte el arnés a la luz (Figura 35).
Enrute el conector del arnés de cables marcado hasta el lado izquierdo trasero de la unidad (Figura 35).
Enrute el conector del arnés de cables marcado hasta el lado derecho trasero de la unidad (Figura 35).

Fije las luces traseras a los conjuntos de soporte interiores con 4 pernos de cabeza plana (N.º 10 x 1¼") y 4 tuercas con arandela prensada (N.º 10), como se muestra en la Figura 36.

Enrute el conector del arnés de cables marcado hasta la luz trasera (Figura 35).
Enrute el conector del arnés de cables marcado hasta la luz trasera (Figura 35).
Fije las luces traseras montadas a las carcasas de las luces traseras con 8 pernos de cabeza de botón (¼" x ¾"), tal y como se muestra en la Figura 37.
Asegúrese de que instala las luces traseras con la lente amarilla en la parte superior (Figura 36 y Figura 37).

Enrute el conector del arnés de cables marcado a través del capó y conéctelo a la luz de la placa de matrícula (Figura 38).

Fije el arnés de cables al capó con 3 tornillos allen (¼" x 1"), 3 arandelas planas, 3 abrazaderas y 3 tuercas con arandela prensada (¼"), tal y como se muestra en la Figura 38.
Conecte el arnés de cables a la luz de la matrícula (Figura 39).
Fije la luz de la matrícula al bastidor de placa de velocidad montado con las 2 tuercas rápidas instaladas en la Figura 26 y 2 pernos de cabeza de botón (Nº 10 x ¾"), tal y como se muestra en la Figura 39.

Máquinas sin cabina: Enrolle el arnés de cables sobrante en la zona situada debajo del soporte transversal de las luces, como se indica en la Figura 35. Utilice una brida para sujetar el arnés enrollado.
Piezas necesarias en este paso:
| Arnés de cables de controles | 1 |
Consulte las siguientes figuras e instrucciones para enrutar el arnés de cables de controles.

Enrute el arnés de cables a través de la apertura de la plataforma y a lo largo del enrutado del arnés de cables de las luces.
Conecte el conector del arnés de cables de control marcado TO ROAD LTS HARNESS (P06) al conector del arnés de cables de las luces marcado TO MAIN HARNESS (P03).
Conecte el conector del arnés de cables de control marcado TO POWER HARNESS (P05) al conector del arnés de cables de alimentación marcado POD CONTROL HARNESS (P04).

Conecte los conectores del arnés de cables de control marcados HORN (J01, J02) al claxon (Figura 42).

Piezas necesarias en este paso:
| Placa de número de serie | 1 |
| Cinta adhesiva de placa del número de serie | 1 |
Selle el número de serie en el bastidor.
El tamaño del texto debe ser de 7 mm o más.
Selle la información adecuada en la placa del número de serie.
Limpie la parte inferior del bastidor y la placa del número de serie con una toallita impregnada con alcohol (Figura 43).

Coloque cinta adhesiva en la placa del número de serie.
Instale la placa en el bastidor (Figura 44).
Utilice las dimensiones mostradas en la Figura 45.


Conecte la batería; consulte la sección de mantenimiento del sistema eléctrico en el Manual del operador.