Wenn Sie dieses Kit an einer reinen Zugmaschine mit Überrollschutz installieren (d. h. die Zugmaschine hat keine Kabine), müssen Sie auch das Stromkabelbaumkit (Bestellnr. 140-1559) installieren.
![]() |
Die Sicherheits- und Bedienungsaufkleber sind für den Bediener gut sichtbar und befinden sich in der Nähe der möglichen Gefahrenbereiche. Tauschen Sie beschädigte oder verloren gegangene Aufkleber aus. |

Stellen Sie die Maschine auf einer ebenen Fläche ab.
Aktivieren Sie die Feststellbremse.
Senken Sie das Mähwerk ab.
Stellen Sie den Motor ab und ziehen Sie den Zündschlüssel ab.
Schließen Sie die Batterie ab, siehe Abschnitt über die Wartung der Elektroanlage in der Bedienungsanleitung.
Für diesen Arbeitsschritt erforderliche Teile:
| Schalterhalterung | 1 |
| Klemme (¼") | 6 |
| Blechmutter | 2 |
| Montageplatte der Sicherung | 1 |
| U-Blechmutter | 4 |
| Sicherungskasten | 1 |
| Schraube (Nr. 10 x ¾") | 2 |
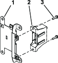
Montieren Sie die sechs Klemmen und die beiden Blechmuttern an der Schalterhalterung (Bild 1).

Montieren Sie die U-Blechmuttern auf der Montageplatte der Sicherung (Bild 2).

Befestigen Sie den Sicherungsblock am Kabelbaum mit zwei Schrauben (Nr. 10 x ¾") auf der Montageplatte der Sicherung, wie in Bild 3 dargestellt.

Für diesen Arbeitsschritt erforderliche Teile:
| Befestigungshalterung | 2 |
| Schlossschraube (¼" x 2") | 4 |
| Sicherungsmutter (¼") | 2 |
| Sechskantschraube (¼" x ¾") | 2 |
| Bundmutter (¼") | 2 |
| Blinker | 1 |
| Relais | 1 |
| Kabelbaum | 1 |
| Kabelbinder | 2 |
| Sicherungsabdeckung | 1 |
| Rändelschraube | 2 |
| Steckmutter | 2 |
| Aufkleber | 1 |
| Schraube (Nr. 10 x ⅜") | 2 |
| Multifunktionsschalter | 1 |
| Lochblende | 3 |
| Kippschalter | 1 |
| Abdeckung der Bedienelemente | 1 |
| Sechskantschraube (¼" x ¾") | 6 |
| Schalterclip | 2 |
| Druckniete | 2 |
Montieren Sie die Schalterhalterung lose mit vier Schlossschrauben (¼" x 2"), zwei Montagewinkeln, Montageplatte der Sicherung und vier Sicherungsmuttern (¼") um die Lenksäule herum, wie in Bild 4. dargestellt.

Montieren Sie den Multifunktionsschalter an der Schalterhalterung und sichern Sie ihn mit den Schalterclips unter der Bohrung für den Schalter (Bild 5).

Montieren Sie den Kippschalter und die Lochblenden in die Schalterhalterung (Bild 6).

Befestigen Sie den Blinker und das Relais mit zwei Schrauben (Nr. 10 x ⅜") auf der Montageplatte der Sicherung, wie in Bild 7 dargestellt.

Befestigen Sie den Blinker mit einem Kabelbinder (Bild 8).
Schließen Sie den Kabelbaum an den Kippschalter und den Multifunktionsschalter (Bild 8) an.

Verbinden Sie den Kabelbaum mit dem Relais und dem Blinker (Bild 8).
Lösen Sie die Schrauben um den Lenksäulenfuß (Bild 9).
Heben Sie den Lenksäulenfuß an und bohren Sie ein 22 mm großes Loch, wie in Bild 9 dargestellt.

Führen Sie das Kabelbaum durch das Loch, das Sie in den Lenksäulenfuß gebohrt haben.
Schließen Sie die Rundstecker noch nicht an, wie in Bild 10 dargestellt.

Bringen Sie den Aufkleber auf die Sicherungsabdeckung an, wie in Bild 11 dargestellt.

Befestigen Sie die Sicherungsabdeckung mit zwei Rändelschrauben und zwei Steckmuttern an der Schalterhalterung (Bild 12).
Note: Stellen Sie sicher, dass die Steckmuttern auf der Innenseite der Sicherungsabdeckung eingesetzt sind (Bild 12).

Stellen Sie die Bedienelemente so ein, dass die Schalter zugänglich sind.
Ziehen Sie alle Befestigungen an.
Montieren Sie die Abdeckung der Bedienelemente mit zwei Drucknieten und sechs Sechskantschrauben (¼" x ¾") an der Schalterhalterung, wie in Bild 13 dargestellt.

Für diesen Arbeitsschritt erforderliche Teile:
| Linker Scheinwerfersockel (für Maschinen mit Kabine) | 1 |
| Rechter Scheinwerfersockel (für Maschinen mit Kabine) | 1 |
| Linke Scheinwerferhalterung | 1 |
| Rechte Scheinwerferhalterung | 1 |
| Linke Scheinwerferbaugruppe | 1 |
| Rechte Scheinwerferbaugruppe | 1 |
| Halbrundschraube (¼" x ⅝") | 6 |
| Schlossschraube (⅜" x ¾") - für Maschinen mit Kabine | 4 |
| Sicherungsmutter (⅜") - für Maschinen mit Kabine | 4 |
| Kreuzhalterung Scheinwerfer (für Maschinen ohne Kabine) | 1 |
Bei der Installation der Scheinwerferhalterungen ist die Einbauposition basierend auf der Größe und dem Typ Ihres Mähwerks aus der folgenden Tabelle ersichtlich.
| Modellnummer des Mähwerks | Frontscheinwerfer | Linkes Rücklicht | Rechtes Rücklicht |
| 31970 | Schmal | Schmal | Breit |
| 31971 | Schmal | Schmal | Schmal |
| 31972 | Breit | Schmal | Breit |
| 31973 | Schmal | Schmal | Schmal |
| 31974 | Schmal | Schmal | Schmal |
| 31975 | Schmal | Schmal | Schmal |
Befestigen Sie den linken und rechten Scheinwerfersockel mit zwei Schlossschrauben (⅜" x ¾") und zwei Sicherungsmuttern (⅜") auf jeder Seite am Kabinenrahmen (Bild 14).

Befestigen Sie die linke und rechte Scheinwerferhalterung mit drei Halbrundschrauben (¼" x ⅝") durch die Sicherungsmuttern an dem Scheinwerfersockel auf jeder Seite (Bild 15).
Note: Die entsprechende Position der Scheinwerfer entnehmen Sie bitte Tabelle der Einbaupositionen für Scheinwerfer.

Befestigen Sie die linke und rechte Scheinwerferbaugruppe mit der an den Scheinwerferbaugruppen angebrachten Sechskantmutter an der linken und rechten Scheinwerferhalterung (Bild 16).
Note: Installieren Sie die Scheinwerfer mit dem Abblendlicht in Richtung Außenkante der Maschine.Schauen Sie zur die Ausrichtung von Fern- und Abblendlicht auf die Unterseite der Scheinwerfer.

Entfernen Sie die Befestigungshalterung von der Plattform (Bild 17).
Bewahren Sie die Teile auf.

Befestigen Sie die Kreuzhalterung der Scheinwerfer mit den zuvor entfernten Schrauben, Muttern und Befestigungshalterung an der Plattform (Bild 18).

Befestigen Sie die linke und rechte Scheinwerferhalterung mit drei Halbrundschrauben (¼" x ⅝") durch die Sicherungsmuttern an der Kreuzhalterung der Scheinwerfer auf jeder Seite (Bild 19).
Note: Die entsprechende Position der Scheinwerfer entnehmen Sie bitte Tabelle der Einbaupositionen für Scheinwerfer.

Befestigen Sie die linke und rechte Scheinwerferbaugruppe mit der an den Scheinwerferbaugruppen angebrachten Sicherungsscheibe und Sechskantmutter an der linken und rechten Scheinwerferhalterung (Bild 20).
Note: Installieren Sie die Scheinwerfer mit dem Abblendlicht in Richtung Außenkante der Maschine.Schauen Sie zur die Ausrichtung von Fern- und Abblendlicht auf die Unterseite der Scheinwerfer.

Für diesen Arbeitsschritt erforderliche Teile:
| Linke Befestigung | 1 |
| Rechte Befestigung | 1 |
| Linke kurze Befestigung | 1 |
| Rechte kurze Befestigung | 1 |
| Schlossschraube (5/16" x ¾") | 4 |
| Bundmutter (5/16") | 4 |
| Schlossschraube (¼" x ⅝") | 4 |
| Sicherungsmutter (¼") | 8 |
| Innere Montagehalterung | 2 |
| Rücklicht | 2 |
| Flachkopfschraube (Gr. 10 x 1¼") | 4 |
| Bundmutter (Gr. 10) | 4 |
| Sechskantschraube (⅜" x 3") | 4 |
| Sicherungsmutter (⅜") | 4 |
| Markierungshalterung | 1 |
| Rückwärtige Halterung | 2 |
| Bundkopfschraube (¼" x ¾") | 4 |
| Halterung Geschwindigkeitsplatte | 1 |
| Blechmutter | 2 |
| Schlossschraube (¼" x ½") | 5 |
| Sicherungsmutter (¼") | 5 |
| Montagewinkel Hupe | 1 |
| Hupe | 1 |
| Geschwindigkeitsaufkleber 20 km/h | 3 |
| Geschwindigkeitsaufkleber 24 km/h | 3 |
| Rechte, lange Befestigung | 1 |
| Linkes Scheinwerfergehäuse | 1 |
| Rechtes Scheinwerfergehäuse | 1 |
Entfernen Sie die Bundkopfschraube (⅜" x 2¾") und die Bundmutter (⅜"), mit der die Stoßstange auf jeder Seite am hinteren Rohrrahmen befestigt ist (Bild 21).

Befestigen Sie die linke und rechte Befestigung auf jeder Seite an den hinteren Rahmenrohren mit zwei Sechskantschrauben (⅜" x 3") und zwei Sicherungsmuttern (⅜") (Bild 22).

Befestigen Sie die linke kurze Befestigung und die rechte kurze oder lange Befestigung mit vier Schlossschrauben (5/16" x ¾") und vier Bundmuttern (5/16") an der linken und rechten Befestigung, wie in Bild 23 dargestellt.
Note: Die entsprechende Position der Scheinwerfer entnehmen Sie bitte Tabelle der Einbaupositionen für Scheinwerfer.

Befestigen Sie das linke und rechte Scheinwerfergehäuse mit vier Schlossschrauben (¼" x ⅝") und vier Sicherungsmuttern (¼") an der linken kurzen und rechten kurzen Befestigung, wie in Bild 24 dargestellt.

Bringen Sie das entsprechende Geschwindigkeitsaufkleber auf der Halterung der Geschwindigkeitsplatte an (Bild 25).
Bei den Modellen 31900 und 31901 den 20 km/h-Aufkleber anbringen.
Bei den Modellen 31902 und 31903 den 24 km/h-Aufkleber anbringen.

Montieren Sie die beiden Blechmuttern an der Halterung für die Geschwindigkeitsplatte (Bild 26).

Befestigen Sie die Halterung der Geschwindigkeitsplatte mit fünf Schlossschrauben (¼" x ½") und fünf Sicherungsmuttern (¼") an den Markierungshalterung, wie in Bild 27 abgebildet.

Entfernen Sie die sieben, in Bild 28 abgebildeten Kunststoffstopfen von der Haube.

Öffnen Sie die Motorhaube (Bild 29).

Befestigen Sie die Halterung der Geschwindigkeitsplatte mit vier Bundkopfschrauben (¼" x ¾"), zwei rückwärtigen Halterung und vier Sicherungsmuttern (¼") an der Haube, wie in Bild 30 dargestellt.

Bohren Sie ein Loch (½") durch das Abdeckungsgitter, um den Kabelbaum durchzuverlegen (Bild 31).
Important: Achten Sie darauf, dass Sie nicht durch angrenzende Motorkomponenten, insbesondere den Dieselpartikelfilter (DPF), bohren.

Entfernen Sie die Schraube und die Mutter von der Halterung der Hydraulikleitung (Bild 32).
Bewahren Sie die Befestigungsmittel auf.

Befestigen Sie die Hupe mit der zuvor entfernten Schraube und Mutter am Montagewinkel der Hupe (Bild 33).

Bringen Sie den entsprechenden Geschwindigkeitsaufkleber auf jeder Seite der Haube an (Bild 34).
Bei den Modellen 31900 und 31901 die 20 km/h-Aufkleber anbringen.
Bei den Modellen 31902 und 31903 die 24 km/h-Aufkleber anbringen.

Für diesen Arbeitsschritt erforderliche Teile:
| Beleuchtungskabelbaum | 1 |
| Flachscheibe | 3 |
| Sechskantschraube (¼" x 1") | 3 |
| Klemme | 3 |
| Bundmutter (¼") | 3 |
| Innere Montagehalterung | 2 |
| Rücklicht | 2 |
| Flachkopfschraube (Gr. 10 x 1¼") | 4 |
| Bundmutter (Gr. 10) | 4 |
| Halbrundschraube (¼" x ¾") | 8 |
| Nummernschildlampe | 1 |
| Halbrundschraube (Gr. 10 x ¾") | 2 |
| Kabelbinder | 8 |
Beachten Sie die folgenden Abbildungen und Anweisungen zur Verlegung des Beleuchtungskabelbaums.
Verlegen Sie den mit beschrifteten Stecker am Kabelbaum an der linken Seite der Maschine. Verbinden Sie den Kabelbaum mit dem Scheinwerfer (Bild 35).
Verlegen Sie den mit beschrifteten Stecker am Kabelbaum an der rechten Seite der Maschine. Verbinden Sie den Kabelbaum mit dem Scheinwerfer (Bild 35).
Verlegen Sie den mit beschrifteten Stecker am Kabelbaum an der linken hinteren Seite der Maschine (Bild 35).
Verlegen Sie den mit beschrifteten Stecker am Kabelbaum an der rechten hinteren Seite der Maschine (Bild 35).

Befestigen Sie die Rücklichter mit vier Flachkopfschrauben (Nr. 10 x 1¼") und vier Bundmuttern (Nr. 10) an den inneren Montagehalterungen, wie in Bild 36 dargestellt.

Schließen Sie den mit beschrifteten Stecker des Kabelbaums am Rücklicht an (Bild 35).
Schließen Sie den mit beschrifteten Stecker des Kabelbaums am Rücklicht an (Bild 35).
Befestigen Sie die montierten Rücklichter mit acht Halbrundschrauben (¼" x ¾") an den Rücklichtgehäusen, wie in Bild 37 dargestellt.
Achten Sie darauf, dass Sie die Rücklichter mit der gelben Linse oben montieren (Bild 36 und Bild 37).

Verlegen Sie den mit gekennzeichneten Kabelbaumanschluss durch die Haube und schließen Sie ihn an der Kennzeichenbeleuchtung an (Bild 38).

Befestigen Sie den Kabelbaum mit drei Innensechskantschrauben (¼" x 1"), drei Unterlegscheiben, drei Klemmen und drei Bundmuttern (¼") an der Haube, wie in Bild 38 dargestellt.
Schließen Sie den Kabelbaum an der Kennzeichenbeleuchtung an (Bild 39).
Befestigen Sie die Kennzeichenbeleuchtung mit den beiden in Bild 26 angebrachten Blechmuttern und zwei Halbrundschrauben (Nr. 10 x ¾") an der montierten Halterung der Geschwindigkeitsplatte an, wie in Bild 39 dargestellt.

Für Maschinen ohne Kabine: Bündeln Sie die überschüssige Länge des Kabelbaums im Bereich unter der Kreuzhalterung der Scheinwerfer, wie in Bild 35 dargestellt. Verwenden Sie einen Kabelbinder, um das Kabelbündel zu befestigen.
Für diesen Arbeitsschritt erforderliche Teile:
| Steuerkabelbaum | 1 |
Beachten Sie die folgenden Abbildungen und Anweisungen zur Verlegung des Steuerkabelbaums.

Führen Sie den Kabelbaum durch die Plattformöffnung und entlang des Beleuchtungskabelbaums.
Verbinden Sie den mit TO ROAD LTS HARNESS (P06) beschrifteten Anschluss des Steuerungskabelbaums mit dem mit TO MAIN HARNESS (P03) beschrifteten Anschluss des Scheinwerferkabelbaums.
Verbinden Sie den mit TO POWER HARNESS (P05) beschrifteten Anschluss des Steuerungskabelbaums mit dem mit POD CONTROL HARNESS (P04) beschrifteten Anschluss des Stromversorgungskabelbaums.

Verbinden Sie die mit HORN (J01, J02) gekennzeichneten Steuerkabelbaumanschlüsse mit der Hupe (Bild 42).

Für diesen Arbeitsschritt erforderliche Teile:
| Typenschild | 1 |
| Typenschild Klebeband | 1 |
Stanzen Sie die Seriennummer in den Rahmen.
Die Schriftgröße der Schlagzahlen muss 7 mm oder größer sein.
Stanzen Sie die entsprechende Informationen in das Typenschild:
Wischen Sie die Unterseite des Rahmens und des Typenschilds mit einem in Alkohol getränkten Tuch ab (Bild 43).

Bringen Sie das Klebeband auf das Typenschild an.
Befestigen Sie das Typenschild am Rahmen (Bild 44).
Verwenden Sie die in Bild 45 verwendeten Maßangaben.


Schließen Sie die Batterie an, siehe Abschnitt über die Wartung der Elektroanlage in der Bedienungsanleitung.