Εισαγωγή

Διαβάστε αυτές τις πληροφορίες προσεκτικά για να ενημερωθείτε για τη σωστή λειτουργία και συντήρηση του προϊόντος σας, καθώς και για την αποφυγή τραυματισμών και πρόκλησης ζημιών στο προϊόν. Είστε υπεύθυνοι για τη σωστή και ασφαλή λειτουργία του προϊόντος.

Επισκεφτείτε τη διεύθυνση www.Toro.com για περισσότερες πληροφορίες, όπως συμβουλές ασφαλείας, εκπαιδευτικό υλικό, πληροφορίες για παρελκόμενα ή για να βρείτε τον πλησιέστερο αντιπρόσωπο και να καταχωρίσετε το προϊόν σας.

Για σέρβις, γνήσια ανταλλακτικά Toro ή πρόσθετες πληροφορίες μπορείτε να επικοινωνείτε με έναν εξουσιοδοτημένο αντιπρόσωπο σέρβις ή την Εξυπηρέτηση Πελατών της Toro αναφέροντας τον αριθμό μοντέλου και τον σειριακό αριθμό του προϊόντος σας. Στο Σχήμα 1 παρουσιάζεται η θέση στην οποία θα βρείτε την ετικέτα με το μοντέλο και τον σειριακό αριθμό του προϊόντος. ναγράψτε τους αριθμούς στο παρεχόμενο πεδίο.

g353404

Στο παρόν εγχειρίδιο προσδιορίζονται οι πιθανοί κίνδυνοι και παρατίθενται μηνύματα ασφάλειας. Τα μηνύματα αυτά αναγνωρίζονται από το προειδοποιητικό σύμβολο (Σχήμα 2), το οποίο δηλώνει έναν κίνδυνο που ενδέχεται να προκαλέσει σοβαρό τραυματισμό ή θάνατο εάν δεν ληφθούν οι συνιστώμενες προφυλάξεις.

g000502

Στο παρόν εγχειρίδιο χρησιμοποιούνται οι εξής 2 λέξεις για την επισήμανση συγκεκριμένων πληροφοριών. Η λέξη Σημαντικό εφιστά την προσοχή σε σημαντικές πληροφορίες μηχανολογικού ενδιαφέροντος και η λέξη Σημείωση υπογραμμίζει πληροφορίες γενικού ενδιαφέροντος που χρήζουν ιδιαίτερης προσοχής.

Προτού εγκαταστήσετε και θέσετε σε λειτουργία αυτό το παρελκόμενο, ανατρέξτε στο Εγχειρίδιο Χειριστή για πληροφορίες σχετικά με την ασφάλεια.

Ασφάλεια

Αυτοκόλλητα ασφαλείας και οδηγιών

Graphic

Οι ετικέτες προειδοποίησης και οδηγιών ασφάλειας είναι εύκολα αναγνώσιμες από τον χειριστή και βρίσκονται κοντά σε κάθε πηγή δυνητικού κινδύνου. ντικαθιστάτε τις τυχόν φθαρμένες ή αποκολλημένες ετικέτες.

decal106-5517

Εγκατάσταση

Για μεγαλύτερη απόδοση έλξης, μπορεί να προστεθεί το κιτ αντίβαρων (100-6442) στην εμπρός πλευρά του μηχανήματος.

Note: Εάν το μηχάνημα διαθέτει εμπρόσθιο σύστημα ανύψωσης ή εκχιονιστικό, το κιτ αντίβαρων δεν θα εφαρμόζει λόγω φυσικής παρεμβολής.

Στερέωση του κυλίνδρου αερισμού

Εξαρτήματα που απαιτούνται για αυτή τη διαδικασία:

Συγκρότημα κυλίνδρου αερισμού1

Note: Καθορίστε την αριστερή και δεξιά πλευρά του μηχανήματος από την κανονική θέση λειτουργίας.

  1. φαιρέστε οποιοδήποτε παρελκόμενο από το πίσω μέρος του μηχανήματος.

  2. Μετακινήστε προς τα πίσω τον ελκυστήρα ώστε να πάρει θέση μπροστά από τον προσαρμογέα του παρελκομένου. Χαμηλώστε τον προσαρμογέα του ελκυστήρα.

    Note: εβαιωθείτε ότι ο μοχλός ασφάλισης είναι στραμμένος προς τα αριστερά (θέση ξεκλειδώματος), όπως φαίνεται από το πίσω μέρος του μηχανήματος (Σχήμα 3).

    g003781
  3. νεβάστε τον προσαρμογέα του ελκυστήρα μέσα στον προσαρμογέα του παρελκομένου.

  4. Περιστρέψτε τον μοχλό ασφάλισης προς τα δεξιά για να ασφαλίσει τους προσαρμογείς μεταξύ τους.

Προσαρμογή του συγκροτήματος μπράτσων

  1. φού έχετε στερεώσει και ασφαλίσει το παρελκόμενο στον ελκυστήρα, ανεβάστε το παρελκόμενο.

  2. Μετρήστε το διάκενο μεταξύ της άνω ροδέλας και του αποστάτη του συγκροτήματος μπράτσων στον προσαρμογέα παρελκομένου, όπως φαίνεται στο Σχήμα 4.

    Important: Το διάκενο μεταξύ ροδέλας και «πατούρας» πρέπει να είναι 1,5 έως 2,0 mm (0,060" έως 0,080").

    g353403

Ολοκλήρωση της εγκατάστασης

Προτού χρησιμοποιήσετε τον ισοπεδωτή, μελετήστε το παρακάτω υλικό και φυλάξτε το σε κατάλληλο μέρος:

  • Κατάλογος ανταλλακτικών

  • Οδηγίες εγκατάστασης

Χειρισμός

Έλεγχος και καθαρισμός του κυλίνδρου αερισμού

Όταν ολοκληρωθεί η εργασία του αερισμού, καθαρίστε σχολαστικά το μηχάνημα. Καθώς το συγκεκριμένο μηχάνημα χρησιμοποιείται κυρίως σε άμμο, η οποία δημιουργεί έντονη τριβή και φθορές, η άμμος πρέπει να ξεπλένεται μετά από κάθε χρήση. Εάν το μηχάνημα καθαρίζεται συχνά (προτού συσσωρευθεί και «στερεοποιηθεί» η άμμος), μπορείτε να το καθαρίζετε με τρεχούμενο νερό από λάστιχο, από το οποίο θα έχετε αφαιρέσει το «πιστόλι».

Important: Μη χρησιμοποιείτε νερό υπό πίεση για τον καθαρισμό του μηχανήματος. Η δέσμη υψηλής πίεσης μπορεί να σπρώξει την άμμο και άλλα υλικά σε ολισθαίνουσες επιφάνειες, όπου μπορεί να προκληθούν ισχυρή εκτριβή και φθορές.

Note: Εάν ο προσαρμογέας του παρελκομένου «κολλήσει» με τον προσαρμογέα του ελκυστήρα, τοποθετήστε έναν μικρό λοστό ή κατσαβίδι στην υποδοχή αποκόλλησης για να διαχωρίσετε τα εξαρτήματα.

g003783

Συμβουλές για το χειρισμό

  • Προτού ξεκινήσετε τον αερισμό με το παρελκόμενο, βρείτε έναν ελεύθερο χώρο και εξασκηθείτε στην εκκίνηση, την ακινητοποίηση, το ανέβασμα, το χαμήλωμα και τον αερισμό. Η εξάσκηση αυτή σας επιτρέπει να εξοικειωθείτε με τη λειτουργία και τον χειρισμό του κυλίνδρου αερισμού.

  • Διατηρείτε ευθεία πορεία κατά τον αερισμό. Μη στρίβετε όταν οι λεπίδες αερισμού βρίσκονται μέσα στο έδαφος.

  • Οδηγήστε τον ελκυστήρα με αργή, σταθερή ταχύτητα πορείας ώστε να πετύχετε ομοιόμορφο αερισμό.

  • Όταν φτάσετε στο τέλος του χλοοτάπητα (green), ανεβάστε τον κύλινδρο αερισμού προτού στρίψετε ή σταματήσετε. Ο κύλινδρος αερισμού πρέπει να είναι πλήρως ανεβασμένος προτού στρίψετε. Ελέγξτε τον χλοοτάπητα (green) για τυχόν εμπόδια, π.χ. κεφαλές ποτιστικών ή αντικείμενα που προεξέχουν, που θα υποστούν βλάβη ή θα προκαλέσουν φθορές στον κύλινδρο αερισμού.

  • Προσαρμόστε το βάθος διείσδυσης στο έδαφος ρυθμίζοντας τη βαλβίδα ανύψωσης/χαμηλώματος και συγκρίνοντάς την με τον δείκτη βάθους του κυλίνδρου αερισμού.

  • Για ρύθμιση ακριβείας του βάθους διείσδυσης στο έδαφος διατίθεται Κιτ Μεταβλητού νοίγματος.

Συντήρηση

Λίπανση/γρασάρισμα του προσαρμογέα του παρελκομένου

Εάν ο μοχλός ασφάλισης στον προσαρμογέα του παρελκομένου δεν κινείται ελεύθερα και εύκολα, απλώστε μια λεπτή στρώση γράσου στην περιοχή που φαίνεται στο Σχήμα 6.

g003731

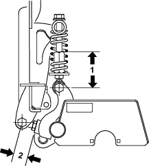
Ρύθμιση των ελατηρίων συμπίεσης και των σφαιρικών συνδέσμων

Τα ελατήρια και οι σφαιρικοί σύνδεσμοι ρυθμίζονται από το εργοστάσιο. Ωστόσο, εάν τοποθετηθούν νέα εξαρτήματα ή αφαιρεθούν εξαρτήματα για οποιονδήποτε λόγο, το μήκος των ελατηρίων και των σφαιρικών συνδέσμων πρέπει να ρυθμιστεί, όπως φαίνεται στο Σχήμα 7.

g556173