Introducción

Lea este manual detenidamente para aprender a utilizar y mantener correctamente su producto, y para evitar lesiones y daños al producto. Usted es responsable de utilizar el producto de forma correcta y segura.

Visite www.Toro.com para obtener más información, incluidos consejos de seguridad, materiales de formación, información sobre accesorios, ayuda para encontrar a un distribuidor o para registrar su producto.

Cuando necesite asistencia técnica, piezas genuinas Toro o información adicional, póngase en contacto con un Servicio Técnico Autorizado o con Asistencia al Cliente Toro, y tenga a mano los números de modelo y serie de su producto. Figura 1 identifica la ubicación de los números de modelo y serie en el producto. Escriba los números en el espacio provisto.

g353404

Este manual identifica peligros potenciales y contiene mensajes de seguridad identificados por el símbolo de alerta de seguridad (Figura 2), que señala un peligro que puede causar lesiones graves o la muerte si usted no sigue las precauciones recomendadas.

g000502

Este manual utiliza 2 palabras para resaltar información. Importante llama la atención sobre información mecánica especial, y Nota resalta información general que merece una atención especial.

Consulte la información de seguridad del Manual del operador antes de instalar y utilizar este accesorio.

Seguridad

Pegatinas de seguridad e instrucciones

Graphic

Las pegatinas de seguridad e instrucciones están a la vista del operador y están ubicadas cerca de cualquier zona de peligro potencial. Sustituya cualquier pegatina que esté dañada o que falte.

decal106-5517

Instalación

Para aumentar el rendimiento de la tracción, puede añadirse el Kit de contrapesos (100-6442) a la parte delantera de la máquina.

Note: Si la máquina está equipada con un implemento de elevación delantera o quitanieves, el kit de contrapesos no puede instalarse porque no cabe en el espacio disponible.

Montaje del aireador

Piezas necesarias en este paso:

Montaje del aireador1

Note: Los lados derecho e izquierdo de la máquina se determinan desde la posición normal del operador.

  1. Retire cualquier apero de la parte trasera de la máquina.

  2. Aproxime la parte trasera de la unidad de tracción al adaptador de aperos. Baje el adaptador de la unidad de tracción.

    Note: Asegúrese de que la palanca de bloqueo esté girada a la izquierda (posición desbloqueada), vista desde la parte trasera de la máquina (Figura 3).

    g003781
  3. Eleve el adaptador de la unidad de tracción hasta que se enganche en el adaptador de aperos.

  4. Gire la palanca de bloqueo a la derecha para conectar y bloquear los adaptadores.

Ajuste del conjunto de enganche

  1. Con el apero montado y bloqueado en la unidad de tracción, eleve el apero.

  2. Mida el espacio entre la arandela superior y el espaciador del conjunto de enganche del adaptador de accesorios, según se muestra en Figura 4.

    Important: El espacio debe ser de 1,5 a 2,0 mm.

    g353403

Realización del montaje

Antes de utilizar la niveladora, revise los siguientes materiales y guárdelos en un lugar apropiado:

  • Catálogo de piezas

  • Instrucciones de instalación

Operación

Inspección y limpieza del aireador

Cuando termine el trabajo de aireación, limpie la máquina a fondo. Puesto que esta máquina se utiliza principalmente en la arena, y la arena es extremadamente abrasiva, es necesario eliminar cualquier resto de arena después de cada uso. Si se limpia la máquina con frecuencia (antes de que la arena pueda apelmazarse), se puede limpiar con un chorro de agua de una manguera sin boquilla.

Important: No utilice agua a presión para limpiar la máquina; un chorro a alta presión podría llevar arena u otro material a las zonas de desgaste, donde actuaría como compuesto abrasivo.

Note: Si el adaptador del accesorio se adhiere al adaptador de la unidad de tracción, introduzca una palanca o un destornillador en la ranura para separar las piezas..

g003783

Consejos de operación

  • Antes de comenzar el trabajo de aireación con el accesorio, diríjase a una zona despejada y practique el arranque, la parada, la elevación, la bajada y la aireación. Este periodo de formación le permite familiarizarse con el rendimiento del aireador.

  • Mantenga una línea recta al airear. No gire cuando las cuchillas perforadoras estén en la tierra.

  • Accione la unidad de tracción a una velocidad lenta y constante para lograr un patrón uniforme de aireación.

  • Cuando se llegue al extremo del green, eleve el aireador antes de girar o de detenerse. El aireador debe elevarse por completo antes de realizar giros. Observe el green para determinar si hay algún obstáculo que se pueda dañar o que pueda dañar el aireador, como cabezales de aspersores u objetos que sobresalgan.

  • Ajuste la penetración en la tierra regulando la válvula de elevación/bajada y comparándola con el indicador de profundidad del aireador.

  • Se encuentra disponible un kit de orificio variable para ajustar con precisión la penetración en la tierra.

Mantenimiento

Engrase del adaptador de aperos

Si la palanca de bloqueo del adaptador de aperos no gira libremente, aplique una capa ligera de grasa a la zona marcada en Figura 6.

g003731

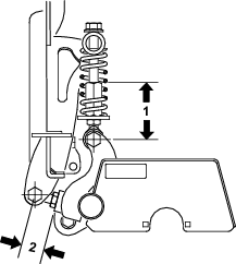
Ajuste de los muelles de compresión y las articulaciones esféricas

Los muelles y las articulaciones esféricas se ajustan de fábrica. Sin embargo, si se instalan piezas nuevas o se retiran los componentes por algún motivo, debe ajustarse la longitud del muelle y la articulación esférica, como se muestra en la Figura 7.

g556173