Johdanto

Lue nämä tiedot huolellisesti, jotta opit käyttämään ja huoltamaan laitetta asianmukaisesti sekä välttämään tapaturmia ja laitevaurioita. Olet itse vastuussa tuotteen asianmukaisesta ja turvallisesta käytöstä.

Osoitteessa www.Toro.com on lisätietoja, jos tarvitset esimerkiksi turvallisuuteen liittyviä vinkkejä, käyttökoulutukseen liittyviä materiaaleja, tietoja lisävarusteista tai lähimmästä jälleenmyyjästä tai jos haluat rekisteröidä tuotteesi.

Aina kun tarvitset huoltoa, alkuperäisiä Toro-varaosia tai lisätietoja, ota yhteys valtuutettuun huoltoliikkeeseen tai Toron asiakaspalveluun. Ota tällöin tuotteesi malli- ja sarjanumerot valmiiksi esiin. Kuva 1 näyttää laitteen malli- ja sarjanumeron sijainnin. Kirjoita numerot annettuun tilaan.

g353404

Tässä käyttöoppaassa esiintyvä varoitusmerkintä (Kuva 2) ilmaisee vaaratilannetta, josta saattaa olla seurauksena vakava tapaturma tai jopa kuolema, jos suositellut varotoimenpiteet laiminlyödään.

g000502

Tässä käyttöoppaassa käytetään kahta termiä tietojen korostamiseksi. Tärkeää kiinnittää huomiota mekaanisiin erikoistietoihin ja Huomautus korostaa erityishuomion ansaitsevia yleistietoja.

Katso turvallisuustiedot käyttöoppaasta ennen tämän lisälaitteen asentamista ja käyttöä.

Turvaohjeet

Turva- ja ohjetarrat

Graphic

Turva- ja ohjetarrat on sijoitettu hyvin näkyville paikoille mahdollisten vaara-alueiden lähettyville. Korvaa vioittuneet tai kadonneet tarrat uusilla.

decal106-5517

Asennus

Painosarja (100-6442) voidaan lisätä koneen etuosaan parantamaan pitoa.

Note: Jos koneeseen on asennettu etunosto- tai auralisälaite, painosarja ei sovi, koska laitteet osuvat toisiinsa.

Piikkirullan asennus

Vaiheeseen tarvittavat osat:

Piikkirullakokoonpano1

Note: Koneen vasen ja oikea puoli määritellään normaalista käyttöasennosta käsin.

  1. Irrota mahdollinen lisälaite koneen takaa.

  2. Peruuta ajoyksikkö paikalleen lisälaitteen sovittimen eteen. Laske ajoyksikön sovitin alas.

    Note: Varmista, että lukitusvipu on käännetty vasemmalle (auki) koneen takaosasta katsottuna (Kuva 3).

    g003781
  3. Nosta ajoyksikön sovitin lisälaitteen sovittimeen.

  4. Lukitse sovittimet yhteen kääntämällä lukitusvipu oikealle.

Tukikokoonpanon säätö

  1. Kun lisälaite on asennettu ja kiinnitetty ajoyksikköön, nosta lisälaite.

  2. Mittaa ylimmän aluslaatan ja lisälaitteen sovittimessa olevan tukikokoonpanon välikappaleen välinen rako kuvan mukaisesti (Kuva 4).

    Important: Aluslaatan ja olakkeen välisen raon tulee olla 1,5–2,0 mm.

    g353403

Käyttöönoton päättäminen

Ennen viimeistelyhöylän käyttöä tarkista seuraavat materiaalit ja säilytä ne sopivassa paikassa:

  • Osaluettelo

  • Asennusohjeet

Käyttö

Piikkirullan tarkastus ja puhdistus

Lisälaitteen käytön lopettamisen jälkeen kone on puhdistettava huolellisesti. Koska tätä konetta käytetään pääasiassa hiekalla ja hiekka on erittäin hankaavaa, hiekka on huuhdeltava pois jokaisen käytön jälkeen. Jos kone puhdistetaan säännöllisesti (ennen kuin hiekka ehtii paakkuuntua), se voidaan puhdistaa suihkuttamalla vettä letkulla, josta on irrotettu suutin.

Important: Älä puhdista konetta painepesurilla. Korkeapaineinen vesisuihku voi työntää hiekan tai muun materiaalin kuluville alueille, joita se voi hangata.

Note: Jos lisälaitteen sovitin juuttuu ajoyksikön sovittimeen, vapauta osat työntämällä sorkkarauta tai ruuviavain vääntöaukkoon.

g003783

Käyttövihjeitä

  • Ennen piikkirullalisälaitteen käyttöä sen käynnistystä, pysäytystä, nostoa, laskua ja ajoa on harjoiteltava esteettömällä harjoittelualueella. Tämän harjoitusjakson avulla voit tutustua piikkirullan toimintaan.

  • Aja piikkirullaa käyttäessäsi suoraan. Älä käänny terien ollessa maata vasten.

  • Käytä ajoyksikköä hitaalla, tasaisella nopeudella, jotta piikkien tekemästä kuviosta tulee yhtenäinen.

  • Kun saavut viheriön reunaan, nosta piikkirulla ennen kääntymistä tai pysähtymistä. Piikkirulla on nostettava kokonaan ennen kääntymistä. Tutustu viheriöön ennen ajoa ja varmista, että sillä ei ole sadettimia tai vastaavia esteitä, joita piikkirulla voi vahingoittaa tai jotka voivat vahingoittaa piikkirullaa.

  • Säädä läpäisysyvyyttä säätelemällä nosto-/laskuventtiiliä ja vertaamalla sitä piikkirullan syvyysmittariin.

  • Läpäisyä voidaan hienosäätää lisävarusteena saatavalla säätöaukkosarjalla.

Kunnossapito

Lisälaitteen sovittimen rasvaus

Jos lisälaitteen sovittimessa oleva lukitusvipu ei käänny vapaasti ja helposti, levitä ohut kerros rasvaa (Kuva 6).

g003731

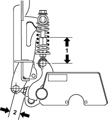
Painejousien ja pallonivelten säätö

Jouset ja pallonivelet säädetään tehtaalla. Jos uusia osia asennetaan tai osat joudutaan jostain syystä irrottamaan, jousen ja pallonivelen pituus on säädettävä; katso Kuva 7.

g556173