Inleiding

Lees deze informatie zorgvuldig door, zodat u weet hoe u dit product op de juiste wijze moet gebruiken en onderhouden en om letsel en schade aan de machine te voorkomen. U bent verantwoordelijk voor het juiste en veilige gebruik van de machine.

Ga naar www.toro.com voor meer informatie, inclusief veiligheidstips, instructiemateriaal, informatie over accessoires, hulp bij het vinden van een dealer of om uw product te registreren.

Als u service, originele Toro onderdelen of aanvullende informatie nodig hebt, kunt u contact opnemen met een erkende servicedealer of met de klantenservice van Toro. U dient hierbij altijd het modelnummer en het serienummer van het product te vermelden. De locatie van het plaatje met het modelnummer en het serienummer van het product is aangegeven op Figuur 1. U kunt de nummers noteren in de ruimte hieronder.

g353404

Er worden in deze handleiding een aantal mogelijke gevaren en een aantal veiligheidsberichten genoemd met de volgende veiligheidssymbolen (Figuur 2), die duiden op een gevaarlijke situatie die ernstig of fataal lichamelijk letsel tot gevolg kan hebben als u de veiligheidsvoorschriften niet in acht neemt.

g000502

Er worden in deze handleiding twee woorden gebruikt om uw aandacht op bijzondere informatie te vestigen. Belangrijk attendeert u op bijzondere technische informatie en Opmerking duidt op algemene informatie die bijzondere aandacht verdient.

Raadpleeg de Gebruikershandleiding voor veiligheidsinstructies voordat u dit werktuig monteert en gebruikt.

Veiligheid

Veiligheids- en instructiestickers

Graphic

Veiligheidsstickers en veiligheidsinstructies zijn gemakkelijk zichtbaar voor de bestuurder en bevinden zich bij plaatsen waar gevaar kan ontstaan. Vervang alle beschadigde of ontbrekende stickers.

decal106-5517

Installatie

Voor extra tractie kan de gewichtenset (100-6442) worden toegevoegd aan de voorzijde van de machine.

Note: Als de machine is uitgerust met een fronthefwerktuig of een ploeg, kan de gewichtenset niet worden gemonteerd omdat de set en het werktuig elkaar fysiek zouden hinderen.

De spiker monteren

Benodigde onderdelen voor deze stap:

Spiker1

Note: Bepaal vanuit de normale bedieningspositie de linker- en rechterzijde van de machine.

  1. Verwijder werktuigen van de achterkant van de machine.

  2. Rij de tractie-eenheid achteruit en plaats deze tegenover de werktuigkoppeling. Breng de koppeling van de tractie-eenheid omlaag.

    Note: Zorg ervoor dat de sluithendel naar links is gedraaid (onvergrendelde stand), gezien vanaf de achterkant van de machine (Figuur 3).

    g003781
  3. Breng de koppeling van de tractie-eenheid omhoog en zet deze in de werktuigkoppeling.

  4. Draai de sluithendel naar rechts om de koppelingen aan elkaar vast te zetten.

Het koppelingmechanisme afstellen

  1. Monteer het werktuig op de tractie-eenheid en breng het werktuig omhoog.

  2. Meet de afstand tussen de bovenste ring en het afstandsstuk in het verbindingmechanisme op de werktuigkoppeling zoals wordt getoond in Figuur 4.

    Important: De afstand tussen de ring en de kraag moet 1,5 tot 2,0 mm zijn.

    g353403

De instelling voltooien

Voordat u de egalisatieschuif gebruikt, moet u de volgende materialen doornemen en bewaren op een geschikte plaats:

  • Onderdelencatalogus

  • Montage-instructies

Gebruiksaanwijzing

De spiker controleren en reinigen

Als u klaar bent met spiken, moet u de machine grondig reinigen. Omdat de machine voornamelijk in zand wordt gebruikt en zand een zeer schurende werking heeft, moet u het zand na elk gebruik afspoelen. Als de machine regelmatig wordt gereinigd (voordat het zand de kans krijgt om aan te koeken), kan dit gebeuren met een waterstraal uit een slang waarvan de spuitmond is verwijderd.

Important: Gebruik geen hogedrukreiniger om de machine te reinigen. Als u een hogedrukstraal gebruikt, kan het zand in slijtdelen worden gespoten, waar het een schurende werking kan uitoefenen.

Note: Als de werktuigkoppeling blijft vastzitten aan de koppeling van de tractie-eenheid, moet u een koevoet/schroevendraaier in de sleuf steken om beide delen van elkaar los te maken.

g003783

Tips voor bediening en gebruik

  • Voordat u begint te spiken met het werktuig, moet u een open gebied vinden en starten, stoppen, omhoogbrengen, omlaagbrengen en spiken oefenen. Tijdens deze oefenperiode kunt u vertrouwd raken met de prestaties van de spiker.

  • Spiken moet u altijd in een rechte lijn doen. Maak geen bocht met de spikingmessen in de grond.

  • Bedien de tractie-eenheid met een trage, constante rijsnelheid om een uniform spikingpatroon te bekomen.

  • Als u de rand van de green bereikt, moet u de spiker omhoogbrengen voordat u draait of stopt. De spiker moet in de hoogste stand staan als u een bocht begint te maken. Onderzoek de green op obstakels die kunnen worden beschadigd of die zelf de spiker kunnen beschadigen, zoals sproeierkoppen en uitstekende voorwerpen.

  • Stel de werkdiepte in door de klep voor omhoogbrengen/omlaagbrengen te regelen en dit te vergelijken met de dieptemaat van de spiker.

  • Een set met regelbare opening is verkrijgbaar om de werkdiepte fijn af te stellen.

Onderhoud

De werktuigkoppeling smeren

Als de sluithendel op de werktuigkoppeling niet onbelemmerd en soepel draait, moet u een dun laagje vet aanbrengen op de plaats die wordt getoond in Figuur 6.

g003731

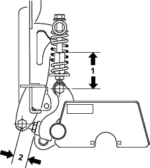
De drukveren en kogelverbindingen afstellen

De veren en kogelverbindingen worden in de fabriek afgesteld. Indien er echter nieuwe onderdelen worden gemonteerd of indien de onderdelen om een bepaalde reden worden verwijderd, moet de veer- en kogelverbindinglengte worden afgesteld zoals getoond in Figuur 7.

g556173