この説明書を読んで製品の運転方法や整備方法を十分に理解し、他人に迷惑の掛からないまた適切な方法でご使用ください。この製品を適切かつ安全に使用するのはお客様の責任です。
安全上の注意事項、取扱い説明書、アクセサリについての資料、代理店の検索、製品のご登録などについては www.Toro.com へ。
整備について、またToro純正部品についてなど、分からないことはお気軽に弊社代理店またはToroカスタマーサービスにおたずねください。お問い合わせの際には、必ず製品のモデル番号とシリアル番号をお知らせください。図 1 にモデル番号とシリアル番号の表示位置を示します。いまのうちに番号をメモしておきましょう。

この説明書では、危険についての注意を促すための警告記号(図 2)を使用しております。これらは死亡事故を含む重大な人身事故を防止するための注意ですから、必ずお守りください。

この他に2つの言葉で注意を促しています。重要「重要」は製品の構造などについての注意点を、注はその他の注意点を表しています。
このアタッチメントを取り付けて操作する前に、安全情報に関して操作マニュアルを参照してください。
![]() |
セーフティラベルや指示は危険な個所のオペレーターから見やすい部分に貼付してあります。破損したりはがれたりした場合は新しいラベルを貼り直してください。 |

牽引性能を高めるために、マシン前面にウェイトキット (100-6442) を追加できます。
Note: マシンにフロントリフトまたはプラウアタッチメントが取り付けられている場合は、物理的に干渉するためウェイトキットは取付られません。
この作業に必要なパーツ
| スパイカアセンブリ | 1 |
Note: 前後左右は運転位置からみた方向です。
機体後部についているアタッチメントをすべて外す。
トラクションユニットを後退させてアタッチメントのアダプタの正面に停車する。トラクションユニットのアダプタを下降させる。
Note: ロックレバーが車体後ろから見て左側(解除位置)にセットされていることを確認する(図 3)。

トラクションユニットのアダプタを上昇させてアタッチメント・アダプタに嵌め合わせる。
ロックレバーを右側に倒して、アダプタ同士をロックする。
アタッチメントをトラクションユニットに固定した状態で、上昇させる。
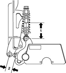
図 4に示すように、上面のワッシャからアタッチメント・アダプタのリンク・アセンブリのスペーサまでの距離を測る。
Important: ワッシャとショルダ(肩)とのすき間が1.5-2.2 mm あれば適正です。

仕上げグレーダの使用を始める前に、以下の資料をご覧になり、閲覧後は適切な場所に保管してください:
パーツカタログ
取り付け手順書
スパイキング作業が終了したら、機体を十分に清掃してください。この装置は砂地で使用することを目的としたものですが、砂は極めて研削性の高い物質ですから、作業後はなるべく完全に砂を落としておくことが大切です。作業ごとに洗車すれば(砂が乾いてこびりついてしまう前)、通常のホース洗浄で十分にきれいになります。
Important: 圧力洗浄機での洗浄はしないでください;強い水圧によって砂粒などが機械の内部に押し込まれ、異常な摩耗が発生する可能性があります。
Note: アタッチメントのアダプタがトラクションユニットのアダプタに引っかかってしまった時は、バールやドライバーなどをスロットに差し込んで外してください。

実際にスパイキング作業を行う前に、広い場所で練習してください。走行、停止、アタッチメントの上昇と下降、そしてスパイキングの練習をしてください。このトレーニング期間を通して、スパイカのパフォーマンスに慣れることができます。
スパイキングは直線状に行ってください。スパイキングしながらの旋回は控えてください。
走行速度は低速で、一定に維持するのが均一なスパイキングのコツです。
グリーンのエッジまで来たらスパイカを上昇させ、その後に旋回や停止を行ってください。旋回する時は、スパイカを完全に上昇させてください。スプリンクラーやマーカーなどの障害物の有無を最初に確認してください。スパイキングによって破壊されたり、スパイカが破損したりする原因となります。
スパイカの食い込み深さは昇降バルブで調整します。スパイカについている深さゲージを見ながら調整してください。
深さ調整用の可変オリフィスキットが発売されています。