Innledning

Les denne håndboken nøye, slik at du lærer å bruke og vedlikeholde produktet på riktig måte og unngår person- eller produktskade. Du har ansvar for å bruke produktet på en riktig og sikker måte.

Gå til www.Toro.com for mer informasjon, inkludert sikkerhetstips, opplæringsmateriale og informasjon om tilbehør, hjelp til å finne en forhandler eller for å registrere produktet ditt.

Hvis maskinen må repareres eller du trenger originale Toro-deler eller mer informasjon, kan du kontakte et autorisert forhandlerverksted eller Toros kundeserviceavdeling. Ha modell- og serienummer for hånden når du tar kontakt. Figur 1 viser hvor på produktet modell- og serienumrene er plassert. Skriv inn numrene i de tomme feltene.

g353404

Denne brukerhåndboken identifiserer potensielle farer og har sikkerhetsmeldinger som identifiseres ved hjelp av sikkerhetsvarselssymbolet (Figur 2) som advarer om farer som kan føre til alvorlig personskade eller død hvis du ikke følger anbefalte forholdsregler.

g000502

I tillegg brukes to ord for å utheve informasjon. Viktig gjør oppmerksom på spesiell mekanisk informasjon og Obs henviser til generell informasjon som er verdt å huske.

Se brukerhåndboken for sikkerhetsinformasjon før du monterer og bruker dette tilbehøret.

Sikkerhet

Sikkerhets- og instruksjonsmerker

Graphic

Sikkerhetsmerker og -instruksjoner er lett synlige for føreren og er plassert i nærheten av alle områder som representerer en potensiell fare. Skift ut alle merker som er ødelagte eller mangler.

decal106-5517

Montering

For ekstra trekkraft kan vektsettet (100-6442) legges til på maskinens forside.

Note: Hvis maskinen er utstyrt med frontløft- eller plogtilbehør, vil tilbehøret være i veien slik at vektsettet ikke passer.

Montere piggeren

Deler som er nødvendige for dette trinnet:

Piggermontering1

Note: Angi hva som er høyre og venstre side på maskinen ved å stå i normal arbeidsstilling.

  1. Fjern alt tilbehør fra baksiden av maskinen.

  2. Beveg trekkenheten slik at den står foran tilbehørsadapteren. Senk trekkenhetsadapteren.

    Note: Pass på at låsespaken svinger mot venstre (ulåst stilling) som sett fra bak maskinen (Figur 3).

    g003781
  3. Løft trekkenhetsadapteren inn på tilbehørsadapteren.

  4. Sving låsespaken til høyre for å låse adapterne sammen.

Justere koblingssettet

  1. Når tilbehøret er montert og sikret på trekkenheten, løft tilbehøret.

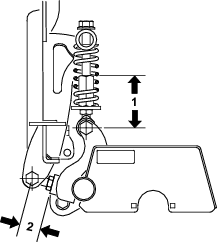
  2. Mål mellomrommet mellom den øvre skiven og avstandsstykket i koblingssettet på tilbehørsadapteren som vist i Figur 4.

    Important: Mellomrommet mellom skiven og ansatsen bør være mellom 1,5 og 2,2 mm.

    g353403

Fullføre oppsettet

Før du bruker skrapen for overflatebehandling må du gjennomgå følgende dokumenter og lagre dem på et passende sted:

  • Delekatalog

  • Monteringsinstruksjoner

Bruk

Inspisere og rengjøre piggeren

Når piggingen er fullført, må du rengjøre maskinen grundig. Siden denne maskinen primært brukes på sand, og sand er svært slipende, må sanden skylles av etter hvert bruk. Hvis maskinen rengjøres med jevne mellomrom (før sanden får sjansen til å størkne), kan den rengjøres med en dusj av vann fra en slange med munnstykket fjernet.

Important: Ikke bruk høytrykkspyler til å rengjøre maskinen. Vann med høyt trykk kan drive sand eller annet materiale inn i slitasjeområder, der det kan virke som et slipestoff.

Note: Hvis tilbehørsadapteren setter seg fast i trekkenhetsadapteren, før et brekkjern / en skrutrekker inn i åpningssporet for å koble delene fra hverandre.

g003783

Brukstips

  • Før du begynner å pigge med tilbehøret, må du finne et tomt område der du kan øve på å starte, stoppe, heve, senke og pigge. Denne øveperioden gjør at du blir kjent med ytelsen til piggeren.

  • Oppretthold en rett linje ved pigging. Ikke sving når piggene står i bakken.

  • Bruk trekkenheten i en langsom, konstant kjørehastighet for å oppnå et jevnt mønster.

  • Når greenkanten er nådd, må du heve piggeren før du svinger eller stopper. Piggeren må heves helt før du svinger. Vurder bruksområdet for å finne ut om det finnes noen hindringer som kan skades eller føre til skade på piggeren, for eksempel sprinklerhoder og utstikkende gjenstander.

  • Juster dybde for gjennomtrengning ved å regulere ventilseksjonen for løfting/senking og sammenligne den med piggerdybdemåleren.

  • Et variabelt åpningssett er tilgjengelig for finjustering av gjennomtrengningsdybde.

Vedlikehold

Smøre tilbehørsadapteren

Hvis låsespaken på tilbehørsadapteren ikke svinger fritt og lett, påfør et tynt lag med smørefett på området vist i Figur 6.

g003731

Justere kompresjonsfjærene og kuleleddene

Fjærene og kuleleddene justeres på fabrikken. Hvis nye deler monteres eller komponentene fjernes av en eller annen grunn, skal fjær- og kuleleddlengden justeres som vist i Figur 7.

g556173