Introduzione

Leggete attentamente queste informazioni al fine di utilizzare e mantenere correttamente il prodotto ed evitare infortuni e danni. Il proprietario è responsabile del corretto utilizzo del prodotto e della sicurezza.

Visitare il sito www.Toro.com per maggiori informazioni, compresi suggerimenti sulla sicurezza, materiali di formazione, informazioni sugli accessori, assistenza nella localizzazione di un rivenditore o per la registrazione del prodotto.

Per assistenza, ricambi originali Toro o ulteriori informazioni, rivolgersi a un distributore Toro autorizzato o a un centro assistenza Toro, avendo sempre a portata di mano il numero del modello e il numero di serie del prodotto. Il numero del modello e il numero di serie si trovano nella posizione illustrata nella Figura 1. Scrivete i numeri nello spazio previsto.

g353404

Il sistema di avvertimento adottato dal presente manuale identifica i pericoli potenziali e riporta messaggi di sicurezza, identificati dal simbolo di avvertimento (Figura 2), che segnala un pericolo in grado di provocare infortuni gravi o la morte se non si osservano le precauzioni raccomandate.

g000502

Per evidenziare le informazioni vengono utilizzate due parole. Importante indica informazioni di carattere meccanico di particolare importanza e Nota evidenzia informazioni generali di particolare rilevanza.

Fate riferimento al Manuale dell’operatore per le indicazioni relative alla sicurezza prima di montare e utilizzare l’attrezzo.

Sicurezza

Adesivi di sicurezza e informativi

Graphic

Gli adesivi di sicurezza e di istruzione sono chiaramente visibili e sono affissi accanto a zone particolarmente pericolose. Sostituite eventuali adesivi danneggiati o mancanti.

decal106-5517

Installazione

Per una migliore trazione, è possibile aggiungere il kit zavorra (100-6442) alla parte anteriore della macchina.

Note: Se sulla macchina è installato un attrezzo anteriore per il sollevamento o spazzaneve, non sarà possibile installare il kit zavorra per via di impedimenti fisici.

Montaggio dell’arieggiatore

Parti necessarie per questa operazione:

Gruppo arieggiatore1

Note: Stabilite i lati sinistro e destro della macchina dalla normale posizione di guida.

  1. Staccate eventuali accessori dal retro della macchina.

  2. Fate indietreggiare il trattorino finché non si trova davanti all'adattatore per accessori. Abbassate l'adattatore del trattorino.

    Note: Assicuratevi che la leva di bloccaggio sia ruotata a sinistra (posizione di sblocco) guardando dalla parte posteriore della macchina (Figura 3).

    g003781
  3. Sollevare l'adattatore del trattore nell'adattatore dell'attrezzo.

  4. Girate la leva di bloccaggio verso destra per bloccare insieme gli adattatori.

Regolazione del gruppo di connessione

  1. Montate l'attrezzo e fissarlo sul trattorino, quindi sollevare l'attrezzo.

  2. Misurate lo spazio tra la rondella superiore e il distanziale del gruppo di connessione sull'adattatore dell'attrezzo, come illustrato in Figura 4.

    Important: Lo spazio tra la rondella e lo spallamento deve essere compreso tra 1,5 mm e 2 mm.

    g353403

Completamento della configurazione

Prima di utilizzare la livellatrice, consultate i materiali elencati di seguito e conservateli in un luogo idoneo.

  • Catalogo dei pezzi

  • Istruzioni per l’installazione

Funzionamento

Ispezione e pulizia dell’arieggiatore

Al termine dell’operazione di arieggiatura, pulite la macchina accuratamente. Dal momento che la macchina viene utilizzata principalmente sulla sabbia e che la sabbia è molto abrasiva, lavatela via ogni volta che terminate di utilizzare la macchina. Se la macchina viene pulita spesso (prima che la sabbia si indurisca), potete lavarla con un getto d'acqua da una canna da giardino priva di ugello.

Important: Non usate acqua pressurizzata per pulire la macchina; il vapore ad alta pressione potrebbe introdurre sabbia o altri materiali nelle aree soggette ad usura, che potrebbero agire come abrasivi.

Note: Se l'adattatore dell'attrezzo dovesse bloccarsi sull'adattatore del trattore, inserite una barra o un cacciavite nell'apposita fessura per sbloccare le parti.

g003783

Suggerimenti

  • Prima di iniziare l’operazione di arieggiatura con l’attrezzo, trovate un’area sgombra ed esercitatevi ad avviare, arrestare, sollevare, abbassare e arieggiare. Questo periodo di pratica vi aiuterà a prendere confidenza con le prestazioni dell'arieggiatore.

  • Mantenete una linea retta durante l’arieggiatura. Non sterzate con le lame di arieggiatura nel terreno.

  • Utilizzate il trattorino a una velocità di avanzamento lenta e costante, per ottenere un profilo di arieggiatura uniforme.

  • Una volta raggiunto il bordo del green, sollevate l’arieggiatore prima di sterzare o fermarvi. L’arieggiatore deve essere sollevato completamente prima di sterzare. Ispezionate il green per determinare se vi sono eventuali ostacoli che possano subire danni o danneggiare l’arieggiatore, come teste di irrigazione e oggetti sporgenti.

  • Regolate la penetrazione nel terreno regolando la valvola di sollevamento/abbassamento e confrontandola con il misuratore della profondità dell’arieggiatore.

  • È disponibile un kit orifizi variabili per la regolazione fine della penetrazione nel terreno.

Manutenzione

Lubrificazione dell'adattatore per accessori

Se la leva di bloccaggio sull'adattatore per accessori non gira agevolmente e senza attrito, spalmate un velo di grasso sulla zona illustrata nella Figura 6.

g003731

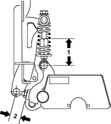
Regolazione delle molle di compressione e dei giunti a sfera

Le molle e i giunti a sfera sono regolati in fabbrica. Tuttavia, se vengono montati nuovi componenti o, per qualche motivo, ne vengono rimossi altri, la lunghezza della molla e del giunto a sfera deve essere regolata come mostrato nella Figura 7.

g556173