Einführung

Lesen Sie diese Informationen sorgfältig durch, um sich mit dem ordnungsgemäßen Einsatz und der Wartung des Geräts vertraut zu machen und Verletzungen und eine Beschädigung des Geräts zu vermeiden. Sie tragen die Verantwortung für einen ordnungsgemäßen und sicheren Einsatz des Geräts.

Besuchen Sie www.toro.com hinsichtlich Sicherheitstipps, Schulungsunterlagen, Zubehörinformationen, Standort eines Händlers oder Registrierung des Produkts.

Wenden Sie sich an Ihren autorisierten Service-Vertragshändler oder Kundendienst, wenn Sie eine Serviceleistung, Toro Originalersatzteile oder zusätzliche Informationen benötigen. Halten Sie hierfür die Modell- und Seriennummern Ihres Produkts griffbereit. In Bild 1 ist angegeben, wo an dem Produkt die Modell- und die Seriennummer angebracht sind. Tragen Sie hier die Modell- und Seriennummern des Geräts ein.

g353404

In dieser Anleitung werden potenzielle Gefahren angeführt, und Sicherheitshinweise werden vom Sicherheitswarnsymbol (Bild 2) gekennzeichnet. Dieses Warnsymbol weist auf eine Gefahr hin, die zu schweren oder tödlichen Verletzungen führen kann, wenn Sie die empfohlenen Sicherheitsvorkehrungen nicht einhalten.

g000502

In dieser Anleitung werden zwei Begriffe zur Hervorhebung von Informationen verwendet. Wichtig weist auf spezielle mechanische Informationen hin, und Hinweis hebt allgemeine Informationen hervor, die Ihre besondere Beachtung verdienen.

Lesen Sie die Sicherheitsinformationen in der Betriebsanleitung, bevor Sie dieses Anbaugerät anbauen und betreiben.

Sicherheit

Sicherheits- und Bedienungsschilder

Graphic

Die Sicherheits- und Bedienungsaufkleber sind für den Bediener gut sichtbar und befinden sich in der Nähe der möglichen Gefahrenbereiche. Tauschen Sie beschädigte oder verloren gegangene Aufkleber aus.

decal106-5517

Installation

Für zusätzliche Traktion kann das Ballastkit (100-6442) an der Vorderseite der Maschine angebracht werden.

Note: Wenn die Maschine mit einem Fronthub- oder einem Schneepfluganbaugerät ausgestattet ist, kann das Ballastkit aufgrund physischer Beeinträchtigungen nicht verwendet werden.

Montage des Rasenlüfters

Für diesen Arbeitsschritt erforderliche Teile:

Rasenlüfter-Baugruppe1

Note: Bestimmen Sie die linke und rechte Seite der Maschine anhand der normalen Sitz- und Bedienerposition.

  1. Nehmen Sie alle Anbaugeräte hinten von der Maschine ab.

  2. Fahren Sie mit der Zugmaschine rückwärts vor den Anbaugerätadapter. Senken Sie den Anbaugerätadapter ab.

    Note: Stellen Sie sicher, dass der Sperrhebel nach links (in die entriegelte Stellung) gedreht ist, vom Heck der Maschine aus gesehen (Bild 3).

    g003781
  3. Heben Sie den Adapter der Zugmachine auf den Anbaugerätadapter.

  4. Drehen Sie den Sperrhebel nach rechts, um die Adapter zusammen zu verriegeln.

Einstellen des Kettenglieds

  1. Wenn das Anbaugerät montiert und an der Zugmaschine befestigt ist, heben Sie das Anbaugerät an.

  2. Messen Sie den Abstand zwischen der oberen Scheibe und dem Distanzstück im Anschluss am Anbaugerätadapter, siehe Bild 4.

    Important: Der Abstand zwischen der Scheibe und der Schulter sollte 1,5 bis 2,2 mm betragen.

    g353403

Abschließen der Einrichtung

Lesen Sie vor der Inbetriebnahme des Finish-Graders die folgenden Dokumente durch und bewahren Sie diese an einem geeigneten Ort auf:

  • Ersatzteilkatalog

  • Montageanleitung

Betrieb

Prüfen und Reinigen des Rasenlüfters

Reinigen Sie das Gerät nach Beendigung der Rasenbelüftung gründlich. Da diese Maschine hauptsächlich im Sand eingesetzt wird, der einen hohen Abrieb hat, sollten Sie den Sand nach jedem Einsatz abwaschen. Wenn Sie die Maschine oft reinigen (bevor der Sand verkrusten kann), können Sie einen Wasserschlauch ohne Düse verwenden.

Important: Verwenden Sie kein unter Druck stehendes Wasser zum Reinigen der Maschine; ein Hochdruckstrahl könnte Sand oder anderes Material in die Verschleißbereiche treiben, wo es als Schleifkörper wirken könnte.

Note: Wenn der Adapter für das Anbaugerät am Adapter der Zugmaschine feststeckt, stechen Sie einen Schraubenzieher oder eine Brechstange in den Schlitz, um die Teile zu trennen.

g003783

Betriebshinweise

  • Bevor Sie mit dem Belüften des Rasens mit dem Anbaugerät beginnen, suchen Sie einen freien Bereich und üben Sie das Starten, Stoppen, Anheben, Absenken und Belüften. Diese Übungszeit ermöglicht es Ihnen, sich mit der Leistung des Rasenlüfters vertraut zu machen.

  • Halten Sie beim Belüften des Rasens eine gerade Fahrtrichtung ein. Wenden Sie nicht, wenn die Lüftermesser im Boden stecken.

  • Fahren Sie die Zugmaschine mit einer langsamen, konstanten Fahrgeschwindigkeit, um ein gleichmäßiges Belüftungsmuster zu erreichen.

  • Wenn der Rand des Grüns erreicht ist, heben Sie den Rasenlüfter vor dem Wenden oder Anhalten an. Der Rasenlüfter muss vor dem Wenden vollständig angehoben werden. Verschaffen Sie sich einen Überblick über das Grün, um festzustellen, ob es Hindernisse gibt, die den Rasenlüfter beschädigen oder zu Beschädigungen anderer Gegenstände führen können, wie z. B. Sprinklerköpfe und hervorstehende Gegenstände.

  • Stellen Sie die Bodendurchdringung ein, indem Sie das Hebe-/Senkventil regulieren und mit dem Tiefenmesser des Rasenlüfters vergleichen.

  • Für die Feineinstellung der Bodendurchdringung ist ein Kit mit variablen Öffnungen erhältlich.

Wartung

Schmieren des Anbaugerätadapters

Wenn sich der Sperrhebel am Anbaugerätadapter nicht ungehindert und leicht drehen lässt, fetten Sie den in Bild 6 markierten Bereich mit etwas Schmiermittel ein.

g003731

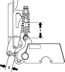
Einstellen der Druckfedern und Kugelgelenke

Kugelgelenk und Druckfedern sind werksseitig eingestellt. Werden jedoch neue Teile eingebaut oder die Komponenten aus irgendeinem Grund entfernt, sollten die Feder- und Kugelgelenklänge angepasst werden, wie in Bild 7 dargestellt.

g556173