Introdução

Leia estas informações com atenção para saber como operar e realizar a manutenção adequada do produto, além de evitar lesões e danos ao produto. A utilização correta e segura do produto é da exclusiva responsabilidade do utilizador.

Visite www.Toro.com para mais informações, incluindo sugestões de segurança, materiais de formação, informações sobre acessórios, obter ajuda a localizar um representante ou para registar o seu produto.

Sempre que necessitar de assistência, peças genuínas Toro ou informações adicionais, entre em contacto com um representante de assistência autorizado ou com o serviço de assistência Toro, indicando os números de modelo e de série do produto. Figura 1 identifica a localização dos números de série e de modelo do produto. Escreva os números no espaço fornecido.

g353404

Este manual identifica potenciais perigos e tem mensagens de segurança identificadas pelo símbolo de alerta de segurança (Figura 2), que identifica perigos que podem provocar ferimentos graves ou mesmo a morte, se não respeitar as precauções recomendadas.

g000502

Neste manual são utilizadas duas palavras para destacar informações. A palavra Importante chama a atenção para informações mecânicas específicas e a palavra Observação destaca informações gerais que merecem atenção especial.

Consulte o Manual do utilizador para consultar as informações de segurança antes de instalar e utilizar este acessório.

Segurança

Autocolantes de segurança e de instruções

Graphic

Os autocolantes de segurança e de instruções são facilmente visíveis e situam-se próximo das zonas de potencial perigo. Substitua todos os autocolantes danificados ou em falta.

decal106-5517

Instalação

Para um desempenho superior da tração, o kit de pesos (100-6442) pode ser adicionado na dianteira da máquina.

Note: Se a máquina estiver equipada com um acessório de elevação dianteira ou de limpar neve, o kit de pesos não encaixará devido a interferência física.

Montagem do arranca-grampos

Peças necessárias para este passo:

Conjunto do arranca-grampos1

Note: Determine os lados direito e esquerdo da máquina a partir da posição normal de utilização.

  1. Retire qualquer acessório da parte posterior da máquina.

  2. Recue a unidade de tração para a posição à frente do adaptador de acessórios. Desça o adaptador da unidade de tração.

    Note: Verifique se a alavanca de bloqueio está inclinada para a esquerda (posição de desbloqueio) vista da parte de trás da máquina (Figura 3).

    g003781
  3. Erga o adaptador da unidade de tração até ao adaptador de acessórios.

  4. Aponte a alavanca de bloqueio para a direita para prender os adaptadores.

Ajuste do conjunto articulado

  1. Com o acessório montado e fixado na unidade de tração, suba o acessório.

  2. Meça a folga entre a anilha superior e o espaçador do conjunto articulado no adaptador de acessórios, como se indica na Figura 4.

    Important: A folga entre a anilha e o ombro deve ser entre 1,5 a 2 mm.

    g353403

Conclusão da configuração

Antes de operar o nivelador de acabamento, reveja os seguintes materiais e guarde-os num local adequado:

  • Catálogo de peças

  • Instruções de instalação

Funcionamento

Inspeção e limpeza do arranca-grampos

Quando o funcionamento do arranca-grampos estiver concluído, limpe cuidadosamente a máquina. Uma vez que a máquina é utilizada principalmente na areia e esta é extremamente abrasiva, a areia deve ser eliminada através de lavagem depois de cada utilização. Se a máquina for limpa frequentemente (antes de a areia ter oportunidade de acumular), pode ser lavada com água de uma mangueira sem bico.

Important: Não utilize água com pressão para limpar a máquina; um jato de água com pressão pode levar areia ou outro material para áreas de desgaste onde poderiam agir como composto de raspagem.

Note: Se o adaptador de acessórios ficar preso ao adaptador da unidade de tração, insira uma barra de apoio/uma chave de parafusos na ranhura de apoio para desencravar as peças..

g003783

Sugestões de utilização

  • Antes de iniciar o funcionamento do arranca-grampos com o acessório, encontre uma área desimpedida e pratique o arranque, paragem, elevação, descida e arranque de grampos. Este período de formação permite-lhe familiarizar-se com o desempenho do arranca-grampos.

  • Mantenha uma linha reta quando utilizar o arranca-grampos. Não curve quando as lâminas de paragem estiverem no solo.

  • Opere a unidade de tração a uma velocidade de deslocação lenta e constante para obter um padrão de arranca-grampos uniforme.

  • Quando alcançar a extremidade do relvado, eleve o arranca-grampos antes de virar ou parar. O arranca-grampos deve estar completamente elevado antes de curvar. Observe o relvado para determinar se existe algum obstáculo que possa danificar os arranca-grampos como, por exemplo, cabeças de aspersores e outros objetos salientes.

  • Ajuste a penetração do solo regulando a válvula de elevação/descida e comparando-a com o medidor de profundidade do arranca-grampos.

  • Está disponível um kit de orifício variável para ajuste fino da penetração do solo.

Manutenção

Lubrificação do adaptador de acessórios

Se a alavanca de bloqueio no adaptador de acessórios não se movimentar livre e facilmente, aplique uma leve camada de lubrificante na área indicada na Figura 6.

g003731

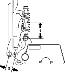
Ajuste das molas de compressão e rótulas esféricas

As molas e rótulas esféricas são ajustadas de fábrica. No entanto, se forem instaladas novas peças ou forem removidos componentes por qualquer motivo, o comprimento da mola e da rótula deve ser ajustado como se mostra na Figura 7.

g556173