Introduktion

Läs den här informationen noga så att du lär dig att använda och underhålla produkten på rätt sätt, och för att undvika person- och produktskador. Du är ansvarig för att produkten används på ett korrekt och säkert sätt.

Besök www.Toro.com för mer information, inklusive säkerhetsråd, utbildningsmaterial, information om tillbehör, hjälp med att hitta en återförsäljare eller för att registrera din produkt.

Kontakta en auktoriserad återförsäljare eller Toros kundservice och ha produktens modell- och serienummer till hands om du har behov av service, Toro originaldelar eller ytterligare information. Figur 1 visar var du finner produktens modell- och serienummer. Skriv in numren i det tomma utrymmet.

g353404

I den här bruksanvisningen anges potentiella risker och alla säkerhetsmeddelanden har markerats med en varningssymbol (Figur 2), som anger fara som kan leda till allvarliga personskador eller dödsfall om föreskrifterna inte följs.

g000502

Två ord används också i den här bruksanvisningen för att markera information. Viktigt anger speciell teknisk information och Observera anger allmän information värd att notera.

Se bruksanvisningen för säkerhetsinformation innan du installerar och använder detta tillbehör.

Säkerhet

Säkerhets- och instruktionsdekaler

Graphic

Säkerhetsdekalerna och säkerhetsinstruktionerna är fullt synliga för föraren och finns nära alla potentiella farozoner. Ersätt dekaler som har skadats eller saknas.

decal106-5517

Montering

För ytterligare hjuldrivning kan viktsatsen (100-6442) fästas framtill på maskinen.

Note: Om en främre lyft eller plog är monterade på maskinen kommer viktsatsen inte att rymmas eftersom delarna tar i varandra.

Montera stickluftaren

Delar som behövs till detta steg:

Stickluftarsats1

Note: Vänster och höger sida på maskinen är lika med förarens vänstra respektive högra sida vid normal körning.

  1. Om det sitter något redskap baktill på maskinen ska det tas bort.

  2. Backa fram traktorenheten till rätt läge framför redskapshållaren. Sänk ned traktorenhetens hållare.

    Note: Säkerställ att låsspaken är i det vänstra läget (olåst läge) sett från maskinens baksida (Figur 3).

    g003781
  3. Höj upp traktorenhetens hållare i redskapshållaren.

  4. Vrid låsspaken åt höger för att låsa ihop hållarna.

Justera länkenheten

  1. Montera och fäst redskapet på traktorenheten, och höj sedan upp det.

  2. Mät avståndet mellan den översta brickan och distansbrickan i länkenheten på redskapshållaren i enlighet med Figur 4.

    Important: Avståndet mellan brickan och klacken ska vara 1,5 till 2,2 mm.

    g353403

Slutföra monteringen

Innan du använder finputsningsschaktaren ska du läsa igenom följande dokument och spara dem på en lämplig plats:

  • Reservdelskatalogen

  • Monteringsanvisningarna

Körning

Inspektera och rengöra stickluftaren

Tvätta av maskinen ordentligt när du är färdig med stickluftningen. Eftersom maskinen främst används i sand, och sand har stor slipeffekt, bör du spola bort all sand efter varje användningstillfälle. Om du tvättar maskinen ofta (innan sanden hinner fastna och klumpa ihop sig) går det bra att tvätta med vattenstrålen från en slang som du tagit bort munstycket från.

Important: Använd inte trycksatt vatten för att rengöra maskinen. Ett högtrycksflöde kan leda till att sand eller annat material trycks in i slitpunkter, vilket kan resultera i slitage.

Note: Om redskapshållaren fastnar i hållaren på traktorenheten för du in ett bräckjärn eller en skruvmejsel i bändöppningen för att lossa delarna.

g003783

Arbetstips

  • Innan du börjar använda stickluftningstillbehöret letar du upp ett tomt område och övar på att starta, stanna, höja, sänka och sticklufta. Under denna träningsperiod har du möjlighet att bekanta dig med hur stickluftaren fungerar.

  • Håll en rak linje när du stickluftar. Sväng inte när luftarbladen är nere i marken.

  • Kör traktorenheten med långsam, jämn hastighet så att ett enhetligt stickmönster uppnås.

  • När du kommer fram till greenens kant höjer du stickluftarenheten innan du vänder eller stannar. Stickluftarenheten måste vara helt upphöjd innan du svänger. Inspektera greenen och avgör om det finns några hinder som kan skadas eller som kommer att skada stickluftarenheten, t.ex. sprinklerhuvuden och utstickande föremål.

  • Justera markgenomträngningen genom att reglera höjnings-/sänkningsventilen och jämföra den med stickluftarens djupmätare.

  • En sats för öppningsreglering finns tillgänglig för finjustering av markgenomträngningen.

Underhåll

Smörja redskapshållaren

Om det inte går att vrida låsspaken på redskapshållaren fritt och lätt, ska du stryka på ett tunt lager fett i det område som visas i Figur 6.

g003731

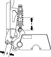
Justera kompressionsfjädrarna och kullederna

Fjädrarna och kullederna justeras på fabriken. Om nya delar monteras eller om komponenterna av någon anledning tas bort måste fjäder- och kulledslängden dock justeras i enlighet med Figur 7.

g556173