Indledning

Læs denne vejledning omhyggeligt, så du kan lære at betjene og vedligeholde produktet korrekt samt undgå person- og produktskade. Det er dit ansvar at betjene produktet korrekt og sikkert.

Besøg www.Toro.com for at få flere oplysninger, herunder sikkerhedstip, undervisningsmaterialer, oplysninger om tilbehør, hjælp til at finde en forhandler eller for at registrere dit produkt.

Når du har brug for service, originale Toro-dele eller yderligere oplysninger, bedes du kontakte en autoriseret serviceforhandler eller Toros kundeservice samt have produktets model- og serienummer parat. Figur 1 viser model- og serienummerets placering på produktet. Skriv numrene, hvor der er gjort plads til dette.

g353404

Denne betjeningsvejledning advarer dig om mulige farer og giver dig særlige sikkerhedsoplysninger ved hjælp af advarselssymbolet (Figur 2), der angiver en fare, som kan forårsage alvorlig personskade eller død, hvis du ikke følger de anbefalede forholdsregler.

g000502

Denne betjeningsvejledning bruger 2 ord til at fremhæve oplysninger. Vigtigt henleder opmærksomheden på særlige mekaniske oplysninger, og Bemærk angiver generel information, som det er værd at lægge særligt mærke til.

Se betjeningsvejledningen for at få sikkerhedsoplysninger, før du installerer og betjener dette redskab.

Sikkerhed

Sikkerheds- og instruktionsmærkater

Graphic

Sikkerheds- og instruktionsmærkaterne kan nemt ses af operatøren og er placeret tæt på potentielle risikoområder. Udskift eventuelle beskadigede eller manglende mærkater.

decal106-5517

Montering

Vægtsættet (100-6442) kan monteres foran på maskinen med henblik på bedre vejgreb.

Note: Hvis maskinen er udstyret med redskaber som en frontmonteret løfteenhed eller plov, kan vægtsættet ikke monteres på grund af fysiske begrænsninger.

Montering af pigtromlen

Dele, der skal bruges til dette trin:

Pigtromleenhed1

Note: Maskinens venstre og højre side ses fra den normale betjeningsposition.

  1. Fjern eventuelle redskaber fra bagenden af maskinen.

  2. Bak traktionsenheden, så den er placeret foran redskabsadapteren. Sænk trakationsenhedens adapter.

    Note: Sørg for, at låsegrebet er drejet mod venstre (ulåst position) set fra maskinens bagende (Figur 3).

    g003781
  3. Hæv traktionsenhedens adapter, så den forbindes med redskabsadapteren.

  4. Drej løftegrebet mod højre for at låse adapterne sammen.

Justering af forbindelsesledenheden

  1. Når redskabet er monteret og fastgjort på traktionsenheden, skal du hæve redskabet.

  2. Mål afstanden mellem den øverste spændeskive og afstandsbøsningen i forbindelsesledenheden på redskabsadapteren som vist i Figur 4.

    Important: Der skal være en afstand mellem skiven og ansatsen på 1,5 til 2,2 mm.

    g353403

Gennemførsel af opsætning

Inden finplaneringsenheden tages i brug, skal du gennemgå følgende materialer og gemme dem et sikkert sted:

  • Reservedelskatalog

  • Monteringsvejledning

Betjening

Eftersyn og rengøring af pigtromlen

Når du er færdig med pigtromlen, skal maskinen rengøres grundigt. Da maskinen primært bruges i sand, og sand er meget slibende, skal sandet skylles af efter hver brug. Hvis maskinen rengøres hyppigt (før sandet klumper sig sammen), kan den rengøres med en vandslange uden dyse.

Important: Brug ikke vand under tryk til at rengøre maskinen. Et højt vandtryk kan presse sand eller andet materiale ind slidområder, hvor det kan fungere som en slibende blanding.

Note: Hvis redskabsadapteren sætter sig fast til traktionsenhedens adapter, indsættes en skruetrækker eller lignende i vristerillen for at skille delene ad.

g003783

Tip vedrørende betjening

  • Før pigtromlen anvendes sammen med redskabet, skal du finde et tomt område, hvor du øver dig på at starte, stoppe, hæve, sænke og anvende pigtromlen. Denne øveperiode giver dig mulighed for at lære pigtromlens funktioner at kende.

  • Kør i en lige linje, når pigtromlen bruges. Drej ikke, mens pigtromlens skæreknive er i jorden.

  • Anvend traktionsenheden ved en lav, konstant kørselshastighed for at opnå et ensartet pigmønster.

  • Når kanten af greenen nås, skal pigtromlen hæves, før der drejes eller standses. Pigtromlen skal hæves helt, før der drejes. Undersøg greenen for at vurdere, om der er forhindringer, som kan blive beskadiget eller vil resultere i skader på pigtromlen, som f.eks. sprinklerhoveder eller genstande, der stikker ud.

  • Juster jordgennemtrængningen ved at regulere løfte-/sænkeventilen og sammenholde den med pigtromlens dybdemåler.

  • Der fås et variabelt målesæt til at finjustere jordgennemtrængningen.

Vedligeholdelse

Smøring af redskabsadapteren

Hvis låsegrebet på redskabsadapteren ikke drejer frit og nemt, kan et tyndt lag fedt påføres på det område, der er vist i Figur 6.

g003731

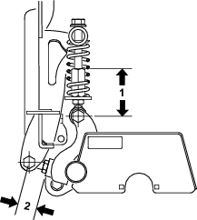
Justering af trykfjedrene og kugleleddene

Fjedrene og kugleleddene justeres på fabrikken. Hvis der monteres nye dele, eller hvis komponenterne fjernes af en eller anden årsag, skal fjeder- og kugleledslængden imidlertid justeres som vist i Figur 7.

g556173