Vzdrževanje
Note: Ugotovite, katera stran je leva in katera desna, gledano s položaja za upravljanje stroja.
Priporočeni urnik(i) vzdrževanja
| Intervali servisnega vzdrževanja | Postopek vzdrževanja |
|---|---|
| Po prvih 8 urah |
|
| Po vsaki uporabi |
|
| Vsakih 25 ur |
|
| Vsakih 100 ur |
|
Opozorilo
Če pozabite ključ v stikalu za ključ, lahko nekdo nenamerno zažene motor ter vas ali mimoidoče hudo poškoduje.
Pred začetkom vzdrževalnih del odstranite ključ in odklopite kabel iz vžigalne svečke. Kabel odstranite tako daleč, da ne more nenamerno priti v stik s svečko.
Opozorilo
Motorji se lahko med delovanjem zelo segrejejo. Zaradi stika z vročimi površinami lahko pride do hudih opeklin.
Počakajte, da se motorji (zlasti glušnik) ohladijo, preden se jih dotikate.
Opozorilo
Odpadki, kot so listje, trava ali grmičevje, se lahko vžgejo. Požar v območju motorja lahko povzroči telesne poškodbe in materialno škodo.
-
Poskrbite, da se na območju motorja in glušnika ne bodo nabirale smeti.
-
Pri odpiranju pokrova vreče bodite previdni, da ostanki ne padejo na območje motorja in glušnika.
-
Preden stroj shranite, počakajte, da se ohladi.
Priprava za vzdrževanje
Pred vzdrževanjem stroja izvedite naslednje korake:
-
Parkirajte stroj na ravni površini.
-
Izklopite priključno gred, premaknite ročice za nadzor vožnje v NEVTRALNI ZAKLENJENI položaj in vklopite parkirno zavoro.
-
Ugasnite motor in odstranite ključ.
-
Z okrova in zadnjega dela kosilnice očistite vse smeti, da boste lažje izvedli vzdrževanje.
Čiščenje rešetk pokrova
| Intervali servisnega vzdrževanja | Postopek vzdrževanja |
|---|---|
| Po vsaki uporabi |
|
-
Odprite pokrov zbiralnega sistema.
-
Očistite morebitne smeti z rešetke.
-
Zaprite pokrov zbiralnega sistema.
Čiščenje zbiralnega sistema in vreč
| Intervali servisnega vzdrževanja | Postopek vzdrževanja |
|---|---|
| Po vsaki uporabi |
|
-
Operite notranjost in zunanjost pokrova zbiralnega sistema, vreč in cevi ter spodnji del kosilnice.
Note: Za odstranjevanje umazanije uporabite blagi avtomobilski detergent.
-
Prepričajte se, da ste z vseh delov odstranili travo.
-
Ko boste oprali vse dele, počakajte, da se dobro posušijo.
Note: Ko bodo vsi deli nameščeni, zaženite stroj in ga pustite delovati eno minuto, da se sušenje pospeši.
Pregled jermena puhalnika
| Intervali servisnega vzdrževanja | Postopek vzdrževanja |
|---|---|
| Po prvih 8 urah |
|
| Vsakih 25 ur |
|
Preglejte jermene in preverite, če so na njih razpoke, razcefrani robovi, ožgani deli ali kakršne koli druge poškodbe. Zamenjajte poškodovane jermene.
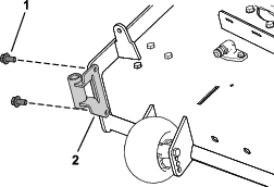
Zamenjava jermena puhalnika
-
Odstranite plastični pokrov jermena.
-
Potegnite vzmetni napenjalni kolut nazaj, da sprostite napetost jermena (Diagram 36).

-
Odstranite obstoječi jermen zbiralnega sistema z jermenice okrova kosilnice.
-
Z okrova kosilnice odstranite puhalnik.
-
Odstranite obstoječi jermen zbiralnega sistema z jermenic puhalnika.
-
Namestite novi jermen okrog jermenic puhalnika (Diagram 36).
-
Namestite puhalnik na oporo za puhalnik.
-
Namestite novi jermen okrog jermenice okrova kosilnice (Diagram 36).
-
Potegnite vzmetni napenjalni kolut nazaj in namestite jermen na vzmetni napenjalni kolut (Diagram 36).
Pregled zbiralnega sistema
| Intervali servisnega vzdrževanja | Postopek vzdrževanja |
|---|---|
| Po prvih 8 urah |
|
| Vsakih 100 ur |
|
-
Preverite zgornjo cev, spodnjo cev, pokrov zbiralnega sistema in sklop puhalnika.
Note: Če na teh delih opazite razpoke ali raztrganine, jih zamenjajte.
-
Preverite vreče, okvir zbiralnega sistema in rešetke.
Note: Zamenjajte morebitne razpokane ali polomljene dele.
-
Privijte vse matice in vijake.
Pregled rezil kosilnice
-
Rezila kosilnice preglejte redno in vsakič, ko rezilo zadene ob trd predmet.
-
Če so rezila zelo obrabljena ali poškodovana, namestite nova rezila; celotni postopek vzdrževanja rezil lahko najdete v Priročniku za upravljanje.





































