| Intervalo de mantenimiento y servicio | Procedimiento de mantenimiento |
|---|---|
| Cada vez que se utilice o diariamente |
|
Este cortacésped de asiento de cuchillas rotativas está diseñado para ser usado por operadores profesionales contratados. Está diseñado principalmente para segar césped bien mantenido en zonas verdes residenciales o comerciales. El uso de este producto para otros propósitos que los previstos podría ser peligroso para usted y para otras personas.
Lea este manual detenidamente para aprender a utilizar y mantener correctamente su producto, y para evitar lesiones y daños al producto. Usted es responsable de utilizar el producto de forma correcta y segura.
Visite www.Toro.com para buscar materiales de formación y seguridad o información sobre accesorios, para localizar un distribuidor o para registrar su producto.
Cuando necesite asistencia técnica, piezas genuinas Toro o información adicional, póngase en contacto con un Servicio Técnico Autorizado o con Asistencia al Cliente de Toro, y tenga a mano los números de modelo y serie de su producto. La Figura 1 identifica la ubicación de los números de serie y de modelo en el producto. Escriba los números en el espacio provisto.
Important: Con su dispositivo móvil, puede escanear el código QR (en su caso) de la pegatina del número de serie para acceder a información sobre la garantía, las piezas, y otra información sobre el producto.

Este manual utiliza 2 palabras para resaltar información. Importante llama la atención sobre información mecánica especial, y Nota resalta información general que merece una atención especial.
El símbolo de alerta de seguridad (Figura 2) aparece tanto en este manual como en la máquina para identificar mensajes de seguridad importantes que debe seguir para evitar accidentes. Este símbolo aparecerá junto a la palabra Danger (Peligro), Warning (Advertencia) o Caution (Cuidado).
Peligro: Indica una situación peligrosa inminente, que si no se evita, causará la muerte o lesiones graves.
Advertencia indica una situación potencialmente peligrosa que si no se evita, podría causar la muerte o lesiones graves.
Cuidado indica una situación potencialmente peligrosa que si no se evita, podría causar lesiones menores o moderadas.

El uso o la operación del motor en cualquier terreno forestal, de monte o cubierto de hierba a menos que el motor esté equipado con parachispas (conforme a la definición de la sección 4442) mantenido en buenas condiciones de funcionamiento, o haya sido fabricado, equipado y mantenido para la prevención de incendios, constituye una infracción de la legislación de California (California Public Resource Code Section 4442 o 4443).
El manual del propietario del motor adjunto ofrece información sobre las normas de la U.S. Environmental Protection Agency (EPA) y de la California Emission Control Regulation sobre sistemas de emisiones, mantenimiento y garantía. Puede solicitarse un manual nuevo al fabricante del motor.
Par bruto o neto: el par bruto o neto de este motor fue calculada por el fabricante del motor con arreglo a lo estipulado en el documento J1940 o J2723 de la Society of Automotive Engineers (Sociedad de Ingenieros del Automóvil - SAE). Debido a que el motor está configurado para cumplir los requisitos de seguridad, emisiones y operación, su potencia real en este tipo de cortacésped será significativamente menor. Consulte la información del fabricante del motor incluida con la máquina.
CALIFORNIA
Advertencia de la Propuesta 65
Los gases de escape de este producto contienen productos químicos que el Estado de California sabe que causan cáncer, defectos congénitos u otros peligros para la reproducción.
Los bornes, terminales y otros accesorios de la batería contienen plomo y compuestos de plomo, productos químicos reconocidos por el Estado de California como causantes de cáncer y daños reproductivos. Lávese las manos después de manejar el material.
El uso de este producto puede provocar la exposición a sustancias químicas que el Estado de California considera causantes de cáncer, defectos congénitos u otros trastornos del sistema reproductor.
Esta máquina ha sido diseñada con arreglo a lo estipulado en la norma ANSI B71.4-2017.
Este producto es capaz de amputar manos y pies y de lanzar objetos al aire. Siga siempre todas las instrucciones de seguridad con el fin de evitar lesiones personales graves o la muerte.
Lea y comprenda el contenido de este Manual del operador antes de arrancar el motor.
Mantenga alejadas a otras personas y a niños.
No deje que la máquina sea utilizada o mantenida por niños o por personas que no hayan recibido la formación adecuada. Sólo permita que manejen o mantengan la máquina personas responsables, formadas, familiarizadas con las instrucciones y físicamente capaces de utilizar la máquina.
Mantenga siempre la barra antivuelco en la posición de totalmente elevada y bloqueada, y utilice el cinturón de seguridad.
No utilice la máquina cerca de terraplenes, fosas, taludes, agua, u otros peligros, o en pendientes de más de 15°.
No coloque las manos o los pies cerca de los componentes en movimiento de la máquina.
No utilice la máquina sin que estén colocados y funcionen correctamente todos los protectores, interruptores de seguridad y otros dispositivos de protección o seguridad.
Pare el motor, retire la llave y espere a que se detengan todas las piezas en movimiento antes de abandonar el puesto del operador. Deje que se enfríe la máquina antes de hacer trabajos de ajuste, mantenimiento, repostaje, limpieza o almacenamiento.

![]() |
Las pegatinas de seguridad e instrucciones están a la vista del operador y están ubicadas cerca de cualquier zona de peligro potencial. Sustituya cualquier calcomanía que esté dañada o que falte. |






























Familiarícese con todos los controles antes de poner en marcha el motor y trabajar con la máquina.

Consulte la Guía de software si desea información detallada sobre la interfaz del operador que permite acceder a información, reiniciar contadores, modificar la configuración del sistema y solucionar problemas con el equipo.

La pantalla de información muestra información relacionada con la operación de la máquina; consulte la Guía de software si desea más información.
Los botones multifunción están situados en la parte inferior del panel. El icono que aparece en la pantalla de información encima de cada botón indica su función actual. Los botones permiten seleccionar la velocidad del motor y desplazarse por los menús del sistema.
Consulte la Guía de software para obtener más información.
El indicador LED de estado cambia de color para indicar el estado del sistema, y está situado en el lado derecho del panel. Durante el arranque, el LED se enciende primero en rojo, luego en naranja y por último en verde para verificar la funcionalidad.
Verde fijo – indica actividad normal
Rojo intermitente – indica que hay un fallo activo
Verde y naranja intermitente: – indica que es necesario un reinicio del embrague.
Consulte la Guía de software para obtener más información.
Si se produce algún error, se muestra un mensaje de error, el LED cambia a rojo, y suena la alarma audible como se indica a continuación:
Un sonido discontinuo rápido indica la presencia de errores críticos.
Un sonido discontinuo lento indica errores menos importantes, tales como un intervalo de mantenimiento obligatorio.
Note: Durante el arranque, la alarma suena brevemente para verificar su funcionalidad.
Consulte la Guía de software para obtener más información.
El horímetro registra el número de horas de operación de la máquina. Funciona cuando el motor está en marcha. Utilice el recuento de horas para programar el mantenimiento regular (Figura 6).
Las horas se muestran en la pantalla de Apagado del motor o en el menú del Contador de horas del motor.
Consulte la Guía de software para obtener más información.
El acelerador controla la velocidad del motor, y hay 3 velocidades: Máxima, Eficiente y Baja.
Consulte la Guía de software para obtener más información.
Presione el interruptor hacia atrás para elevar la carcasa central y plegar las carcasas laterales.
Presione el interruptor hacia adelante para bajar la carcasa central y desplegar las carcasas laterales.
El mando de control de las cuchillas (TDF) engrana y desengrana la transmisión de potencia a las cuchillas del cortacésped (Figura 5).
El indicador LCD aparece en la pantalla de información cuando el mando de la TDF está desengranado.
Note: Las máquinas equipadas con pantalla Horizon cuentan con una función de protección del embrague, que permite reducir automáticamente la velocidad del motor cuando se desengrana el mando de la TDF. Al engranar y desengranar el mando de la TDF, se cambia el ajuste del acelerador del motor entre el modo de SIEGA y el de TRANSPORTE.
Note: El sistema le permite arrancar la máquina con el mando de la TDF engranado, pero no se engranan las cuchillas. Para engranar la TDF es necesario reiniciar el mando de la TDF, poniéndolo primero en la posición de Desengranado y luego en Engranado.
Important: Debe desplegar las carcasas laterales antes de poder engranar la TDF.
La posición de BLOQUEO/PUNTO MUERTO se utiliza junto con el sistema de interruptores de seguridad para engranar y determinar la posición de PUNTO MUERTO.
El interruptor de encendido, que se utiliza para arrancar y apagar el motor, tiene tres posiciones: PARADA, MARCHA y ARRANQUE. Consulte Cómo arrancar el motor.
Está disponible una selección de aperos y accesorios homologados por Toro que pueden utilizarse con la máquina a fin de potenciar y aumentar sus prestaciones. Póngase en contacto con su Servicio Técnico Autorizado o con su distribuidor autorizado Toro, o visite www.Toro.com para obtener una lista de todos los aperos y accesorios homologados.
Para asegurar un rendimiento óptimo y mantener la certificación de seguridad de la máquina, utilice solamente piezas y accesorios genuinos Toro. Las piezas de repuesto y los accesorios de otros fabricantes podrían ser peligrosos, y su uso podría invalidar la garantía del producto.
| Anchura de corte | 243.8 cm (96") |
| Anchura total | Anchura de trabajo – 257.3 cm (101-5/16") |
| Anchura de transporte a la altura de corte de 7.6 cm (3") – 184.2 cm (72½") | |
| Longitud total | 243.3 cm (95-13/16") |
| Altura total | Barra antivuelco elevada –179.1 cm (70½") |
| Barra antivuelco bajada –127.8 cm (50-5/16") | |
| Ancho de vía (entre centros de los neumáticos, a lo ancho) | Ruedas motrices – 118.9 cm (46-13/16") |
| Ruedas giratorias – 119.6 cm (47-1/16") | |
| Distancia entre ejes (centro de la rueda giratoria al centro de la rueda motriz) | 143 cm (56–5/16") |
| Peso total | 1039 kg (2,290 libras) |
Note: Los lados derecho e izquierdo de la máquina se determinan desde la posición normal del operador.
No deje que la máquina sea utilizada o mantenida por niños o por personas que no hayan recibido la formación adecuada. La normativa local puede imponer límites sobre la edad del operador. El propietario es responsable de proporcionar formación a todos los operadores y mecánicos.
Inspeccione la zona donde se va a utilizar la máquina, y retire cualquier objeto que pudiera interferir con el funcionamiento de la máquina o que pudiera ser arrojado por la máquina.
Familiarícese con la operación segura del equipo, los controles del operador y las señales de seguridad.
Compruebe que los controles de presencia del operador, los interruptores de seguridad y los protectores están instalados y que funcionan correctamente. No utilice la máquina si no funcionan correctamente.
Pare el motor, retire la llave y espere a que se detengan todas las piezas en movimiento antes de abandonar el puesto del operador. Deje que se enfríe la máquina antes de hacer trabajos de ajuste, mantenimiento, repostaje, limpieza o almacenamiento.
Antes de segar, inspeccione la máquina para asegurarse de que los conjuntos de corte funcionan correctamente.
Evalúe el terreno para determinar cuáles son los equipos y aperos o accesorios apropiados que se requieren para operar la máquina de manera adecuada y segura.
Lleve ropa adecuada, incluyendo protección ocular, pantalón largo, calzado resistente y antideslizante y protección auricular. Si tiene el pelo largo, recójaselo, y no lleve joyas o prendas sueltas.
No lleve pasajeros en la máquina.
Mantenga a otras personas y a los animales domésticos alejados de la máquina durante el uso. Apague la máquina y los accesorios si alguien entra en la zona.
No utilice la máquina, a menos que estén colocados y funcionen correctamente todos los protectores y dispositivos de seguridad, como por ejemplo los deflectores. Sustituya cualquier pieza desgastada o deteriorada cuando sea necesario.
El combustible es extremadamente inflamable y altamente explosivo. Un incendio o una explosión provocados por el combustible puede causarle quemaduras a usted y a otras personas así como daños materiales.
Para evitar que una carga estática incendie el combustible, coloque el recipiente y/o la máquina directamente sobre el suelo antes de repostar, no en un vehículo o sobre otro objeto.
Llene el depósito de combustible en el exterior sobre terreno llano, en una zona abierta y con el motor frío. Limpie cualquier combustible derramado.
No maneje combustible si está fumando, ni cerca de una llama desnuda o chispas.
No retire el tapón de combustible ni añada combustible al depósito si el motor está caliente o en marcha.
Si se derrama combustible, no intente arrancar el motor. Evite crear una fuente de ignición hasta que los vapores del combustible se hayan disipado.
Almacene el combustible en un recipiente homologado y manténgalo fuera del alcance de los niños.
El combustible es dañino o mortal si es ingerido. La exposición a largo plazo a los vapores puede causar lesiones y enfermedades graves.
Evite la respiración prolongada de los vapores.
Mantenga las manos y la cara alejadas de la boquilla y de la abertura del depósito de combustible.
Mantenga el combustible alejado de los ojos y la piel.
No guarde la máquina o un recipiente de combustible en un lugar donde pudiera haber una llama desnuda, chispas o una llama piloto, por ejemplo en un calentador de agua u otro electrodoméstico.
No llene los recipientes dentro de un vehículo o sobre la plataforma de un camión o remolque con forro de plástico. Coloque siempre los recipientes de gasolina en el suelo y lejos del vehículo, antes de llenarlos.
Retire el equipo del camión o del remolque y repóstelo mientras se encuentra sobre el suelo. Si esto no es posible, repóstelo usando un recipiente portátil, en vez de usar un surtidor de combustible con boquilla.
No utilice la máquina a menos que esté instalado un sistema completo de escape en buenas condiciones de funcionamiento.
Mantenga la boquilla en contacto con el borde del depósito de combustible o el orificio del recipiente en todo momento hasta que termine de repostar. No utilice dispositivos que mantengan abierta la boquilla.
Si se derrama combustible sobre su ropa, cámbiese de ropa inmediatamente.
No llene demasiado el depósito de combustible. Vuelva a colocar el tapón de combustible y apriételo firmemente.
Limpie la hierba y los residuos de la unidad de corte, el silenciador, las transmisiones y el compartimento del motor para prevenir incendios. Limpie cualquier aceite o combustible derramado.
Para obtener los mejores resultados, utilice solamente gasolina fresca (comprada hace menos de 30 días), sin plomo, de 87 o más octanos (método de cálculo (R+M)/2).
Etanol: Es aceptable el uso de gasolina con hasta el 10% de etanol (gasohol) o el 15% de MTBE (éter metil tert-butílico) por volumen. El etanol y el MTBE no son lo mismo. No está autorizado el uso de gasolina con el 15% de etanol (E15) por volumen. No utilice nunca gasolina que contenga más del 10% de etanol por volumen, como por ejemplo la E15 (contiene el 15% de etanol), la E20 (contiene el 20% de etanol) o la E85 (contiene hasta el 85% de etanol). El uso de gasolina no autorizada puede causar problemas de rendimiento o daños en el motor que pueden no estar cubiertos bajo la garantía.
No utilice gasolina que contenga metanol.
No guarde combustible en el depósito de combustible o en recipientes de combustible durante el invierno a menos que haya añadido un estabilizador.
No añada aceite a la gasolina.
Use un estabilizador/acondicionador en la máquina para obtener las siguientes ventajas:
Mantiene el combustible fresco durante más tiempo si se siguen las indicaciones del fabricante del estabilizador de combustible
Limpia el motor durante el funcionamiento.
Elimina la formación de depósitos pegajosos, con aspecto de barniz, en el sistema de combustible, que pueden dificultar el arranque.
Important: No utilice aditivos de combustible que contengan metanol o etanol.
Agregue la cantidad adecuada de estabilizador/acondicionador de combustible al combustible.
Note: Un estabilizador/acondicionador de combustible es más eficaz cuando se mezcla con combustible fresco. Para reducir al mínimo los depósitos de barniz en el sistema de combustible, utilice siempre un estabilizador de combustible.
Aparque la máquina en una superficie nivelada.
Ponga el freno de estacionamiento.
Apague el motor y retire la llave.
Limpie alrededor del tapón del depósito de combustible.
Llene el depósito de combustible hasta la parte inferior del cuello de llenado (Figura 7).
Note: No llene completamente el depósito de combustible. El espacio vacío en el depósito permitirá la dilatación de la gasolina.

Cada día, antes de arrancar la máquina, siga los procedimientos marcados como “Cada uso/A diario” en la sección .
Los motores nuevos necesitan tiempo para desarrollar toda su potencia. La fricción generada por las carcasas y los sistemas de propulsión de los cortacéspedes es mayor cuando éstos son nuevos, lo que supone una carga adicional para el motor. Las máquinas nuevas necesitan un periodo de rodaje de 40–50 horas para desarrollar la máxima potencia y el mejor rendimiento.
Para evitar lesiones o la muerte en caso de un vuelco: mantenga la barra antivuelco en posición elevada y bloqueada y utilice el cinturón de seguridad.
Asegúrese de que la parte trasera del asiento está bloqueada con el cierre del asiento.
No hay protección contra vuelcos cuando la barra antivuelco está bajada.
Baje la barra antivuelco únicamente cuando sea imprescindible.
No use el cinturón de seguridad si la barra antivuelco está bajada.
Conduzca lentamente y con cuidado.
Eleve la barra antivuelco tan pronto como haya espacio suficiente.
Compruebe cuidadosamente que hay espacio suficiente antes de conducir por debajo de cualquier objeto en alto (por ejemplo, ramas, portales, cables eléctricos) y no entre en contacto con ellos.
Important: Baje la barra antivuelco únicamente cuando sea imprescindible.
Asegúrese de que el pomo está completamente enganchado y las pestañas entrelazadas, como se muestra en la Figura 8, para bloquear la barra antivuelco en la posición elevada.
Para bajar la barra antivuelco, presione hacia adelante la parte superior de la barra.
Tire de ambos pomos hacia fuera y gírelos 90º para desengranarlos (Figura 8).
Para elevar la barra antivuelco, suba la barra a la posición de uso, y gire los pomos para que se introduzcan parcialmente en las ranuras (Figura 8).
Eleve la barra a la posición vertical, presionando sobre la parte superior de la misma; las clavijas encajarán en cuanto se alineen con los orificios (Figura 8).
Important: Utilice siempre el cinturón de seguridad cuando la barra antivuelco está en la posición elevada.

Presione sobre la barra para asegurarse de que las clavijas han quedado encajadas (Figura 9).

Si los interruptores de seguridad están desconectados o dañados, la máquina podría ponerse en marcha inesperadamente y causar lesiones personales.
No manipule los interruptores de seguridad.
Compruebe la operación de los interruptores de seguridad cada día, y sustituya cualquier interruptor dañado antes de operar la máquina.
El sistema de interruptores de seguridad ha sido diseñado para impedir que el motor arranque, a menos que:
El freno de estacionamiento esté puesto.
El mando de control de las cuchillas (TDF) está desengranado.
Las palancas de control de movimiento estén en la posición de BLOQUEO/PUNTO MUERTO.
El sistema de interruptores de seguridad también está diseñado para parar el motor cuando se muevan las palancas de control de movimiento desde la posición de BLOQUEO DE PUNTO MUERTO con el freno de estacionamiento puesto, o si usted se levanta del asiento cuando la TDF está engranada.
La pantalla Horizon muestra diferentes símbolos que indican si el componente de seguridad está en la posición correcta. Cuando el componente está en la posición correcta, la pantalla muestra el símbolo correspondiente.

| Intervalo de mantenimiento y servicio | Procedimiento de mantenimiento |
|---|---|
| Cada vez que se utilice o diariamente |
|
Compruebe el sistema de interruptores de seguridad cada vez que vaya a trabajar con la máquina. Si el sistema no funciona de la forma que se describe a continuación, póngase en contacto con un Servicio Técnico Autorizado para que lo reparen inmediatamente.
Siéntese en el asiento, ponga el freno de estacionamiento y mueva el mando de control de las cuchillas (TDF) a ENGRANADO. Intente arrancar el motor; el motor no debe arrancar.
Siéntese en el asiento, ponga el freno de estacionamiento y mueva el mando de control de las cuchillas (TDF) a DESENGRANADO. Mueva cualquiera de las palancas de control de movimiento fuera de la posición de BLOQUEO/PUNTO MUERTO. Intente arrancar el motor; el motor no debe arrancar. Repita con la otra palanca de control.
Siéntese en el asiento, ponga el freno de estacionamiento, mueva el mando de control de las cuchillas (TDF) a DESENGRANADO y mueva las palancas de control de movimiento a la posición de BLOQUEO/PUNTO MUERTO. Ahora arranque el motor. Con el motor en marcha, quite el freno de estacionamiento, engrane el mando de control de las cuchillas (TDF) y levántese un poco del asiento; el motor debe pararse.
Siéntese en el asiento, ponga el freno de estacionamiento, mueva el mando de control de las cuchillas (TDF) a DESENGRANADO y mueva las palancas de control de movimiento a la posición de BLOQUEO/PUNTO MUERTO. Ahora arranque el motor. Con el motor en marcha, ponga cualquiera de las palancas de control de movimiento en posición central y muévala (hacia adelante o hacia atrás); el motor debe pararse. Repita con la otra palanca de control.
Siéntese en el asiento, quite el freno de estacionamiento, mueva el mando de control de las cuchillas (TDF) a DESENGRANADO y mueva las palancas de control de movimiento a la posición de BLOQUEO/PUNTO MUERTO. Intente arrancar el motor; el motor no debe arrancar.
El asiento se desplaza hacia adelante y hacia atrás. Coloque el asiento en la posición que le permita controlar mejor la máquina y en la que esté más cómodo.
Mueva la palanca lateralmente para desbloquear el asiento (Figura 11).


El asiento puede ajustarse para que la conducción sea más suave y cómoda. Coloque el asiento en la posición más cómoda para usted.
Para ajustarlo, gire el pomo situado en la parte delantera en cualquier sentido hasta encontrar la posición más cómoda (Figura 13).

El propietario/operador puede prevenir y es responsable de cualquier accidente que pueda provocar lesiones personales o daños materiales.
Dedique toda su atención al manejo de la máquina. No realice ninguna actividad que pudiera distraerle; de lo contrario, pueden producirse lesiones o daños materiales.
No utilice la máquina si está enfermo, cansado, o bajo la influencia de alcohol o drogas.
El contacto con la cuchilla puede causar lesiones personales graves. Pare el motor, retire la llave y espere a que se detengan todas las piezas en movimiento antes de abandonar el puesto del operador. Cuando gire la llave a la posición de DESCONECTADO, el motor debe apagarse y la cuchilla debe detenerse. Si no, deje de usar la máquina inmediatamente y póngase en contacto con un Servicio Técnico Autorizado.
Utilice la máquina solo en buenas condiciones de visibilidad y bajo condiciones meteorológicas apropiadas. No haga funcionar la máquina cuando hay riesgo de tormentas eléctricas.
Mantenga las manos y los pies alejados de las unidades de corte. Manténgase alejado del orificio de descarga.
Compruebe que se han detenido todos los indicadores de rotación de la carcasa antes de abandonar el puesto del operador.
No corte el césped en marcha atrás a menos que sea absolutamente necesario. Mire siempre hacia abajo y detrás de usted antes de conducir la máquina en marcha atrás.
Extreme la precaución al acercarse a esquinas ciegas, arbustos, árboles u otros objetos que puedan bloquear su visión.
Pare las cuchillas siempre que no esté segando.
Si la máquina golpea un objeto o empieza a vibrar, apague inmediatamente el motor, retire la llave (en su caso), espere a que se detengan todas las piezas en movimiento antes de examinar la máquina en busca de daños. Haga todas las reparaciones necesarias antes de volver a utilizar la máquina.
Vaya más despacio y tenga cuidado al girar y al cruzar calles y aceras con la máquina. Ceda el paso siempre.
Antes de abandonar la posición del operador, haga lo siguiente:
Aparque la máquina en una superficie nivelada.
Desengrane la TDF y baje los accesorios.
Ponga el freno de estacionamiento.
Apague el motor y retire la llave.
Espere a que se detengan todas las piezas en movimiento.
Haga funcionar el motor únicamente en zonas bien ventiladas. Los gases de escape contienen monóxido de carbono, que es letal si se inhala.
No deje nunca desatendida la máquina si está funcionando.
Conecte los equipos remolcados a la máquina únicamente en el punto de enganche.
No utilice la máquina, a menos que estén colocados y funcionen correctamente todos los protectores y dispositivos de seguridad, como por ejemplo los deflectores. Sustituya cualquier pieza desgastada o deteriorada cuando sea necesario.
Utilice solamente accesorios y aperos homologados por Toro.
Esta máquina produce niveles sonoros que superan los 85 dBA en el oído del operador, y pueden causar pérdidas auditivas con períodos extendidos de exposición.

Limpie la hierba y los residuos de la unidad de corte, las transmisiones, el silenciador y el motor para prevenir incendios.
Arranque el motor con los pies bien alejados de las cuchillas.
Esté pendiente del sentido de descarga del cortacésped y no oriente la descarga hacia nadie. Evite descargar material contra una pared u otra obstrucción, porque el material podría rebotar hacia usted.
Pare las cuchillas, reduzca la velocidad de la máquina y extreme las precauciones al cruzar superficies que no sean de hierba o al transportar la máquina a y desde la zona de trabajo.
No cambie la velocidad del regulador del motor ni haga funcionar el motor a una velocidad excesiva.
A menudo los niños se sienten atraídos por la máquina y la actividad de segar. No suponga nunca que los niños van a permanecer en el último lugar en que los vio.
Mantenga a los niños alejados de la zona de trabajo y bajo la atenta mirada de un adulto responsable que no sea el operador.
Esté alerta y apague la máquina si entran niños en la zona de trabajo.
Antes de conducir en marcha atrás o girar la máquina, mire hacia abajo y hacia atrás para asegurarse de que no hay niños pequeños presentes.
No lleve niños en la máquina, incluso cuando las cuchillas no están en movimiento. Los niños podrían caerse y sufrir lesiones graves, o podrían impedir que usted maneje la máquina con seguridad. Cualquier niño que haya sido transportado en el pasado podría aparecer sin aviso en la zona de trabajo, y podría ser arrollado por la máquina, incluso en marcha atrás.
El ROPS es un dispositivo de seguridad integrado. No retire ninguno de los componentes del ROPS de la máquina.
Asegúrese de que el cinturón de seguridad está enganchado y de que puede desabrocharlo rápidamente en caso de emergencia.
Mantenga la barra antivuelco en la posición de totalmente elevada y bloqueada, y lleve el cinturón de seguridad siempre que la barra antivuelco esté elevada.
Compruebe cuidadosamente cualquier objeto elevado antes de conducir debajo del mismo, y no lo toque.
Si algún componente del ROPS está dañado, sustitúyalo. No lo repare ni lo cambie.
No hay protección contra vuelcos cuando la barra antivuelco está bajada.
Si una rueda pasa por un borde o un terraplén o entra en el agua, puede causar un vuelco, que puede dar lugar a lesiones graves o la muerte.
No lleve el cinturón de seguridad cuando la barra antivuelco está bajada.
Baje la barra antivuelco únicamente cuando sea absolutamente necesario; levántela tan pronto como el espacio lo permita.
En caso de vuelco, lleve la máquina a un Servicio Técnico Autorizado para que inspeccione el ROPS.
Utilice solamente accesorios e implementos homologados por Toro para el ROPS.
Las pendientes son una de las principales causas de accidentes por pérdida de control y vuelcos, que pueden causar lesiones graves o la muerte. El operador es responsable de la seguridad cuando trabaja en pendientes. El uso de la máquina en cualquier pendiente exige un cuidado especial. Antes de usar la máquina en una pendiente, haga lo siguiente:
Lea y comprenda las instrucciones sobre pendientes del manual y las que están colocadas en la máquina.
Utilice un indicador de ángulo para determinar la inclinación aproximada de la zona.
No utilice la máquina nunca en pendientes de más de 15°.
Evalúe las condiciones del lugar de trabajo para determinar si es seguro trabajar en la pendiente con la máquina. Utilice el sentido común y el buen juicio al realizar este evaluación. Cualquier cambio que se produzca en el terreno, como por ejemplo un cambio de humedad, puede afectar rápidamente al uso de la máquina en una pendiente.
Identifique cualquier obstáculo situado en la base de la pendiente. No utilice la máquina cerca de terraplenes, fosas, taludes, agua, u otros peligros. La máquina podría volcar repentinamente si una rueda pasa por el borde de un terraplén o fosa, o si se socava un talud. Mantenga una distancia prudente (el doble de la anchura de la máquina) entre la máquina y cualquier obstáculo. Utilice una máquina dirigida o una desbrozadora manual para segar la hierba en estas zonas.
Evite arrancar, parar o girar la máquina en cuestas o pendientes. Evite hacer cambios bruscos de velocidad o de dirección; gire poco a poco, y a baja velocidad.
No utilice la máquina en condiciones que puedan comprometer la tracción, la dirección o la estabilidad de la máquina. Tenga en cuenta que conducir en hierba mojada, atravesar pendientes empinadas, o bajar cuestas puede hacer que la máquina pierda tracción. La transferencia de peso a las ruedas delanteras puede hacer que patine la máquina, con pérdida de frenado y de control de dirección. La máquina puede deslizarse incluso con las ruedas motrices inmovilizadas.
Retire o señale cualquier obstáculo, como zanjas, baches, surcos, montículos, rocas u otros peligros ocultos. La hierba alta puede ocultar obstáculos. Un terreno irregular puede hacer que la máquina vuelque.
Extreme las precauciones al trabajar con accesorios o aperos. Éstos pueden afectar a la estabilidad de la máquina y causar pérdidas de control. Siga las instrucciones sobre los contrapesos.
Si es posible, mantenga la carcasa bajada al suelo mientras trabaje en pendientes. La elevación de la carcasa mientras se trabaja en pendientes puede hacer que la máquina pierda estabilidad.

Ponga siempre el freno de estacionamiento cuando pare la máquina o cuando la deje desatendida.
Aparque la máquina en una superficie nivelada.


Important: Debe desplegar las carcasas laterales antes de poder engranar la TDF.
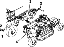
Retire el pasador y la chaveta que sujetan cada carcasa lateral en posición vertical y colóquelas en la posición de almacenamiento (Figura 18).

Asegúrese de que no hay nadie en las proximidades de las carcasas laterales.
Mantenga pulsada la parte inferior del interruptor de elevación de la carcasa; las carcasas laterales bajan primero, luego la carcasa central.
El mando de control de las cuchillas (TDF) arranca y detiene las cuchillas del cortacésped y cualquier accesorio conectado.
Note: El uso del mando de control de las cuchillas (TDF) con el acelerador en la posición intermedia o menos producirá un desgaste excesivo en las correas de transmisión.


Important: No haga funcionar el motor de arranque durante más de 5 segundos seguidos. Si el motor no arranca, espere 15 segundos entre intentos. Si no se siguen estas instrucciones, puede quemarse el motor de arranque.
Note: Es posible que necesite realizar varios intentos para arrancar el motor por primera vez después de haber agregado combustible en un sistema de combustible vacío.

Los niños u otras personas podrían resultar lesionados si mueven o intentan operar la máquina mientras está desatendida.
Retire siempre la llave y ponga el freno de estacionamiento cuando deje la máquina sin supervisión.

El orificio en la parte superior de la cubierta de la correa de la izquierda permite al operador comprobar si las cuchillas han dejado de girar después de desengranar el mando de la TDF.
Antes de usar el indicador de rotación:
Desengrane la TDF.
Ponga el freno de estacionamiento.
Apague el motor y retire la llave.
Espere a que se detengan todas las piezas en movimiento antes de abandonar el puesto del operador.

Asegúrese de que no hay nadie en las proximidades de las carcasas laterales.
Mantenga pulsada la parte inferior del interruptor de elevación de la carcasa; la carcasa central baja primero, luego las carcasas laterales.
Aparque la máquina en una superficie nivelada, desengrane el mando de control de las cuchillas y ponga el freno de estacionamiento.
Pare el motor, retire la llave y espere a que se detengan todas las piezas en movimiento antes de abandonar el puesto del operador.
Retire el pasador y la chaveta del lugar de almacenamiento y fije cada carcasa lateral en posición vertical (Figura 24).


Las ruedas motrices giran de manera independiente, impulsadas por motores hidráulicos en cada eje. Un lado puede girar hacia atrás mientras el otro lado gira hacia adelante, haciendo que la máquina rote sobre su eje en lugar de trazar una curva. Esto mejora mucho la maniobrabilidad de la máquina, pero puede ser necesario un periodo de adaptación si no está familiarizado con este sistema.
El control del acelerador regula la velocidad del motor en rpm (revoluciones por minuto). Ponga el acelerador en posición RáPIDO para conseguir el mejor rendimiento. Siegue siempre con el acelerador en posición rápido.
La máquina puede girar muy rápidamente. Usted puede perder el control de la máquina y causar lesiones personales o daños a la máquina.
Extreme las precauciones al girar.
Reduzca la velocidad de la máquina antes de hacer giros cerrados.
Note: El motor se para si usted mueve el control de tracción con el freno de estacionamiento puesto.
Para detener la máquina, tire de las palancas de control de movimiento a la posición de PUNTO MUERTO.
Quite el freno de estacionamiento.
Mueva las palancas de control de movimiento a la posición central desbloqueada.
Para ir hacia adelante, empuje lentamente las palancas de control de movimiento hacia adelante (Figura 26).

Mueva las palancas de control de movimiento a la posición central desbloqueada.
Para ir hacia atrás, tire lentamente de las palancas de control de movimiento hacia atrás (Figura 27).

La altura de corte de la carcasa de corte puede ajustarse de 2.54 cm a 14 cm (1" a 5½") en incrementos de 6.4 mm (¼").
Aparque la máquina en una superficie nivelada, desengrane el mando de control de las cuchillas y ponga el freno de estacionamiento.
Presione la parte superior del interruptor de elevación de la carcasa para elevar la carcasa central y las carcasas laterales.
Pare el motor, retire la llave y espere a que se detengan todas las piezas en movimiento antes de abandonar el puesto del operador.
Ajuste la carcasa central mediante el procedimiento siguiente:
Retire el pasador de altura de corte de la placa de elevación de la carcasa, en el lado derecho de la carcasa central.
Introduzca el pasador de altura de corte en el taladro que corresponde a la altura de corte deseada.
Consulte las alturas de corte en la pegatina situada en la placa de ajuste de altura.
Para ajustar las carcasas laterales, realice el procedimiento siguiente:
Asegúrese de que las carcasas laterales están bloqueadas en su sitio.
Abra los bloqueos de leva situados en el canal de altura de corte de la carcasa lateral (Figura 28).

Retire el pasador de seguridad del pasador de altura de corte en los canales delantero y trasero.
Mueva la carcasa lateral a la altura deseada e instale los pasadores de ajuste de la altura de corte y los pasadores de seguridad (Figura 28).
Cierre el bloqueo de leva.
Repita este procedimiento en la otra carcasa lateral.
Si desea variar el intervalo de alturas de corte, ajuste las ruedas de ajuste delantera y trasera de la carcasa lateral como se indica a continuación:
Retire las fijaciones de montaje de la rueda de ajuste.
Coloque las ruedas de ajuste delantera y trasera en los taladros correspondientes (consulte la tabla siguiente, y la Figura 29) e instale las fijaciones de montaje.
| Posición de los taladros | Intervalo de alturas de corte |
| Taladro superior (-1 en la pegatina) | 25 a 89 mm (1 a 3½") |
| Taladro central (0 en la pegatina) | 51 a 114 mm (2 a 4½") |
| Taladro inferior (+1 en la pegatina) | 76 a 140 mm (3 a 5½") |

Repita este procedimiento en la otra carcasa lateral.
Para obtener la máxima flotación de la carcasa, instale los rodillos en el taladro inmediatamente inferior. Los rodillos deben mantener una altura sobre el suelo de 6 mm (¼"). No ajuste los rodillos para que aguanten el peso de la carcasa.
Aparque la máquina en una superficie nivelada.
Desengrane el mando de control de las cuchillas (TDF), ponga las palancas de control de movimiento en posición de BLOQUEO/PUNTO MUERTO, y ponga el freno de estacionamiento.
Pare el motor, retire la llave y espere a que se detengan todas las piezas en movimiento antes de abandonar el puesto del operador.
Después de ajustar la altura de corte, ajuste los rodillos protectores del césped retirando los herrajes de montaje.
Coloque los rodillos en una de las posiciones ilustradas en la Figura 30.
Los rodillos mantendrán un espacio de 19 mm (¾") entre la máquina y el suelo para minimizar daños en el césped y desgaste o daño en los rodillos.

Apriete la tuerca nyloc (⅜") a 41–47 N·m (30 – 35 pies-libra), como se muestra en la Figura 31.

En la carcasa de 244 cm (96") hay 7 posiciones para el rodillo protector del césped. Para su ajuste, consulte la Figura 32.

Para aumentar al máximo la calidad de corte y la circulación de aire, trabaje con el motor en la posición de RáPIDO. Se requiere aire para cortar bien la hierba, así que no ponga la altura de corte tan baja como para rodear totalmente la carcasa de corte de hierba sin cortar. Trate siempre de tener un lado de la carcasa de corte libre de hierba sin cortar, para permitir la entrada de aire en la carcasa.
Corte la hierba algo más larga de lo habitual para asegurar que la altura de corte de la carcasa de corte no deje “calvas” en terrenos desiguales. Sin embargo, la altura de corte utilizada habitualmente suele ser la mejor. Si la hierba tiene más de 15 cm (6") de alto, es preferible cortar el césped dos veces para asegurar una calidad de corte aceptable.
Es mejor cortar solamente un tercio aproximadamente de la hoja de hierba. No se recomienda cortar más, a menos que la hierba sea escasa o al final del otoño, cuando la hierba crece más despacio.
Alterne la dirección de corte para mantener la hierba erguida. De esta forma también se ayuda a dispersar mejor los recortes sobre el césped y se conseguirá una mejor descomposición y fertilización.
La hierba crece a velocidades diferentes en diferentes épocas del año. Para mantener la misma altura de corte, corte el césped con más frecuencia durante la primavera. A medida que avanza el verano, la velocidad de crecimiento de la hierba decrece, por ello debe cortarse con menor frecuencia. Si no puede segar durante un período de tiempo prolongado, siegue primero con una altura de corte alta y, después de dos días, vuelva a segar con un ajuste más bajo.
Para mejorar la calidad de corte, utilice una velocidad de avance más baja en determinadas condiciones.
Al cortar césped de altura irregular, eleve la altura de corte para evitar arrancar el césped.
Si es necesario detener el avance de la máquina mientras se corta el césped, es posible que caiga un montón de recortes sobre el césped. Para evitar esto, diríjase con las cuchillas engranadas a una zona del césped que ya haya sido segada, o desengrane la carcasa de corte al desplazarse hacia adelante.
Limpie los recortes y la suciedad de los bajos de la carcasa de corte después de cada uso. Si se acumulan hierba y suciedad en el interior de la carcasa de corte, la calidad del corte llegará a ser insatisfactoria.
Mantenga las cuchillas afiladas durante toda la temporada de corte, ya que una cuchilla afilada corta limpiamente y sin rasgar o deshilachar las hojas de hierba. Si se rasgan o se deshilachan, los bordes de las hojas se secarán, lo cual retardará su crecimiento y favorecerá la aparición de enfermedades. Compruebe después de cada uso que las cuchillas están bien afiladas y que no están desgastadas o dañadas. Elimine cualquier mella con una lima, y afile las cuchillas si es necesario. Si una cuchilla está desgastada o deteriorada, sustitúyala inmediatamente por una cuchilla nueva genuina Toro.
Pare el motor, retire la llave y espere a que se detengan todas las piezas en movimiento antes de abandonar el puesto del operador. Deje que se enfríe la máquina antes de hacer trabajos de ajuste, mantenimiento, repostaje, limpieza o almacenamiento.
Limpie la hierba y los residuos de la unidad de corte, el silenciador, las transmisiones y el compartimento del motor para prevenir incendios. Limpie cualquier aceite o combustible derramado.
Cierre el combustible y retire la llave antes de almacenar o transportar la máquina.
Las manos pueden enredarse en los componentes giratorios de la transmisión, debajo de la carcasa del motor, lo que podría dar lugar a lesiones graves.
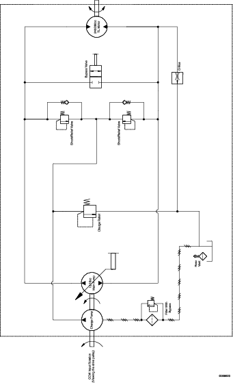
Pare el motor, retire la llave y espere a que se detengan todas las piezas móviles antes de acceder a las válvulas de liberación de las ruedas motrices.
El motor y las transmisiones hidráulicas pueden alcanzar temperaturas muy altas. El contacto con un motor caliente o una transmisión hidráulica caliente puede causar quemaduras graves.
Deje que se enfríen totalmente el motor y las transmisiones hidráulicas antes de acceder a las válvulas de liberación de las ruedas motrices.
Las válvulas de liberación de las ruedas motrices están situadas en la parte trasera de cada unidad de transmisión hidráulica, debajo del asiento.
Note: Asegúrese de que las válvulas de desvío están en posición totalmente horizontal antes de utilizar la máquina; de lo contrario pueden producirse graves daños en el sistema hidráulico.
Aparque la máquina en una superficie nivelada, desengrane el mando de control de las cuchillas y ponga el freno de estacionamiento.
Pare el motor, retire la llave y espere a que se detengan todas las piezas en movimiento antes de abandonar el puesto del operador.
Gire las palancas de las válvulas de liberación a la posición vertical para empujar la máquina (Figura 33).
Note: Esto permite que el fluido hidráulico se desvíe alrededor de la bomba, dejando que las ruedas giren.
Desengrane el freno de estacionamiento antes de empujar la máquina.

Gire las palancas de las válvulas de desvío a la posición horizontal para conducir la máquina (Figura 33).
Utilice un remolque para cargas pesadas o un camión para transportar la máquina. Utilice una rampa de ancho completo. Asegúrese de que el remolque o el camión tenga todos los frenos y todas las luces y señalizaciones requeridos por la ley. Por favor, lea cuidadosamente todas las instrucciones de seguridad. El conocer esta información puede ayudar a evitarle lesiones a usted o a otras personas. Consulte en la normativa local los requisitos aplicables al remolque y al sistema de amarre.
Conducir en una calle o carretera sin señales de giro, luces, marcas reflectantes o un indicador de vehículo lento es peligroso y puede ser causa de accidentes que pueden provocar lesiones personales.
No conduzca la máquina en una calle o carretera pública.
El cargar la máquina en un remolque o un camión aumenta la posibilidad de un vuelco y podría causar lesiones graves o la muerte (Figura 34).
Utilice únicamente una rampa de ancho completo; no utilice rampas individuales para cada lado de la máquina.
No supere un ángulo de 15 grados entre la rampa y el suelo, o entre la rampa y el remolque o camión.
Asegúrese de que la rampa tiene una longitud de al menos cuatro veces la altura de la plataforma del remolque o del camión sobre el suelo. De esta forma se asegura que el ángulo de la rampa no supere los 15 grados en terreno llano.

El cargar la máquina en un remolque o un camión aumenta la posibilidad de un vuelco y podría causar lesiones graves o la muerte.
Extreme las precauciones al hacer funcionar la máquina en una rampa.
Suba la máquina por la rampa en marcha atrás y baje la máquina por la rampa conduciendo hacia adelante.
Evite acelerar o desacelerar bruscamente al conducir la máquina en una rampa, porque esto podría provocar un vuelco o una pérdida de control.
Si utiliza un remolque, conéctelo al vehículo que lo arrastra y conecte las cadenas de seguridad.
En su caso, conecte los frenos y las luces del remolque.
Baje la rampa, asegurándose de que el ángulo entre la rampa y el suelo no supera los 15 grados (Figura 34).
Suba la máquina por la rampa en marcha atrás (Figura 35).

Apague el motor, retire la llave y ponga el freno de estacionamiento.
Amarre la máquina junto a las ruedas giratorias delanteras y el bastidor trasero con correas, cadenas, cables o cuerdas (Figura 36). Consulte la normativa local respecto a los requisitos de amarre.

Si deja la llave en el interruptor, alguien podría arrancar el motor accidentalmente y causar lesiones graves a usted o a otras personas. Retire la llave del interruptor de encendido antes de realizar cualquier operación de mantenimiento.
Antes de abandonar el puesto del operador, haga lo siguiente:
Aparque la máquina en una superficie nivelada.
Desengrane las transmisiones.
Ponga el freno de estacionamiento.
Apague el motor y retire la llave.
Deje que los componentes de la máquina se enfríen antes de realizar tareas de mantenimiento.
No permita que personas que no hayan recibido formación realicen mantenimiento en la máquina.
Mantenga las manos y los pies alejados de las piezas en movimiento y las superficies calientes. Si es posible, no haga ajustes mientras el motor está funcionando.
Alivie con cuidado la tensión de aquellos componentes que tengan energía almacenada.
Compruebe frecuentemente el funcionamiento del freno de estacionamiento. Ajústelo y realice el mantenimiento cuando sea necesario.
No manipule nunca los dispositivos de seguridad. Compruebe regularmente que funcionan correctamente.
Limpie la hierba y los residuos de la unidad de corte, el silenciador, las transmisiones y el compartimento del motor para prevenir incendios.
Limpie cualquier derrame de aceite o combustible y retire cualquier residuo empapado en combustible.
No confíe en gatos hidráulicos o mecánicos para apoyar la máquina; apoye la máquina sobre gatos fijos cada vez que eleve la máquina.
Mantenga todas las piezas en buenas condiciones de uso y todas las fijaciones bien apretadas, especialmente las fijaciones de las cuchillas. Sustituya cualquier pegatina que esté desgastada o deteriorada.
Desconecte la batería antes de reparar la máquina. Desconecte primero el terminal negativo y por último el positivo. Conecte primero el terminal positivo y por último el negativo.
Para asegurar un rendimiento óptimo, utilice únicamente piezas y accesorios genuinos de Toro. Las piezas de repuesto y accesorios de otros fabricantes podrían ser peligrosos, y su uso podría invalidar la garantía del producto.
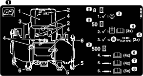
| Intervalo de mantenimiento y servicio | Procedimiento de mantenimiento |
|---|---|
| Después de las primeras 5 horas |
|
| Después de las primeras 100 horas |
|
| Después de las primeras 250 horas |
|
| Cada vez que se utilice o diariamente |
|
| Cada 50 horas |
|
| Cada 100 horas |
|
| Cada 150 horas |
|
| Cada 200 horas |
|
| Cada 250 horas |
|
| Cada 400 horas |
|
| Cada 500 horas |
|
| Cada 800 horas |
|
| Cada mes |
|
| Cada año |
|
| Cada año o antes del almacenamiento |
|
Important: Consulte los demás procedimientos de mantenimiento del manual del propietario del motor.
Si deja la llave en el interruptor, alguien podría arrancar el motor accidentalmente y causar lesiones graves a usted o a otras personas.
Apague el motor y retire la llave del interruptor antes de realizar cualquier operación de mantenimiento.
Engrase con más frecuencia si la zona de trabajo tiene mucho polvo o arena.
Tipo de grasa: Grasa de litio Nº 2 o grasa de molibdeno
Aparque la máquina en una superficie nivelada, desengrane el mando de control de las cuchillas y ponga el freno de estacionamiento.
Pare el motor, retire la llave y espere a que se detengan todas las piezas en movimiento antes de abandonar el puesto del operador.
Limpie con un trapo los puntos de engrase.
Note: Asegúrese de rascar cualquier pintura de la parte delantera de los acoplamientos.
Conecte una pistola de engrasar al punto de engrase.
Bombee grasa hasta que empiece a rezumar grasa de los cojinetes.
Limpie cualquier exceso de grasa.
| Intervalo de mantenimiento y servicio | Procedimiento de mantenimiento |
|---|---|
| Cada 100 horas |
|
Utilice aceite ligero o lubricante en spray para lubricar los pivotes de elevación de la carcasa.

| Intervalo de mantenimiento y servicio | Procedimiento de mantenimiento |
|---|---|
| Cada 200 horas |
|
| Cada año |
|
Aparque la máquina en una superficie nivelada, desengrane el mando de control de las cuchillas y ponga el freno de estacionamiento.
Pare el motor, retire la llave y espere a que se detengan todas las piezas en movimiento antes de abandonar el puesto del operador.
Retire el tapón guardapolvo y ajuste los pivotes de las ruedas; no coloque el tapón guardapolvo hasta que termine de engrasar; consulte Ajuste de los cojinetes de los pivotes de las ruedas giratorias de las carcasas laterales.
Retire el tapón hexagonal.
Enrosque un engrasador en el orificio.
Bombee grasa en el engrasador hasta que rezume por el cojinete superior.
Retire el engrasador del orificio. Vuelva a colocar el tapón hexagonal y la tapa.
| Intervalo de mantenimiento y servicio | Procedimiento de mantenimiento |
|---|---|
| Cada año |
|
Aparque la máquina en una superficie nivelada, desengrane el mando de control de las cuchillas y ponga el freno de estacionamiento.
Pare el motor, retire la llave y espere a que se detengan todas las piezas en movimiento antes de abandonar el puesto del operador.
Engrase el pivote de la polea tensora de la carcasa de corte hasta que salga grasa por el extremo inferior (Figura 38).

Engrase los 2 brazos tensores de la correa de transmisión (Figura 39).

Retire el tapón antipolvo y ajuste los pivotes de las ruedas.
Note: No coloque el tapón hasta que termine de engrasar.
Retire el tapón hexagonal.
Enrosque un engrasador en el orificio.
Bombee grasa en el engrasador hasta que rezume por el cojinete superior.
Retire el engrasador del orificio.
Instale el tapón hexagonal y la tapa (Figura 40).

Engrase los cojinetes de las ruedas giratorias (Figura 40).
| Intervalo de mantenimiento y servicio | Procedimiento de mantenimiento |
|---|---|
| Cada año |
|
Aparque la máquina en una superficie nivelada, desengrane el mando de control de las cuchillas y ponga el freno de estacionamiento.
Pare el motor, retire la llave y espere a que se detengan todas las piezas en movimiento antes de abandonar el puesto del operador.
Eleve el cortacésped para facilitar el acceso.
Retire la rueda giratoria de la horquilla.
Retire los protectores de los retenes del cubo de la rueda.

Retire una tuerca espaciadora del eje de la rueda giratoria.
Note: Las tuercas espaciadoras llevan fijador de roscas para pegarlas al eje.
Retire el eje (con la otra tuerca espaciadora aún montada en el mismo) del conjunto de la rueda.
Retire los retenes haciendo palanca, e inspeccione los cojinetes en busca de señales de desgaste o daños; sustitúyalos si es necesario.
Llene los cojinetes con grasa de propósito general.
Introduzca un cojinete y un retén nuevo en la rueda.
Si en el conjunto del eje faltan ambas tuercas espaciadoras, aplique un fijador de roscas a una tuerca espaciadora y enrósquela en el eje con los segmentos planos hacia fuera.
Note: No enrosque la tuerca espaciadora completamente en el extremo del eje. Deje un espacio de 3 mm (⅛") aproximadamente entre la superficie exterior de la tuerca espaciadora y el extremo del eje, dentro de la tuerca).
Introduzca el eje con la tuerca montada en la rueda, en el lado que contiene el retén nuevo y el cojinete.
Con la cara abierta de la rueda hacia arriba, llene el interior de la rueda alrededor del eje con grasa de propósito general.
Introduzca el segundo cojinete y un retén nuevo en la rueda.
Aplique fijador de roscas a la segunda tuerca espaciadora y enrósquela en el eje con los segmentos planos hacia fuera.
Apriete la tuerca a 8–9 N·m (75–80 pulgadas-libra), aflójela, luego apriétela a 2–3 N·m (20–25 pulgadas-libra).
Note: Asegúrese de que el eje no sobresale de ninguna de las tuercas.
Instale los protectores de los retenes sobre el cubo de la rueda e introduzca la rueda en la horquilla.
Instale el perno de la rueda y apriete la tuerca del todo.
Important: Para evitar que se dañen el cojinete y el retén, compruebe el ajuste del cojinete a menudo. Gire la rueda. La rueda no debe girar libremente (más de 1–2 vueltas), ni tener holgura lateral. Si la rueda gira libremente, ajuste el apriete de la tuerca espaciadora hasta que quede ligeramente frenada. Aplique otra capa de fijador de roscas.
Mantenga las manos, los pies, la cara, la ropa y otras partes del cuerpo alejados del tubo de escape y de otras superficies calientes. Deje que se enfríen los componentes del motor antes de realizar cualquier tarea de mantenimiento.
No cambie la velocidad del regulador del motor ni haga funcionar el motor a una velocidad excesiva.
| Intervalo de mantenimiento y servicio | Procedimiento de mantenimiento |
|---|---|
| Cada vez que se utilice o diariamente |
|
| Cada 250 horas |
|
| Cada 500 horas |
|
Note: Revise el limpiador de aire con mayor frecuencia en condiciones de trabajo de mucho polvo o arena.
Aparque la máquina en una superficie nivelada, desengrane el mando de control de las cuchillas (TDF) y ponga el freno de estacionamiento.
Pare el motor, retire la llave y espere a que se detengan todas las piezas en movimiento antes de abandonar el puesto del operador.
Abra los cierres del limpiador de aire y tire de la tapa de la entrada de aire para separarla del cuerpo del limpiador de aire (Figura 42).
Limpie la rejilla y la tapa del filtro de aire.
Instale la tapa de la entrada de aire y sujétela con los enganches (Figura 42).

Abra los cierres del limpiador de aire y tire de la tapa de la entrada de aire para separarla del cuerpo del limpiador de aire (Figura 43).
Limpie el interior de la tapa del limpiador de aire con aire comprimido.
Extraiga con cuidado el filtro primario de la carcasa del limpiador de aire (Figura 43).
Note: Evite golpear el filtro contra el lado de la carcasa.
Retire el filtro interno únicamente si piensa cambiarlo.
Important: No intente nunca limpiar el filtro interno. Si el filtro de seguridad está sucio, entonces el filtro primario está dañado. Cambie ambos filtros.

Inspeccione el filtro primario mirando dentro del mismo mientras dirige una luz potente al exterior del filtro.
Note: Cualquier agujero del filtro aparecerá en forma de punto luminoso. Si el filtro está dañado, deséchelo.
Lave el elemento de espuma con jabón líquido y agua templada. Cuando el elemento esté limpio, enjuáguelo bien.
Seque el elemento apretándolo con un paño limpio.
Important: Sustituya el elemento de gomaespuma si está roto o desgastado.
Golpee suavemente el elemento de papel para eliminar suciedad.
Note: No lave el elemento de papel ni utilice aire a presión, porque esto dañará el elemento.
Note: Si el elemento está sucio, doblado o dañado, cámbielo. Maneje con cuidado el elemento nuevo; no lo use si las superficies sellantes están dobladas o dañadas.
Limpie la base del limpiador de aire según sea necesario y verifique su estado.
Important: Para evitar dañar el motor, no haga funcionar nunca el motor sin que estén instalados ambos filtros de aire y la tapa.
Si está instalando filtros nuevos, compruebe cada filtro para asegurarse de que no ha sufrido daños durante el transporte.
Note: No utilice un filtro dañado.
Si va a cambiar el filtro interno, deslícelo cuidadosamente en el cuerpo del filtro (Figura 43).
Deslice cuidadosamente el filtro primario por encima del filtro de seguridad (Figura 43).
Note: Asegúrese de que el filtro primario está bien asentado empujando sobre el borde exterior mientras lo instala.
Important: No empuje sobre la zona blanda interior del filtro.
Instale la tapa del limpiador de aire y fije los cierres (Figura 43).
| Intervalo de mantenimiento y servicio | Procedimiento de mantenimiento |
|---|---|
| Después de las primeras 5 horas |
|
| Cada vez que se utilice o diariamente |
|
| Cada 100 horas |
|
Tipo de aceite: Aceite detergente (Servicio API SJ o superior)
Capacidad de aceite: 1.9 a 2.6 litros (2.0 a 2.7 cuartos US) si se cambia el filtro
Viscosidad: Consulte la tabla siguiente.

Note: Compruebe el aceite con el motor frío.
Important: Si sobrecarga o no llena lo suficiente el cárter del motor con aceite, podría dañarse el motor al ponerse en marcha.
Aparque la máquina en una superficie nivelada, desengrane el mando de control de las cuchillas (TDF) y ponga el freno de estacionamiento.
Pare el motor, retire la llave y espere a que se detengan todas las piezas en movimiento antes de abandonar el puesto del operador.
Note: Asegúrese de que el motor está frío, y que el aceite ha tenido tiempo para drenarse al cárter.
Para que no entre suciedad, recortes de hierba, etc., en el motor, limpie la zona alrededor del tapón de llenado/varilla de aceite antes de retirarlo (Figura 45).

Note: Elimine el aceite usado en un centro de reciclaje.
Arranque el motor y déjelo funcionar durante 5 minutos.
Note: De esta forma, el aceite se calentará y será más fácil drenarlo.
Aparque la máquina de manera que el lado de drenaje esté ligeramente más bajo que el lado opuesto para asegurar que el aceite se drene completamente.
Desengrane el mando de control de las cuchillas (TDF) y ponga el freno de estacionamiento.
Pare el motor, retire la llave y espere a que se detengan todas las piezas en movimiento antes de abandonar el puesto del operador.
Drene el aceite del motor (Figura 46).

Vierta lentamente un 80% aproximadamente del aceite especificado por el tubo de llenado, luego añada lentamente el resto del aceite hasta que llegue a la marca de Lleno (Figura 47).

Arranque el motor y conduzca hasta una zona llana.
Compruebe el nivel de aceite otra vez.
Drene el aceite del motor; consulte Cambio del aceite del motor.
Sustituya el filtro de aceite del motor (Figura 48).

Note: Asegúrese de que la junta del filtro de aceite toca el motor, luego apriete el filtro de aceite ¾ de vuelta más.
Llene el cárter con el tipo correcto de aceite nuevo; consulte Especificaciones de aceite del motor.
| Intervalo de mantenimiento y servicio | Procedimiento de mantenimiento |
|---|---|
| Cada 200 horas |
|
| Cada 500 horas |
|
Tipo: Champion XC12YC
Distancia entre electrodos: 0.76 mm (0.03")
Aparque la máquina en una superficie nivelada, desengrane el mando de control de las cuchillas (TDF) y ponga el freno de estacionamiento.
Pare el motor, retire la llave y espere a que se detengan todas las piezas en movimiento antes de abandonar el puesto del operador.
Limpie la zona alrededor de la base de la(s) bujía(s) para que no caiga suciedad en el motor.
Localice y retire la(s) bujía(s), como se muestra en la Figura 49.

Important: No limpie la(s) bujía(s). Cambie siempre las bujías si tienen un revestimiento negro, electrodos desgastados, una película aceitosa o grietas.
Si se observa un color gris o marrón claro en el aislante, el motor está funcionando correctamente. Si el aislante aparece de color negro, significa que el limpiador de aire está sucio.
Ajuste la distancia a 0.76 mm (0.03").


| Intervalo de mantenimiento y servicio | Procedimiento de mantenimiento |
|---|---|
| Cada 50 horas |
|
Los componentes calientes del sistema de escape pueden incendiar los vapores del combustible, incluso después de que se apague el motor. Las partículas calientes expulsadas durante la operación del motor pueden incendiar materiales inflamables, dando lugar a lesiones personales o daños materiales.
No reposte combustible ni ponga en marcha el motor si el parachispas no está instalado.
Aparque la máquina en una superficie nivelada, desengrane la TDF y ponga el freno de estacionamiento.
Apague el motor, retire la llave y espere a que se detengan todas las piezas en movimiento antes de abandonar el puesto del operador.
Espere a que se enfríe el silenciador.
Si observa roturas en la rejilla o en las soldaduras, sustituya el parachispas.
Si la rejilla está atascada, retire el parachispas y sacuda la rejilla para eliminar partículas sueltas, luego límpiela con un cepillo de alambre (sumérjala en disolvente si es necesario).
Instale el parachispas en la salida del tubo de escape.
Los componentes del sistema de combustible están sometidos a alta presión. El uso de componentes incorrectos puede dar lugar a fallos del sistema, fugas de combustible y posible explosión.
Utilice únicamente tubos de combustible y filtros de combustible homologados.
| Intervalo de mantenimiento y servicio | Procedimiento de mantenimiento |
|---|---|
| Cada 150 horas |
|
Important: Instale los tubos de combustible y sujételos con bridas de plástico de la misma manera que estaban al salir de la fábrica, para mantener los tubos de combustible alejados de componentes que podrían dañar los tubos.
Aparque la máquina en una superficie nivelada, desengrane el mando de control de las cuchillas (TDF) y ponga el freno de estacionamiento.
Pare el motor, retire la llave y espere a que se detengan todas las piezas en movimiento antes de abandonar el puesto del operador.
Deje que la máquina se enfríe.
Cierre la válvula de cierre del combustible.
Cambie el filtro de combustible (Figura 52).
Note: Asegúrese de que la marcas del filtro coinciden con la dirección de flujo de combustible.

Abra la válvula de cierre del combustible.
No intente vaciar el depósito de combustible. Asegúrese de que el vaciado del depósito de combustible y el mantenimiento de cualquier componente del sistema de combustible sea realizado por un Servicio Técnico Autorizado.
| Intervalo de mantenimiento y servicio | Procedimiento de mantenimiento |
|---|---|
| Cada 800 horas |
|
Compruebe la holgura de las válvulas del motor. Consulte el manual del propietario del motor.
| Intervalo de mantenimiento y servicio | Procedimiento de mantenimiento |
|---|---|
| Cada 400 horas |
|
Compruebe que los tubos de combustible no están deteriorados, dañados o rozados, y que las conexiones no están sueltas.
Desconecte la batería antes de reparar la máquina. Desconecte primero el terminal negativo y por último el positivo. Conecte primero el terminal positivo y por último el negativo.
Cargue la batería en una zona abierta y bien ventilada, lejos de chispas y llamas. Desenchufe el cargador antes de conectar o desconectar la batería. Lleve ropa protectora y utilice herramientas aisladas.
El electrolito de la batería contiene ácido sulfúrico, que es mortal si es ingerido y causa quemaduras graves.
No beba electrolito y evite el contacto con la piel, los ojos y la ropa. Lleve lentes de seguridad para proteger sus ojos, y guantes de goma para proteger sus manos.
| Intervalo de mantenimiento y servicio | Procedimiento de mantenimiento |
|---|---|
| Cada mes |
|
El dejar la batería sin recargar durante un tiempo significativo reduce su rendimiento y su vida útil. Para conservar un rendimiento y durabilidad óptimos, cargue la batería almacenada cuando la tensión en circuito abierto caiga hasta los 12.4 V.
Note: Para prevenir daños debidos a la congelación, cargue la batería completamente antes de su almacenamiento de invierno.
Compruebe la tensión de la batería con un voltímetro digital. Localice la lectura de tensión de la batería en la tabla siguiente y cargue la batería durante el intervalo de tiempo recomendado para obtener una tensión de 12.6 V o más.
Important: Asegúrese de que el cable negativo (–) de la batería está desconectado y que el cargador usado para cargar la batería tiene una potencia de salida de 16 V y 7 A o menos para evitar dañar la batería (consulte los ajustes recomendados para el cargador en la tabla).
| Lectura de tensión | Porcentaje de carga | Ajustes máximos del cargador | Tiempo de carga |
|---|---|---|---|
| 12.6 V o más | 100 % | 16 V/7 A | No requiere carga |
| 12.4 V a 12.6 V | 75% a 100% | 16 V/7 A | 30 minutos |
| 12.2 V a 12.4 V | 50% a 75% | 16 V/7 A | 1 hora |
| 12.0 V a 12.2 V | 25% a 50% | 14.4 V/4 A | 2 horas |
| 11.7 V a 12.0 V | 0% a 25% | 14.4 V/4 A | 3 horas |
| 11.7 V o menos | 0% | 14.4 V/2 A | 6 horas o más |
El proceso de carga de la batería produce gases que pueden explotar.
No fume nunca cerca de la batería, y mantenga alejados de la batería chispas y llamas.
Important: Mantenga siempre la batería completamente cargada (densidad de 1.265). Esto es especialmente importante para evitar daños a la batería cuando la temperatura está por debajo de los 0 °C (32 °F).
Asegúrese de que los tapones de llenado están instalados en la batería. Cargue la batería durante 10 a 15 minutos a 25–30 A o durante 30 minutos a 10 A.
Cuando la batería esté completamente cargada, desconecte el cargador de la toma de electricidad, luego desconecte los cables del cargador de los bornes de la batería (Figura 53).
Instale la batería en la máquina y conecte los cables de la batería.
Note: No haga funcionar la máquina con la batería desconectada; puede causar daños al sistema eléctrico.

Inspeccione los bornes de la batería descargada en busca de corrosión ("nieve" blanca, verde o azul).
Es necesario eliminarla antes del arranque con batería externa. Limpie y apriete las conexiones según sea necesario.
La corrosión y las conexiones sueltas pueden causar picos de voltaje no deseados en cualquier momento del procedimiento de arranque externo.
No intente arrancar el motor si los bornes de la batería están sueltos o corroídos, porque podría dañar el motor.
Cualquier intento de arrancar una batería agrietada, congelada, con bajo nivel de electrolito o que tenga una celda abierta o cortocircuitada podría provocar una explosión y causar lesiones personales graves.
No arranque una batería descargada si existe cualquiera de estas condiciones.
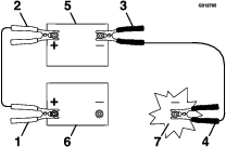
Asegúrese de que la batería externa es una batería de ácido-plomo de 12.6 V o más, y que está en buenas condiciones y completamente cargada. Utilice cables pasa-corriente de la sección correcta (4 a 6 AWG), que no sean demasiado largos a fin de reducir la caída de voltaje entre los dos sistemas. Asegúrese de que los cables están codificados por color o etiquetados con la polaridad correcta.
Una mala conexión (polaridad incorrecta) de los cables pasa-corriente puede dañar inmediatamente el sistema eléctrico.
Confirme la polaridad de los bornes de la batería y de los cables pasa-corriente antes de conectar las baterías.
Note: Las instrucciones siguientes son una adaptación de las Recomendaciones sobre Cables de Baterías Externas – Vehículos de superficie – SAE J1494 Rev. Dic. 2001 de la Sociedad de Ingenieros de Automoción (SAE – Society of Automotive Engineers).
Important: Asegúrese de que los tapones de ventilación están apretados y nivelados. Coloque un paño húmedo, si tiene uno, sobre los tapones de ventilación de ambas baterías. Asegúrese de que las máquinas no están en contacto entre sí y que los sistemas eléctricos de ambas están desconectados y son del mismo voltaje nominal. Estas instrucciones son aplicables únicamente a sistemas con negativo a tierra.
Conecte el cable positivo (+) al borne positivo (+) de la batería descargada que está conectado al motor de arranque o al solenoide (Figura 54).

Conecte el otro extremo del cable positivo al borne positivo de la batería externa.
Conecte el cable negativo (–) al otro borne (negativo) de la batería externa.
Haga la conexión final al bloque motor de la máquina que no arranca (no al borne negativo de la batería), en un punto alejado de la batería. Apártese de la máquina.
Arranque el vehículo y retire los cables en el orden inverso de la conexión (desconecte primero la conexión del cable negro al bloque motor).
El sistema eléctrico está protegido con fusibles. No requiere mantenimiento; no obstante, si se funde un fusible, compruebe que no hay avería ni cortocircuito en el componente/circuito.
El bloque de fusibles está situado a la derecha del asiento del operador.
Para cambiar un fusible, tire del mismo para retirarlo.
Instale un fusible nuevo (Figura 55).

Aparque la máquina en una superficie nivelada, desengrane el mando de control de las cuchillas y ponga el freno de estacionamiento.
Pare el motor, retire la llave y espere a que se detengan todas las piezas en movimiento antes de abandonar el puesto del operador.
Ponga el acelerador en un punto intermedio entre las posiciones de RáPIDO y Lento.
Mueva ambas palancas de control de movimiento hacia adelante del todo hasta que toquen los topes en la ranura en T.
Compruebe hacia qué lado se desvía la máquina.
Si se desvía hacia la derecha, afloje los pernos y ajuste la chapa del tope izquierdo hacia atrás en la ranura en T de la izquierda hasta que la máquina avance en línea recta (Figura 56).
Si se desvía hacia la izquierda, afloje los pernos y ajuste la chapa del tope derecho hacia atrás en la ranura en T de la derecha hasta que la máquina avance en línea recta (Figura 56).
Apriete la chapa del tope (Figura 56).

Alinee las palancas en el sentido adelante/atrás acercándolas a la posición de PUNTO MUERTO, y moviéndolas hasta que estén alineadas; luego apriete los pernos (Figura 57).

Si es necesario alinearlas, afloje los 2 pernos de montaje de la palanca de control de movimiento del lado que está mal alineado (Figura 58).

Mueva la palanca de control de movimiento hasta que coincida con la del otro lado.
Apriete los 2 pernos de montaje de la palanca de control de movimiento (Figura 58).
| Intervalo de mantenimiento y servicio | Procedimiento de mantenimiento |
|---|---|
| Cada 50 horas |
|
Especificación de la presión de los neumáticos de las ruedas motrices: 1.24 bar (18 psi).
Note: Las ruedas giratorias son semineumáticas y no es necesario revisar la presión del aire.
Si la presión de los neumáticos es baja, se reduce la estabilidad en pendientes laterales. Esto podría causar un vuelco, que podría dar lugar a lesiones personales o la muerte.
No use los neumáticos con presiones menores que las recomendadas.
Compruebe la presión del aire de los neumáticos traseros. Añada o quite aire según sea necesario para establecer la presión correcta de aire de los neumáticos.
Important: Mantenga la presión de todos los neumáticos para asegurar una buena calidad de corte y un rendimiento correcto de la máquina.Compruebe la presión de todos los neumáticos antes de utilizar la máquina.

| Intervalo de mantenimiento y servicio | Procedimiento de mantenimiento |
|---|---|
| Después de las primeras 100 horas |
|
Apriete las tuercas de las ruedas a 115–142 N·m (85–105 pies-libra).
| Intervalo de mantenimiento y servicio | Procedimiento de mantenimiento |
|---|---|
| Después de las primeras 100 horas |
|
| Cada 500 horas |
|
Apriete la tuerca de seguridad a 420–461 N∙m (310 – 340 pies-libra).
Note: No utilice aceite aflojatodo en el cubo de la rueda.
| Intervalo de mantenimiento y servicio | Procedimiento de mantenimiento |
|---|---|
| Cada 200 horas |
|
Aparque la máquina en una superficie nivelada, desengrane el mando de control de las cuchillas y ponga el freno de estacionamiento.
Pare el motor, retire la llave y espere a que se detengan todas las piezas en movimiento antes de abandonar el puesto del operador.
Retire el tapón guardapolvo de la rueda giratoria y apriete la contratuerca (Figura 60).
Apriete la contratuerca hasta que las arandelas de muelle estén planas, luego afloje ¼ de vuelta para establecer la pre-carga correcta de los cojinetes (Figura 60).
Important: Asegúrese de que las arandelas de muelle están correctamente instaladas, según se muestra en Figura 60.
Coloque el tapón anti-polvo (Figura 60).

| Intervalo de mantenimiento y servicio | Procedimiento de mantenimiento |
|---|---|
| Después de las primeras 100 horas |
|
| Cada 500 horas |
|
Compruebe que el freno de estacionamiento está correctamente ajustado. Es necesario realizar este procedimiento después de las primeras 100 horas de uso o después de retirar o cambiar cualquier componente del freno.
Aparque la máquina en una superficie nivelada, desengrane el mando de control de las cuchillas y ponga el freno de estacionamiento.
Pare el motor, retire la llave y espere a que se detengan todas las piezas en movimiento antes de abandonar el puesto del operador.
Levante la parte trasera de la máquina y apóyela sobre gatos fijos.
Retire las ruedas traseras de la máquina.
Elimine cualquier suciedad de la zona de los frenos.
Libere las ruedas motrices; consulte Uso de las válvulas de liberación de las ruedas motrices.
Asegúrese de que la pinza está apretada contra la transmisión.
Quite el freno de estacionamiento.
Instale el acoplamiento trasero en la palanca acodada y fije el conjunto usando el pasador con muelle de retención (Figura 61).

Empuje la palanca de la pinza hacia adelante con la presión de los dedos solamente, lo suficiente para eliminar la holgura de la pinza respecto al cubo (Figura 61).
Afloje la contratuerca del acoplamiento trasero.
Ajuste el acoplamiento trasero para alinear los orificios e instale el pasador de muelle (Figura 61).
Apriete la contratuerca del acoplamiento trasero (Figura 61).
Asegúrese de que el cubo de la rueda se mueve libremente entre las pastillas de freno de la pinza.
Repita los pasos 9 a 14 en el lado derecho.
Gire el asa de liberación de las ruedas motrices a la posición de operación; consulte Uso de las válvulas de liberación de las ruedas motrices.
Instale los neumáticos traseros y apriete las tuercas de las ruedas a 129 N·m (95 pies-libra).
Retire los gatos fijos.
| Intervalo de mantenimiento y servicio | Procedimiento de mantenimiento |
|---|---|
| Cada 50 horas |
|
Compruebe las correas si chirrían al moverse, si las cuchillas patinan durante la siega, o si las correas tienen los bordes deshilachados, marcas de quemaduras, o grietas. Si existe cualquiera de estas condiciones, cambie las correas.
Si hay chirridos cuando la correa está en movimiento, si las cuchillas patinan durante la siega, si los bordes de la correa están deshilachados, o si tiene marcas de quemaduras o grietas, la correa del cortacésped está desgastada. Cambie la correa si existe cualquiera de estas condiciones.
Aparque la máquina en una superficie nivelada, desengrane el mando de control de las cuchillas y ponga el freno de estacionamiento.
Pare el motor, retire la llave y espere a que se detengan todas las piezas en movimiento antes de abandonar el puesto del operador.
Baje el cortacésped a la posición de altura de corte de 76 mm (3").
Retire los 2 pasadores de seguridad de la cubierta exterior de la correa y retire la cubierta exterior (Figura 62).
Gire hacia arriba la cubierta interior de la correa (Figura 62).

Retire la chapa de suelo.
Utilizando una llave de carraca en el taladro cuadrado del brazo tensor, gire hacia atrás el brazo tensor para aliviar la tensión del muelle tensor (Figura 63).
Retire la correa de las poleas de la carcasa de corte (Figura 63).

Instale la correa nueva alrededor de las poleas de la carcasa de corte.
Instale las cubiertas de la correa y la chapa de suelo.
Repita este procedimiento con la correa de la otra carcasa lateral.
Si hay chirridos cuando la correa está en movimiento, si las cuchillas patinan durante la siega, si los bordes de la correa están deshilachados, o si tiene marcas de quemaduras o grietas, la correa del cortacésped está desgastada. Cambie la correa si existe cualquiera de estas condiciones.
Aparque la máquina en una superficie nivelada, desengrane el mando de control de las cuchillas y ponga el freno de estacionamiento.
Pare el motor, retire la llave y espere a que se detengan todas las piezas en movimiento antes de abandonar el puesto del operador.
Baje el cortacésped a la posición de altura de corte de 76 mm (3").
Retire las correas de las dos carcasas laterales; consulte Sustitución de las correas de las carcasas laterales.
Utilice una llave de carraca en el taladro cuadrado del brazo tensor para aliviar la tensión del muelle tensor (Figura 64).
Retire la correa de las poleas de la carcasa de corte (Figura 64).

Instale la correa nueva alrededor de las poleas de la carcasa de corte.
Instale las correas de las dos carcasas laterales; consulte Sustitución de las correas de las carcasas laterales.
Instale las cubiertas de la correa y la chapa de suelo.
Las palancas de control tienen dos ajustes de altura: alto y bajo. Retire los pernos para adaptar la altura al operador.
Aparque la máquina en una superficie nivelada, desengrane el mando de control de las cuchillas y ponga el freno de estacionamiento.
Pare el motor, retire la llave y espere a que se detengan todas las piezas en movimiento antes de abandonar el puesto del operador.
Afloje los pernos y las tuercas con arandela prensada de las palancas (Figura 65).
Alinee las palancas en el sentido adelante/atrás acercándolas a la posición de PUNTO MUERTO, y moviéndolas hasta que estén alineadas; luego apriete los pernos (Figura 66).


Si los extremos de las palancas chocan entre sí, repita este procedimiento.
Los acoplamientos de control de las bombas están situados en cada lado de la máquina, debajo del asiento. Gire la tuerca del extremo con una llave de ½" para hacer ajustes finos a fin de que la máquina no se desplace en punto muerto. Cualquier ajuste debe realizarse únicamente para la posición de punto muerto.
El motor debe estar en marcha y las ruedas motrices deben estar girando para poder realizar los ajustes. El contacto con piezas en movimiento o superficies calientes puede causar lesiones personales.
Mantenga alejados de los componentes rotativos y de la superficies calientes los dedos, las manos y la ropa.
Aparque la máquina en una superficie nivelada, desengrane el mando de control de las cuchillas (TDF), ponga las palancas de control de movimiento en posición de BLOQUEO/PUNTO MUERTO, y ponga el freno de estacionamiento.
Pare el motor, retire la llave y espere a que se detengan todas las piezas en movimiento antes de abandonar el puesto del operador.
Presione el pedal de elevación de la carcasa, retire el pasador de altura de corte y baje la carcasa de corte al suelo.
Levante la parte trasera de la máquina y apóyela sobre gatos fijos a una altura suficiente para permitir que las ruedas motrices giren libremente.
Retire la conexión eléctrica del interruptor de seguridad del asiento, situado debajo del cojín del asiento.
Note: El interruptor forma parte del conjunto del asiento.
Provisionalmente, instale un puente entre los terminales del conector del arnés de cableado principal.
Arranque el motor, hágalo funcionar a su velocidad máxima y quite el freno de estacionamiento.
Note: Antes de arrancar el motor, asegúrese de que el freno de estacionamiento está puesto y que las palancas de control de movimiento están hacia fuera. No es necesario que esté sentado en el asiento.
Haga funcionar la máquina durante al menos 5 minutos con las palancas de control de movimiento a velocidad máxima hacia adelante para que el fluido hidráulico alcance su temperatura normal de operación.
Note: Las palancas de control de movimiento deben estar en punto muerto mientras se realizan ajustes.
Ponga las palancas de control de movimiento en la posición de punto MUERTO.
Ajuste la longitud de las varillas de control de las bombas girando las tuercas dobles de la varilla en el sentido apropiado, hasta que las ruedas se muevan ligeramente en marcha atrás (Figura 67).

Mueva las palancas de control de movimiento a la posición de MARCHA ATRáS y, aplicando una ligera presión a la palanca, deje que los muelles de marcha atrás devuelvan las palancas a punto muerto.
Note: Las ruedas deben dejar de girar o moverse muy lentamente en marcha atrás.
Pare la máquina.
Retire el puente del arnés de cables y enchufe el conector en el interruptor del asiento.
Retire los soportes.
Eleve la carcasa de corte e instale el pasador de altura de corte.
Compruebe que la máquina no se desplaza en punto muerto con el freno de estacionamiento quitado.
El perno de montaje superior del amortiguador puede ajustarse para obtener la resistencia de la palanca de control de movimiento deseada. Consulte las opciones de montaje en Figura 68.

Busque atención médica inmediatamente si el fluido hidráulico penetra en la piel. Cualquier fluido inyectado debe ser extraído quirúrgicamente por un médico en el espacio de pocas horas.
Asegúrese de que todas las mangueras y líneas de fluido hidráulico están en buenas condiciones de uso y que todos los acoplamientos y conexiones hidráulicos están apretados antes de aplicar presión al sistema hidráulico.
Mantenga el cuerpo y las manos alejados de fugas pequeñas o boquillas que expulsan fluido hidráulico a alta presión.
Utilice un cartón o un papel para buscar fugas hidráulicas.
Alivie de manera segura toda presión en el sistema hidráulico antes de realizar trabajo alguno en el sistema hidráulico.
Capacidad del sistema hidráulico de la unidad motriz de elevación de la carcasa: 710 ml (24 onzas fluidas)
Fluido recomendado para la unidad motriz de elevación de la carcasa: Toro Premium Transmission/Hydraulic Tractor Fluid (Fluido para transmisiones/fluido hidráulico para tractores de alta calidad) (Disponible en recipientes de 19 litros (5 galones) o en bidones de 208 litros (55 galones). Consulte el Catálogo de piezas o póngase en contacto con un distribuidor autorizado Toro para obtener los números de pieza.
Capacidad del sistema hidráulico de las transmisiones hidrostáticas: 1.5 litros (52 onzas fluidas) por transmisión hidrostática
Fluido recomendado para las transmisiones hidrostáticas: Fluido Toro HYPR-OIL™ 500 (disponible en recipientes de 19 litros (5 galones) o en bidones de 208 litros (55 galones). Consulte el Catálogo de piezas o póngase en contacto con un distribuidor autorizado Toro para obtener los números de pieza.
Fluidos alternativos para las transmisiones hidrostáticas: Si no está disponible el fluido Toro, puede utilizarse fluido hidráulico Mobil®1 15W50.
Note: Toro no asume responsabilidad alguna por los daños causados por sustituciones incorrectas.
Note: La mayoría de los fluidos hidráulicos son casi incoloros, por lo que es difícil detectar fugas. Está disponible un aditivo de tinte rojo para el aceite del sistema hidráulico en botellas de 20ml (⅔ oz fluida). Una botella es suficiente para 15 a 22 litros (4 a 6 galones) de fluido hidráulico. Solicite la pieza Nº 44-2500 a su distribuidor autorizado Toro.
| Intervalo de mantenimiento y servicio | Procedimiento de mantenimiento |
|---|---|
| Cada 50 horas |
|
Compruebe el nivel del fluido hidráulico antes de arrancar el motor por primera vez y luego a diario.
Aparque la máquina en una superficie nivelada, desengrane el mando de control de las cuchillas y ponga el freno de estacionamiento.
Mueva las palancas de control de movimiento a la posición de BLOQUEO/PUNTO MUERTO y arranque el motor.
Note: Haga funcionar el motor a la velocidad más baja posible para purgar cualquier aire del sistema.
Important: No engrane la TDF.
Espere a que la máquina se enfríe antes de comprobar el fluido hidráulico.
Ajuste el asiento a la posición más adelantada para tener acceso a los tapones de las transmisiones hidrostáticas izquierda y derecha.
Limpie la zona alrededor del tapón del depósito hidráulico y retire el tapón.
Retire la varilla y límpiela con un paño limpio.
Inserte la varilla en el cuello de llenado, retírela y compruebe el nivel de fluido (Figura 69).
Note: Si el nivel no está entre las muescas de la varilla, añada suficiente fluido Toro HYPR-OIL™ 500 para que llegue a la zona de las muescas.
Important: No llene demasiado.

Vuelva a colocar la varilla y enrosque el tapón de llenado en el cuello de llenado con la presión de los dedos solamente.
Compruebe que no hay fugas en ningún manguito o acoplamiento hidráulico.
| Intervalo de mantenimiento y servicio | Procedimiento de mantenimiento |
|---|---|
| Después de las primeras 250 horas |
|
| Cada 500 horas |
|
Desengrane la TDF, mueva las palancas de control de movimiento a la posición de BLOQUEO/PUNTO MUERTO, y ponga el freno de estacionamiento.
Levante la parte trasera de la máquina y apóyela sobre gatos fijos (u otro soporte equivalente) a una altura suficiente para permitir que las ruedas motrices giren libremente.
Retire la correa de transmisión de la bomba.
Coloque un recipiente debajo de las transmisiones hidrostáticas derecha e izquierda.
Limpie cuidadosamente la zona alrededor de los filtros.
Es importante que no entre ningún tipo de suciedad o contaminación en el sistema hidráulico.
Usando una llave de vaso, desenrosque los filtros para retirarlos y deje que se drene el aceite.
Antes de instalar los filtros nuevos, aplique una capa fina de fluido Toro HYPR-OIL™ 500 en la superficie de las 2 juntas de goma.
Instale los filtros nuevos y apriételos a 19 N∙m (14 pies-libra).
Mueva la palanca del acelerador a la posición de LENTO, pare el motor, retire la llave y espere a que se detengan todas las piezas en movimiento antes de abandonar el puesto del operador.
Llene el sistema hidráulico; consulteComprobación del nivel de fluido hidráulico.
Se recomienda el fluido Toro HYPR-OIL™ 500. La tabla ofrece una lista de alternativas aceptables:
| Aceite hidráulico | Intervalo de mantenimiento |
| Fluido Toro HYPR-OIL™ 500 (preferido) | Después de las primeras 250 horas*Luego cada 500 horas |
| Mobil 1 15W50 | Después de las primeras 250 horas*Luego cada 250 horas |
*Puede ser necesario más a menudo en condiciones severas.
Retire el recipiente de vaciado y elimine correctamente el fluido hidráulico y el filtro según la normativa local.
Instale la correa de transmisión de la bomba.
Arranque el motor y mueva el control del acelerador a la posición de RáPIDO.
Mueva las palancas de control de movimiento a la velocidad máxima y deje la máquina en marcha durante 1 minuto.
Apague la máquina, deje que se enfríen las transmisiones hidrostáticas y compruebe el nivel de fluido.
Retire el tapón y la varilla del depósito de fluido hidráulico.
Retire los gatos fijos.
Important: No cambie el fluido del sistema hidráulico (salvo la cantidad que se drena al cambiar el filtro) a menos que esté contaminado o haya alcanzado una temperatura extrema.Los cambios innecesarios de fluido pueden dañar el sistema hidráulico al introducir contaminantes en el sistema.
| Intervalo de mantenimiento y servicio | Procedimiento de mantenimiento |
|---|---|
| Cada 50 horas |
|
Asegúrese de que el nivel de fluido está ligeramente por encima de la bomba de engranajes interna del depósito (Figura 70).
Note: Si es necesario, añada Toro Premium Transmission/Hydraulic Tractor Fluid (Fluido para transmisiones/fluido hidráulico para tractores de alta calidad) hasta que el nivel de fluido esté ligeramente por encima de la bomba de engranajes interna del depósito.

| Intervalo de mantenimiento y servicio | Procedimiento de mantenimiento |
|---|---|
| Cada año o antes del almacenamiento |
|
Aparque la máquina en una superficie nivelada, desengrane el mando de control de las cuchillas y ponga el freno de estacionamiento.
Baje la plataforma de corte a la posición de altura de corte de 2.5 cm (1").
Pare el motor, retire la llave y espere a que se detengan todas las piezas en movimiento antes de abandonar el puesto del operador.
Abra el capó para tener acceso al depósito de fluido.
Limpie la zona alrededor del tapón de llenado y retire el tapón.
Extraiga el fluido a través del orificio de llenado usando un dispositivo de aspiración, o retire la unidad motriz de la carcasa y vierta el fluido en un recipiente.
Instale la unidad motriz si la retiró para drenar el fluido.
Añada aproximadamente 710 ml (24 onzas fluidas) de Toro Premium Transmission/Hydraulic Tractor Fluid e instale el tapón.
Important: No llene demasiado la unidad motriz; un llenado excesivo puede dañarla.
Asegúrese de que el nivel de fluido es correcto; consulte Comprobación del nivel de fluido de la unidad motriz de elevación de la carcasa.
Inspeccione periódicamente las cuchillas en busca de desgaste y daños.
Tenga cuidado al revisar las cuchillas. Envuelva las cuchillas o lleve guantes, y extreme las precauciones al realizar el mantenimiento de las cuchillas. Solo reemplace o afile las cuchillas; no las enderece ni las suelde nunca.
En máquinas con múltiples cuchillas, tenga cuidado puesto que girar una cuchilla puede hacer que giren otras cuchillas.
Sustituya las cuchillas o los pernos gastados o dañados en conjuntos completos para no desequilibrar la máquina.
Note: Asegúrese de que la carcasa de corte está nivelada antes de ajustar la altura de corte (ADC).
Aparque la máquina en una superficie nivelada, desengrane el mando de control de las cuchillas y ponga el freno de estacionamiento.
Pare el motor, retire la llave y espere a que se detengan todas las piezas en movimiento antes de abandonar el puesto del operador.
Compruebe la presión de los neumáticos de las ruedas motrices.
Si es necesario, ajústela a 1.24 bar (18 psi).
Coloque el cortacésped en la posición de altura de corte de 102 mm (4'').
Eleve la carcasa central y pliegue las carcasas laterales presionando hacia abajo la parte trasera del interruptor de elevación de la carcasa. Mantenga presionado el interruptor hasta que ambas carcasas laterales estén totalmente plegadas.
Coloque el cortacésped en la posición de altura de corte de 102 mm (4'').
Abra los bloqueos de leva de las carcasas laterales derecha y izquierda (Figura 71).
Retire y guarde la trabilla de altura de corte de la carcasa lateral (Figura 71).

Introduzca el pasador de altura de corte en la posición de 102 mm (4") e instale la trabilla.
Cierre el bloqueo de leva de cada carcasa lateral.
Arranque el motor.
Note: El freno de estacionamiento debe estar puesto y las palancas de control de movimiento deben estar hacia fuera para poder arrancar el motor. No es necesario que el operador esté sentado en el asiento. Asegúrese de que no hay nadie en las proximidades de las carcasas laterales.
Mantenga pulsada la parte inferior del interruptor de elevación de la carcasa hasta que baje la carcasa central y se desplieguen las carcasas laterales completamente a la altura de corte correcta.
Pare el motor, retire la llave y espere a que se detengan todas las piezas en movimiento antes de abandonar el puesto del operador.
Mida desde la superficie nivelada hasta la punta delantera de las cuchillas derecha e izquierda de la carcasa central (Figura 72).
La distancia debe ser de 102 cm (4").

Para aumentar la altura de corte, gire el tornillo de ajuste en sentido horario; para reducir la altura, gírelo en sentido antihorario.
Afloje las contratuercas de la parte superior de cada pletina de ajuste de la carcasa. Gire la tuerca de ajuste del conjunto de elevación de la carcasa delantera para obtener la altura correcta para las puntas delanteras de las cuchillas izquierda y derecha de la carcasa central (Figura 73).
Mida la altura de la punta trasera.
Afine la posición de las tuercas de ajuste traseras según sea necesario. Puede utilizar el ajuste de un solo punto para aumentar las posibilidades de ajuste.
Mida hasta que los 4 lados tengan la altura correcta.
Apriete todas las contratuercas de los brazos de elevación de la carcasa.
Si los 4 mecanismos de ajuste de la carcasa (Figura 73) no tienen holgura suficiente para lograr la altura de corte precisa con la inclinación necesaria, puede utilizarse el sistema de ajuste de un solo punto.
Para ajustar el sistema de un solo punto, primero afloje los pernos de montaje delantero y trasero de la placa de altura de corte (Figura 73)
Afine la posición de las tuercas de ajuste traseras según sea necesario. Puede utilizar el ajuste de un solo punto para aumentar las posibilidades de ajuste.

Si la carcasa está demasiado baja, apriete el perno del ajuste de un solo punto girándolo en el sentido de las agujas del reloj (Figura 74).
Si la carcasa está demasiado alta, afloje el perno del ajuste de un solo punto girándolo en el sentido contrario a las agujas del reloj. Afloje los pernos de montaje delantero y trasero de la placa de altura de corte. Afine la posición de las tuercas de ajuste traseras según sea necesario. Puede utilizar el ajuste de un solo punto para aumentar las posibilidades de ajuste.
Note: Apriete o afloje el perno lo suficiente para desplazar los pernos de montaje de la pletina de altura de corte al menos ⅓ del recorrido posible en las ranuras correspondientes. De esta manera, será posible ajustar algo más en sentido vertical los 4 acoplamientos de la carcasa.

Apriete los pernos de montaje delantero y trasero de la placa de altura de corte a 37–45 N∙m (27 – 33 pies-libra).
Mida desde la superficie nivelada hasta la punta delantera de la cuchilla de la carcasa lateral izquierda.
Note: La distancia debe ser de 102 cm (4").
Mida desde la superficie nivelada hasta la punta delantera de la cuchilla de la carcasa lateral derecha.
Note: La distancia debe ser de 102 cm (4").
Note: Al igual que la carcasa central, en la mayoría de las condiciones debe ajustar las puntas traseras de las cuchillas de las carcasas laterales hasta que estén 6.4 mm (¼") más altas que las puntas delanteras.
Las carcasas laterales derecha e izquierda incorporan mecanismos de ajuste de la altura de las cuchillas, con puntos de ajuste delanteros y traseros. Para ajustar la altura de las cuchillas de las carcasas laterales, primero afloje las tuercas de montaje delanteras y traseras de las pletinas de suspensión/altura de corte. Hay 4 posiciones (2 en cada lado del canal), como se muestra en la Figura 75.

Si la carcasa está demasiado baja, apriete el perno de ajuste de altura delantero (Figura 75) girando la tuerca inferior en sentido horario.
Si la carcasa está demasiado alta, afloje el perno de ajuste de altura delantero (Figura 75) girando la tuerca inferior en sentido antihorario. Afine la posición de las tuercas de ajuste traseras según sea necesario.
Ajuste la altura de la rueda trasera (Figura 75) hasta que la rueda trasera apenas toque el suelo con una presión mínima.
Mida la parte trasera de las cuchillas laterales. Si cualquiera de las cuchillas tiene una inclinación de menos de 1.5 mm (1/16"), eleve la parte trasera de la carcasa apretando los ajustes traseros izquierdo y derecho (Figura 75) hasta que las 4 cuchillas tengan una inclinación mínima de 1.5 mm (1/16"). Ajuste las ruedas laterales traseras hasta que apenas toquen el suelo con una presión mínima. Apriete las 4 posiciones de montaje traseras de las pletinas de suspensión (Figura 75).
Apriete las contratuercas delanteras y traseras de las pletinas de suspensión/altura de corte.
Para garantizar una calidad de corte superior, mantenga afiladas las cuchillas. Para que el afilado y la sustitución sean más cómodos, conserve un stock de cuchillas de repuesto.
Aparque la máquina en una superficie nivelada, desengrane el mando de control de las cuchillas y ponga el freno de estacionamiento.
Pare el motor, retire la llave y espere a que se detengan todas las piezas en movimiento antes de abandonar el puesto del operador.
| Intervalo de mantenimiento y servicio | Procedimiento de mantenimiento |
|---|---|
| Cada vez que se utilice o diariamente |
|
Inspeccione los filos de corte (Figura 76).
Si los filos están romos o tienen muescas, retire la cuchilla y afílela; consulte Afilado de las cuchillas.
Inspeccione las cuchillas, especialmente en la parte curva.
Si observa fisuras, desgaste o la formación de una ranura en esta zona, instale de inmediato una cuchilla nueva (Figura 76).

Desengrane el mando de control de las cuchillas (TDF), ponga las palancas de control de movimiento en la posición de BLOQUEO/PUNTO MUERTO, y ponga el freno de estacionamiento.
Pare el motor, retire la llave y espere a que se detengan todas las piezas en movimiento antes de abandonar el puesto del operador.
Gire las cuchillas hasta que los extremos estén orientados hacia adelante y hacia atrás (Figura 77).
Mida desde una superficie nivelada hasta el filo de corte, posición A, de las cuchillas (Figura 77).

Gire hacia adelante los otros extremos de las cuchillas.
Mida desde una superficie nivelada hasta el filo de corte de las cuchillas en la misma posición que en el paso 4.
Note: La diferencia entre las dimensiones obtenidas en los pasos 4 y 5 no debe superar los 3 mm (⅛").
Note: Si esta dimensión es de más de 3 mm (⅛"), la cuchilla está doblada y debe ser cambiada.
Una cuchilla doblada o dañada podría romperse y podría causar graves lesiones o la muerte a usted o a otras personas.
Siempre sustituya una cuchilla doblada o dañada por una cuchilla nueva.
Nunca lime ni cree muescas afiladas en los bordes o en la superficie de la cuchilla.
Cambie las cuchillas si han golpeado un objeto sólido o si una cuchilla está desequilibrada o doblada.
Coloque una llave inglesa en la zona plana del eje o sujete el extremo de la cuchilla usando un trapo o un guante grueso.
Retire el perno de la cuchilla, el buje y la cuchilla del eje (Figura 78).

Utilice una lima para afilar el filo de corte en ambos extremos de la cuchilla (Figura 79).
Note: Mantenga el ángulo original.
Note: La cuchilla permanece equilibrada si se retira la misma cantidad de material de ambos bordes de corte.

Verifique el equilibrio de la cuchilla colocándola sobre un equilibrador de cuchillas (Figura 80).
Note: Si la cuchilla se mantiene horizontal, está equilibrada y puede utilizarse.
Note: Si la cuchilla no está equilibrada, rebaje algo el metal en la parte de la vela solamente con una lima (Figura 79).

Repita este procedimiento hasta que la cuchilla esté equilibrada.
Instale el buje a través de la cuchilla con la brida del buje en el lado inferior (lado del césped) de la cuchilla (Figura 81).

Instale el conjunto de buje/cuchilla en el eje (Figura 82).

Aplique lubricante o grasa de cobre a la rosca del perno de la cuchilla según sea necesario para evitar que se agarrote. Instale el perno de la cuchilla con los dedos solamente.
Coloque una llave inglesa en la zona plana del eje y apriete el perno de la cuchilla a 75–81 N∙m (55–60 pies-libra).
| Intervalo de mantenimiento y servicio | Procedimiento de mantenimiento |
|---|---|
| Cada 100 horas |
|
Desengrane el mando de control de las cuchillas (TDF), ponga las palancas de control de movimiento en la posición de BLOQUEO/PUNTO MUERTO, y ponga el freno de estacionamiento.
Pare el motor, retire la llave y espere a que se detengan todas las piezas en movimiento antes de abandonar el puesto del operador.
Eleve la carcasa central y pliegue las carcasas laterales presionando hacia abajo el interruptor de elevación de la carcasa.
Mantenga presionado el interruptor hasta que ambas carcasas laterales estén totalmente plegadas.
Empuje sobre las esquinas delanteras de la carcasa, cerca de los bujes inferiores.
Si hay más de 3 mm (⅛") de movimiento, será necesario cambiar los bujes.
Desengrane el mando de control de las cuchillas (TDF), ponga las palancas de control de movimiento en la posición de BLOQUEO/PUNTO MUERTO, y ponga el freno de estacionamiento.
Pare el motor, retire la llave y espere a que se detengan todas las piezas en movimiento antes de abandonar el puesto del operador.
Retire los pasadores y las chavetas de la posición de almacenamiento de las carcasas laterales, y guárdelos.
Asegúrese de que no hay nadie en las proximidades de las carcasas laterales.
Mantenga pulsada la parte superior del interruptor de control de la carcasa; la carcasa central se elevará primero, luego las carcasas laterales.
Sujete cada carcasa lateral en posición vertical con los pasadores y las chavetas.
Afloje los pernos que fijan los pasadores de giro superiores a la carcasa, pero no retire los pernos (Figura 83).

Retire y guarde los pasadores y las chavetas de las carcasas laterales.
Retire el pasador de altura de corte de la placa de elevación de la carcasa, en el lado derecho de la carcasa central.
Baje las carcasas laterales, pero no las lleve a la posición de operación.
Retire y guarde los pasadores de seguridad del protector de la correa, el protector de la correa y la correa de ambas carcasas laterales.
Retire y guarde las chavetas de bloqueo y los pasadores de los cilindros que sujetan los extremos de los vástagos de los cilindros de plegado a las carcasas laterales (Figura 84).
Note: No mueva las carcasas laterales a la posición de operación para retirar los pasadores de los cilindros.

Retire y guarde los pernos que sujetan los pasadores de giro superiores a la carcasa, y luego retire los pasadores de giro (Figura 85).

Tire de la carcasa lateral hacia fuera para separarla de la carcasa central (Figura 85).
Retire los bujes con brida de los puntos de giro superiores y limpie el orificio (Figura 86).

Aplique un cordón fino de Loctite® 680 a toda la circunferencia del borde trasero de los bujes nuevos.
Introduzca los bujes nuevos en el orificio, golpeándolos suavemente, y asiéntelos correctamente.
Coloque un bloque de madera debajo del borde interior de la carcasa central para facilitar el trabajo en los bujes de los puntos de giro inferiores.
Retire y guarde los pernos de los puntos de giro inferiores (Figura 83 y Figura 86).
Retire y deseche el buje con brida de la parte delantera y trasera de la carcasa lateral, y limpie el orificio.
Aplique un cordón fino de Loctite® 680 a toda la circunferencia del borde trasero de los bujes nuevos.
Introduzca los bujes nuevos en el orificio, golpeándolos suavemente, y asiéntelos correctamente.
Instale los pasadores y los pernos inferiores en los puntos de giro inferiores de la carcasa, y apriételos a mano.
Para facilitar la instalación de las carcasas laterales, retire cuidadosamente el extremo expuesto del muelle que aplica presión a la parte trasera de la cubierta de la carcasa lateral (Figura 87).

Empuje la carcasa lateral izquierda hacia la carcasa central.
Alinee e instale los pasadores de giro superiores en la parte delantera y trasera de la carcasa, y sujételos con los pernos que se retiraron anteriormente (Figura 85).
Alinee el brazo del cilindro de elevación e instale el pasador, asegurándose de que la pestaña de bloqueo está alineada con el orificio correspondiente del soporte.
Instale el pasador de bloqueo para sujetarlo.
Conecte el muelle que se retiró en el paso 23, que aplica presión a la parte trasera de la cubierta de la carcasa lateral.
Instale las correas de las carcasas laterales.
Instale los protectores de las correas de las carcasas laterales y fíjelos con los pasadores de seguridad.
Eleve las carcasas laterales a la posición de TRANSPORTE y sujételas con los pasadores y las chavetas.
Instale el pasador de altura de corte.
| Intervalo de mantenimiento y servicio | Procedimiento de mantenimiento |
|---|---|
| Cada 200 horas |
|
Aparque la máquina en una superficie nivelada, desengrane el mando de control de las cuchillas y ponga el freno de estacionamiento.
Pare el motor, retire la llave y espere a que se detengan todas las piezas en movimiento antes de abandonar el puesto del operador.
Retire el tapón guardapolvo de la rueda giratoria y apriete la contratuerca (Figura 88).
Apriete la contratuerca hasta que las arandelas de muelle estén planas, luego afloje ¼ de vuelta para establecer la pre-carga correcta de los cojinetes (Figura 88).
Important: Asegúrese de que las arandelas de muelle están correctamente instaladas, según se muestra en Figura 88.
Coloque el tapón anti-polvo (Figura 88).

| Intervalo de mantenimiento y servicio | Procedimiento de mantenimiento |
|---|---|
| Cada vez que se utilice o diariamente |
|
Aparque la máquina en una superficie nivelada, desengrane el mando de control de las cuchillas (TDF) y ponga el freno de estacionamiento.
Pare el motor, retire la llave y espere a que se detengan todas las piezas en movimiento antes de abandonar el puesto del operador.
Elimine cualquier acumulación de aceite, residuos o hierba en la máquina y la carcasa de corte, sobre todo debajo de las cubiertas de las correas de la carcasa, alrededor del depósito de combustible, y alrededor del motor y del sistema de escape.
Eleve la carcasa central y las carcasas laterales. Bloquee cada carcasa lateral en posición vertical.
Elimine cualquier acumulación de hierba de la parte inferior de la carcasa y del deflector de descarga.
| Intervalo de mantenimiento y servicio | Procedimiento de mantenimiento |
|---|---|
| Cada vez que se utilice o diariamente |
|
Elimine los residuos de las cubiertas de refrigeración del ventilador hidrostático, las aletas y el ventilador, para que el sistema hidrostático funcione a menor temperatura, lo que alargará su vida.
Aparque la máquina en una superficie nivelada, desengrane el mando de control de las cuchillas y ponga el freno de estacionamiento.
Pare el motor, retire la llave y espere a que se detengan todas las piezas en movimiento antes de abandonar el puesto del operador.
Deslice el asiento hacia atrás del todo, levante el asiento para tener acceso a la zona de las transmisiones hidrostáticas izquierda y derecha.
Elimine cualquier residuo de los protectores de refrigeración del ventilador hidrostático, las aletas de refrigeración y el ventilador.
El aceite de motor, las baterías, el fluido hidráulico y el refrigerante del motor son contaminantes medioambientales. Elimínelos de acuerdo con la normativa estatal y local.
Apague el motor, retire la llave y espere a que se detengan todas las piezas en movimiento antes de abandonar el puesto del operador. Deje que se enfríe la máquina antes de hacer trabajos de ajuste, mantenimiento, limpieza o almacenamiento.
No guarde la máquina o el combustible cerca de llamas, y no drene el combustible dentro de un edificio o dentro de un remolque cerrado.
No guarde la máquina o un recipiente de combustible en un lugar donde pudiera haber una llama desnuda, chispas o una llama piloto, por ejemplo en un calentador de agua u otro electrodoméstico.
Desengrane la toma de fuerza (TDF), ponga el freno de estacionamiento, gire la llave de contacto a DESCONECTADO y retire la llave.
Retire los recortes de hierba, la suciedad y la mugre de las piezas externas de toda la máquina, especialmente el motor y el sistema hidráulico. Limpie la suciedad y la broza de la parte exterior del alojamiento de las aletas de la culata de cilindros del motor y del soplador.
Important: La máquina puede lavarse con un detergente suave y agua. No lave la máquina a presión. Evite el uso excesivo de agua, especialmente cerca del panel de control, el motor, las bombas hidráulicas y los motores eléctricos.
Compruebe el freno; consulte Mantenimiento de los frenos.
Revise el limpiador de aire; consulte Mantenimiento del limpiador de aire.
Engrase la máquina; consulte Lubricación.
Cambie el aceite de motor y el filtro; consulte Mantenimiento del aceite del motor.
Compruebe la presión de los neumáticos; consulte Comprobación de la presión de los neumáticos.
Cambie el fluido hidráulico y el filtro; consulte Cambio del fluido hidráulico y del filtro.
Cargue la batería; consulte Cómo cargar la batería.
Rasque cualquier acumulación importante de hierba y suciedad de los bajos del cortacésped, luego lávelo con una manguera de jardín.
Note: Haga funcionar la máquina con el mando de control de las cuchillas (TDF) engranado y el motor en ralentí alto durante 2 a 5 minutos después del lavado.
Compruebe la condición de las cuchillas; consulte Mantenimiento de las cuchillas de corte.
Prepare la máquina para su almacenamiento cuando no la vaya a utilizar durante 30 días. Prepare la máquina para el almacenamiento de la manera siguiente:
Haga funcionar el motor para distribuir el combustible con acondicionador por todo el sistema de combustible durante 5 minutos.
Pare el motor, deje que se enfríe y drene el depósito de combustible.
Note: Arranque el motor y hágalo funcionar hasta que se pare.
Deseche el combustible adecuadamente. Recíclelo según la normativa local.
Important: No guarde el combustible con estabilizador/acondicionador durante más tiempo que el recomendado por el fabricante del estabilizador de combustible.
Revise y apriete todos los pernos, tuercas y tornillos. Repare o sustituya cualquier pieza dañada.
Pinte las superficies que estén arañadas o donde esté visible el metal. Puede adquirir la pintura en su Servicio Técnico Autorizado.
Guarde la máquina en un garaje o almacén seco y limpio. Retire la llave de contacto y guárdela fuera del alcance de niños u otros usuarios no autorizados. Cubra la máquina para protegerla y para conservarla limpia.
| Problem | Possible Cause | Corrective Action |
|---|---|---|
| El motor de arranque no gira. |
|
|
| El motor no arranca, arranca con dificultad, o no sigue funcionando. |
|
|
| El motor pierde potencia. |
|
|
| El motor se sobrecalienta. |
|
|
| No es posible conducir la máquina. |
|
|
| La máquina se desvía a la derecha o a la izquierda (con las palancas de control de movimiento totalmente hacia adelante). |
|
|
| Hay una vibración anormal. |
|
|
| Al segar se produce una altura de corte desigual. |
|
|
| Las cuchillas no giran. |
|
|
| El embrague no se engrana. |
|
|
| La carcasa no se eleva ni baja. |
|
|


