Karbantartás
A nyíróegység alátámasztása
Amikor a nyíróegységet fel kell billenteni a fenékkéshez/hengerkéshez való hozzáféréshez, támassza alá a nyíróegység hátulját a kihajtható támasszal (a vontatóegység tartozéka), de úgy, hogy a fenékkésrúd-állító csavar hátsó végén az anyák ne érjenek a munkafelülethez (Ábra 21).

A nyíróegységek kenése
Pumpáljon rendszeresen 2. sz lítiumos kenőzsírt a nyíróegységek 5 zsírzószemébe (Ábra 22).
Az első hengernél 2, a hátsó hengernél 2, a hengerkésmotor bordáinál pedig 1 kenési pont található.
Note: Ha a lemosást követően rögtön elvégzi a nyíróegység kenését, azzal segít vízteleníteni a csapágyakat és meghosszabbítani a csapágyak élettartamát.
-
Törölje le mindegyik zsírzószemet tiszta ronggyal.
-
Addig pumpálja a zsírt, amíg tiszta zsírt nem lát kijönni a henger tömítéseinél és a csapágy biztonsági szelepénél.
-
Törölje le a felesleges zsírt.

A fenékkés műszaki adatai
A fenékkés szervizelése
A fenékkésrúd/fenékkés szerelvény eltávolítása
-
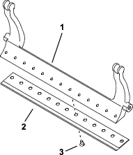
A fenékkésrúd-állító csavarokat balra elforgatva távolítsa el a fenékkést a hengerkéstől (Ábra 23).

-
Lazítson annyit a rugófeszítő anyán, hogy az alátét már ne szoruljon neki a fenékkésrúdnak (Ábra 23).
-
Lazítsa meg a fenékkésrúdcsavart rögzítő anyát a gép mindkét oldalán (Ábra 24).

-
Szerelje ki mindkét fenékkésrúdcsavart, hogy a fenékkésrúd lefelé húzva eltávolítható legyen a nyíróegységről (Ábra 24).
Ügyeljen a 2 nejlon alátétre és az 1 acél alátétre a fenékkésrúd két oldalán (Ábra 25).

-
Távolítsa el a fenékkést a fenékkésrúdról az azt rögzítő összes csavar eltávolításával. Használjon dugókulcsot a fenékkéscsavar-szerszámmal (cikksz. TOR510880).
Note: A fenékkéscsavarok meglazításához mechanikus és pneumatikus ütvecsavarozót is használhat.
Note: A fenékkéseket és a csavarokat selejtezze.
Az új fenékkések felszerelése
-
Válasszon ki egy új fenékkést a Vágásmagasság- és fenékkés-kiválasztó táblázatok alapján.
-
Távolítsa el a rozsdát és egyéb lerakódásokat a fenékkésről, és vonja be vékony réteg olajjal a felületét.
Important: Ne távolítsa el az öntvényanyagot a fenékkésrúdról. A fenékkés középen eleve homorú; ne köszörülje.
-
Tisztítsa meg a fenékkésrúdban a meneteket.
-
Kenjen beragadásgátló pasztát az új fenékkéscsavarokra, majd szerelje fel a fenékkést a fenékkésrúdra.
Important: Csak új fenékkéscsavarokat használjon.
Note: A csavarok mennyisége a fenékkés függvényében eltérő.

-
Húzza meg a 2 külső csavart 1 Nm nyomatékkal.
-
A fenékkés közepétől kezdve húzza meg a csavarokat 29,8 +/– 1 Nm nyomatékkal.
Important: Ne mechanikus vagy pneumatikus ütvecsavarozóval húzza meg a fenékkéscsavarokat.

-
Köszörülje meg az új fenékkést; lásd Fenékkés szervizelési táblázat.
Fenékkés szervizelési táblázat
Az alábbi táblázat a fenékkés szervizelési határértékeit tartalmazza.
Important: Ha a nyíróegységet a fenékkés szervizelési határértéke alatt használja, a nyíráskép és a fenékkés ütésekkel szembeni szerkezeti épsége is romlik.
| Fenékkés szervizelési táblázat | ||||
| Fenékkés | Cikkszám | A fenékkés élmagassága | Szervizelési határérték* | Köszörülési szögekFelső/első szög |
| Tournament (választható) | 147-1256 (46 cm-es)147-1257 (56 cm-es) | 4,3 mm | 3,4 mm | 5°/5° |
| Kis vágásmagasság (03489 típus) | 121–3167 (46 cm-es)147–1244 (56 cm-es) | 5,6 mm | 4,8 mm | 10°/5° |
| EdgeMax®, kis vágásmagasság (03485 típus)(03487 típus) | 137-6090 (46 cm-es)137-6093 (56 cm-es) | 5,6 mm | 4,8 mm | 10°/5° |
| Megnövelt kis vágásmagasság (külön kapható) | 147–1243 (56 cm-es) | 5,6 mm | 4,8 mm | 10°/10° |
| Megnövelt kis vágásmagasságú EdgeMax® (külön kapható) | 119–4280 (56 cm-es) | 5,6 mm | 4,8 mm | 10°/10° |
| EdgeMax® (03484 típus)(03486 típus) | 137-6091 (46 cm-es)137-6094 (56 cm-es) | 6,9 mm | 4,8 mm | 10°/5° |
| Normál (külön kapható) | 147–1241 (46 cm-es)147–1245 (56 cm-es) | 6,9 mm | 4,8 mm | 10°/5° |
| Heavy Duty (nagy teljesítményű, külön kapható) | 147–1246 (56 cm-es) | 9,3 mm | 4,8 mm | 10°/5° |
A fenékkés javasolt felső és elülső köszörülési szöge (Ábra 28)

Note: Az összes szervizelési határértékét a fenékkés alsó síkjától kell mérni (Ábra 29)

A felső köszörülési szög ellenőrzése
A fenékkés élezésénél nagyon fontos a köszörülési szög szerepe.
A szögmérő (Toro-cikkszám: 131-6828) és a szögmérőtartó (Toro-cikkszám: 131-6829) segítségével ellenőrizheti a köszörült szöget, és helyesbítheti az esetleges pontatlanságot.
-
Helyezze a szögmérőt a fenékkés aljára a Ábra 30 szerint.

-
Nyomja meg a szögmérő nullázó gombját.
-
Helyezze a szögmérőtartót a fenékkés aljára úgy, hogy a mágnes széle a fenékkés élére feküdjön fel (Ábra 31).
Note: A digitális kijelzőnek ugyanarról az oldalról kell láthatónak lennie, mint az 1. lépésnél.

-
Helyezze a szögmérőt a tartóra a Ábra 31 szerint.
Note: Ez az a szög, amelyet a köszörűgép hoz létre, és amely a javasolt értéktől legfeljebb 2°-kal térhet el.
A fenékkésrúd/fenékkés szerelvény felszerelése
-
Szerelje fel a fenékkésrúd/fenékkés szerelvényt az alátét és a fenékkésrúd-beállító csavar közé illesztve.
Important: Igazítsa középre a fenékkésrúd fülein lévő DPA-beállítókat a Ábra 32 szerint.Ha a DPA-beállítók a fenékkésrúd fülei mellé vannak szerelve, az negatívan érintheti a fenékkés-hengerkés kapcsolatot.

-
Rögzítse a fenékkésrudat az oldalsó lemezekhez a fenékkésrúdcsavarok (anyákkal a csavarokon) és az oldalanként 3 (összesen 6) alátét segítségével.
-
Tegyen nejlon alátétet az oldalsó lemez nyúlványának mindkét oldalára. Tegyen acél alátétet a nejlon alátétek külső oldalára (Ábra 25).
-
Húzza meg a fenékkésrúdcsavarokat 37–45 Nm nyomatékkal.
-
Lassan húzza meg a fenékkésrudat rögzítő anyát, amíg a külső acél alátéteket tudja kézzel forgatni.
Important: Ne húzza meg túlságosan a rögzítőanyákat, mert meggörbíthetik az oldalsó lemezeket.
Note: A fenékkésrúd és az oldalsó lemez közötti nejlon alátéten lesz egy kis hézag.
-
Húzza meg a rugófeszítő anyát annyira, hogy a rugó teljesen összenyomódjon, majd engedjen vissza ½ menetet (Ábra 33).

A hengerkés műszaki adatai
A hengerkés hátraköszörülése
Új hengerkésnél a profilszélesség 1,3–1,5 mm, a hátraköszörülési szög pedig 30°-os.
Ha a profilszélesség 3 mm-nél nagyobbra nő, végezze el az alábbi eljárást:
-
Végezzen 30°-os hátraköszörülést az összes hengerkéspengén, amíg ki nem alakul az 1,3 mm profilszélesség (Ábra 34 és Ábra 35).


-
Köszörülje meg forgatva a hengerkést, hogy az ütése < 0,025 mm legyen.
Note: Ettől a profilszélesség kissé megnő.
Note: A hengerkés és a fenékkés élességének minél hosszabb megőrzése érdekében – a hengerkés vagy a fenékkés megköszörülése után – 2 rend lenyírását követően ellenőrizze újra a hengerkés és a fenékkés érintkezésének beállítását, hogy minden sorja el legyen távolítva, mivel azok helytelen érintkezési hézagot eredményezhetnek, és ezért felgyorsíthatják a kopást.
-
Mérje meg erre alkalmas mérőszalaggal a hengerkés külső átmérőjét annak mindkét végén (Ábra 36); hengerkés külső átmérőjének a két végén megállapított értéke közti eltérés nem érheti el a 0,250 mm-t. Ha az eltérés ennél nagyobb, köszörülje le a különbséget.
Note: A Toro-forgalmazónál kapható mérőszalag a külső átmérő méréséhez.

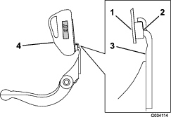
A kétpontos HD-állítószerkezetek (DPA) szervizelése
-
Távolítsa el az összes alkatrészt (a HD DPA-készlet Felszerelési utasításai és a Ábra 37 alapján).
-
Kenjen beragadásgátló pasztát a nyíróegység központi vázán a persely helyére (Ábra 37).
-
Igazítsa a karimás perselyek ékét a váz réséhez, majd szerelje be a perselyeket (Ábra 37).
-
Szereljen fel egy hullámos alátétet az állítótengelyre, majd csúsztassa be az állítótengelyt a nyíróegység vázának karimás perselyeibe (Ábra 37).
-
Rögzítse az állítótengelyt lapos alátét és rögzítőanya segítségével (Ábra 37).
-
Húzza meg a rögzítőanyát 20–27 Nm nyomatékkal.
Note: A fenékkésrúd-állító tengely balmenetes.

-
Vigyen fel beragadásgátló pasztát az állítótengelybe szerelendő fenékkésrúd-állító csavar meneteire.
-
Hajtsa be a fenékkésrúd-állító csavart az állítótengelybe.
-
Szerelje fel az edzett alátétet, a rugót és a rugófeszítő anyát az állítócsavarra, de ne szorosan.
-
Szerelje fel a fenékkésrudat a rögzítőfüleket az alátét és a fenékkésrúd-beállító szerkezet közé illesztve.
-
Rögzítse a fenékkésrudat az oldalsó lemezekhez a fenékkésrúdcsavarok (anyákkal a csavarokon) és a 6 alátét segítségével.
Note: Tegyen nejlon alátétet az oldalsó lemez nyúlványának mindkét oldalára.
-
Tegyen acél alátétet a nejlon alátétek külső oldalára (Ábra 37).
-
Húzza meg a fenékkésrúdcsavarokat 37–45 Nm nyomatékkal.
-
Húzza meg a rögzítőanyákat annyira, hogy a külső acél alátét már ne tudjon elforogni, és ne legyen tengelyirányú játék, de ne húzza túl a rögzítőanyákat, mert az oldalsó lemezek elgörbülhetnek.
Note: A belső alátéteknél hézag is lehet (Ábra 37).
-
Húzza meg az anyát mindkét fenékkésrúd-beállító egységen annyira, hogy a rugó teljesen összenyomódjon, majd engedjen vissza ½ menetet (Ábra 37).
-
Ismételje meg az eljárást a nyíróegység másik oldalán is.
-
A fenékkés beállítása a hengerkéshez; lásd: A fenékkés beállítása a hengerkéshez.
A henger szervizelése
A henger szervizeléséhez hengerfelújító készlet (cikkszám: 114-5430) és hengerfelújító szerszámkészlet (cikkszám: 115-0803) (Ábra 38) kapható. A hengerfelújító készlet tartalmazza a henger felújításához szükséges összes csapágyat, csapágyanyát, belső tömítést és külső tömítést. A hengerfelújító szerszámkészlet minden szerszámot és szerelési utasítást tartalmaz a hengernek a henger felújító készlettel történő felújításához. Segítségért tekintse át az alkatrész-katalógust vagy forduljon a hivatalos Toro-forgalmazóhoz.



), amelynek jelentése lehet Figyelem, Vigyázat
vagy Veszély – személyes biztonsági utasítások.
Az utasítások be nem tartása személyi
sérülést vagy halált okozhat.

















