Техническое обслуживание
Поддержка режущего блока с помощью опоры
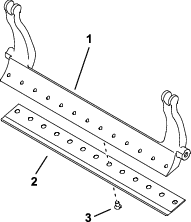
Если режущий блок необходимо наклонить, чтобы получить доступ к неподвижному ножу / барабану, приподнимите заднюю часть режущего блока с помощью откидной подставки (поставляется с тяговым блоком), чтобы убедиться в том, что гайки с обратной стороны регулировочных винтов планки неподвижного ножа не упираются в рабочую поверхность (Рисунок 21).

Смазывание режущих блоков
Регулярно закачивайте в 5 масленок, расположенных на каждом режущем блоке (Рисунок 22), литиевую смазку № 2.
Две точки смазки расположены на переднем валике, две – на заднем валике и одна – на шлице двигателя барабана.
Note: Смазка режущих блоков непосредственно после их промывки поможет удалить воду из подшипников и продлить срок их службы.
-
Протрите все масленки чистой ветошью.
-
Вводите смазку до появления чистой смазки из уплотнений роликов и предохранительного клапана подшипника.
-
Удалите излишки смазки.

Технические характеристики неподвижных ножей
Обслуживание неподвижного ножа
Демонтаж неподвижного ножа/Неподвижный нож в сборе
-
Поверните регулировочные винты планки неподвижного ножа против часовой стрелки, чтобы отодвинуть неподвижный нож от барабана (Рисунок 23).

-
Ослабьте гайку натяжения пружины так, чтобы шайба не нажимала на планку неподвижного ножа (Рисунок 23).
-
С каждой стороны машины ослабьте контргайку, крепящую болт планки неподвижного ножа (Рисунок 24).

-
Выверните все болты планки неподвижного ножа, потяните планку вниз и отсоедините от режущего блока (Рисунок 24).
Не забудьте о наличии 2 нейлоновых шайб и 1 стальной шайбы с каждой стороны планки неподвижного ножа (Рисунок 25).

-
Снимите неподвижный нож с планки неподвижного ножа, открутив все винты, которые удерживают его на месте. Используйте торцевой ключ с инструментом для винтов неподвижного ножа (номер детали TOR510880).
Note: Вы можете использовать механический или пневматический гаечный ключ для откручивания винтов неподвижного ножа.
Note: Удалите в отходы неподвижный нож и винты.
Установка новго неподвижного ножа.
-
Выберите новый неподвижный нож согласно Таблицы выбора высоты скашивания и неподвижного ножа.
-
Удалите ржавчину, окалину и коррозию с поверхности планки неподвижного ножа и нанесите тонкий слой масла на его поверхность.
Important: Не удаляйте литьевой материал с планки неподвижного ножа. Планка неподвижного ножа преднамеренно вогнута посередине; не выравнивайте ее.
-
Очистите резьбы в планке неподвижного ножа.
-
Нанесите противозадирный состав на новые винты неподвижного ножа и установите неподвижный нож на планку неподвижного ножа.
Important: Используйте только новые винты неподвижного ножа.
Note: Количество винтов варьируется в зависимости от планки неподвижного ножа.

-
Затяните 2 наружных винта с моментом 1 Н∙м.
-
Затяните винты с моментом 29,8 +/- 1 Н∙м, начиная от середины неподвижного ножа.
Important: Не затягивайте винты неподвижного ножа, используя механический или пневматический ударный гаечный ключ.

-
Заточите новый неподвижный нож; см Таблица эксплуатационного предела неподвижного ножа.
Таблица эксплуатационного предела неподвижного ножа
Эксплуатационные пределы неподвижного ножа приведены в следующей таблице.
Important: Эксплуатация режущего блока с неподвижным ножом, параметры которого ниже «эксплуатационного предела», может привести к неудовлетворительному результату скашивания и снижению прочности конструкции неподвижного ножа при ударах.
| Таблица эксплуатационного предела неподвижного ножа | ||||
| Неподвижный нож | № по каталогу | Высота режущей кромки неподвижного ножа | Эксплуатационный предел* | Углы заточки Верхний/ передний углы |
| Tournament (опциональный) | 147-1256 (46 см) 147-1257 (56 см) | 4,3 мм{ | 3,4 мм{ | 5/5 градусов |
| Низкая высота скашивания (модель 03489) | 121-3167 (46 см) 147-1244 (56 см) | 5,6 мм | 4,8 мм | 10/5 градусов |
| Низкая высота скашивания EdgeMax® (модель 03485)(модель 03487) | 137-6090 (46 см) 137-6093 (56 см) | 5,6 мм | 4,8 мм | 10/5 градусов |
| Расширенная низкая высота скашивания (дополнительно) | 147-1243 (56 см) | 5,6 мм | 4,8 мм | 10/10 градусов |
| Расширенная низкая высота скашивания EdgeMax® (дополнительно) | 119-4280 (22 дюйма) | 5,6 мм | 4,8 мм | 10/10 градусов |
| EdgeMax® (модель 03484)(Модель 03486) | 137-6091 (46 см) 137-6094 (56 см) | 6,9 мм | 4,8 мм | 10/5 градусов |
| Стандартный (дополнительно) | 147-1241 (46 см) 147-1245 (56 см) | 6,9 мм | 4,8 мм | 10/5 градусов |
| Для сложных условий работы (дополнительно) | 147-1246 (56 см) | 9,3 мм | 4,8 мм | 10/5 градусов |
Рекомендованные верхние и передние углы заточки неподвижного ножа (Рисунок 28)

Note: Все измерения эксплуатационного предела неподвижного ножа выполняются относительно нижней части неподвижного ножа (Рисунок 29).

Проверка верхнего угла заточки
Угол заточки неподвижных ножей очень важен.
С помощью индикатора угла (№ детали 131-6828 по каталогу Toro) и крепления для индикатора угла (номер детали 131-6829 по каталогу Toro) проверьте угол, который обеспечивает устройство для заточки, и при несовпадении скорректируйте его.
-
Установите индикатор угла на нижней стороне неподвижного ножа, как показано на Рисунок 30.

-
Нажмите кнопку Alt Zero (Нулевая высота) на индикаторе угла.
-
Установите крепление индикатора угла на кромке неподвижного ножа так, чтобы кромка магнита совпала с кромкой неподвижного ножа (Рисунок 31).
Note: При выполнении действий, описанных в данном пункте, цифровой дисплей должно быть видно с той же стороны, что и при выполнении действий, описанных в пункте 1.

-
Установите индикатор угла на крепление, как показано на Рисунок 31.
Note: Угол, получаемый с помощью устройства для заточки, не должен отличаться более чем на 2 градуса от рекомендованного верхнего угла заточки.
Установка планки неподвижного ножа / неподвижного ножа в сборе
-
Установите планку неподвижного ножа / неподвижный нож в сборе, расположив монтажные проушины между шайбами и регулировочным винтом планки неподвижного ножа.
Important: Выровните регуляторы DPA по центрам проушин планки неподвижного ножа, как показано на Рисунок 32.Если регуляторы DPA установлены напротив проушин планки неподвижного ножа, это может отрицательно повлиять на контакт неподвижного ножа с барабаном.

-
Прикрепите планку неподвижного ножа к боковым пластинам с помощью болтов планки неподвижного ножа (гаек на болтах) и 3 шайб (всего 6 шт.).
-
С каждой стороны установите нейлоновую шайбу на выступ боковой пластины. На нейлоновые шайбы установите стальные шайбы (Рисунок 25).
-
Затяните болты планки неподвижного ножа с моментом от 37 до 45 Н∙м.
-
Медленно затяните контргайки планки неподвижного ножа до тех пор, пока наружные стальные шайбы не будут вращаться вручную.
Important: Во избежание деформации боковых пластин не затягивайте контргайки слишком сильно.
Note: Нейлоновая шайба между планкой неподвижного ножа и боковой пластиной будет иметь небольшой зазор.
-
Затяните гайку натяжения пружины так, чтобы пружина полностью сжалась, затем отверните ее на 1/2 оборота (Рисунок 33).

Технические данные барабана
Затыловочное шлифование барабана
Ширина витка нового барабана составляет от 1,3 до 1,5 мм, он заточен затыловочным шлифованием под 30 градусов.
Если ширина витка превышает 3 мм, выполните следующее:
-
Выполните затыловочное шлифование с задним углом 30° всех ножей барабана таким образом, чтобы достичь ширины витка 1,3 мм (Рисунок 34 и Рисунок 35).


-
Выполните шлифование методом вращения барабана, чтобы биение барабана было меньше 0,025 мм.
Note: При этом ширина витка немного увеличится.
Note: Чтобы кромки барабана и неподвижного ножа оставались острыми в течение максимально продолжительного периода времени после шлифования барабана и/или неподвижного ножа, проверьте контакт барабана с неподвижным ножом еще раз после скашивания двух фарвеев, так как при этом будут удалены любые оставшиеся заусенцы, что может привести к нарушению зазора между барабаном и неподвижным ножом и тем самым ускорить износ.
-
Используя рулетку для измерения диаметров, измерьте наружный диаметра барабана на обоих концах (Рисунок 36); разница наружных диаметров на разных концах должна быть меньше 0,010 дюйма (0,250 мм). Если разница больше, заточите, чтобы устранить ее.
Note: Рулетку для измерения наружных диаметров можно приобрести у официального дистрибьютора компании Toro.

Обслуживание HD системы двухточечной регулировки (DPA)
-
Снимите все детали (см. Инструкции по установке для HD комплекта DPA и Рисунок 37).
-
Нанесите противозадирный состав на внутреннюю поверхность втулки на центральной раме режущего блока (Рисунок 37).
-
Совместите шпонки фланцевых втулок с прорезями в раме и установите втулки (Рисунок 37).
-
Установите волнистую шайбу на вал регулятора и вставьте вал регулятора во фланцевые втулки, установленные в раме режущего блока (Рисунок 37).
-
Закрепите шпиндель регулятора с помощью плоской шайбы и контргайки (Рисунок 37).
-
Затяните контргайку с моментом от 20 до 27 Н∙м.
Note: Шпиндель регулятора планки неподвижного ножа имеет левостороннюю резьбу.

-
Нанесите противозадирный состав на резьбу винта регулятора планки неподвижного ножа, который вставляется в вал регулятора.
-
Заверните винт регулятора планки неподвижного ножа в вал регулятора.
-
Установите на винт регулятора, не затягивая, закаленную шайбу, пружину и гайку натяжения пружины.
-
Установите неподвижный нож, расположив монтажные проушины между шайбой и регулятором неподвижного ножа.
-
Прикрепите планку неподвижного ножа к боковым пластинам с помощью болтов планки неподвижного ножа (гаек на болтах) и 6 шайб.
Note: Установите нейлоновую шайбу с каждой стороны выступа боковой пластины.
-
На нейлоновые шайбы установите стальные шайбы (Рисунок 37).
-
Затяните болты планки неподвижного ножа с моментом от 37 до 45 Н∙м.
-
Затяните контргайки так, чтобы наружные стальные шайбы перестали вращаться и осевой люфт был устранен, но не перетягивайте и не деформируйте боковые пластины.
Note: На внутренней стороне пластин шайбы могут быть установлены с зазором (Рисунок 37).
-
Затяните гайку на каждом узле регулировки планки неподвижного ножа до полного сжатия пружины, а затем отпустите гайку на ½ оборота (Рисунок 37).
-
Повторите эту процедуру на другой стороне режущего блока.
-
Отрегулируйте контакт барабана с неподвижным ножом; см. Регулировка контакта барабана с неподвижным ножом.
Обслуживание валика
Для обслуживания валика предусмотрены ремонтный комплект валика (номер по каталогу 114-5430) и набор инструментов для ремонта валика (номер по каталогу 115-0803) (Рисунок 38). Ремонтный комплект валика включает в себя все подшипники, гайки подшипника, внутренние и внешние уплотнения для ремонта валика. Набор инструментов для ремонта валика включает в себя все инструменты и инструкции, необходимые для ремонта валика с помощью ремонтного комплекта. См. каталог запасных частей для вашей машины или свяжитесь с официальным дистрибьютором компании Toro для получения помощи.



которые
имеют следующее
значение: «Осторожно!»,
«Внимание!» или
«Опасно!» – указания
по обеспечению
личной безопасности.
Несоблюдение данных
инструкций может
стать причиной
травмы или гибели.

















