Vzdrževanje
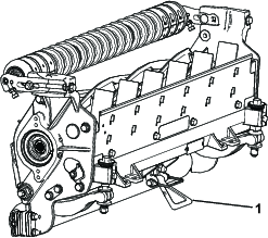
Opora za rezalno enoto
Če je treba rezalno enoto nagniti, da se pokaže spodnji nož/vreteno, podstavite stojalo (ki je priloženo vlečni enoti) pod zadnji del rezalne enote, da tako zagotovite, da se matice na zadnji strani vijakov za prilagoditev spodnje prečke ne naslanjajo na delovno površino (Diagram 21).

Mazanje rezalnih enot
Redno namažite 5 mazalk vsake rezalne enote (Diagram 22) z litijevo mastjo št. 2.
Dve mazalni mesti se nahajata na sprednjem valju, dve na zadnjem valju in ena na utoru motorja vretena.
Note: Mazanje rezalnih enot takoj po pranju pomaga očistiti vodo iz ležajev in podaljša življenjsko dobo ležajev.
-
Vsako mazalko obrišite s čisto krpo.
-
Mazivo nanašajte, dokler iz tesnil valja in varnostnega ventila ležajev ne začne teči čisto mazivo.
-
Odvečno mazivo obrišite.

Specifikacije za spodnji nož
Servisiranje spodnjega noža
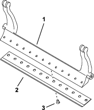
Odstranitev sklopa spodnje prečke/spodnjega noža
-
Obrnite vijake za nastavitev spodnje prečke v nasprotni smeri urinega kazalca, da se spodnji nož odmakne od vretena (Diagram 23).

-
Odmikajte matico za napenjanje vzmeti, dokler podložka ni več napeta ob spodnjo prečko (Diagram 23).
-
Na vsaki strani stroja popustite varovalno matico, ki pritrjuje vijak spodnje prečke (Diagram 24).

-
Odstranite vsak vijak spodnje prečke tako, da lahko nosilec potegnete navzdol in ga odstranite z vijaka stroja (Diagram 24). Pazite na 2 najlonski podložki in 1 žigosano jekleno podložko na vsakem koncu spodnje prečke (Diagram 25).

-
Odstranite spodnji nož s spodnje prečke tako, da odstranite vse vijake, ki ga držijo na mestu. Uporabite nasadni ključ z orodjem za vijake spodnjega noža (št. dela TOR510880).
Note: Za odvijanje vijakov spodnjega noža lahko uporabite mehanski ali pnevmatski udarni ključ.
Note: Spodnji nož in vijake zavrzite.
Namestitev novega spodnjega noža
-
Izberite nov spodnji nož v skladu z Tabele za nastavitev višine košnje in izbiro spodnjega noža.
-
Odstranite rjo, vodni kamen in korozijo s površine spodnje prečke in nanjo nanesite tanek sloj olja.
Important: Ne odstranjujte ulitega materiala s spodnje prečke. Spodnja prečka je na sredini konkavna; ne brusite je.
-
Očistite navoje na spodnji prečki.
-
Na nove vijake noža kosilnice nanesite sredstvo za zatesnitev in namestite spodnji nož na spodnjo prečko.
Important: Uporabljajte samo nove vijake za spodnji nož.
Note: Število vijakov se razlikuje glede na spodnjo prečko.

-
Zategnite 2 zunanja vijaka z zateznim momentom 1 N·m.
-
Začnite od sredine spodnje prečke in privijte vijake z navorom 29,8 +/-1 N∙m.
Important: Vijakov spodnjega noža ne zategujte z mehanskim ali pnevmatskim udarnim ključem.

-
Zbrusite novi spodnji nož; glejte Tabela servisiranja spodnjega noža.
Tabela servisiranja spodnjega noža
Delovne mejne vrednosti spodnjega noža so navedene v naslednji tabeli.
Important: Če rezalno enoto uporabljate tudi po tem, ko je delovna mejna vrednost spodnjega noža presežena, lahko pride do neustreznega videza po košnji in manjše strukturne celovitosti spodnjega noža pri udarcih.
| Tabela servisiranja spodnjega noža | ||||
| Spodnji nož | Št. dela | Višina robu spodnjega noža | Obratovalna omejitev* | Koti brušenjaZgornji/sprednji koti |
| Nizka višina košnje (izbirno) | 147-1248 (68,58 cm) | 5,6 mm | 4,8 mm | 10/5° |
| 147-1252 (81,28 cm) | ||||
| EdgeMax® (izbirno) | 137-6095 (68,58 cm) | 6,9 mm | 4,8 mm | 10/5° |
| Standardno (proizvodnja) | 147-1249 (model 03721/22, 68,58 cm) | 6,9 mm | 4,8 mm | 10/5° |
| 147-1253 (model 03727, 81,28 cm) | ||||
| Zmogljiv (izbirno) | 147-1250 (68,58 cm) | 9,3 mm | 4,8 mm | 10/5° |
| 147-1254 (81,28 cm) | ||||

Note: Vse obratovalne omejitve spodnjega noža se nanašajo na spodnji del spodnjega noža (Diagram 29).

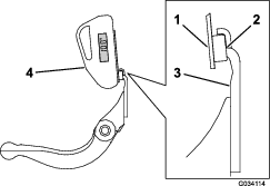
Preverjanje zgornjega kota brušenja
Kot, pod katerim brusite svoje spodnje nože, je zelo pomemben.
S kazalnikom kota (št. dela Toro 131-6828) in nosilcem kazalnika kota (št. dela Toro 131-6829) preverite kot, pod katerim deluje vaš brusilnik, in ga po potrebi popravite, če brusilnik ni natančen.
-
Kazalnik kota namestite na spodnjo stran spodnjega noža, kot je prikazano na sliki Diagram 30.

-
Na kazalniku kota pritisnite gumb Alt Zero.
-
Nosilec kazalnika kota namestite na rob spodnjega noža tako, da se rob magneta ujema z robom spodnjega noža (Diagram 31)
Note: Digitalni zaslon mora biti med tem korakom viden z iste strani kot med korakom 1.

-
Kazalnik kota namestite na nosilec, kot je prikazano na sliki Diagram 31.
Note: To je kot, ki ga ustvari vaš brusilnik, in mora biti znotraj 2 stopinj priporočenega zgornjega kota brušenja.
Namestitev sklopa spodnje prečke/spodnjega noža
-
Namestite sklop spodnje prečke/spodnjega noža in namestite montažna ušesa med podložko in vijak za nastavitev droga.
Important: Dvotočkovne nastavitvene regulatorje (DPA) postavite na sredino med ušesca spodnje prečke, kot prikazuje Diagram 32.Če so dvotočkovni nastavitveni regulatorji (DPA) nameščeni ob ušesca spodnje prečke, to lahko negativno vpliva na stik med spodnjim nožem in vretenom.

-
Pritrdite spodnjo prečko na vsako stransko ploščo z vijaki spodnje prečke (matice na vijakih) in 3 podložkami (skupaj 6).
-
Namestite podložko iz najlona na vsako stran vodila stranske plošče. Namestite jekleno podložko na zunanjo stran vsake od podložk iz najlona (Diagram 25).
-
Zategnite vijake spodnje prečke z zateznim momentom od 37 do 45 N·m.
-
Počasi zategnite varovalne matice spodnje prečke, dokler se zunanje jeklene podložke ne vrtijo samo z roko.
Important: Matic ne zategnite premočno, saj se bodo stranske plošče odklonile.
Note: Najlonska podložka med spodnjo prečko in drsno ploščo bo imela majhno vrzel.
-
Matico za napenjanje vzmeti zategnite, dokler se vzmet ne sesede, nato pa popustite za ½ obrata (Diagram 33).

Specifikacije vretena
Varnostno brušenje vretena
Novo vreteno ima širino odrezka od 1,3 do 1,5 mm in prosti kot 30 stopinj.
Ko je del vretena, ki pride v stik s travo, širši od 3 mm, izvedite naslednje:
-
Na vseh rezilih vretena nastavite prosti kot 30 stopinj, dokler širina odrezka ne znaša 1,3 mm (Diagram 34).

-
S hitrim vrtenjem brusite vreteno, da dosežete < 0,025 mm nestabilnosti vretena.
Note: Tako se bo širina vretena, ki pride v stik s travo, nekoliko povečala.
Note: Za podaljšanje trajnosti ostrine roba vretena in spodnjega noža – po brušenju vretena in/ali spodnjega noža – ponovno preverite stik vretena s spodnjim nožem po rezanju dveh čistin, saj bodo odstranjeni morebitni zarobki, ki lahko povzročijo neustrezen prostor med vretenom in spodnjim nožem ter s tem hitrejšo obrabo.
-
Z merilnim trakom izmerite zunanji premer vretena na obeh koncih (Diagram 35); razlika v zunanjem premeru med koncema mora biti manjša od 0,250 mm. Če je razlika večja, jo odpravite z brušenjem.
Note: Merilni trak za merjenje zunanjega premera lahko kupite pri pooblaščenem distributerju za izdelke Toro.

Servisiranje dvotočkovnih nastavitvenih regulatorjev HD
-
Odstranite vse dele (glejte Navodila za namestitev za komplet dvotočkovnih nastavitvenih regulatorjev HD in Diagram 36).
-
Na notranji del območja za pušo na osrednjem ogrodju rezalne enote (Diagram 36) nanesite sredstvo proti sprijemanju.
-
Poravnajte vtiče na pušah prirobnice z odprtinami v ogrodju in namestite puše (Diagram 36).
-
Namestite valovito podložko na gred regulatorja in podrsajte gred regulatorja v puše prirobnice na ogrodju rezalne enote (Diagram 36).
-
Pritrdite gred regulatorja s plosko podložko in varovalno matico (Diagram 36).
-
Varovalno matico zategnite z zateznim momentom od 20 do 27 N·m.
Note: Gred regulatorja spodnje prečke ima leve navoje.

-
Na navoje vijaka regulatorja spodnje prečke, ki se vstavijo v gred regulatorja, nanesite sredstvo proti sprijemanju.
-
Privijte vijak regulatorja spodnje prečke v gred regulatorja.
-
Narahlo namestite strjeno podložko, vzmet in matico za nastavljanje napetosti vzmeti na vijak za prilagoditev.
-
Namestite spodnjo prečko in poskrbite, da bodo očesca za namestitev med podložko in regulatorjem spodnje prečke.
-
Privijte spodnjo prečko na vsako stransko ploščo z vijaki spodnje prečke (z maticami na vijakih) in 6 podložkami.
Note: Namestite podložko iz najlona na vsako stran vodila stranske plošče.
-
Namestite jekleno podložko na zunanjo stran vsake od podložk iz najlona (Diagram 36).
-
Zategnite vijake spodnje prečke z zateznim momentom od 37 do 45 N·m.
-
Zategnite varovalne matice, dokler se zunanja jeklena podložka ne preneha vrteti in na obeh koncih ne bo več vrzeli, vendar jih ne zategnite preveč in ne deformirajte stranskih plošč.
Note: Podložke na notranji strani imajo lahko vrzel (Diagram 36).
-
Privijte matico na vsakem sklopu regulatorja spodnje prečke, dokler ne bo tlačna vzmet v celoti stisnjena, nato pa zrahljajte matico za ½ obrata (Diagram 36).
-
Postopek ponovite na drugi strani rezalne enote.
-
Nastavite spodnji nož glede na vreteno; glejte Nastavitev spodnjega noža glede na vreteno.
Servisiranje valja
Za servisiranje valja sta na voljo komplet za obnovo valja Roller Rebuild Kit (št. dela 114-5430) in komplet orodij za obnovo valja Roller Rebuild Tool Kit (št. dela 115-0803) (Diagram 37). Komplet za obnovo valja Roller Rebuild Kit vključuje vse ležaje, ležajne matice, notranja tesnila in zunanja tesnila za obnovo valja. Komplet orodij za obnovo valja Roller Rebuild Tool Kit vključuje vsa orodja in navodila za namestitev, ki so potrebna za obnovo valja s kompletom za obnovo valja. Za pomoč glejte katalog delov ali se obrnite na pooblaščenega distributerja za izdelke Toro.



, ki lahko pomeni: svarilo, opozorilo ali nevarnost – navodilo
za osebno varnost. Neupoštevanje teh navodil lahko privede
do telesnih poškodb ali smrti.
















