保守
カッティングユニットを立てる時の注意
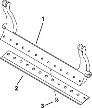
ベッドナイフやリールを見るためにカッティングユニットを立てる場合には、ベッドバー調整ねじのナットが床面に接触しないように、カッティングユニットの後ろ側についているスタンド(トラクションユニットの付属品)で支えるようにしてください(図 21)。

カッティングユニットの潤滑
定期的に、各カッティングユニットの全部の潤滑個所にNo.2汎用リチウム系グリスを注入します(図 22)。
前ローラに2ヶ所、後ローラにも2ヶ所、そしてリールモータのスプラインに1ヵ所のグリスポイントがあります。
Note: カッティングユニットを水洗いした直後にグリスアップ作業を行うと、機械各部から水分を追い出してベアリングの寿命を延ばすことができます。
-
グリスニップルの周囲をウェスできれいに拭く。
-
きれいなグリスがローラのシールやベアリングの逃がしバルブからはみ出してくるまでグリスを注入する。
-
はみ出したグリスはふき取る。

ベッドナイフの仕様
ベッドナイフの整備
ベッドバー/ベッドナイフアセンブリの取り外し
-
ベッドバー調整ねじを左に回して下刃とリールの接触を完全になくす(図 23)。

-
スプリングテンションナットをゆるめて、ワッシャがベッドバーを全く押さないようにする(図 23)。
-
ベッドバーボルト(図 24)を固定しているロックナット(機体両側)をゆるめる。

-
各ベッドバーボルトを抜いてベッドバーを下に引き抜いてカッティングユニットから外す(図 24)。
ベッドバーの両端にナイロンワッシャー2個とスチールワッシャー1個を配置する (図 25)。

-
ベッドナイフを固定しているネジをすべて外して、ベッドバーからベッドナイフを取り外す。ソケット レンチとベッドナイフ スクリュー ツール (部品番号 TOR510880) を使います。
Note: ベッドナイフのネジを緩めるには、機械式または空気圧式のインパクトレンチを使うことができます。
Note: ベッドナイフとネジを廃棄する。
新しいベッドナイフの取り付け
-
刈り高さと下刃の選択表に従って新しいベッドナイフを選択する。
-
ベッドバーの表面についている錆や汚れをきれいに落とし、ベッドバーの表面に薄くオイルを塗る。
Important: ベッドバーから鋳造部品を取り外さないこと。ベッドバーは設計上中央が凹んだ形状になっているので、研磨しないこと。
-
ベッドバーのネジ山を清掃する。
-
新しいベッドナイフのネジに固着防止剤を塗布し、ベッドナイフをベッドバーに取り付ける。
Important: 新しいベッドナイフネジのみを使うこと。
Note: ベッドバーによってネジの数が異なります。

-
外側の 2 本のねじを 1 N·m(1.15 kg.m=10 in-lb)にトルク締めする。
-
ベッドナイフの中央から作業し、ネジを29.8 +/- 1 N∙m (2.8 +/-kg.m) のトルクで締める。
Important: 機械式または空気圧式のインパクトレンチを使ってベッドナイフのネジを締めないこと。

-
新しいベッドナイフを研磨する。 ベッドナイフの使用限界表を参照方。
ベッドナイフの使用限界表
ベッドナイフの使用限界を以下の表に示します。
Important: 使用限界を超えているベッドナイフでは、刈り込み後の見映えが悪くなったり、カッティングユニットの耐衝撃性が低下したりする可能性があります。
| ベッドナイフの使用限界表 | ||||
| ベッドナイフ | パーツ番号 | ベッドナイフのリップの高さ | 使用限界* | 研磨角度上面角/前面角 |
| トーナメント(オプション) | 147-1256(46 cm)147-1257(56 cm) | 4.3 mm | 3.4 mm | 5度/5 度 |
| ローカット(モデル 03489) | 121-3167(46 cm)147-1244(56 cm) | 5.6 mm | 4.8 mm | 10度/5 度 |
| EdgeMax® 低刈用(モデル 03485)(モデル 03487) | 137-6090(46 cm)137-6093(56 cm) | 5.6 mm | 4.8 mm | 10度/5 度 |
| 先長ローカット(オプション) | 147-1243(56 cm) | 5.6 mm | 4.8 mm | 10度/10 度 |
| 先長ローカット EdgeMax®(オプション) | 119-4280(56 cm) | 5.6 mm | 4.8 mm | 10度/10 度 |
| EdgeMax® (モデル 03484)(モデル 03486) | 137-6091(46 cm)137-6094(56 cm) | 6.9 mm | 4.8 mm | 10度/5 度 |
| スタンダード(オプション) | 147-1241(46 cm)147-1245(56 cm) | 6.9 mm | 4.8 mm | 10度/5 度 |
| ヘビーデューティー(オプション) | 147-1246(56 cm) | 9.3 mm | 4.8 mm | 10度/5 度 |
ベッドナイフの上面と前面の推奨研磨角度 (図 28)

Note: どのベッドナイフの場合も、使用限界の測定基準はベッドナイフの底面です(図 29)。

上面の研磨角度を点検する
ベッドナイフの研磨では、研磨角度が非常に重要です。
傾斜計(トロのパーツ番号 131-6828)と傾斜計マウント(トロのパーツ番号 131-6829)を使用して研磨機の設定角度を調べ、必要に応じて修正を行ってください。
ベッドバー/ベッドナイフアセンブリの取り付け
-
ベッドバー/ベッドナイフアセンブリを取り付け、固定用耳をワッシャーとベッドバー調整ネジの間に配置する。
Important: 図 32に示すように、DPAアジャスターをベッドバーの耳の中央に配置する。DPAアジャスターがベッドバーの耳の中央以外に取り付けられている場合、下刃とリールの接触に悪影響を及ぼす可能性があります。

-
ベッドバーボルト(とボルトについているナット)とワッシャ3枚(全部で 6 枚)で、ベッド・バーを各サイドプレートに固定する。
-
サイドプレートのボスの両側にナイロンワッシャを入れる。その外側からスチール製ワッシャを取り付ける(図 25)。
-
ベッドバーボルトを 37-45 N·m (3.7-4.6 kg.m = 27-33 ft-lb)にトルク締めする。
-
外側のスチールワッシャーが手でちょうど回転するくらいまで、ベッドバーロックナットをゆっくりと締める。
Important: サイドプレートをゆがめる恐れがあるのでロックナットは締め付け過ぎないように注意してください。
Note: ベッドバーとスライドプレートの間のナイロンワッシャーには小さな隙間があります。
-
スプリングがつぶれるまでテンションナットを締め、そこから半回転戻す(図 33)。

リール仕様
リールの2番取り(リリーフ研磨)
新品リールには、ランド部の幅が 1.3-1.5 mm あり、30 °の逃げ角(2番角、リリーフ角)を付けてあります。
ランド部の幅が 3 mm を超えたら以下の作業を行ってください:
-
全部のリール刃に 30 °の角度で2番削りを行って、ランド部の幅を 1.3 mm にしてください (図 34と図 35)。


-
円筒研磨を行って各刃先の軌道円の差を 0.025 mm 未満にしてください。
Note: これにより、ランド部の幅がわずかに大きくなります。
Note: リールやベッドナイフの鋭利な刃先を長持ちさせるには、リールやベッドナイフを新たに研磨して使い始めたときに、フェアウェイを2面刈り込むごとに刃合わせのチェックを行い、刃先にバリが出ていたら除去してください。バリは刃と刃の接触を大きくして摩耗を早めます。
-
リール外径測定用テープを使用して、リールの左右両端での直径を測定する(図 36);左右の測定値の差が 0.250 mm 未満であれば適正とする。差がこれよりも大きい場合には、研磨を行って真の円筒に戻す。
Note: リール外径測定用テープは、弊社代理店でお求めになれます。

HD デュアルポイントアジャスタ(DPA)の整備
-
全部のパーツを取り外す(HD DPA キットの 取り付け要領書 および図 37を参照)。
-
カッティングユニットのセンターフレームのブッシュ挿入場所に固着防止剤を塗布する(図 37)。
-
フランジブッシュのキーとフレームのキー溝を揃えて、ブッシュを挿入する(図 37)。
-
アジャスタシャフトにウェーブワッシャを通し、アジャスタシャフトをカッティングユニットのフレームのフランジブッシュに通す(図 37)。
-
平ワッシャとロックナットでアジャスタシャフトを固定する(図 37)。
-
ロックナットを 20-27 N・m (2.1-2.6 kg.m = 15-20 ft-lb)にトルク締めする。
Note: ベッドバーアジャスタのシャフトは左ねじである。

-
アジャスタシャフトに嵌るベッドバー調整ねじのねじ山部分に固着防止コンパウンドを塗布する
-
ベッドバー調整ねじをアジャスタシャフトにはめ込む。
-
硬化ワッシャ、スプリング、スプリングテンションナットをアジャスタねじに仮止めする。
-
ベッドバーアジャスタとスラストワッシャとの間にベッドバーの固定用「耳」を入れる。
-
ベッドバーボルト(とボルトについているナット)とワッシャ6枚で、ベッドバーを各サイドプレートに固定する。
Note: サイドプレートのボスの両側にナイロンワッシャを入れる。
-
その外側からスチール製ワッシャを取り付ける(図 37)。
-
ベッドバーボルトを 37-45 N·m(3.7-4.6 kg.m = 27-33 ft-lb)にトルク締めする。
-
左右の遊びが完全になくなって外側のスチール製ワッシャが回らなくなるまで(ただし決して締めすぎになったりサイド・プレートが変形したりしていない)ロックナットを締め付ける。
Note: 内側のワッシャには遊びがあってかまいません(図 37)。
-
各ベッドバーアジャスタアセンブリを締め付けて圧縮スプリングを完全に圧縮し、そこから1/2回転だけ戻す(図 37)。
-
カッティングユニットの反対側についても同じ作業を行う。
-
リールと下刃の調整を行う; リールと下刃の調整を行うを参照。
ローラの整備
ローラの整備用として、ローラリビルドキット(Part No. 114–5430)およびローラリビルドツールキット(Part No. 115–0803)を販売しております(図 38)。ローラリビルドキットは、ローラの分解組み立てに必要なすべてのベアリング、ベアリングナット、内側シール、外側シールをセットにしたキットです。ローラリビルドツールキットは、ローラリビルドキットをつかってローラの再組み立てを行うのに必要な工具と説明書のキットです。詳細は、パーツカタログをご覧になるか、代理店にお問い合わせください。



のついている遵守事項は必ずお守りください 「注意」、「警告」、および「危険」
の記号は、人身の安全に関わる注意事項を示しています。これらの注意を怠ると死亡事故などの重大な人身事故が発生する恐れがあります。



















