유지보수
커팅 유닛 지지
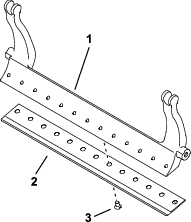
베드나이프/릴을 드러내기 위해 커팅 유닛을 기울여야 하는 경우 항상 (트랙션 유닛과 함께 제공되는) 킥스탠드로 커팅 유닛 뒤쪽을 받쳐 베드바 조정 나사 후미의 너트가 작업면에 닿지 않게 하십시오(그림 21).

커팅 유닛 윤활
2번 리튬 그리스를 사용하여 각 커팅 유닛(그림 22)에 있는 5개의 구리스 피팅을 정기적으로 윤활 처리합니다.
윤활 지점은 전면 롤러에 2곳, 후방 롤러에 2곳이 있고 릴 모터 스플라인에 1곳이 있습니다.
Note: 커팅 유닛을 세척 후 바로 윤활하면 베어링에서 물기를 제거할 수 있어 베어링 수명을 늘리는 데 도움이 됩니다.
-
깨끗한 헝겊으로 각 구리스 피팅을 닦습니다.
-
깨끗한 그리스가 롤러 씰과 베어링 릴리프 밸브에서 나올 때까지 그리스를 칩니다.
-
과도하게 흘러나온 그리스는 닦아냅니다.

베드나이프 규격
베드나이프 정비
베드바 분리/베드바 어셈블리
-
베드바 조정 나사를 시계 반대 방향으로 돌려 베드나이프를 릴에서 후진시킵니다(그림 23).

-
와셔와 베드바 사이의 장력이 없어질 때까지 스프링 장력 너트를 뒤로 풉니다(그림 23).
-
장비 양쪽에서 베드바 볼트를 고정시키는 록너트를 풉니다(그림 24).

-
각 베드바 볼트를 분리하여 베드바를 아래쪽으로 당겨 커팅 유닛에서 탈거합니다(그림 24).
베드바 양쪽 끝에 있는 2개의 나일론 와셔와 1개의 스틸 와셔를 기록해 둡니다(그림 25).

-
고정 위치에 있는 모든 나사를 제거하여 베드바에서 베드나이프를 제거합니다. 베드나이프 나사 공구(부품 번호 TOR510880)와 함께 소켓 렌치를 사용합니다.
Note: 기계식 또는 공압식 충격 렌치를 사용하여 베드나이프 나사를 풀 수 있습니다.
Note: 베드나이프와 나사를 폐기합니다.
새로운 베드나이프 설치
-
예고 및 베드나이프 선택 차트에 따라 새 베드나이프를 선택합니다.
-
베드바 표면에서 녹, 스케일, 부식 등을 제거하고 베드바 표면에 오일을 얇게 한 겹 바릅니다.
Important: 베드바에서 주물 소재를 제거하지 마십시오. 베드바는 중앙이 오목하게 설계되어 있습니다. 연마하지 마십시오.
-
베드바의 스레드를 청소합니다.
-
새 베드나이프 나사에 고착 방지제를 바르고 베드바에 베드나이프를 장착합니다.
Important: 새 베드나이프 나사만 사용하십시오.
Note: 베드바에 따라 나사 개수가 달라질 수 있습니다.

-
바깥쪽 나사 2개를 1 N∙m 토크로 조입니다.
-
베드나이프의 가운데에서부터 작업하면서, 나사를 29.8 +/- 1 N∙m 토크로 조입니다.
Important: 기계식이나 공압식 충격 렌치로 베드바 나사를 조이지 마십시오.

-
새 베드나이프를 연마합니다. 베드나이프 정비 차트을 참조하십시오.
베드나이프 정비 차트
베드나이프 정비 한계값은 다음 표에 나옵니다.
Important: 베드나이프가 이 정비 한계값 이하인 상태로 커팅 유닛을 작동하면 커팅 후 외관이 좋지 않게 되며 베드나이프의 충격에 대한 구조적 튼튼함이 저하될 수 있습니다.
| 베드나이프 정비 차트 | ||||
| 베드나이프 | 부품 번호 | 베드나이프 립 높이 | 정비 한계값* | 연마 각도상단/전면 각도 |
| 토너먼트(옵션) | 147-1256(45.7 cm)147-1257(56 cm) | 4.3 mm | 3.4 mm | 5/5도 |
| 저예고(모델 03489) | 121-3167(45.7 cm)147-1244(56 cm) | 5.6 mm | 4.8 mm | 10/5도 |
| EdgeMax® 저예고(모델 03485)(모델 03487) | 137-6090(45.7 cm)137-6093(56 cm) | 5.6 mm | 4.8 mm | 10/5도 |
| 연장 저예고(선택 사항) | 147-1243(56 cm) | 5.6 mm | 4.8 mm | 10/10도 |
| Extended EdgeMax® 저예고(선택 사항) | 119-4280(56 cm) | 5.6 mm | 4.8 mm | 10/10도 |
| EdgeMax®(모델 03484)(모델 03486) | 137-6091(45.7 cm)137-6094(56 cm) | 6.9 mm | 4.8 mm | 10/5도 |
| 표준(선택 사항) | 147-1241(45.7 cm)147-1245(56 cm) | 6.9 mm | 4.8 mm | 10/5도 |
| 헤비 듀티(선택 사항) | 147-1246(56 cm) | 9.3 mm | 4.8 mm | 10/5도 |
상단 및 전면 베드나이프 권장 연마 각도(그림 28)

Note: 모든 베드나이프 정비 한계 측정값은 베드나이프 하단을 기준으로 함(그림 29)

상단 연마 각도 점검
베드나이프를 연마하는 데 사용하는 각도는 매우 중요합니다.
각도 표시기(Toro 부품 번호 131-6828) 및 각도 표시기 마운트(Toro 부품 번호 131-6829)를 사용하여 연마기에서 만들어지는 각도를 확인한 다음 연마기가 부정확하면 교정하십시오.
베드바/베드바 어셈블리 설치
-
베드바/베드나이프 어셈블리를 설치하고 와셔와 베드바 조정 나사 간에 마운팅 이어를 배치합니다.
Important: 그림 32와 같이 DPA 조절 장치를 베드바 이어의 중앙으로 맞춥니다.DPA 조절 장치가 베드바 이어에 붙여서 설치되면 베드나이프-릴 접촉에 부정적인 영향을 미칠 수 있습니다.

-
베드바 볼트(볼트의 너트)와 3개의 와셔(총 6개)를 사용하여 각 측면 플레이트에 베드바를 고정시킵니다.
-
나일론 와셔를 측면 플레이트 보스 양쪽에 배치합니다. 각 나일론 와셔 바깥쪽에 스틸 와셔를 놓습니다(그림 25).
-
37~45 N∙m 토크로 베드바 볼트를 조입니다.
-
외부 스탈 와셔를 손으로 돌릴 수 있을 정도까지만 베드바 록너트를 천천히 조입니다.
Important: 베드나이프를 릴에 지나치게 조이지 마십시오. 그렇게 하면 측면 플레이트가 굴절됩니다.
Note: 베드나와 슬라이드 플레이트 간의 나일론 와셔에는 작은 간격이 있습니다.
-
스프링이 완전히 압축될 때까지 스프링 장력 너트를 조인 다음 다시 반 바퀴 정도 풉니다(그림 33).

릴 규격
릴 릴리프 연마
새 릴의 랜드 폭은 1.3~1.5 mm이며 릴리프 그라인드 각도는 30°입니다.
랜드 폭이 3 mm 이상이 되면, 다음과 같이 하십시오.
-
랜드 폭이 1.3 mm가 될 때까지 모든 릴 블레이드에 30° 릴리프 그라인드를 적용합니다(그림 34 및 그림 35).


-
릴 런아웃이 0.025 mm 이하가 되도록 릴을 회전 연마합니다.
Note: 이렇게 하면 랜드 폭이 약간 증가합니다.
Note: 릴 및/또는 베드나이프를 그라인딩한 후 릴과 베드나이프의 날카로운 가장자리의 수명을 연장하려면, 2개의 페어웨이를 커팅하고 릴과 베드나이프 접촉부를 다시 확인하십시오. 돌기가 있었다면 제거될 것이며, 그로 인해 부적절한 릴과 베드나이프 간극이 생겨 마모 속도가 더 빨라질 것입니다.
-
직경 측정 테이프를 사용하여, 양쪽 끝의 릴 외경을 측정합니다(그림 36). 단부 사이의 외경 차이가 0.250 mm 이하여야 합니다. 차이가 크면 연마 작업을 수행하여 간격을 수정합니다.
Note: 외경 측정 테이프는 Toro 공식 판매 대리점에서 구할 수 있습니다.

HD 듀얼 포인트 조정 장치(DPA) 정비
-
모든 부품을 뺍니다(HD DPA 키트의 설치 지침 및 그림 37 참조).
-
커팅 유닛 가운데 프레임의 부싱 영역의 안쪽에 고착 방지제를 바릅니다(그림 37).
-
플랜지 부싱의 걸림 장치를 프레임의 슬롯에 일치시킨 다음 부싱을 설치합니다(그림 37).
-
웨이브 와셔를 조정 장치 샤프트에 설치하고 조정 장치 샤프트를 커팅 유닛 프레임의 플랜지 부싱 안쪽으로 밀어 넣습니다(그림 37).
-
조정 장치 샤프트를 플랫 와셔와 록너트로 고정합니다(그림 37).
-
록너트를 20~27 N·m 토크로 조입니다.
Note: 베드바 조정 장치 샤프트에는 좌측 나사산이 있습니다.

-
조정 장치 샤프트에 끼워지는 베드바 조정 나사의 나사산에 고착 방지제를 바릅니다.
-
베드바 조정 나사를 조정 장치 샤프트에 돌려 끼웁니다.
-
경화 와셔, 스프링 및 스프링 장력 너트를 조정 나사에 느슨하게 설치합니다.
-
와셔와 베드바 조정 장치 사이에서 마운팅 이어의 위치를 맞추면서 베드바를 설치합니다.
-
베드바 볼트(볼트의 너트)와 6개의 와셔를 사용하여 각 측면 플레이트에 베드바를 고정시킵니다.
Note: 나일론 와셔를 측면 플레이트 보스 양쪽에 배치합니다.
-
각 나일론 와셔 바깥쪽에 스틸 와셔를 놓습니다(그림 37).
-
37~45 N∙m 토크로 베드바 볼트를 조입니다.
-
바깥쪽 스틸 와셔가 더 이상 돌지 않고 유격이 사라질 때까지 록너트를 조이되, 지나치게 조이거나 측면 플레이트의 방향이 바뀌지 않게 하십시오.
Note: 안쪽 와셔에는 빈틈을 둘 수 있습니다(그림 37).
-
압축 스프링이 최대한 압축될 때까지 각 베드바 조정 장치 어셈블리의 너트를 조인 다음 너트를 반 바퀴 돌려 늦춥니다(그림 37).
-
커팅 유닛의 반대쪽에서 이 절차를 반복하십시오.
-
릴에 맞춰 베드나이프를 조정합니다. 릴-베드나이프 조정를 참조하십시오.
롤러 정비
롤러 정비에 롤러 수리 키트(부품 번호: 114–5430)와 롤러 수리 도구 키트(부품 번호: 115–0803)(그림 38)를 사용할 수 있습니다. 롤러 수리 키트에는 롤러 수리를 위한 모든 베어링, 베어링 너트, 내부 및 외부 씰이 들어 있습니다. 롤러 수리 도구 키트에는 롤러 수리 키트로 롤러를 수리하는 데 필요한 모든 도구와 설치 지침이 들어 있습니다. 도움이 필요하면 부품 카탈로그를 참조하거나 Toro 지정 판매 대리점에 문의하십시오.



에 항상 주의를 기울이십시오. 이 지침을 따르지
않을 경우 사람이 다치거나 사망하는 사고가 발생할 수 있습니다.



















