Konserwacja
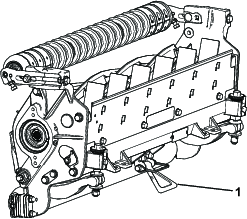
Podparcie zespołu tnącego
W przypadku konieczności przechylenia jednostki tnącej w celu odsłonięcia ostrza dolnego/wrzeciona należy podtrzymać tylną stronę jednostki tnącej za pomocą podpórki (dostarczanej z zespołem jezdnym), aby upewnić się, że nakrętki śrub regulujących na tylnej krawędzi listwy ostrza nie opierają się o powierzchnię roboczą (Rysunek 21).

Smarowanie jednostek tnących
Regularnie smaruj 5 smarowniczek każdej jednostki tnącej (Rysunek 22) smarem nr 2 na bazie litu.
Na przedniej rolce znajdują się 2 punkty smarowania, na tylnej rolce 2 i 1 na wale wielowypustowym silnika wrzeciona.
Note: Smarowanie jednostek tnących bezpośrednio po myciu pozwoli wypchnąć wodę z łożysk i przedłużyć ich żywotność.
-
Oczyść każdą smarowniczkę za pomocą czystej szmatki.
-
Wtłaczaj smar, aż z uszczelek rolki oraz zaworu nadmiarowego łożyska zacznie wydostawać się świeży smar.
-
Zetrzyj cały nadmiar smaru.

Specyfikacja noża dolnego
Serwisowanie noża dolnego
Demontaż zespołu listwy/noża dolnego
-
Obróć śruby regulacyjne listwy noża dolnego w lewo w celu odsunięcia noża dolnego od wrzeciona (Rysunek 23).

-
Odkręcaj nakrętkę naciągu sprężyny do momentu, gdy podkładka nie będzie już dociśnięta do listwy noża dolnego (Rysunek 23).
-
Poluzuj nakrętkę zabezpieczającą mocującą śrubę listwy noża dolnego po każdej stronie maszyny (Rysunek 24).

-
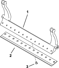
Zdemontuj każdą śrubę listwy noża dolnego, umożliwiając tym samym demontaż listwy noża dolnego z trzpienia maszyny w kierunku do dołu (Rysunek 24). Pozostaw 2 podkładki nylonowe i 1 wykrawaną podkładkę stalową na każdym końcu listwy noża dolnego (Rysunek 25).

-
Zdemontuj nóż dolny z listwy noża dolnego, wykręcając wszystkie mocujące go śruby. Użyj klucza nasadowego z narzędziem do śrub noża dolnego (numer części TOR510880).
Note: Do poluzowania śrub noża dolnego można użyć mechanicznego lub pneumatycznego klucza udarowego.
Note: Wyrzuć nóż dolny i śruby.
Montaż nowego noża dolnego
-
Dobierz nowy nóż dolny zgodnie z Tabele wyboru wysokości koszenia i noża dolnego.
-
Usuń rdzę, osady i korozję z powierzchni listwy noża dolnego i nałóż na nią cienką warstwę oleju.
Important: Nie usuwaj materiału odlewniczego z listwy noża dolnego. Listwa noża dolnego jest konstrukcyjnie wklęsła po środku; nie szlifuj jej.
-
Oczyść gwinty w listwie noża dolnego.
-
Nałóż preparat zapobiegający zapiekaniu na nowy nóż dolny i zamontuj nóż dolny na listwie noża dolnego.
Important: Użyj wyłącznie nowych śrub noża dolnego.
Note: Liczba śrub różni się w zależności od listwy noża dolnego.

-
Dokręć 2 śruby zewnętrzne z momentem 1 N∙m.
-
Postępując od środka noża dolnego, dokręcaj śruby z momentem 29,8 +/- 1 N∙m.
Important: Nie dokręcaj śrub noża dolnego za pomocą mechanicznego ani pneumatycznego klucza udarowego.

-
Naostrz nowy nóż dolny; patrz Harmonogram eksploatacji noża dolnego.
Harmonogram eksploatacji noża dolnego
Granice używalności noża dolnego są podane w poniższej tabeli.
Important: Eksploatacja jednostki tnącej z nożem dolnym poniżej granicy używalności może skutkować niezadowalającym wyglądem trawnika po koszeniu oraz może negatywnie wpływać na odporność noża dolnego na uderzenia.
| Harmonogram eksploatacji noża dolnego | ||||
| Nóż dolny | Numer części | Wysokość krawędzi noża dolnego | Granica używalności* | Kąty szlifowaniaGórna/przednia krawędź |
| Nóż Low HOC (opcjonalny) | 147-1248 (27 cale) | 5,6 mm | 4,8 mm | 10/5° |
| 147-1252 (32 cale) | (0,220 cala) | (0,190 cale) | ||
| EdgeMax® (opcjonalny) | 137-6095 (69 cm) | 6,9 mm | 4,8 mm | 10/5° |
| (0,270 cala) | (0,190 cale) | |||
| Standard (fabryczny) | 147-1249 (model 03721/22, 69 cm) | 6,9 mm | 4,8 mm | 10/5° |
| 147-1253 (model 03727, 81 cm) | (0,270 cala) | (0,190 cale) | ||
| Heavy Duty – do ciężkich warunków (opcjonalny) | 147-1250 (27 cale) | 9,3 mm | 4,8 mm | 10/5° |
| 147-1254 (82 cm) | (0,370 cala) | (0,190 cale) | ||

Note: Wszystkie pomiary granicy używalności noża dolnego odnoszą się do jego dolnej powierzchni (Rysunek 29).

Sprawdzanie kąta zeszlifowania górnej krawędzi.
Niezmiernie ważny jest właściwy dobór kąta szlifowania noży dolnych.
Aby sprawdzić kąt uzyskiwany za pomocą danej szlifierki, użyj wskaźnika nachylenia (numer części Toro 131-6828) oraz wspornika wskaźnika nachylenia (numer części Toro 131-6829); w razie potrzeby skoryguj niedokładności ustawienia szlifierki.
-
Umieść wskaźnik nachylenia na dolnej powierzchni noża dolnego w sposób pokazany na Rysunek 30.

-
Naciśnij przycisk Alt Zero (Ustaw zero) na wskaźniku nachylenia.
-
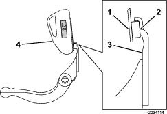
Przyłóż wspornik wskaźnika nachylenia na krawędzi noża dolnego w taki sposób, aby krawędź magnesu zrównała się z krawędzią noża dolnego (Rysunek 31).
Note: Na tym etapie wyświetlacz cyfrowy powinien być widziany z tej samej strony co w kroku 1.

-
Przyłóż wskaźnik nachylenia do wspornika w sposób podany na Rysunek 31.
Note: Wskazywana wartość to kąt wytwarzany przez daną szlifierkę, powinien on różnić się od zalecanego kąta szlifowania górnej krawędzi o maksymalnie 2 stopnie.
Montaż zespołu listwy/noża dolnego
-
Zamontuj zespół listwy/noża dolnego, ustawiając ucha mocujące między podkładką a śrubą regulacyjną listwy noża dolnego.
Important: Wyśrodkuj regulatory DPA w uchach noża dolnego w sposób pokazany na Rysunek 32.Jeżeli regulatory DPA nie są wyśrodkowane względem uch noża dolnego, może to negatywnie wpływać na kontakt noża dolnego z wrzecionem.

-
Zamocuj listwę noża dolnego do każdej płyty bocznej za pomocą śrub noża dolnego (nakrętki na śrubach) i 3 podkładek (łącznie 6).
-
Załóż po jednej podkładce nylonowej po każdej stronie wypukłości płyty bocznej. Umieść podkładkę stalową na zewnątrz każdej z podkładek nylonowych (Rysunek 25).
-
Dokręć śruby listwy noża dolnego momentem od 37 do 45 Nm.
-
Powoli dokręcaj nakrętki zabezpieczające listwy noża dolnego, dopóki zewnętrzne stalowe podkładki będzie można obracać ręką.
Important: Nie dokręcaj nakrętek zbyt mocno, gdyż może dojść do wygięcia płyt bocznych.
Note: Podkładka nylonowa między listwą noża dolnego a płytą boczną powinna mieć mały odstęp.
-
Dokręć nakrętkę regulacyjną naprężenia sprężyny do momentu ściśnięcia sprężyny, a następnie cofnij ją o 1/2 obrotu (Rysunek 33).

Dane techniczne wrzeciona
Szlifowanie profilujące wrzeciona
Nowe wrzeciono ma szerokość powierzchni czołowej od 1,3 do 1,5 mm i kąt profilu szlifowania 30 stopni.
Gdy powierzchnia czołowa krawędzi zwiększy się powyżej 3 mm, należy wykonać następujące czynności:
-
Przeprowadzić szlifowanie profilujące wszystkich ostrzy wrzeciona pod kątem 30 stopni, aż szerokość powierzchni czołowej wyniesie 1,3 mm (Rysunek 34).

-
Przeprowadzić szlifowanie obrotowe wrzeciona w celu uzyskania bicia promieniowego na poziomie poniżej 0,025 mm.
Note: Spowoduje to nieznaczne zwiększenie szerokości powierzchni czołowej ostrzy.
Note: W celu dłuższego zachowania ostrości krawędzi tnących wrzeciona i noża dolnego należy po szlifowaniu wrzeciona i/lub noża dolnego ponownie sprawdzić docisk wrzeciona do noża dolnego po skoszeniu dwóch obszarów fairway, gdyż na skutek usunięcia zadziorów może wystąpić nieprawidłowy docisk wrzeciona do noża dolnego powodujący przyspieszone zużycie.
-
Za pomocą taśmy do pomiaru średnicy zmierz średnicę zewnętrzną wrzeciona na obu końcach (Rysunek 35); różnica średnicy zewnętrznej między końcami powinna wynosić poniżej 0,250 mm. Jeśli różnica jest większa, zeszlifuj w celu skorygowania różnicy.
Note: Taśmę do pomiaru średnicy zewnętrznej można kupić u autoryzowanego dealera marki Toro.

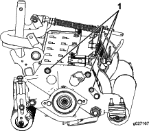
Serwisowanie dwupunktowych śrub regulacyjnych (DPA) w serii HD
-
Zdemontuj wszystkie części (zob. Instrukcje montażu zestawu HD DPA oraz Rysunek 36).
-
Nałóż środek zapobiegający zapiekaniu na wewnętrzną powierzchnię tulei w centralnej ramie jednostki tnącej (Rysunek 36).
-
Ustaw wypustki na tulejach kołnierzowych równo z wycięciami w ramie, a następnie zamontuj tuleje (Rysunek 36).
-
Nałóż podkładkę falistą na trzpień śruby regulacyjnej i wsuń trzpień śruby regulacyjnej w tuleję kołnierzową w ramie jednostki tnącej (Rysunek 36).
-
Zamocuj trzpień śruby regulacyjnej podkładką płaską z nakrętką zabezpieczającą (Rysunek 36).
-
Dokręć nakrętkę zabezpieczającą momentem od 20 do 27 Nm.
Note: Trzpień śruby regulacyjnej listwy noża dolnego posiada lewy gwint.

-
Nałóż środek przeciwdziałający przywieraniu na gwint śruby regulacyjnej listwy noża dolnego w części, która będzie wkręcana w trzpień śruby regulacyjnej.
-
Wkręć śrubę regulacyjną listwy noża dolnego w trzpień.
-
Nałóż podkładkę utwardzaną, sprężynę i nakrętkę naciągu sprężyny na śrubę regulacyjną.
-
Zamontuj nóż dolny, ustawiając ucha mocujące między podkładką a regulatorem noża dolnego.
-
Zamocuj listwę noża dolnego do każdej płyty bocznej za pomocą śrub noża dolnego (nakrętki na śrubach) i 6 podkładek.
Note: Załóż po jednej podkładce nylonowej po każdej stronie wypukłości płyty bocznej.
-
Umieść podkładkę stalową na zewnątrz każdej z podkładek nylonowych (Rysunek 36).
-
Dokręć śruby listwy noża dolnego momentem od 37 do 45 Nm.
-
Dokręcaj nakrętki zabezpieczające, aż zewnętrzna podkładka stalowa przestanie się obracać i zostanie wyeliminowany luz osiowy, jednak nie dokręcaj zbyt mocno i unikaj wygięcia płyt bocznych.
Note: Przy podkładkach po wewnętrznej stronie może być niewielki odstęp (Rysunek 36).
-
Dokręć nakrętkę na każdym zespole regulacyjnym listwy noża dolnego aż do całkowitego ściśnięcia sprężyny dociskowej, następnie poluzuj nakrętki o 1/2 obrotu (Rysunek 36).
-
Powtórz czynności dla drugiej strony jednostki tnącej.
-
Wyreguluj nóż dolny względem wrzeciona; patrz rozdział Regulacja noża dolnego względem bębna.
Konserwacja rolki
Aby przeprowadzić czynności serwisowe rolki, niezbędny jest zestaw serwisowy do rolek (numer części 114-5430) oraz zestaw narzędzi do serwisu do rolek (numer części 115-0803) (Rysunek 37). Zestaw serwisowy do rolek zawiera wszystkie łożyska, nakrętki łożysk, uszczelki wewnętrzne i zewnętrzne do przeprowadzenia wszystkich czynności serwisowych rolki. Zestaw narzędzi do serwisu rolek zawiera wszystkie narzędzia i instrukcje instalacyjne niezbędne do przeprowadzenia serwisu rolki z użyciem zestawu serwisowego. Aby uzyskać pomoc, zapoznaj się z katalogiem części lub skontaktuj się z autoryzowanym dystrybutorem Toro.



, który oznacza:
uwaga, ostrzeżenie lub niebezpieczeństwo – instrukcja
dotycząca bezpieczeństwa osobistego. Nieprzestrzeganie
powyższych zasad może doprowadzić do obrażeń
ciała lub śmierci.
















