Onderhoud
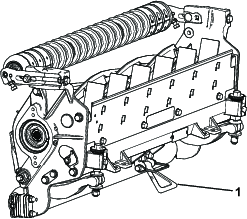
Ondersteunen van het maaidek
Als de maai-eenheid moet worden gekanteld om bij het ondermes/de messenkooi te kunnen komen, moet u de achterkant van de maai-eenheid met de kickstandaard (meegeleverd met de tractie-eenheid) ondersteunen zodat de moeren op het achtereind van de stelschroeven van de snijbalk niet op het werkvlak rusten (Figuur 21).

De maai-eenheden smeren
Smeer de 5 smeernippels van elk maai-eenheid (Figuur 22) met nr. 2 vet op basis van lithium.
Er zijn 2 smeerpunten op de voorrol, 2 op de achterrol en 1 aan de sleuf van de motor van de messenkooi.
Note: Smeer de maai-eenheden onmiddellijk nadat u deze hebt gewassen. Hierdoor wordt het water afgevoerd uit de lagers en wordt hun levensduur verlengd.
-
Veeg alle smeernippels af met een schone doek.
-
Breng smeervet aan totdat er schoon vet uit de afdichtingen van de rol en de ontlastklep van het lager komt.
-
Veeg eventueel overtollig vet weg.

Specificaties van het ondermes
Onderhoud van het ondermes
De snijbalk/het ondermes verwijderen
-
Draai de stelschroeven van de ondermesbalk linksom om het ondermes weg te trekken van de messenkooi (Figuur 23).

-
Draai de veerspanningsmoer uit totdat de ring niet meer tegen de snijbalk is geklemd (Figuur 23).
-
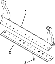
Draai de borgmoer van de snijbalkbout op beide zijden van de machine los (Figuur 24).

-
Verwijder beide ondermesbalkbouten zodat de ondermesbalk omlaag kan worden getrokken en van de machinebout worden verwijderd (Figuur 24). Bewaar de 2 nylon ringen en de stalen ring op beide uiteinden van de ondermesbalk (Figuur 25).

-
Verwijder het ondermes van de snijbalk door alle schroeven die het ondermes op zijn plaats houden te verwijderen. Gebruik een dopsleutel en het schroefgereedschap voor het ondermes (onderdeelnr. TOR510880).
Note: U kunt een mechanische of pneumatische slagsleutel gebruiken om de schroeven van het ondermes los te draaien.
Note: Gooi het ondermes en de schroeven weg.
Het nieuwe ondermes monteren
-
Selecteer een nieuw ondermes volgens de Selectieschema’s voor de maaihoogte en het ondermes.
-
Verwijder roest, aanslag en corrosie van het oppervlak van de snijbalk en breng er een laagje olie op aan.
Important: Verwijder geen gietmateriaal van de snijbalk. De snijbalk is in het midden concaaf; niet slijpen.
-
Reinig de schroefdraad in de snijbalk.
-
Breng anti-seizemiddel aan op de schroeven van het nieuwe ondermes en monteer het ondermes op de snijbalk.
Important: Gebruik enkel nieuwe ondermesschroeven.
Note: Het aantal schroeven varieert afhankelijk van de snijbalk.

-
Draai de 2 buitenste schroeven vast met een torsie van 1 N·m.
-
Draai de schroeven vast met een torsie van 29,8 +/- 1 N·m; werk van het midden van het ondermes naar buiten toe.
Important: Draai de schroeven van het ondermes niet vast met een mechanische of pneumatische slagsleutel.

-
Slijp het nieuwe ondermes; zie Tabel met servicelimieten voor snijplaat.
Tabel met servicelimieten voor snijplaat
De servicelimieten voor het ondermes staan in de volgende tabel.
Important: Als het maai-eenheid wordt gebruikt met het ondermes na de onderhoudslimiet, kan dit leiden tot een slecht maairesultaat en het ondermes minder bestand tegen stoten maken.
| Tabel met ondermesonderhoud | ||||
| Ondermes | Onderdeelnr. | Hoogte ondermeslip | Onderhoudslimiet* | SlijphoekenBoven/voorhoek |
| Lage maaihoogte (optioneel) | 147-1248 (69 cm) | 5,6 mm | 4,8 mm | 10/5° |
| 147-1252 (81 cm) | ||||
| EdgeMax® (optioneel) | 137-6095 (69 cm) | 6,9 mm | 4,8 mm | 10/5° |
| Standard (Productie) | 147-1249 (model 03721/22, 69 cm) | 6,9 mm | 4,8 mm | 10/5° |
| 147-1253 (model 03727, 81 cm) | ||||
| Heavy-duty (optioneel) | 147-1250 (69 cm) | 9,3 mm | 4,8 mm | 10/5° |
| 147-1254 (81 cm) | ||||

Note: Alle metingen van de onderhoudslimieten van het ondermes zijn ten opzichte van de onderkant van het ondermes (Figuur 29).

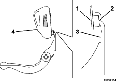
De slijphoek aan de bovenkant controleren
De slijphoek voor de ondermessen is zeer belangrijk.
Gebruik de hoekindicator (Toro onderdeelnummer. 131-6828) en de steun van de hoekindicator (Toro onderdeelnummer. 131-6829) om de hoek die uw slijpmachine produceert te controleren en corrigeer vervolgens de onnauwkeurigheid van de slijpmachine.
-
Plaats de hoekindicator op de onderkant van het ondermes, zoals getoond in Figuur 30.

-
Druk op de Alt Zero knop op de hoekindicator.
-
Plaats de steun van de hoekindicator op de rand van het ondermes zodat de rand van de magneet past op de rand van het ondermes (Figuur 31).
Note: Gedurende deze stap moet de digitale uitlezing zichtbaar zijn van dezelfde kant als in stap 1.

-
Plaats de hoekindicator op de steun zoals getoond in Figuur 31.
Note: Dit is de hoek die uw slijpmachine produceert en deze moet binnen twee graden van de aanbevolen slijphoek aan de bovenkant zijn.
De snijbalk/het ondermes monteren
-
Plaats de snijbalk/het ondermes en zorg ervoor dat de montagelippen zich tussen de onderlegring en de stelschroef van de snijbalk bevinden.
Important: Centreer de DPA-verstellers in de oren van de snijbalk zoals getoond in Figuur 32.Als DPA-verstellers tegen de oren van de snijbalk zijn gemonteerd, kan dit het contact tussen het ondermes en de messenkooi negatief beïnvloeden.

-
Zet de snijbalk vast aan beide zijplaten met de snijbalkbouten (moeren op de bouten) en 3 ringen (6 in totaal).
-
Plaats een nylon ring aan elke zijde van de naaf van de zijplaat. Plaats een stalen ring op de buitenkant van beide nylon ringen (Figuur 25).
-
Draai de bouten van het ondermes vast met een koppel van 37 tot 45 N·m.
-
Draai de borgmoeren van de snijbalk langzaam vast totdat de buitenste stalen ringen net met de hand kunnen worden gedraaid.
Important: Draai de borgmoeren niet te hard aan, anders kunnen de zijplaten vervormen.
Note: De nylon ring tussen de snijbalk en de zijplaat zal een kleine opening vertonen.
-
Draai de veerspanningsmoer vast totdat de veer is ingedrukt; draai deze vervolgens een ½ slag terug (Figuur 33).

Specificaties van de messenkooi
Hoekslijpen van de messenkooi
De nieuwe messenkooi heeft een platte zijkant van 1,3 tot 1,5 mm en een hoek van 30 graden.
Wanneer de platte zijkant groter dan 3 mm wordt, doe dan het volgende:
-
Slijp alle messen onder een hoek van 30 graden tot de platte zijkant 1,3 mm breed is (Figuur 34).

-
Draaislijp de messenkooi tot de onregelmatigheid van de messen niet meer dan 0,025 mm bedraagt.
Note: Hierdoor wordt de platte zijkant een beetje groter.
Note: Om (na het slijpen van de messenkooi en/of het ondermes) de messenkooi en het ondermes langer scherp te houden controleert u het contact tussen de messenkooi en het ondermes opnieuw nadat u 2 fairways gemaaid hebt. Dit is omdat bij het maaien bramen worden verwijderd, wat onjuiste speling tussen de messenkooi en het ondermes tot gevolg kan hebben en de slijtage kan versnellen.
-
Gebruik diametermeetlint om de buitendiameter van de messenkooi aan beide uiteinden te meten (Figuur 35); het verschil in buitendiameter tussen de uiteinden dient minder dan 0,25 mm te zijn. Indien het verschil groter is, moet u slijpen om het verschil te corrigeren.
Note: Buitendiametermeetlint is verkrijgbaar bij uw erkende Toro-distributeur verdeler.

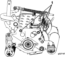
Onderhoud uitvoeren aan de zwaar uitgevoerde tweepuntsafstelling (DPA)
-
Verwijder alle onderdelen (raadpleeg Aanwijzingen voor montage van de HD DPA-set en Figuur 36).
-
Breng anti-vastlooppasta aan op de binnenkant van de plaats van de lager op het middelste frame van de maai-eenheid (Figuur 36).
-
Lijn de pinnen van de flenslagers uit met de openingen in het frame en monteer de lagers (Figuur 36).
-
Monteer een golfring op de afstelas en schuif de afstelas in de flensbussen in het frame van de maai-eenheid (Figuur 36).
-
Bevestig de afstelas met een platte ring en een borgmoer (Figuur 36).
-
Draai de borgmoer vast met een koppel van 20 tot 27 N·m.
Note: De afstelas van de snijbalk heeft linksdraaiende schroefdraad.

-
Breng anti-vastlooppasta aan op de schroefdraad van de snijbalkstelschroef die in de afstelas gaat.
-
Schroef de stelschroef van de snijbalk in de afstelas.
-
Monteer de geharde ring, veer en veerspanningsmoer losjes op de stelschroef.
-
Plaats de snijbalk en zorg ervoor dat de montagelippen zich tussen de ring en de stelschroef van de snijbalk bevinden.
-
Zet de snijbalk vast aan beide zijplaten met de snijbalkbouten (moeren op de bouten) en 6 ringen.
Note: Plaats een nylon ring aan elke zijde van de naaf van de zijplaat.
-
Plaats een stalen ring op de buitenkant van beide nylon ringen (Figuur 36).
-
Draai de bouten van het ondermes vast met een koppel van 37 tot 45 N·m.
-
Draai de borgmoeren vast tot de buitenste stalen ring stopt met draaien en er geen eindspeling meer is, maar draai de moeren niet te vast en zorg ervoor dat de zijplaten niet vervormen.
Note: De ringen aan de binnenkant mogen speelruimte hebben (Figuur 36).
-
Draai de moer van elke snijbalkafsteller vast tot de drukveer volledig ingedrukt is. Draai vervolgens de moer een halve slag los (Figuur 36).
-
Herhaal deze procedure aan de andere kant van de eenheid.
-
Stel het contact tussen ondermes en messenkooi af; zie Contact tussen ondermes en messenkooi afstellen.
Onderhoud van de rol
Er zijn een revisieset voor de rol (onderdeelnr. 114-5430) en een gereedschapsset voor revisie van de rol (onderdeelnr. 115-0803) (Figuur 37) verkrijgbaar om de rol een onderhoudsbeurt te geven. De revisieset omvat alle lagers, lagermoeren en binnen- en buitenpakkingen die nodig zijn om een rol te reviseren. De gereedschapsset bevat alle werktuigen en montage-instructies die nodig zijn om een rol te reviseren met de revisieset. Zie de onderdelencatalogus of neem contact op met uw erkende Toro- distributeur als u hulp nodig heeft.



te letten, dat betekent Voorzichtig, Waarschuwing
of Gevaar – instructie voor persoonlijke veiligheid. Niet-naleving
van deze instructies kan leiden tot lichamelijk of dodelijk letsel.
















