Manutenzione
Supporto dell'apparato di taglio
Quando occorre inclinare l’elemento di taglio per accedere alla controlama o al cilindro, sostenete la parte posteriore dell’elemento con il cavalletto (in dotazione con il trattore) in modo che i dadi sul retro delle viti di regolazione della barra di appoggio non poggino sul piano di lavoro (Figura 21).

Lubrificazione degli apparati di taglio
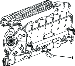
Lubrificate i 5 raccordi d'ingrassaggio su ogni apparato di taglio (Figura 22) utilizzando grasso al litio n. 2.
Sono presenti 2 punti di lubrificazione sul rullo anteriore, 2 sul rullo posteriore e 1 sulla scanalatura del motore dei cilindri.
Note: La lubrificazione degli apparati di taglio subito dopo il lavaggio contribuisce ad eliminare l’acqua dai cuscinetti e ad aumentarne la vita utile.
-
Con uno straccio pulito passare ciascun raccordo di ingrassaggio.
-
Applicate il grasso fino a quando non esce grasso pulito dalle guarnizioni dei rulli e dalla valvola di sfogo dei cuscinetti.
-
Eliminate il grasso in eccesso con uno straccio.

Specifiche della controlama
Manutenzione della controlama
Rimozione del gruppo della barra di appoggio/controlama
-
Ruotate le viti di regolazione della barra di appoggio in senso antiorario per allontanare la controlama dal cilindro (Figura 23).

-
Allentate il dado di tensione della molla finché la rondella non sarà più in tensione contro la barra di appoggio (Figura 23).
-
Su ciascun lato della macchina, allentate il dado di bloccaggio che fissa il bullone della barra di appoggio (Figura 24).

-
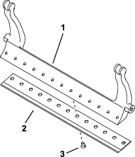
Togliete ciascun bullone della barra di appoggio consentendo alla barra di appoggio di essere tirata verso il basso e rimossa dal bullone della macchina (Figura 24). Considerate 2 rondelle in nylon e 1 rondella in acciaio stampato su ciascun lato della barra di appoggio (Figura 25).

-
Rimuovete la controlama dalla barra di appoggio rimuovendo tutte le viti che la fissano. Utilizzate una chiave a cricchetto con l'utensile per viti da controlama (n. cat. TOR510880).
Note: Potete utilizzare un avvitatore a impulsi meccanico o pneumatico per allentare le viti della controlama.
Note: Smaltite la controlama e le viti.
Montaggio della nuova controlama
-
Selezionate una nuova controlama in base alle Tabelle di selezione altezza di taglio e controlama.
-
Eliminate ruggine, incrostazioni e corrosione dalla superficie della barra di appoggio e applicate un sottile strato d'olio.
Important: Non rimuovete materiale di colata dalla barra di appoggio. La barra di appoggio è concava nel mezzo per progettazione; non rettificatela.
-
Pulite le filettature della barra di appoggio.
-
Applicate del composto antigrippaggio sulle viti della controlama e montate la controlama sulla barra di appoggio.
Important: Utilizzate solo viti per controlama nuove.
Note: La quantità di viti dipende dalla barra di appoggio.

-
Serrate le 2 viti esterne a 1 N∙m.
-
Partendo dal centro della controlama, serrate le viti a 29,8 +/- 1 N∙m.
Important: Non serrate le viti della controlama utilizzando un avvitatore a impulsi meccanico o pneumatico.

-
Affilate la nuova controlama; fate riferimento a Tabella dei limiti di servizio della controlama.
Tabella dei limiti di servizio della controlama
I limiti di servizio della controlama sono elencati nella tabella riportata di seguito.
Important: L’uso dell’apparato di taglio con la controlama al di sotto del limite di servizio può comportare un aspetto dopo il taglio di scarsa qualità e ridurre l’integrità strutturale della controlama in caso di urti.
| Tabella dei limiti di servizio della controlama | ||||
| Controlama | N. cat. | Altezza tagliente controlama | Limite di servizio* | Angoli di affilaturaAngoli superiore/anteriore |
| Altezza di taglio ridotta (Optional) | 147-1248 (69 cm) | 5.6 mm | 4.8 mm | 10/5° |
| 147-1252 (81 cm) | (0,220") | (0,190") | ||
| EdgeMax® (Optional) | 137-6095 (69 cm) | 6,9 mm | 4.8 mm | 10/5° |
| (0,270") | (0,190") | |||
| Standard (Produzione) | 147-1249 (modello 03721/22, 69 cm) | 6,9 mm | 4.8 mm | 10/5° |
| 147-1253 (modello 03727, 81 cm) | (0,270") | (0,190") | ||
| Servizio pesante (Optional) | 147-1250 (69 cm) | 9.3 mm | 4.8 mm | 10/5° |
| 147-1254 (81 cm) | (0,190") | |||

Note: Tutte le misure relative al limite di assistenza della controlama vengono prese dall’estremità inferiore della controlama (Figura 29).

Verifica dell'angolo di affilatura superiore
L'angolo che utilizzate per affilare le vostre controlame è molto importante.
Utilizzate il goniometro (n. cat. Toro 131-6828) e il relativo supporto (n. cat. Toro 131-6829) per verificare l'angolo prodotto dalla vostra mola e poi rettificatelo in caso di eventuali imprecisioni.
-
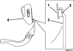
Posizionate il goniometro sul lato inferiore della controlama, come illustrato nella Figura 30.

-
Premete il pulsante Alt Zero sul goniometro.
-
Posizionate il supporto del goniometro sul bordo della controlama, in modo che il bordo del magnete corrisponda a quello della controlama (Figura 31).
Note: Durante questa fase il display digitale deve essere visibile dallo stesso lato della fase 1.

-
Posizionate il goniometro sul supporto, come illustrato nella Figura 31.
Note: Questo è l'angolo prodotto dalla vostra mola e dovrebbe rientrare entro 2 gradi dall'angolo di affilatura superiore raccomandato.
Montaggio del gruppo della barra di appoggio/controlama
-
Montate il gruppo della barra di appoggio/controlama, posizionando gli attacchi di montaggio tra la rondella e la vite di regolazione della barra di appoggio.
Important: Centrate i regolatori DPA tra gli attacchi della barra di appoggio come illustrato nella Figura 32.Se i regolatori DPA vengono montati a contatto con gli attacchi della barra di appoggio, ciò potrebbe influenzare negativamente il contatto tra la controlama e il rullo.

-
Fissate la barra di appoggio su ciascuna piastra laterale mediante gli appositi bulloni (dadi sui bulloni) e 3 rondelle (6 in tutto).
-
Collocate una rondella in nylon su ciascun lato della flangia di estremità della piastra laterale. Posizionate una rondella in acciaio all’esterno di ciascuna rondella in nylon (Figura 25).
-
Serrate i bulloni della barra di appoggio a un valore compreso tra 37 e 45 N∙m.
-
Serrate lentamente i dadi di bloccaggio della barra di appoggio fino a eliminare il gioco di estremità dalle rondelle in acciaio, ma in modo che sia possibile ruotarli manualmente.
Important: Non serrate eccessivamente i dadi di bloccaggio o devierete le piastre laterali.
Note: La rondella in nylon tra la barra di appoggio e la piastra laterale presenterà un piccolo spazio.
-
Serrate il dado di tensione della molla finché la molla non si schiaccia, quindi allentate di 1/2 giro (Figura 33).

Specifiche del cilindro
Rettifica del cilindro
Il nuovo cilindro ha una larghezza a terra di 1,3–1,5 mm e una rettifica di 30 gradi.
Quando la larghezza a terra supera i 3 mm, effettuate quanto segue:
-
Applicate un'ulteriore rettifica di 30 gradi sulle lame del cilindro in modo da ottenere una larghezza di 1,3 mm (Figura 34).

-
Molate per rotazione il cilindro per ottenere una sporgenza dei cilindri di <0,025 mm.
Note: Ciò fa sì che la larghezza a terra aumenti leggermente.
Note: Per mantenere affilato più a lungo il bordo del cilindro e della controlama – dopo la molatura del cilindro e/o della controlama – ricontrollate il contatto tra cilindro e controlama dopo il taglio di 2 fairway, in quanto si rimuoverà qualsiasi bavatura che possa causare un gioco inadatto tra cilindro e controlama e quindi accelerare l'usura.
-
Con un nastro per la misurazione del diametro, misurate il diametro esterno del cilindro a entrambe le estremità (Figura 35); la differenza del diametro esterno tra le estremità dovrà essere inferiore a 0,250 mm. Se la differenza è maggiore, eseguire la molatura per correggere la differenze.
Note: Il nastro di misurazione del diametro esterno è disponibile presso il distributore autorizzato Toro.

Revisione dei regolatori a due punti HD (DPA).
-
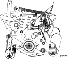
Rimuovete tutti i componenti (fate riferimento alle Istruzioni per l'installazione del kit DPA HD e a Figura 36).
-
Applicate del lubrificante antigrippaggio all'interno dell'elemento in cui vanno montate le boccole, sul telaio centrale dell'apparato di taglio (Figura 36).
-
Allineate le chiavette sulle boccole flangiate alle scanalature sul telaio e montate le boccole (Figura 36).
-
Montate una rondella ondulata sull'albero del dispositivo di regolazione e inserite l'albero all'interno delle boccole flangiate sul telaio dell'apparato di taglio (Figura 36).
-
Fissate l'albero del dispositivo di regolazione con una rondella piana e un dado di bloccaggio (Figura 36).
-
Serrate il dado di bloccaggio a un valore compreso tra 20 e 27 N∙m.
Note: L'albero del dispositivo di regolazione della barra di appoggio è sinistrorso.

-
Applicate un composto antigrippaggio sui filetti della vite del dispositivo di regolazione della barra di appoggio che si innesta nell'albero del dispositivo di regolazione.
-
Avvitate la vite del dispositivo di regolazione della barra di appoggio nell'albero.
-
Montate, senza serrare, la rondella rinforzata, la molla e il dado di tensione della molla sulla vite del dispositivo di regolazione.
-
Montate la barra di appoggio, posizionando gli attacchi di montaggio tra la rondella e il regolatore della barra di appoggio.
-
Fissate la barra di appoggio su ciascuna piastra laterale mediante gli appositi bulloni (dadi sui bulloni) e 6 rondelle.
Note: Collocate una rondella in nylon su ciascun lato della flangia di estremità della piastra laterale.
-
Posizionate una rondella in acciaio all’esterno di ciascuna rondella in nylon (Figura 36).
-
Serrate i bulloni della barra di appoggio a un valore compreso tra 37 e 45 N∙m.
-
Serrate i dadi di bloccaggio finché la rondella in acciaio esterna non cesserà di ruotare e il gioco di estremità verrà eliminato, ma non serrate eccessivamente o non deviate le piastre laterali.
Note: Le rondelle all’interno possono avere del gioco (Figura 36).
-
Serrate il dado su ciascun gruppo di regolazione della barra di appoggio fino a comprimere completamente la molla di compressione, quindi allentate il dado di 1/2 giro (Figura 36).
-
Ripetete questa operazione sull'altra estremità dell'apparato di taglio.
-
Regolate la controlama rispetto al cilindro; fate riferimento a Regolazione della controlama rispetto al cilindro.
Manutenzione del rullo
Per la manutenzione del rullo sono disponibili un Kit di ricostruzione rullo (n. cat. 114-5430) e un Kit utensili per ricostruzione rullo (n. cat. 115-0803) (Figura 37). Il Kit di ricostruzione rullo include tutti i cuscinetti, i dadi dei cuscinetti, le guarnizioni interne ed esterne necessari per ricostruire un rullo. Il Kit utensili per ricostruzione rullo include tutti gli utensili e le istruzioni d’installazione necessari per ricostruire un rullo con il kit di ricostruzione rullo. Consultate il catalogo ricambi o il vostro distributore Toro autorizzato per ricevere assistenza.



che riporta l’indicazione di Attenzione,
Avvertenza o Pericolo – norme di sicurezza personali. Il mancato
rispetto di queste istruzioni può provocare infortuni o la
morte.
















