Údržba
Podepření žací jednotky
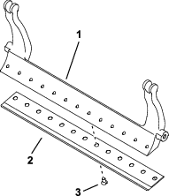
Kdykoli potřebujete žací jednotku naklopit a získat tak přístup k plochému noži či vřetenu, podepřete zadní stranu žací jednotky nohou ovládaným stojanem (je dodáván s hnací jednotkou) tak, aby matice na zadním konci seřizovacích šroubů držáku plochého nože nespočívaly na pracovním povrchu (Obrázek 21).

Mazání žacích jednotek
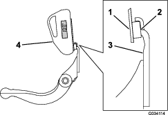
Pravidelně aplikujte mazivo na bázi lithia č. 2 do 5 maznic na každé žací jednotce (Obrázek 22).
K dispozici jsou 2 mazací místa na předním válci, 2 místa na zadním válci a 1 místo pro drážku vřetena motoru.
Note: Mazání žacích jednotek ihned po umytí napomáhá vytlačení vody z ložisek a prodlužuje jejich životnost.
-
Utřete všechny maznice čistým hadrem.
-
Aplikujte mazivo, dokud nezačne čisté mazivo vystupovat z těsnění válce a přetlakového ventilu ložiska.
-
Přebytečné mazivo otřete.

Specifikace plochého nože
Údržba plochého nože
Demontáž montážního celku držáku plochého nože / plochého nože
-
Otočením seřizovacích šroubů držáku plochého nože proti směru hodinových ručiček posuňte plochý nůž dále od vřetena (Obrázek 23).

-
Vyšroubujte matici pro napnutí pružiny, aby pružina netlačila podložku k držáku plochého nože (Obrázek 23).
-
Na obou stranách stroje povolte pojistnou matici zajišťující šroub držáku plochého nože (Obrázek 24).

-
Demontujte jednotlivé šrouby držáku plochého nože, aby bylo možné stáhnout držák dolů a sejmout jej z žací jednotky (Obrázek 24).
Počítejte se 2 nylonovými podložkami a 1 ocelovou podložkou na obou koncích držáku plochého nože (Obrázek 25).

-
Demontujte plochý nůž z držáku plochého nože tak, že demontujete všechny jeho upevňovací šrouby. Použijte nástrčný klíč a šroubový nástroj na plochý nůž (č. dílu TOR510880).
Note: K povolení šroubů plochého nože můžete použít mechanický nebo pneumatický rázový utahovák.
Note: Plochý nůž a šrouby zlikvidujte.
Montáž nového plochého nože
-
Vyberte správný nový nůž, viz Tabulky pro výběr výšky sekání a plochého nože.
-
Z povrchu plochého nože odstraňte korozi a usazeniny a aplikujte na něj tenkou vrstvu oleje.
Important: Neodstraňujte nálitky z držáku plochého nože. Držák plochého nože je z výroby uprostřed prohnutý – nezabrušujte ho.
-
Vyčistěte závity v plochém noži.
-
Na šrouby plochého nože aplikujte přípravek proti zadírání a namontujte plochý nůž na držák plochého nože.
Important: Používejte pouze nové šrouby plochého nože.
Note: Počet šroubů se liší v závislosti na držáku plochého nože.

-
Dva vnější šrouby utáhněte na utahovací moment 1 Nm.
-
Utáhněte šrouby na utahovací moment 29,8 +/- 1 Nm, přičemž postupujte od středu plochého nože.
Important: Šrouby plochého nože neutahujte mechanickým nebo pneumatickým rázovým utahovákem.

-
Nabruste nový plochý nůž; viz Tabulka provozních limitů plochého nože.
Tabulka provozních limitů plochého nože
Provozní limity plochého nože jsou uvedeny v následující tabulce.
Important: Použití žací jednotky s plochým nožem za provozním limitem může vést k nekvalitnímu vzhledu trávy po sekání a narušení celistvosti konstrukce plochého nože v případě nárazů.
| Tabulka provozních limitů plochého nože | ||||
| Plochý nůž | Objednací číslo | Výška břitu plochého nože | Provozní limit* | Úhly broušeníHorní/přední úhel |
| Tournament (volitelně) | 147-1256 (18 in)147-1257 (22 in) | 4,3 mm | 3,4 mm | 5/5 stupňů |
| Pro nízkou VS(model 03489) | 121-3167 (18 in)147-1244 (22 in) | 5,6 mm | 4,8 mm | 10/5 stupňů |
| EdgeMax® pro nízkou VS(model 03485)(model 03487) | 137-6090 (18 in)137-6093 (22 in) | 5,6 mm(0,220 in) | 4,8 mm(0,190 in) | 10/5 stupňů |
| Rozšířený pro nízkou VS (volitelně) | 147-1243 (22 in) | 5,6 mm | 4,8 mm | 10/10 stupňů |
| Rozšířený EdgeMax® pro nízkou VS (volitelně) | 119-4280(22 inch) | 5,6 mm | 4,8 mm | 10/10 stupňů |
| EdgeMax® (model 03484)(Model 03486) | 137-6091 (18 in)137-6094 (22 in) | 6.9 mm(0,270 in) | 4,8 mm(0,190 in) | 10/5 stupňů |
| Standardní (volitelně) | 147-1241 (18 in)147-1245 (22 in) | 6,9 mm | 4,8 mm | 10/5 stupňů |
| Se zvýšenou odolností (volitelně) | 147-1246 (22 in) | 9,3 mm | 4,8 mm | 10/5 stupňů |
Doporučené úhly zbroušení pro horní a přední úhel plochého nože (Obrázek 28)

Note: Všechny hodnoty provozních limitů plochého nože se týkají spodního okraje plochého nože (Obrázek 29).

Kontrola úhlu horního zbroušení
Velmi důležitý je úhel, pod kterým zabrušujete své ploché nože.
Použitím ukazatele úhlu (číslo dílu Toro 131-6828) a držáku ukazatele úhlu (číslo dílu Toro 131-6829) zkontrolujte úhel své brusky a následně správně upravte veškeré nepřesné nastavení brusky.
-
Umístěte ukazatel úhlu na spodní stranu plochého nože, viz Obrázek 30.

-
Stiskněte tlačítko Alt Zero“ na ukazateli úhlu.
-
Umístěte držák ukazatele úhlu na hranu plochého nože tak, aby hrana magnetu byla spojená s okrajem plochého nože (Obrázek 31).
Note: Digitální displej by měl být vidět ze stejné strany během tohoto kroku, stejně, jako v kroku 1.

-
Umístěte ukazatel úhlu na držák, viz Obrázek 31.
Note: To je úhel vaší brusky, jenž by měl být v rozmezí 2 stupňů doporučeného horního zbroušení.
Montáž montážního celku držáku plochého nože / plochého nože
-
Namontujte montážní celek držáku plochého nože / plochého nože – montážní výstupky umístěte mezi podložku a seřizovací šroub držáku plochého nože.
Important: Vycentrujte seřizovací prvky DPA ve výstupcích plochého nože, viz Obrázek 32.Pokud jsou seřizovací prvky DPA namontovány proti výstupkům plochého nože, může to negativně ovlivnit kontakt plochého nože s vřetenem.

-
Upevněte držák plochého nože k oběma bočním deskám pomocí šroubů držáku plochého nože (matice na šroubech) a 3 podložek (celkem 6).
-
Umístěte nylonovou podložku na obě strany výčnělku boční desky. Na vnější stranu nylonových podložek umístěte ocelovou podložku (Obrázek 25).
-
Šrouby držáku plochého nože utáhněte na utahovací moment 37 až 45 Nm (27 až 33 ft-lb).
-
Pomalu utahujte pojistné matice držáku plochého nože, dokud nebude možné vnějšími ocelovými podložkami otáčet rukou.
Important: Pojistné matice nadměrně neutahujte, jinak vychýlí boční desky.
Note: Nylonová podložka mezi držákem plochého nože a boční deskou bude mít malou vůli.
-
Utáhněte matici pro napnutí pružiny, až dojde ke stlačení pružiny, a poté ji povolte o ½ otáčky (Obrázek 33).

Specifikace vřetena
Podbrušování vřetena
Nové vřeteno má šířku krajní plochy 1,3 až 1,5 mm a 30° podbroušení.
Pokud se šířka krajní plochy zvětší nad 3 mm, postupujte následovně:
-
Všechny nože vřetena podbruste na 30° tak, aby byla krajní plocha široká 1,3 mm (Obrázek 34 a Obrázek 35).


-
Rotačně zabruste vřeteno tak, aby byla zajištěna házivost vřetena menší než 0,025 mm.
Note: Tím dojde k mírnému zvětšení šířky krajní plochy.
Note: Chcete-li zvýšit životnost ostří hrany vřetena a plochého nože – po zabroušení vřetena a/nebo plochého nože – po posečení 2 fervejí znovu zkontrolujte správný kontakt plochého nože a vřetena. Dojde tak k odstranění veškerých otřepů, což může způsobit nesprávnou vzdálenost mezi vřetenem a plochým nožem a tím rychlejší opotřebení.
-
Pomocí pásma pro měření průměru změřte vnější průměr vřetena na obou koncích (Obrázek 36); rozdíl vnějšího průměru mezi konci musí být menší než 0,250 mm. Pokud je rozdíl větší, upravte rozdíl zabroušením.
Note: Pásmo pro měření vnějšího průměru je k dispozici u místního autorizovaného prodejce Toro.

Údržba dvoubodových seřizovacích prvků (DPA) HD
-
Demontujte všechny díly (postupujte podle montážních pokynů k sadě HD DPA a podle Obrázek 37).
-
Na vnitřní stranu oblasti pouzdra na středovém rámu žací jednotky naneste přípravek proti zadírání (Obrázek 37).
-
Vyrovnejte klíny na přírubových pouzdrech s drážkami v rámu a nasaďte pouzdra (Obrázek 37).
-
Nasaďte vlnitou podložku na dřík seřizovacího prvku a dřík zasuňte do přírubového pouzdra v rámu žací jednotky (Obrázek 37).
-
Upevněte dřík seřizovacího prvku pomocí ploché podložky pojistné matice (Obrázek 37).
-
Pojistnou matici utáhněte na utahovací moment 20 až 27 Nm (15 až 20 ft-lb).
Note: Dřík seřizovacího prvku držáku plochého nože má levotočivý závit.

-
Aplikujte přípravek proti zadírání na závity seřizovacího šroubu držáku plochého nože, jež bude zaveden do dříku seřizovacího prvku.
-
Našroubujte seřizovací šroub držáku plochého nože do dříku seřizovacího prvku.
-
Volně nasaďte tvrzenou podložku, pružinu a matici pro stlačení pružiny na seřizovací šroub.
-
Namontujte držák plochého nože; montážní výstupky přitom umístěte mezi podložku a seřizovací prvek držáku plochého nože.
-
Upevněte držák plochého nože k oběma bočním deskám pomocí šroubů držáku plochého nože (s maticemi na šroubech) a 6 podložek.
Note: Umístěte nylonovou podložku na obě strany výčnělku boční desky.
-
Na vnější stranu nylonových podložek umístěte ocelovou podložku (Obrázek 37).
-
Šrouby držáku plochého nože utáhněte na utahovací moment 37 až 45 Nm (27 až 33 ft-lb).
-
Utáhněte pojistné matice, dokud se vnější ocelová podložka nepřestane otáčet a vůle nezmizí, avšak nepřetahujte, aby nedošlo k vychýlení bočních desek.
Note: U podložek uvnitř může vzniknout mezera (Obrázek 37).
-
Utáhněte matici na obou koncích sestavy seřizovacího prvku držáku plochého nože, dokud nebude pružina zcela stlačena, a poté matici povolte o ½ otáčky (Obrázek 37).
-
Uvedený postup zopakujte i na opačné straně žací jednotky.
-
Seřiďte plochý nůž na vřetenu, viz Seřízení plochého nože k vřetenu.
Údržba válce
Pro údržbu válce je k dispozici Sada pro opravu válce (objednací číslo 114-5430) a Sada nástrojů pro opravu válce (objednací číslo 115-0803) (Obrázek 38). Sada pro opravu válce obsahuje všechna ložiska, matice ložisek, vnitřní a vnější těsnění nutné k opravě válce. Sada nástrojů pro opravu válce obsahuje všechny nástroje a montážní pokyny nutné pro opravu válce pomocí sady pro opravu. Informace najdete v katalogu dílů nebo se obraťte na autorizovaného distributora Toro a vyžádejte si další podporu.



, který znamená
Upozornění, Výstrahu nebo Nebezpečí
– pokyny k zajištění osobní
bezpečnosti. Nedodržení těchto pokynů
může mít za následek zranění
osob nebo jejich usmrcení.

















