Întreţinere
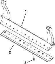
Susținerea unității de tăiere
Oricând unitatea de tăiere trebuie înclinată pentru a expune contracuțitul/cilindrul, proptiți spatele unității de tăiere cu ajutorul suportului (furnizat alături de unitatea de tracțiune), pentru a asigura faptul că piulițele de la capătul posterior al șuruburilor de reglare pentru bara de cadru nu se află pe suprafața de lucru (Figura 21).

Lubrifierea unităților de tăiere
Fiecare unitate de tăiere este prevăzută cu 5 gresoare (Figura 22) care trebuie unse periodic cu vaselină cu litiu nr. 2.
Există 2 puncte de lubrifiere pe rola frontală, rola posterioară și 1 în canelura motorului de cilindru.
Note: Ungerea unităților de tăiere imediat după spălare ajută la eliminarea apei din rulmenți și prelungește durata de viață a rulmenților.
-
Ștergeți gresoarele cu o lavetă curată.
-
Lubrifiați până când se scurge lubrifiant curat din garniturile de etanșare ale rolei și din supapa de scurgere a rulmentului.
-
Ștergeți excesul de lubrifiant.

Specificații privind contracuțitul
Lucrări de service pentru contracuțit
Îndepărtarea ansamblului bară de cadru/contracuțit
-
Rotiți șuruburile de reglare pentru bara de cadru în sens invers acelor de ceasornic pentru a îndepărta contracuțitul de cilindru (Figura 23).

-
Deșurubați piulița pentru tensionarea arcului până când șaiba nu mai este lipită de bara de cadru (Figura 23).
-
Pe fiecare latură a mașinii, slăbiți contrapiulița care fixează șurubul barei de cadru (Figura 24).

-
Îndepărtați fiecare șurub al barei de cadru, permițând tragerea în jos și îndepărtarea acesteia de pe unitatea de tăiere (Figura 24).
Asigurați-vă că la capătul barei de cadru există 2 șaibe din nailon și 1 șaibă din oțel ștanțată (Figura 25).

-
Îndepărtați contracuțitul de la nivelul barei de cadru prin eliminarea tuturor șuruburilor care îl fixează. Utilizați o cheie tubulară cu unealta pentru înșurubarea contracuțitului (nr. piesă TOR510880).
Note: Puteți utiliza o cheie de impact mecanică sau pneumatică pentru a slăbi șuruburile contracuțitului.
Note: Eliminați contracuțitul și șuruburile.
Instalarea contracuțitului nou
-
Selectați un contracuțit nou în conformitate cu Diagrame de selectare a înălțimii de tăiere și a contracuțitului.
-
Îndepărtați urmele de rugină și de coroziune și depunerile de pe suprafața barei de cadru și aplicați un strat subțire de ulei pe suprafața barei de cadru.
Important: Nu îndepărtați materialul turnat de la nivelul barei de cadru. Prin concept, bara de cadru este concavă în centru; nu rectificați.
-
Curățați filetele de la nivelul barei de cadru.
-
Aplicați agent anti-blocare pe șuruburile noi ale contracuțitului și montați contracuțitul pe bara de cadru.
Important: Utilizați numai șuruburi noi pentru contracuțit.
Note: Cantitatea de șuruburi variază în funcție de bara de cadru.

-
Strângeți cele 2 șuruburi exterioare la un cuplu de 1 N∙m.
-
Începând din centrul contracuțitului, strângeți șuruburile la un cuplu de 29,8 +/- 1 N∙m.
Important: Nu strângeți șuruburile contracuțitului cu ajutorul unei chei de impact mecanice sau pneumatice.

-
Rectificați contracuțitul, consultați Tabel pentru reparațiile contracuțitului.
Tabel pentru reparațiile contracuțitului
Limitele pentru reparațiile contracuțitului sunt enumerate în tabelul de mai jos.
Important: Utilizarea unității de tăiere cu contracuțitul sub limita de reparație poate duce la un aspect necorespunzător după tăiere și poate reduce integritatea structurală a contracuțitului în caz de impact.
| Tabel pentru reparațiile contracuțitului | ||||
| Contracuțit | Piesă | Înălțimea marginii contracuțitului | Limită pentru reparații * | Unghiuri de rectificare Unghiuri superioare/frontale |
| Tournament (opțional) | 147-1257 | 4,3 mm | 3,4 mm | 5/5° |
| Înălţime de tăiere joasă EdgeMax® (Model 03641) | 137-6093 | 5,6 mm | 4,8 mm | 10°/5° |
| Înălţime de tăiere joasă (Model 03643) | 147-1244 | 5,6 mm | 4,8 mm | 10°/5° |
| Înălţime de tăiere joasă EdgeMax® extinsă (opțional) | 119-4280 | 5,6 mm | 4,8 mm | 10°/10° |
| Înălţime de tăiere joasă extinsă (opțional) | 147-1243 | 5,6 mm | 4,8 mm | 10°/10° |
| EdgeMax® (Modelele 03638 și 03639) | 137-6094 | 6,9 mm | 4,8 mm | 10°/5° |
| Standard (opțional) | 147-1245 | 6,9 mm | 4,8 mm | 10°/5° |
| Pentru condiții grele (opțional) | 147-1246 | 9,3 mm | 4,8 mm | 10°/5° |
Unghiuri de rectificare superioare și frontale recomandate pentru contracuțit (Figura 28)

Note: Toate măsurătorilor privind limitele pentru reparațiile contracuțitului se referă la partea inferioară a contracuțitului (Figura 29)

Verificarea unghiului de rectificare superior
Unghiul folosit pentru ascuțirea contracuțitelor este foarte important.
Folosiți indicatorul de unghi (nr. piesă Toro 131-6828) și suportul indicatorului de unghi (nr. piesă Toro 131-6829) pentru a verifica unghiul produs de rectificator și corectați orice eroare a acestuia.
-
Amplasați indicatorul de unghi în partea inferioară a contracuțitului, conform indicațiilor din Figura 30.

-
Apăsați butonul Alt Zero de pe indicatorul de unghi.
-
Amplasați suportul indicatorului de unghi pe marginea contracuțitului, astfel încât marginea magnetului să se îmbine cu marginea contracuțitului (Figura 31).
Note: La acest pas, afișajul digital trebuie să fie vizibil din aceeași parte ca la pasul 1.

-
Amplasați indicatorul de unghi pe suport, conform indicațiilor din Figura 31.
Note: Acesta este unghiul rectificatorului și trebuie să fie într-o marjă de 2° față de unghi de rectificare superior recomandat.
Instalarea ansamblului bară de cadru/contracuțit
-
Instalați ansamblul bară de cadru/contracuțit, poziționând urechile de montare între șaibă și șurubul de reglare pentru bara de cadru.
Important: Centrați șuruburile de reglare DPA în urechile barei de cadru, așa cum se arată în Figura 32.Dacă șuruburile de reglare DPA sunt instalate lipite de urechile barei de cadru, acest lucru poate avea un efect negativ asupra contactului între contracuțit și cilindru.

-
Fixați bara de cadru de fiecare placă laterală cu ajutorul șuruburilor barei de cadru (piulițe pe șuruburi) și 3 șaibe (6 în total).
-
Amplasați o șaibă din nailon pe fiecare parte a butucului plăcii laterale. Amplasați o șaibă din oțel în afara fiecărei șaibe din nailon (Figura 25).
-
Strângeţi şuruburile barei de cadru la un cuplu de 37–45 N·m.
-
Strângeți încet contrapiulițele barei de cadru până când șaibele din oțel exterioare se pot roti cu mâna.
Important: Nu strângeți excesiv contrapiulițele, deoarece vor încovoia plăcile laterale.
Note: Șaiba din nailon dintre bara de cadru și placa laterală va prezenta un spațiu mic.
-
Strângeți piulița pentru tensionarea arcului până când arcul este pliat, apoi deșurubați-o jumătate de rotație (Figura 33).

Specificații pentru cilindru
Rectificarea cilindrului
Noul cilindru are o lățime la sol între 1,3 și 1,5 mm și un unghi de rectificare de 30°.
Când lățimea la sol depășește 3 mm, luați următoarele măsuri:
-
Aplicați un unghi de rectificare 30° pentru toate lamele cilindrului, până când lățimea la sol atinge 1,3 mm (Figura 34 și Figura 35).


-
Învârtiți cilindrul pentru a obține o bătaie a cilindrului de <0,025 mm.
Note: Acest lucru duce la o ușoară creștere a lățimii la sol.
Note: Pentru a prelungi longevitatea stării ascuțite a marginii cilindrului și contracuțitului – după ascuțirea cilindrului și/sau a contracuțitului – verificați contactul dintre cilindru și contracuțit, după ce tundeți 2 pase, deoarece se vor îndepărta orice bavuri, care pot crea un spațiu inadecvat între cilindru și contracuțit, astfel accelerând uzura.
-
Cu ajutorul unei rulete pentru diametru, măsurați diametrul exterior al cilindrului, la ambele capete (Figura 36); diferența de diametru exterior dintre capete trebuie să fie mai mică de 0,250 mm. Dacă diferența este mai mare, rectificați pentru a corecta diferența.
Note: Ruleta pentru măsurarea diametrului exterior este disponibilă la distribuitorul autorizat Toro.

Lucrări de service pentru șuruburile de reglare cu două puncte HD (DPA)
-
Îndepărtați toate piesele (consultați Instrucţiunile de instalare pentru Setul HD DPA și Figura 37).
-
Aplicați agent anti-blocare în interiorul bucșei de pe cadrul central al unității de tăiere (Figura 37).
-
Aliniați cheile de pe bucșele cu flanșă cu fantele din cadrul și instalați bucșele (Figura 37).
-
Montați o șaibă ondulată pe arborele șurubului de reglare și glisați-l în bucșele cu flanșă din cadrul unității de tăiere (Figura 37).
-
Fixați arborele șurubului de reglare cu o șaibă plată și o contrapiuliță (Figura 37).
-
Strângeţi contrapiulița la un cuplu de 20–27 N∙m.
Note: Arborele șurubului de reglare a barei de cadru este prevăzută cu fileturi pe stângă.

-
Aplicați agent anti-blocare pe fileturile șuruburilor de reglare pentru bara de cadru care se potrivesc în arborele șurubului de reglare.
-
Filetați șurubul de reglare pentru bara de cadru în arborele șurubului de reglare.
-
Montați fără a strânge șaiba întărită, arcul și piulița pentru tensionarea arcului pe șurubul de reglare.
-
Instalați bara de cadru, poziționând urechile de montare între șaibă și șurubul de reglare al barei de cadru.
-
Fixați bara de cadru de fiecare placă laterală, cu ajutorul șuruburilor barei de cadru (piulițe pe șuruburi) și 6 șaibe.
Note: Amplasați o șaibă din nailon pe fiecare parte a butucului plăcii laterale.
-
Amplasați o șaibă din oțel în afara fiecărei șaibe din nailon (Figura 37).
-
Strângeţi şuruburile barei de cadru la un cuplu de 37–45 N·m.
-
Strângeți contrapiulițele până când șaiba din oțel exterioară se oprește și jocul dispare, dar nu strângeți excesiv sau încovoiați plăcile laterale.
Note: Şaibele din interior pot lăsa un spațiu (Figura 37).
-
Strângeți piulița pe fiecare ansamblu pentru reglarea barei de cadru până când arcul de comprimare este complet comprimat, apoi slăbiți piulița cu jumătate de rotație (Figura 37).
-
Repetați procedura la celălalt capăt al unității de tăiere.
-
Reglați contracuțitul pe cilindru; consultați Reglarea contracuțitului pe cilindru.
Lucrări de service pentru rolă
Setul pentru reconstrucția mașinii cu role (piesă nr. 114-5430) și Setul de unelte pentru reconstrucția mașinii cu role (piesă nr. 115-0803) (Figura 38) sunt disponibile pentru lucrările de service pentru rolă. Setul pentru reconstrucția mașinii cu role include toți rulmenții, piulițele pentru rulmenți, garniturile de etanșare interioare și garniturile de etanșare exterioare pentru reconstruirea unei mașini cu role. Setul de unelte pentru reconstrucția mașinii cu role pentru gazon include toate uneltele și instrucțiunile de instalare necesare reconstrucției unei mașini cu role, cu ajutorul setului pentru reconstrucția mașinii cu role. Consultați catalogul de piese sau contractați distribuitorul autorizat Toro pentru asistență.



, care înseamnă
Atenţie, Avertisment sau Pericol – instrucţiune
privind siguranţa personală. Nerespectarea acestor instrucţiuni
poate cauza vătămări corporale sau moartea.
















