Bakım
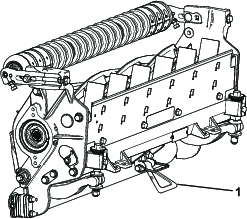
Kesim Ünitesinin Desteklenmesi
Alt bıçağı/silindiri ortaya çıkarmak amacıyla kesim ünitesini yana yatırmanız gereken zamanlarda, alt bıçak yatağı ayar vidalarının arka ucundaki somunların çalışma yüzeyine temas etmesine önlemek için destek ayağını (çekiş ünitesiyle birlikte verilir) kullanarak kesim ünitesinin arka kısmını yukarı kaldırın (Şekil 24).

Kesim Ünitelerinin Yağlanması
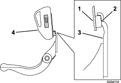
Her bir kesim ünitesinin 5 gresörlüğünü de (Şekil 25), 2 numara lityum gresle düzenli olarak yağlayın.
Ön silindirde 2, arka silindirde 2 ve silindir motoru oluğunda 1 adet yağlama noktası vardır.
Note: 03192 Modelinde ön silindir yoktur; Arka silindirde yalnızca 2 yağlama noktası ile silindir-motor oluğunda 1 yağlama noktası vardır.
Important: Kesim ünitelerinin yıkamadan hemen sonra yağlanması, yataklarda kalan suyun boşaltılmasına yardımcı olur ve yatak ömrünü uzatır.
-
Her gresörlüğü temiz bir bezle silin.
-
Silindir contalarından yatak tahliye valfinden gres taşana kadar gres uygulayın.
-
Taşan gresi silerek giderin.

Alt Bıçak Özellikleri
Alt Bıçağın Bakımı
Alt Bıçak / Alt Bıçak Yatağı Grubunun Çıkarılması
-
Alt bıçak yatağı ayarlayıcısının vidalarını saatin aksi yönünde döndürerek alt bıçağı silindirden uzaklaştırın (Şekil 26).

-
Yay gergisi somununu, rondelanın alt bıçak yatağına karşı gerginliği ortadan kalkana kadar geriye doğru döndürüp çıkarın (Şekil 26).
-
Makinenin her bir tarafında, alt bıçak yatağı cıvatasını sabitleyen kilit somunlarını gevşetin (Şekil 27).

-
Alt bıçak yatağının aşağı doğru çekilebilmesini ve kesim ünitesinden çıkarılabilmesini sağlamak için her bir alt bıçak yatağı cıvatasını sökün (Şekil 27).
Alt bıçak yatağının her iki ucundaki 2 naylon rondela ile 1 çelik rondelayı da hesaba katın (Şekil 28).

-
Alt bıçağı yerinde tutan tüm vidaları sökerek alt bıçak yatağından çıkarın. Alt Bıçak Vida Aleti (Parça No. TOR510880) ile bir lokma anahtar kullanın.
Note: Alt bıçak vidalarını gevşetmek için mekanik veya pnömatik darbeli anahtar kullanabilirsiniz.
Note: Alt bıçağı ve vidaları atın.
Yeni Alt Bıçağın Takılması
-
Alt Bıçak Seçim Tablosu bölümüne bakarak yeni bir alt bıçak seçin.
-
Alt bıçak yatağı yüzeyindeki pas, döküntü ve korozyonu giderin ve alt bıçak yatağı yüzeyine ince bir tabaka yağ sürün.
Important: Alt bıçak yatağından döküm malzemesini çıkarmayın. Alt bıçak yatağının orta kısmı tasarımı gereği içbükeydir; bu kısmı bileylemeyin.
-
Alt bıçak yatağındaki dişleri temizleyin.
-
Yeni alt bıçak vidalarına yağlayıcı madde sürün ve alt bıçağı alt bıçak yatağına takın.
Important: Sadece yeni alt bıçak vidaları kullanın.
Note: Vida miktarı alt bıçak yatağına bağlı olarak değişir.

-
2 dış vidayı 1 N∙m torkla sıkın.
-
Alt bıçağın tam ortasından çalışarak, vidaları 29,8 +/- 1 N∙m torkla sıkın.
Important: Alt bıçak vidalarını mekanik veya pnömatik darbeli anahtar kullanarak sıkmayın.

-
Yeni alt bıçağı bileyin; bkz. Alt Bıçak Servis Sınırı Tablosu.
Alt Bıçak Servis Sınırı Tablosu
Alt bıçak servis sınırları aşağıdaki tabloda verilmiştir.
Important: Kesim ünitesinin servis sınırının altında bir alt bıçakla çalıştırılması kesim sonrası görünümü olumsuz etkileyebilir ve alt bıçağın darbelere karşı yapısal bütünlüğünü zayıflatabilir.
| Alt Bıçak Servis Sınırı Tablosu | ||||
| Alt Bıçak | Parça No. | Alt Bıçak Ağzı Yüksekliği | Servis Limiti* | Üst/Ön Bileme Açıları |
| Düşük Kesim Yüksekliği | 147-1248 (27 inç) | 5,6 mm | 4,8 mm | 10/5° |
| 147-1252 (32 inç) | ||||
| EdgeMax® | 137-6095 (27 inç) | 6,9 mm | 4,8 mm | 10/5° |
| Standart | 147-1249 (03189/90 Modelleri, 27 inç) | 6,9 mm | 4,8 mm | 10/5° |
| 147-1253 (03191 Modeli, 32 inç) | ||||
| Ağır Hizmet Tipi | 147-1250 (03192 Modeli, 27 inç) | 9,3 mm | 4,8 mm | 10/5° |
| 147-1254 (32 inç) | ||||

Note: Tüm alt bıçak servis limiti ölçümleri, alt bıçağın tabanına göredir (Şekil 32).

Üst Bileme Açısının Kontrol Edilmesi
Alt bıçaklarınızı bilemek için kullandığınız açı çok önemlidir.
Bileme makinenizin ürettiği açıyı kontrol etmek için açı göstergesini (Toro Parça No. 131-6828) ve açı göstergesi montaj elemanını (Toro Parça No. 131-6829) kullanın ve varsa bileme makinesi hatalarını düzeltin.
-
Açı göstergesini, Şekil 33'de gösterildiği gibi alt bıçağın en alt kısmına yerleştirin.

-
Açı göstergesinde Alt Zero düğmesine basın.
-
Açı göstergesi montaj elemanını, mıknatısın kenarı alt bıçağın kenarıyla eşleşecek biçimde alt bıçağın kenarına yerleştirin (Şekil 34).
Note: Bu adımda, dijital gösterge 1 adımındaki ile aynı taraftan görülebiliyor olmalıdır.

-
Açı göstergesini, Şekil 34 şeklinde gösterildiği gibi montaj elemanına yerleştirin.
Note: Bu, bileme makinenizin ürettiği açıdır ve tavsiye edilen üst bileme açısının 2 derece içinde olmalıdır.
Alt Bıçak / Alt Bıçak Yatağı Grubunun Takılması
-
Montaj kulaklarını rondela ile alt bıçak yatağı ayar vidasının arasına yerleştirerek alt bıçak / alt bıçak yatağı grubunu takın.
Important: DPA ayarlayıcılarını, Şekil 35 ile gösterildiği gibi, alt bıçak yatağı kulaklarında ortalayın.DPA ayarlayıcıları alt bıçak yatağı kulaklarının karşısına monte edilirse, bu durum alt bıçak-silindir temasını olumsuz etkileyebilir.

-
Alt bıçak yatağı cıvatalarını (cıvatalardaki somunlarla birlikte) ve 3 rondelayı (toplam 6 adettir) kullanarak alt bıçağı yatağını her bir yan plaka sabitleyin.
-
Yan plaka çıkıntısının her bir tarafına birer naylon rondela yerleştirin. Her bir naylon rondelanın dış kısmına birer adet çelik rondela yerleştirin (Şekil 28).
-
Alt bıçak yatağı cıvatalarını 37 ila 45 N∙m torkla sıkın.
-
Dış çelik rondelaların elle döndürülebileceği eşiğe kadar alt bıçak kilit somunlarını yavaşça sıkın.
Important: Kilit somunlarını aşırı sıkmayın, aksi takdirde yan plakaları deforme edebilirler.
Note: Alt bıçak ile yan plaka arasındaki naylon rondelada küçük bir boşluk olacaktır.
-
Yay gergisi somununu yay çökene kadar sıkın, ardından tekrar 1/2 tur gevşetin (Şekil 36).

Silindir Özellikleri
Silindir Bileyleme için Ön Mil Grubunun Takılması
Important: Kesim ünitesinin silindir bileyleme makinesine takılabilmesi için şu parçaları sipariş etmeniz gerekir:
| Adet. | Parça | Parça No. |
| 2 | Ön HOC braketi | 125-2796 |
| 2 | Taşıyıcı cıvata (3/8 x 1-1/2 inç) | 3231-4 |
| 2 | Kilit somunu (3/8 inç) | 104-8301 |
| 2 | Altıgen başlı cıvata (5/16 x 1-1/8 inç) | 322-16 |
| 1 | Ön silindir mili | 117-0957 |
-
Atölye silindir gruplarını (varsa) çıkarın; bkz. Atölye Silindir Gruplarının Ayarlanması (sadece 03192 Modeli).
-
Taşıyıcı cıvataları ve kilit somunlarını kullanarak ön HOC braketlerini yan plakanın (Şekil 37) üst deliğine takın.
Important: HOC braketinin, yuvanın üst kısmındaki taşıyıcı cıvatayla, HOC braketi olabildiğince alçak olacak şekilde takıldığından emin olun.

-
2 adet altıgen başlı cıvatayı kullanarak mili HOC braketlerinin en altına takın.
-
Milin kesim ünitesine paralel olduğundan emin olun; değilse, alt taraftaki taşıyıcı cıvatayı gevşetin ve mil paralel olduğunda tekrar sıkın.
Silindire Destek Bilemesi Yapılması
Yeni silindirin taban genişliği 1,3 ila 1,5 mm, destek bilemesi alanı ise 30 derecedir.
Taban genişliği 3 mm'yi aşınca şunları yapın:
-
Taban genişliği 1,3 mm olana kadar tüm silindir bıçaklarına 30° derece destek bilemesi yapın (Şekil 38).

-
Silindire, <0,025 mm silindir taşması elde edilecek biçimde dairesel bileme yapın.
Note: Bu, taban genişliğinin biraz artmasına neden olacaktır.
Note: Silindir kenarı keskinliğinin ve alt bıçağın ömrünü uzatmak için, bileme sırasında çapaklar giderilebileceği ve bu da silindir-alt bıçak mesafesini bozup aşınmayı hızlandırabileceğinden, silindiri ve/veya alt bıçağı biledikten sonra aynı çimi 2 defa ileri geri kestikten sonra silindir-alt bıçak temasını tekrar kontrol edin.
-
Çap ölçme bandını kullanarak silindirin dış çapını her iki ucundan ölçün (Şekil 39); uçlar arasındaki dış çap farkı 0,010 inçten (0,250 mm) az olmalıdır. Fark daha büyükse, düzeltmek için bileyleme yapın.
Note: Dış çap ölçme bandını yetkili Toro distribütörünüzden temin edebilirsiniz.

HD İki Noktalı Ayarlayıcıların Bakımı (DPA)
-
Tüm parçaları sökün (HD İki Noktalı Ayarlayıcılar için bkz. Montaj Talimatları ve Şekil 40).
-
Kesim ünitesi orta çerçevesindeki burç alanının içine yağlayıcı madde sürün (Şekil 40).
-
Flanş burçlarındaki kamaları çerçevedeki oluklarla hizalayın ve burçları takın (Şekil 40).
-
Ayarlayıcı milinin üzerine bir adet dalgalı rondela takın ve ayarlayıcı milini kesim ünitesi çerçevesindeki flanş burçlarının içine kaydırın (Şekil 40).
-
Ayarlayıcı milini, düz bir rondela ve kilit somunuyla sabitleyin (Şekil 40).
-
Kilit somununu 20 ila 27 N∙m torkla sıkın.
Note: Alt bıçak yatağı ayarlayıcısı milinin dişleri soldadır.

-
Ayarlayıcı milinin içine giren alt bıçak yatağı ayarlayıcısı vidasının dişlerine yağlayıcı madde sürün.
-
Alt bıçak yatağı ayarlayıcısı vidasını ayarlayıcı miline geçirin.
-
Sertleştirilmiş rondelayı, yayı ve yay gergisi somununu ayarlayıcı vidasına takın fakat sıkmayın.
-
Montaj kulaklarını rondela ile alt bıçak yatağı ayarlayıcısının arasına yerleştirerek alt bıçak yatağını takın.
-
Alt bıçak yatağı cıvatalarını (cıvatalardaki somunlarla birlikte) ve 6 rondelayı kullanarak alt bıçak yatağını her bir yan plakaya sabitleyin.
Note: Yan plaka çıkıntısının her bir tarafına birer naylon rondela yerleştirin.
-
Her bir naylon rondelanın dış kısmına birer adet çelik rondela yerleştirin (Şekil 40).
-
Alt bıçak yatağı cıvatalarını 37 ila 45 N∙m torkla sıkın.
-
Dış kısımdaki çelik rondelanın dönmesi durana ve uç boşluk giderilene kadar kilit somunlarını sıkın, ancak aşırı sıkmayın ve yan plakaları bükmeyin.
Note: İç kısımdaki rondelalarda bir boşluk olabilir (Şekil 40).
-
Her bir alt bıçak yatağı ayarlayıcısı grubundaki somunu, sıkıştırma yayı tamamen sıkıştırılana kadar sıkın, ardından ½ tur gevşetin (Şekil 40).
-
Bu işlemi, kesim ünitesinin diğer ucunda da tekrarlayın.
-
Alt bıçağı silindire göre ayarlayın; bkz. Alt Bıçağın Silindire Göre Ayarlanması.
Silindir Bakımı
Silindir bakımı için Silindir Onarım Seti (Parça No. 114-5430) ve Silindir Onarımı Alet Seti (Parça No. 115-0803) (Şekil 41) mevcuttur. Silindir Onarım Setinde, silindiri onarmak için gereken tüm yataklar, yatak somunları, iç contalar ve dış contalar vardır. Silindir Onarımı Alet Setinde ise silindir onarım setiyle bir silindiri onarmak için gereken tüm aletler ile montaj talimatları bulunur. Destek için parça kataloğuna bakın veya yetkili Toro distribütörünüze danışın.



çok dikkat edin. Bu talimatlara uyulmaması,
yaralanma veya ölümle sonuçlanabilir.



















