Одржавање
Note: Utvrdite levu i desnu stranu mašine iz uobičajenog položaja operatera.
Provera tački za podmazivanje pogonskog vratila cilindra
| Интервал сервисног одржавања | Поступак одржавања |
|---|---|
| Годишње |
|
-
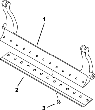
Uklonite opremu koja pričvršćuje pogonski sklop cilindra za bočnu ploču (Слика 12).

-
Uklonite pogonski sklop cilindra, ravne podloške, opružne podloške i odstojnike sa bočne ploče (Слика 12).
-
Proverite da li u unutrašnjosti pogonskog vratila cilindra (Слика 13) ima preostalog maziva.
Ako ne vidite dovoljnu količinu maziva, dodajte još maziva na muški i ženski žleb vratila.

-
Pomoću prethodno uklonjenih zavrtnjeva sa upuštenom glavom, podloški i odstojnika pričvrstite pogonski sklop cilindra za bočnu ploču.
-
Montirajte jedinicu za sečenje na vučnu jedinicu; pogledajte priručnik za operatera vučne jedinice.
Podešavanje zategnutosti pogonskog kaiša motalice
| Интервал сервисног одржавања | Поступак одржавања |
|---|---|
| Годишње |
|
-
Skinite poklopac sa kućišta pogona motalice tako što ćete ukloniti 3 zavrtnja koji ga drže na mestu.
-
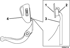
Olabavite zavrtanj zatezne ruke i rotirajte zateznu ruku da biste smanjili zategnutost kaiša.
-
Koristite moment ključ sa polugom da biste primenili silu od 6–7 N m na gornji unutrašnji vijak zatezne ruke (Слика 14).

-
Pritegnite zavrtanj spone prenosnika da biste pričvrstili sponu prenosnika.
-
Postavite poklopac pomoću 3 odgovarajuća zavrtnja.
Podešavanje brzine košenja
Brzina košenja određuje se sledećim podešavanjima mašine:
-
Brzina cilindra: Brzina cilindra može da se podesi na visoko i nisko podešavanje; pogledajte priručnik za operatera vučne jedinice.
-
Pogonska remenica cilindra: Pogonske remenice cilindra (od 22 zuba i 24 zuba) mogu da se podese na 2 položaja:
Note: Položaj remenice fabrički je podešen na NIZAK položaj.

Da biste podesili položaj remenica, pogledajte sledeće korake:
-
Uklonite poklopac kaiša da biste otkrili kaiš (Слика 16).

-
Otpustite zavrtanj spone prenosnika i okrenite je (Слика 16) da biste otpustili zategnutost kaiša.
-
Uklonite kaiš (Слика 16).
-
Otpustite navrtku na svakoj remenici, uklonite remenice i iskoristite navrtke da biste pričvrstili remenice u željenoj konfiguraciji.

-
Pritegnite navrtke remenica momentom od 37 do 45 N·m
-
Umetnite kaiš i zategnite ga primenom momenta od 6 do 7 N·m na unutrašnji šestougaoni zavrtanj spone prenosnika kao što je prikazano na Слика 16.
-
Pritegnite zavrtanj spone prenosnika i montirajte poklopac kaiša.
Podešavanje elementa za zaštitu od trave
Podesite element za zaštitu od trave kako biste osigurali da se pokošena trava pravilno izbacuje iz područja cilindra na sledeći način:
Note: Zaštitni element je podesiv da bi se kompenzovale promene u uslovima na travnjaku. Podesite zaštitni element bliže cilindru kada je travnjak izrazito suv. Nasuprot tome, podesite zaštitni element dalje od cilindra kada je travnjak u vlažan. Zaštitni element treba da bude paralelan sa cilindrom kako bi se osigurale optimalne performanse. Podesite ga nakon što naoštrite cilindar na oštraču cilindra.
-
Otpustite zavrtnje koje pričvršćuju element za zaštitu od trave (Слика 18) na jedinicu za sečenje.

-
Umetnite merni listić od 1,5 mm između vrha cilindra i zaštitnog elementa, zatim zategnite zavrtnje.
Important: Pobrinite se da zaštitni element i cilindar budu na jednakoj udaljenosti duž celog cilindra.
Note: Podesite razmak po potrebi prema stanju vašeg travnjaka.
Specifikacije ležajnog noža
Servisiranje ležajnog noža
Samo propisno obučeni mehaničar treba da servisira ležajnu šipku i ležajni nož kako bi se sprečilo oštećenje cilindra, ležajne šipke ili ležajnog noža. U idealnom slučaju, servisirajte jedinicu za sečenje kod ovlašćenog distributera kompanije Toro. Pogledajte servisni priručnik za svoju vučnu jedinicu za potpuna uputstva, posebne alate i dijagrame za servisiranje ležajnog noža. Ako ikada bude potrebno da sami uklonite ili montirate ležajnu šipku, uputstva su data u nastavku, kao i specifikacije za servisiranje ležajnog noža.
Important: Kada servisirate ležajni nož uvek pratite postupke za ležajni nož koji su navedeni u vašem servisnom priručniku. Ukoliko ne montirate i ne naoštrite ležajni nož pravilno, može doći do oštećenja cilindra, ležajne šipke ili ležajnog noža.
Uklanjanje ležajne šipke/ ležajnog noža
-
Okrenite zavrtanj za podešavanje ležajne šipke u smeru suprotnom od kretanja kazaljke na satu da biste udaljili ležajni nož od cilindra (Слика 19).

-
Olabavite navrtku za zatezanje opruge dok podloška više ne bude zategnuta uz ležajnu šipku (Слика 19).
-
Na svakoj strani mašine, otpustite sigurnosnu navrtku kao što je prikazano na Слика 20.

-
Uklonite svaki zavrtanj ležajne šipke, omogućavajući da se ležajna šipka povuče nadole i ukloni sa jedinice za sečenje (Слика 20).
Uzmite 2 čelične podloške i 1 plastičnu podlošku za svaki kraj ležajne šipke (Слика 20).
-
Uklonite ležajni nož sa ležajne šipke uklanjanjem svih zavrtanja koje ga drže pričvršćenim. Upotrebite nasadni ključ sa alatom za zavrtnje ležajnog noža (br. dela TOR510880).
Note: Možete da upotrebite mehanički ili pneumatski udarni ključ da otpustite zavrtnje ležajnog noža.
Note: Odložite ležajni nož i zavrtnje.
Montiranje novog ležajnog noža
-
Izaberite novi ležajni nož u skladu sa Tabela izbora visine košenja i ležajnog noža.
-
Uklonite rđu, kamenac i koroziju sa površine ležajne šipke i nanesite tanak sloj ulja na površinu ležajne šipke.
Important: Nemojte uklanjati izliveni materijal sa ležajne šipke. Ležajna šipka je projektovana da bude konkavna u sredini; nemojte je brusiti.
-
Očistite navoje u ležajnoj šipci.
-
Nanesite sredstvo protiv vezivanja na nove zavrtnje ležajnog noža i montirajte ležajni nož na ležajnu šipku.
Important: Koristite isključivo nove zavrtnje ležajnog noža.
Note: Broj potrebnih zavrtanja zavisi od ležajne šipke.

-
Zategnite 2 spoljašnja zavrtnja na 1 N·m.
-
Radeći od sredine ležajnog noža, zategnite zavrtnje momentom od 25,9 +/- 1,4 N∙m.
Important: Nemojte zatezati zavrtnje ležajnog noža pomoću mehaničkog ili pneumatskog udarnog ključa.

-
Naoštrite novi ležajni nož; pogledajte Specifikacije za oštrenje ležajnog noža.
Specifikacije za oštrenje ležajnog noža

| Rasteretni (gornji) ugao ležajnog noža | Pogledajte Tabela izbora visine košenja i ležajnog noža. |
| Opseg prednjeg ugla | 13° do 17° |
| Prednji ugao ležajnog noža plovnog puta | 10° |
Provera gornjeg ugla oštrenja
Ugao koji koristite za oštrenje ležajnih noževa je vrlo važan.
Koristite indikator ugla (Toro br. dela 131-6828) i nosač indikatora ugla (Toro br. dela 131-6829) da biste proverili ugao koji proizvodi vaš oštrač, a zatim ispravite bilo kakvu netačnost oštrača.
-
Postavite indikator ugla na donju stranu ležajnog noža kao što je prikazano na Слика 24.

-
Pritisnite dugme Alt Zero na indikatoru ugla.
-
Postavite držač indikatora ugla na ivicu ležajnog noža tako da ivica magneta bude spojena sa ivicom ležajnog noža (Слика 25).
Note: Digitalni displej bi trebalo da se vidi sa iste strane tokom ovog koraka kao što je bilo u koraku 1.

-
Postavite indikator ugla na nosač kao što je prikazano na Слика 25.
Note: Ovo je ugao koji proizvodi vaš oštrač i treba da bude unutar 2 stepena od preporučenog gornjeg ugla oštrenja.
Montiranje sklopa ležajna šipka / ležajni nož
-
Montirajte sklop ležajne šipke / ležajnog noža, postavljajući montažne ušice između podloški i zavrtnja za podešavanje ležajne šipke (Слика 19).
Important: Centrirajte podešavanja u dve tačke (DPA) u ušicama ležajne šipke, kao što je prikazano na Слика 26.Ako su podešavanja u dve tačke (DPA) montirana na ušice ležajne šipke, to može negativno da utiče na kontakt između ležajnog noža i cilindra.

-
Pričvrstite ležajnu šipku na svaku bočnu ploču pomoću zavrtanja ležajne šipke (navrtkama na zavrtnjima) i 3 podloške (ukupno 6).
-
Postavite najlonsku podlošku na svakoj strani glavčine bočne ploče. Postavite čeličnu podlošku spolja na svakoj najlonskoj podloški (Слика 27).
-
Zategnite zavrtnje ležajne šipke na 27 do 36 N∙m.
-
Zategnite sigurnosne navrtke dok ne uklonite krajnji zazor sa čeličnih podloški, ali tako da ih možete rotirati rukom. Podloške na unutrašnjoj strani mogu imati razmak.
Important: Nemojte previše zatezati sigurnosne navrtke jer će saviti bočne ploče.
-
Zategnite navrtku za zatezanje opruge dok se opruga ne priljubi, a zatim je olabavite za ½ okreta (Слика 27).

-
Podesite ležajni nož na cilindar; pogledajte Podešavanje ležajnog noža na cilindar.
Specifikacije cilindra
Priprema cilindra za oštrenje
-
Proverite da li su sve komponente jedinice za sečenje u dobrom stanju i rešite sve probleme pre oštrenja.
-
Pratite uputstva proizvođača oštrača cilindra za oštrenje cilindra prema sledećim specifikacijama.
Specifikacije za oštrenje cilindra Novi prečnik cilindra 128,5 mm Servisno ograničenje prečnika cilindra 114,3 mm Rasteretni ugao sečiva 30° ± 5° Opseg širine kontakta sečiva od 0,8 do 1,2 mm Servisno ograničenje konusnog prečnika cilindra 0,25 mm
Rasteretno oštrenje cilindra
Novi cilindar ima širinu kontakta od 1,3 do 1,5 mm i rasteretni ugao oštrenja od 30°.
Kada širina kontakta postane veća od 3 mm, uradite sledeće:
-
Primenite oštrenje pod rasteretnim uglom od 30° na sva sečiva cilindra dok širina kontakta ne bude široka 0,8 mm (Слика 28).

-
Zavrtite oštrenje cilindra kako bi se postiglo <0,025 mm slobodnog prostora cilindra.
Note: To dovodi do blagog povećanja širine kontakta.
-
Podesite jedinicu za sečenje; pogledajte za vašu jedinicu za sečenje priručnik za operatera.
Note: Da biste produžili vek trajanja oštrine ivice cilindra i ležajnog noža – nakon oštrenja cilindra i/ili ležajnog noža – ponovo proverite kontakt između cilindra i ležajnog noža nakon košenja 2 golf grinova, jer će sve neravnine biti uklonjene. Neravnine mogu da stvore neispravan zazor između cilindra i ležajnog noža i time ubrzaju habanje.
Oštrenje jedinice za sečenje glačanjem u obrnutom smeru rotacije
Za oštrenje jedinice za sečenje glačanjem u obrnutom smeru rotacije, koristite Access Backlap Kit (br. modela 139-4342) ili Backlap Kit (br. modela 04800); pogledajte radna uputstva u uputstvu za montažu kompleta. Za nabavku jednog od ovih kompleta obratite se ovlašćenom distributeru kompanije Toro.


, koji znači Oprez,
Upozorenje ili Opasnost – uputstvo za ličnu bezbednost.
Nepoštovanje ovih uputstava može dovesti do telesne
povrede ili smrtnog ishoda.








