การบำรุงรักษา
Note: ดูด้านซ้ายและขวาของอุปกรณ์จากตำแหน่งปกติในการควบคุมเครื่อง
การเข้าถึงชุดตัดหญ้า
การตรวจสอบจุดอัดจาระบีของเพลาขับใบมีดพวง
| ระยะการซ่อมบำรุง | ขั้นตอนการบำรุงรักษา |
|---|---|
| ทุกปี |
|
-
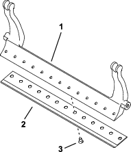
ถอดฮาร์ดแวร์ที่ยึดชุดเพลาขับใบมีดพวงเข้ากับแผงข้างออก (รูป 13)

-
ถอดน็อตออกจากด้านในของแผงข้าง (รูป 13)
-
ตรวจสอบด้านในของเพลาขับใบมีดพวง (รูป 14) เพื่อดูว่ามีจาระบีเหลืออยู่หรือไม่
หากคุณเห็นว่าจาระบีไม่เพียงพอ ให้เพิ่มจาระบีเข้าไปในเพลาเฟืองตัวผู้และตัวเมีย

-
ยึดชุดเพลาขับใบมีดพวงเข้ากับแผงข้างโดยใช้สกรูหัวจมและน็อตที่ถอดออกมาก่อนหน้านี้
-
ติดตั้งชุดตัดหญ้าเข้ากับรถลากพ่วง โปรดดูคู่มือผู้ใช้ของรถลากพ่วง
การปรับความตึงสายพานขับใบมีดพวง
| ระยะการซ่อมบำรุง | ขั้นตอนการบำรุงรักษา |
|---|---|
| ทุกปี |
|
-
ถอดฝาครอบออกจากตัวเรือนชุดขับใบมีดพวงโดยถอดสกรู 4 ตัวที่ยึดฝาครอบเอาไว้
-
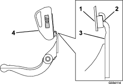
คลายสลักเกลียวแขนประคองและหมุนแขนประคองเพื่อผ่อนความตึงของสายพาน
-
ใช้ประแจวัดแรงบิดแบบบีม ขันสกรูภายในของแขนประคองด้านบนให้มีแรงบิด 6 ถึง 7 นิวตันเมตร (55 ถึง 60 นิ้ว-ปอนด์)(รูป 15)

-
ขันสลักเกลียวแขนประคองเพื่อยึดแขนประคองให้แน่นหนา
-
ติดตั้งฝาครอบโดยใช้สกรู 4 ตัวที่ถอดออกมาก่อนหน้านี้
การปรับอัตราเล็มหญ้า
อัตราเล็มหญ้ากำหนดโดยการตั้งค่าอุปกรณ์ดังต่อไปนี้:
-
ความเร็วใบมีดพวง: ความเร็วใบมีดพวงสามารถปรับเป็นค่าสูงหรือต่ำ โปรดดูคู่มือผู้ใช้ของรถลากพ่วง
-
ตำแหน่งรอกขับใบมีดพวง: รอกขับใบมีดพวง (22 ซี่และ 24 ซี่) ตั้งค่าได้ 2 ตำแหน่ง:
Note: รอกอยู่ในตำแหน่ง ต่ำ มาจากโรงงาน

หากต้องการปรับตำแหน่งรอก ให้ดำเนินการดังนี้:
-
ถอดฝาครอบสายพานเพื่อเปิดสายพาน (รูป 17)

-
คลายสลักเกลียวแขนประคองและหมุนแขนประคอง (รูป 17) เพื่อผ่อนความตึงของสายพาน
-
ถอดสายพานออก (รูป 17)
-
คลายน็อตบนรอกแต่ละตัว ถอดรอกออก และใช้น็อตติดตั้งรอกในตำแหน่งที่ต้องการ

-
ขันน็อตรอกจนได้แรงบิด 37 ถึง 45 นิวตันเมตร (27 ถึง 33 ฟุตปอนด์)
-
ติดตั้งสายพานและปรับความตึงสายพานโดยการใช้แรง 6 ถึง 7 นิวตันเมตร (55 ถึง 60 นิ้วปอนด์) กดลงบนน็อตหกเหลี่ยมด้านในของแขนประคองดังแสดงใน รูป 17
-
ขันสลักเกลียวแขนประคองให้แน่นและติดตั้าฝาครอบสายพาน
ข้อมูลจำเพาะของใบมีดล่าง
การซ่อมบำรุงใบมีดล่าง
การซ่อมบำรุงเบดบาร์และใบมีดล่างควรดำเนินการโดยช่างกลที่ได้รับการฝึกอบรมมาเป็นอย่างดีเท่านั้น เพื่อป้องกันไม่ให้ใบมีดพวง เบดบาร์ หรือใบมีดล่างเสียหาย วิธีที่ดีที่สุดคือ นำชุดตัดหญ้าไปให้ตัวแทนจำหน่าย Toro ที่ได้รับอนุญาตทำการซ่อมบำรุง โปรดดูคำแนะนำฉบับสมบูรณ์ เครื่องมือพิเศษ และแผนผังสำหรับการซ่อมบำรุงใบมีดล่างจากคู่มือซ่อมบำรุงของรถตัดหญ้า หากต้องการถอดหรือประกอบเบดบาร์ด้วยตัวเอง โปรดดูแนะนำ รวมถึงข้อมูลจำเพาะสำหรับการซ่อมบำรุงใบมีดล่างด้านล่าง
Important: ปฏิบัติตามขั้นตอนการซ่อมบำรุงใบมีดล่างตามรายละเอียดในคู่มือซ่อมบำรุงเสมอในขณะซ่อมบำรุงใบมีดล่าง การติดตั้งและเจียรใบมีดล่างไม่ถูกต้องอาจส่งผลให้ใบมีดพวง เบดบาร์ หรือใบมีดล่างชำรุดเสียหายได้
การถอดชุดเบดบาร์/ใบมีดล่าง
-
หมุนสกรูปรับเบดบาร์ทวนเข็มนาฬิกาเพื่อให้ใบมีดล่างถอยห่างจากใบมีดพวง (รูป 19)

-
ขันน็อตปรับสปริง จนกระทั่งแหวนไม่ได้ดันเบดบาร์อีกต่อไป (รูป 19)
-
ที่แต่ละด้านของอุปกรณ์ คลายน็อตล็อกดังแสดงใน รูป 20

-
ถอดสลักเกลียวเบดบาร์แต่ละตัว ซึ่งจะทำให้สามารถดึงเบดบาร์ลงมาและถอดออกจากชุดตัดหญ้าได้ (รูป 20)
เตรียมแหวนพลาสติก 2 วงและแหวนเหล็ก 1 วงที่ปลายแต่ละด้านของเบดบาร์ (รูป 20)
-
ถอดใบมีดล่างออกจากเบดบาร์โดยขันสกรูที่ใช้ยึดใบมีดล่างออกทั้งหมด ใช้ประแจบล็อกร่วมกับเครื่องมือขันสกรูใบมีดล่าง (หมายเลขอะไหล่ TOR510880)
Note: คุณสามารถใช้บล็อกกระแทกแบบกลไกหรือแบบแรงดันลมในการขันสกรูใบมีดล่างได้
Note: ทิ้งใบมีดล่างและสกรูของเดิม
การติดตั้งใบมีดล่างอันใหม่
-
เลือกใบมีดล่างอันใหม่ตามตารางเลือกความสูงในการตัดและใบมีดล่าง
-
ขจัดสนิม ตะกรัน และการสึกหรอออกจากพื้นผิวของเบดบาร์และทาน้ำมันบางๆ บนผิวของเบดบาร์
Important: อย่าแกะเนื้อโลหะหล่อที่ติดมากับเบดบาร์ เบดบาร์ออกแบบมาให้เว้าตรงกลาง ห้ามเจียรเบดบาร์
-
ทำความสะอาดเกลียวในเบดบาร์
-
ทาน้ำยากันเกลียวยึดที่สกรูของเบดบาร์อันใหม่ และติดตั้งใบมีดล่างเข้ากับเบดบาร์
Important: ใช้สกรูใบมีดล่างตัวใหม่เท่านั้น
Note: จำนวนสกรูจะแตกต่างกันไป ขึ้นอยู่กับเบดบาร์ที่ใช้

-
ขันสกรูด้านนอก 2 ตัวให้ได้แรงบิด 1 นิวตันเมตร (10 นิ้วปอนด์)
-
เริ่มจากศูนย์กลางของใบมีดล่าง โดยขันสกรูให้ได้แรงบิด 25.9 +/- 1.4 นิวตันเมตร (19 +/- 1 ฟุตปอนด์)
Important: อย่าขันสกรูใบมีดล่างด้วยบล็อกกระแทกแบบกลไกหรือแบบแรงดันลมจนแน่น

-
เจียรใบมีดล่างอันใหม่ โปรดดู ข้อมูลจำเพาะสำหรับการเจียรใบมีดล่าง
ข้อมูลจำเพาะสำหรับการเจียรใบมีดล่าง

| มุมหลบ (ด้านบน) ของใบมีดล่าง | ดู ตารางเลือกความสูงในการตัดและใบมีดล่าง |
| ช่วงมุมด้านหน้า | 13° ถึง 17° |
| มุมด้านหน้าของใบมีดล่างสำหรับแฟร์เวย์ | 10° |
การตรวจสอบมุมเจียรด้านบน
มุมที่คุณใช้เจียรใบมีดล่างเป็นสิ่งสำคัญมาก
ใช้เครื่องมือวัดมุม (หมายเลขอะไหล่ Toro 131-6828) และที่ยึดเครื่องมือวัดมุม (หมายเลขอะไหล่ Toro 131-6829) เพื่อตรวจสอบมุมที่เครื่องเจียรสร้าง จากนั้นแก้ไขความไม่ถูกต้องที่เกิดขึ้น
-
วางเครื่องมือวัดมุมที่ด้านล่างของใบมีดล่างตามที่แสดงใน รูป 24

-
กดปุ่ม Alt Zero บนเครื่องมือวัดมุม
-
วางที่ยึดเครื่องมือวัดมุมบนขอบใบมีดล่าง เพื่อให้ขอบของแม่เหล็กบรรจบกับขอบใบมีดล่าง (รูป 25)
Note: หน้าจอดิจิทัลควรมองเห็นได้จากด้านเดียวกันในระหว่างขั้นตอนนี้ เช่นเดียวกันในขั้นตอน 1

-
วางเครื่องมือวัดมุมบนที่ยึดตามที่แสดงใน รูป 25
Note: นี่คือมุมที่เครื่องเจียรสร้างขึ้น และควรอยู่ภายในช่วง 2 องศาของมุมเจียรด้านบนที่แนะนำ
การติดตั้งชุดเบดบาร์/ใบมีดล่าง
-
ติดตั้งชุดเบดบาร์/ใบมีดล่าง ขยับหูยึดไว้ระหว่างแหวนกับสกรูปรับเบดบาร์ (รูป 26)
Important: จัดตำแหน่งให้ตัวปรับ DPA อยู่ตรงกลางในหูเบดบาร์ ดังแสดงใน รูป 26หากตัวปรับ DPA ติดตั้งชิดกับหูเบดบาร์ อาจจะทำให้ใบมีดล่างกับใบมีดพวงสัมผัสกันไม่ถูกต้อง

-
ยึดเบดบาร์ไว้กับแผ่นข้างแต่ละด้านด้วยสลักเบดบาร์ (น็อตบนสลัก) และแหวนรอง 3 วง (รวมทั้งหมด 6 ตัว)
-
วางแหวนไนลอนไว้บนแต่ละด้านของแผ่นข้าง วางแหวนเหล็กไว้ด้านนอกแหวนไนลอนแต่ละอัน (รูป 27)
-
ขันสลักเบดบาร์จนได้แรงบิด 27 ถึง 36 นิวตันเมตร (20 ถึง 27 ฟุตปอนด์)
-
ขันน็อตล็อกจนกว่าส่วนแหวนเหล็กไม่ขยับ แต่ยังสามารถหมุนแหวนด้วยมือได้ แหวนที่ด้านในอาจมีช่องว่าง
Important: อย่าขันน็อตล็อกแน่นเกินไป มิฉะนั้นจะทำให้แผ่นข้างสะบัดได้
-
ขันน็อตปรับความตึงสปริงจนกว่าสปริงจะหด จากนั้นถอยกลับ 1/2 รอบ (รูป 27)

-
ปรับใบมีดล่างเข้ากับใบมีดพวง โปรดดู การปรับใบมีดล่างเข้ากับใบมีดพวง
ข้อมูลจำเพาะสำหรับใบมีดพวง
การเตรียมเจียรใบมีดพวง
-
ตรวจสอบให้แน่ใจว่าส่วนประกอบทั้งหมดของชุดตัดหญ้าอยู่ในสภาพดี และแก้ไขปัญหาก่อนการเจียร
-
ปฏิบัติตามคำแนะนำของผู้ผลิตเครื่องเจียรใบมีดพวง เพื่อเจียรใบมีดพวงตัดหญ้าให้เป็นไปตามข้อมูลจำเพาะต่อไปนี้
ข้อมูลจำเพาะสำหรับการเจียรใบมีดพวง เส้นผ่านศูนย์กลางใบมีดพวงใหม่ 128.5 มม. (5.06 นิ้ว) ขีดจำกัดการใช้งานเส้นผ่านศูนย์กลางใบมีดพวง 114.3 มม. (4.50 นิ้ว) มุมหลบของใบมีด 30° ± 5° ช่วงความกว้างบ่าใบมีด 0.8 ถึง 1.2 มม. (0.03 ถึง 0.05 นิ้ว) ขีดจำกัดการใช้งานปลายเรียวของเส้นผ่านศูนย์กลางใบมีดพวง 0.25 มม. (0.010 นิ้ว)
การเจียรมุมหลบใบมีดพวง
ใบมีดพวงใหม่มีความกว้างบ่า 0.8 ถึง 1.2 มม. (0.03 ถึง 0.05 นิ้ว) และและมีมุมหลบการเจียร 30°
เมื่อความกว้างบ่าขยายกว้างกว่า 3 มม. (0.120 นิ้ว) ให้ดำเนินการดังนี้:
-
เจียรมุมหลบ 30° บนใบมีดพวงทั้งหมดจนได้ความกว้างบ่า 0.8 มม. (0.03 นิ้ว)

-
เจียรใบมีดพวงจนกร่อนเข้าไปน้อยกว่า 0.025 มม. (0.001 นิ้ว)
Note: วิธีนี้จะทำให้ความกว้างบ่าขยายขึ้นเล็กน้อย
-
ปรับชุดตัดหญ้า โปรดดูคู่มือผู้ใช้ของชุดตัดหญ้า
Note: เพื่อให้ขอบของใบมีดพวงและใบมีดล่างคมได้นานขึ้น หลังจากเจียรใบมีดพวงและ/หรือใบมีดล่าง ให้ตรวจสอบจุดสัมผัสใบมีดพวงกับใบมีดล่างอีกครั้งหลังจากการตัดสนามกรีน 2 สนาม เนื่องจากรอยขีดใดๆ จะถูกขจัดออกไป รอยขีดอาจทำให้ระยะห่างของใบมีดพวงกับใบมีดล่างไม่ถูกต้อง ซึ่งทำให้สึกหรอเร็วขึ้น
การลับคมชุดตัดหญ้า
หากต้องการลับคมชุดตัดหญ้า ให้ใช้ชุดลับคม Access (หมายเลขรุ่น 139-4342) โปรดดูคำแนะนำการใช้งานในชุดคำแนะนำในการติดตั้ง ติดต่อตัวแทนจำหน่าย Toro เพื่อซื้อชุด


ได้แก่ ข้อควรระวัง คำเตือน
หรืออันตราย ซึ่งเป็นคำแนะนำเพื่อความปลอดภัยส่วนบุคคล การไม่ปฏิบัติตามคำแนะนำเหล่านี้อาจส่งผลให้บาดเจ็บหรือเสียชีวิตได้











