Kunnossapito
Note: Koneen vasen ja oikea puoli määritellään normaalista käyttöasennosta käsin.
Kelan vetoakselin rasvauskohdan tarkistus
| Huoltoväli | Huoltotoimenpide |
|---|---|
| Vuosittain |
|
-
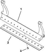
Irrota kiinnittimet, joilla kelan käyttökokoonpano on kiinnitetty sivulevyyn (Kuva 12).

-
Irrota kelan käyttökokoonpano, litteät aluslaatat, jousialuslaatat ja välikappaleet sivulevystä (Kuva 12).
-
Tarkista kelan vetoakselin sisäpuoli (Kuva 13) jäljelle jääneen rasvan varalta.
Jos rasvaa ei näy riittävästi, lisää rasvaa uros- ja naarasura-akseliin.

-
Kiinnitä kelan käyttökokoonpano sivulevyyn aikaisemmin irrotetuilla kuusiokoloruuveilla, aluslaatoilla ja välikappaleilla.
-
Asenna leikkuuyksikkö ajoyksikköön. Katso ajoyksikön käyttöopas.
Kelan käyttöhihnan kireyden säätö
| Huoltoväli | Huoltotoimenpide |
|---|---|
| Vuosittain |
|
-
Irrota kelan käytön kotelon suojus irrottamalla kolme ruuvia, joilla se on kiinnitetty.
-
Vapauta hihnan jännitys löysäämällä kiristinpyörän varren pulttia ja kiertämällä kiristinpyörän vartta.
-
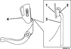
Kiristä ylemmän kiristinpyörän varren sisäinen ruuvi viisarityyppisellä momenttiavaimella momenttiin 6–7 N·m (Kuva 14).

-
Varmista kiristinpyörän varsi kiristämällä kiristinpyörän varren pultti.
-
Asenna suojus kolmella vastaavalla ruuvilla.
Leikkuunopeuden säätö
Leikkuunopeus määräytyy seuraavien koneen asetusten mukaan:
-
Kelanopeus: Kelan nopeuden voi säätää korkeaksi tai matalaksi. Katso ajoyksikön käyttöopas.
-
Kelan käyttöpyörän asento: Kelan käyttöpyörät (22-hampainen ja 24-hampainen) voi asettaa kahteen asentoon:
Note: Hihnapyörän asento on asetettu tehtaalla MATALA-asentoon.

Jos haluat säätää hihnapyörien asentoa, toimi seuraavien vaiheiden mukaisesti:
-
Irrota hihnasuojus, jotta saat hihnan näkyviin (Kuva 16).

-
Vapauta hihnan jännitys löysäämällä kiristinpyörän varren pulttia ja kiertämällä kiristinpyörän vartta (Kuva 16).
-
Irrota hihna (Kuva 16).
-
Löysää kunkin hihnapyörän mutteri, irrota hihnapyörät ja asenna hihnapyörät haluttuun kokoonpanoon muttereilla.

-
Kiristä hihnapyörien mutterit momenttiin 37–45 N·m.
-
Asenna hihna ja kiristä hihna käyttämällä momenttia 6–7 N·m kiristinpyörän varren sisäiseen kuusiokoloon kuvan mukaisesti (Kuva 16).
-
Kiristä kiristinpyörän varren pultti ja asenna hihnasuojus.
Ruohosuojuksen korkeuden säätö
Säädä ruohosuojus seuraavasti, jotta leikkuujätteet poistuisivat siististi kelan alueelta:
Note: Suojusta voidaan säätää vastaamaan nurmen olosuhteissa tapahtuvia muutoksia. Suojus on säädettävä lähemmäs kelaa, kun nurmi on erittäin kuivaa. Vastaavasti suojus on säädettävä kauemmas kelasta, kun nurmi on märkää. Suojuksen on oltava yhdensuuntainen kelan kanssa, jotta lopputulos olisi paras mahdollinen. Säädä se, kun kela on teroitettu hiomalla.
-
Löysää ruuveja, joilla ruohosuojus (Kuva 18) on kiinnitetty leikkuuyksikköön.

-
Aseta 1,5 mm:n rakotulkki kelan yläosan ja suojuksen väliin ja kiristä sitten ruuvit.
Important: Varmista, että suojus ja kela ovat yhtä etäällä toisistaan koko kelan pituudelta.
Note: Säädä väliä tarvittaessa nurmen olosuhteiden mukaan.
Kiinteän terän tiedot
Kiinteän terän huolto
Vain asianmukaisesti koulutettu mekaanikko saa huoltaa runkopalkin ja kiinteän terän, jotta kela, runkopalkki tai kiinteä terä eivät vaurioidu. Leikkuuyksikkö on paras huollattaa valtuutetulla Toro-jälleenmyyjällä. Kattavat ohjeet, erikoistyökalut ja kaaviot kiinteän terän huoltoon ovat ajoyksikön huolto-oppaassa. Jos runkopalkki on irrotettava tai koottava itse, alla on tähän ohjeet sekä lisäksi kiinteän terän huoltotiedot.
Important: Noudata huolto-oppaan kiinteän terän huoltomenettelyä sitä huollettaessa. Jos kiinteää terää ei asenneta ja hiota oikein, kela, runkopalkki tai kiinteä terä saattavat vaurioitua.
Runkopalkin irrotus/ kiinteän terän kokoonpano
-
Käännä runkopalkin säätöruuveja vastapäivään, jotta kiinteä terä siirtyy etäämmälle kelasta (Kuva 19).

-
Löysää jousen kiristysmutteria, kunnes aluslaatta ei ole enää painunut runkopalkkia vasten (Kuva 19).
-
Löysää lukkomutteria koneen molemmilta puolilta (Kuva 20).

-
Irrota kaikki runkopalkin pultit, jotta runkopalkki voidaan vetää alaspäin ja irrottaa leikkuuyksiköstä (Kuva 20).
Ota talteen kaksi teräsaluslaattaa ja yksi muovialuslaatta runkopalkin kummastakin päästä (Kuva 20).
-
Irrota kiinteä terä runkopalkista irrottamalla neljä ruuvia, joilla se on kiinnitetty. Käytä hylsyavainta kiinteän terän ruuvaustyökalun (osanro TOR510880) kanssa.
Note: Voit käyttää mekaanista tai pneumaattista iskuavainta kiinteän terän ruuvien löysäämiseen.
Note: Hävitä kiinteä terä ja ruuvit.
Uuden kiinteän terän asennus
-
Valitse uusi kiinteä terä taulukon (Leikkuukorkeuden ja kiinteän terän valintataulukot) mukaisesti.
-
Poista ruoste, karsta ja korroosio runkopalkin pinnasta ja levitä ohut kerros öljyä runkopalkin pinnalle.
Important: Älä poista valuosan materiaalia runkopalkista. Runkopalkin kuuluu olla keskeltä kovera. Älä hio.
-
Puhdista runkopalkin kierteet.
-
Levitä kiinteän terän ruuveihin lukkiintumisen estoainetta ja asenna kiinteä terä runkopalkkiin.
Important: Käytä vain uusia kiinteän terän ruuveja.
Note: Ruuvien lukumäärä vaihtelee runkopalkin mukaan.

-
Kiristä kaksi ulompaa ruuvia momenttiin 1 N·m.
-
Aloita kiinteän terän keskeltä ja kiristä ruuvit momenttiin 25,9 ±1,4 N·m.
Important: Älä kiristä kiinteän terän ruuveja mekaanisella tai pneumaattisella iskuavaimella.

-
Hio uusi kiinteä terä. Katso Kiinteän terän hiomistiedot.
Kiinteän terän hiomistiedot

| Kiinteän terän (yläosan) takakulma | Katso Leikkuukorkeuden ja kiinteän terän valintataulukot. |
| Etukulman alue | 13–17° |
| Väyläleikkuuseen tarkoitetun kiinteän terän takakulma | 10° |
Yläosan hiontakulman tarkistus
Kiinteän terän hiontakulma on erittäin tärkeä.
Hiontalaitteen kulma on tarkistettava kulman osoittimella (Toro-osanro 131-6828) ja kulman osoittimen kiinnittimellä (Toro-osanro 131-6829), ja mahdollinen epätarkkuus on korjattava.
-
Aseta kulman osoitin kiinteän terän alaosaan kuvan mukaisesti (Kuva 24).

-
Paina kulman osoittimen Alt Zero -painiketta.
-
Aseta kulman osoittimen kiinnitin kiinteän terän reunaan siten, että magneetin reuna kiinnittyy kiinteän terän reunaan (Kuva 25).
Note: Digitaalinäytön tulee näkyä samalta puolelta tämän vaiheen aikana kuin vaiheessa 1.

-
Aseta kulman osoitin kiinnittimeen kuvan mukaisesti (Kuva 25).
Note: Tämä on hiontalaitteen kulma, joka saa poiketa enintään kaksi astetta suositellusta yläosan hiontakulmasta.
Runkopalkin / kiinteän terän kokoonpanon asennus
-
Asenna runkopalkin / kiinteän terän kokoonpano asettamalla asennuskorvakkeet aluslaattojen ja runkopalkin säätöruuvien väliin (Kuva 19).
Important: Keskitä DPA-säätimet runkopalkin korvakkeissa kuvan mukaisesti (Kuva 26).Jos DPA-säätimet on asennettu runkopalkin korvakkeita vasten, kiinteän terän ja kelan kosketus voi heiketä.

-
Kiinnitä runkopalkki molempiin sivulevyihin runkopalkin pulteilla (pulteissa mutterit) ja kolmella aluslaatalla (kuusi yhteensä).
-
Aseta nailoninen aluslaatta sivulevyn keskiön kummallekin puolelle. Aseta teräksinen aluslaatta jokaisen nailonaluslaatan ulkopuolelle (Kuva 27).
-
Kiristä runkopalkin pultit momenttiin 27–36 N·m.
-
Kiristä lukkomuttereita, kunnes teräsaluslaattojen päittäisvälys katoaa, mutta niitä voidaan kääntää käsin. Sisäpuolella olevissa aluslaatoissa saa olla rako.
Important: Älä kiristä lukkomuttereita liikaa, sillä muuten sivulevyt voivat taipua.
-
Kiristä jousen kiristysmutteria, kunnes jousi painuu kokoon, ja löysää sitten mutteria puoli kierrosta (Kuva 27).

-
Säädä kiinteä terä kelaan. Katso kohta Kiinteän terän kohdistus kelaan.
Kelan tiedot
Kelan valmistelu hiomista varten
-
Varmista, että kaikki leikkuuyksikön osat ovat kunnossa ja korjaa mahdolliset ongelmat ennen hiomista.
-
Noudata kelahiomakoneen valmistajan ohjeita leikkuukelan hiomiseksi seuraavien määritysten mukaiseksi.
Kelan hiomistiedot Uusi kelan halkaisija 128,5 mm Kelan halkaisijan huoltoraja 114,3 mm Terän takakulma 30° ± 5° Terän kierreleveyden alue 0,8–1,2 mm Kelan halkaisijan kaventuman huoltoraja 0,25 mm
Kelan takatahkoaminen
Uudessa kelassa on 1,3–1,5 mm:n kierreleveys ja 30 asteen takatahkous.
Kun kierreleveys on suurempi kuin 3 mm, on tehtävä seuraavat toimenpiteet:
-
Tee kaikkiin kelan lehtiin 30 asteen takatahkous, kunnes kierreleveys on 0,8 mm.(Kuva 28).

-
Hio kelaa, kunnes sen jättö on <0,025 mm.
Note: Tämä kasvattaa hieman kierreleveyttä.
-
Säädä leikkuuyksikkö. Katso lisätietoja leikkuuyksikön käyttöoppaasta.
Note: Kelan ja kiinteän terän leikkuusärmän pysymistä terävänä voi pidentää tarkistamalla kelan ja/tai kiinteän terän hionnan jälkeen kelan ja kiinteän terän kosketuksen uudelleen kahden viheriön leikkaamisen jälkeen. Tämä poistaa mahdolliset jäysteet. Jäysteet voivat aiheuttaa virheellisen kelan ja kiinteän terän välyksen ja siten nopeuttaa kulumista.
Leikkuuyksikön läppäys
Käytä leikkuuyksikön läppäystä varten Access-läppäyssarjaa (mallinro 139-4342) tai läppäyssarjaa (mallinro 04800). Lisätietoja on sarjan asennusohjeissa. Hanki yksi näistä sarjoista ottamalla yhteys valtuutettuun Toro-jälleenmyyjään.


, joka tarkoittaa varoitusta,
vaaraa tai hengenvaaraa – henkilöturvallisuusohjeet. Ohjeiden
laiminlyönti saattaa johtaa henkilövahinkoon tai kuolemaan.








