Underhåll
Note: Vänster och höger sida på maskinen är lika med förarens vänstra respektive högra sida vid normal körning.
Komma åt klippenheten
Kom åt understålet och cylindern för underhåll på följande sätt:
Kontrollera smörjpunkten för cylinderdrivningsaxeln
| Underhållsintervall | Underhållsförfarande |
|---|---|
| Årligen |
|
-
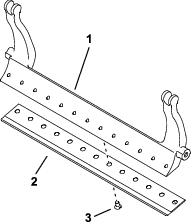
Ta bort fästelementen som säkrar cylinderdrivsatsen på sidoplattan (Figur 13).

-
Avlägsna muttrarna från insidan av sidoplåten (Figur 13).
-
Kontrollera insidan av cylinderdrivningsaxeln (Figur 14) för eventuellt smörjfett som är kvar.
Om du inte ser en tillräcklig mängd smörjfett ska du tillsätta mer fett till den räfflade han- och honaxeln.

-
Använd de insexskruvar och muttrar som tidigare avlägsnades för att fästa cylinderdrivsatsen på sidoplåten.
-
Montera klippenheten på traktorenheten. Se traktorenhetens bruksanvisning.
Justera cylinderdrivremsspänningen
| Underhållsintervall | Underhållsförfarande |
|---|---|
| Årligen |
|
-
Ta bort kåpan från cylinderdrivningshöljet genom att ta bort de fyra skruvarna som håller den på plats.
-
Lätta på remspänningen genom att lossa mellandrevarmsskruven och rotera mellandrevarmen.
-
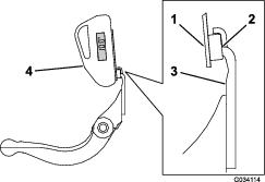
Dra åt den övre invändiga skruven på mellandrevarmen till 6–7 Nm med en momentnyckel av balktyp (Figur 15).

-
Fäst mellandrevarmen genom att dra åt mellandrevarmens skruv.
-
Montera kåpan med de fyra tillhörande skruvarna.
Justera klipphastigheten
Klipphastigheten avgörs av följande maskininställningar:
-
Cylinderhastighet: Cylinderhastigheten kan justeras till en hög eller låg inställning. Se traktorenhetens bruksanvisning.
-
Cylinderdrivskivans läge: Cylinderdrivskivorna (22 och 24 kuggar) kan ställas in i två lägen:
Note: Drivskivan är inställd på LåGT läge när den kommer från fabriken.

Se följande steg för att justera drivskivornas läge:
-
Avlägsna remkåpan så att remmen blir synlig (Figur 17).

-
Lossa mellandrevsarmens skruv och rotera mellandrevsarmen (Figur 17) för att lätta spänningen på remmen.
-
Avlägsna remmen (Figur 17).
-
Lossa muttern på varje drivskiva, avlägsna drivskivorna och använd muttrarna för att montera drivskivorna enligt önskad konfiguration.

-
Dra åt drivskivans muttrar till 37–45 Nm.
-
Montera remmen och spänn remmen genom att applicera 6–7 Nm på mellandrevsarmens interna sexkant som visas i Figur 17.
-
Dra åt mellandrevsarmens mutter och montera remkåpan.
Specifikationer för underkniv
Serva understålet
Låt endast en utbildad mekaniker serva underknivsstången och understålet för att förhindra skador på cylinder, underknivsstång och understål. Det bästa är att ta klippenheten till närmaste auktoriserade Toro-återförsäljare för service. I traktorenhetens servicehandbok finns fullständiga anvisningar, specialverktyg och tabeller för underknivsservice. Det finns anvisningar nedan om du själv skulle behöva ta bort eller sätta tillbaka underknivsstången, samt specifikationer för underknivsservice.
Important: Följ alltid underknivsprocedurerna som anges i servicehandboken när understålet servas. Om understålet monteras eller slipas på ett felaktigt sätt kan skador uppstå på cylindern, underknivsstången eller understålet.
Ta bort underknivsstången/underknivsmonteringen
-
Vrid underknivsstångens justerskruv motsols, så att understålet förs bort från cylindern (Figur 19).

-
För fjäderspänningsmuttern bakåt tills brickan inte längre är spänd mot underknivsstången (Figur 19).
-
Lossa låsmuttern på vardera sidan av maskinen. Se Figur 20.

-
Ta bort alla underknivsstångens skruvar så att underknivsstången kan dras nedåt och avlägsnas från klippenheten (Figur 20).
Ta hand om de två plastbrickorna och stålbrickan på vardera ände av underknivsstången (Figur 20).
-
Ta bort underkniven från underknivsstången genom att ta bort alla skruvar som håller fast den. Använd en hylsnyckel med gängstål för underkniv (art.nr. TOR510880).
Note: Du kan använda en mekanisk eller pneumatisk mutterdragare för att lossa på underknivens skruvar.
Note: Kassera underkniven och skruvarna.
Montera den nya underkniven
-
Välj en ny underkniv enligt Tabell över klipphöjd och val av underkniv.
-
Ta bort rosten, beläggningen och korrosionen från underknivsstångens yta och applicera ett tunt lager olja på underknivsstångens yta.
Important: Ta inte bort gjutmaterial från underknivsstången. Underknivsstången är konkav i mitten till sin utformning. Slipa inte.
-
Rengör gängorna i underknivsstången.
-
Applicera monteringssmörjmedel på de nya underknivsskruvarna och montera underkniven på underknivsstången.
Important: Använd endast nya underknivsskruvar.
Note: Antalet skruvar varierar beroende på underknivsstång.

-
Dra åt de två yttre skruvarna till 1 Nm.
-
Utgå från underknivens mitt och dra åt skruvarna till ett moment på 25,9 +/- 1,4 Nm.
Important: Dra inte åt underknivens skruvar med en mekanisk eller pneumatisk mutterdragare.

-
Slipa den nya underkniven. Se Specifikationer för att slipa understålet.
Specifikationer för att slipa understålet

| (Övre) ställvinkel för underkniv | Se Tabell över klipphöjd och val av underkniv. |
| Framvinkelsområde | 13° till 17° |
| Främre vinkel för fairwayunderkniv | 10° |
Kontrollera den övre fräsvinkeln
Vinkeln som du använder för att fräsa understålen är mycket viktig.
Använd vinkelindikatorn (Toro-artikelnr 131-6828) och vinkelindikatorfästet (Toro-artikelnr 131-6829) för att kontrollera vinkeln som slipmaskinen skapar. Åtgärda vid felaktigt resultat.
-
Placera vinkelindikator på understålets undersida enligt Figur 24.

-
Tryck på knappen Alt Zero på vinkelindikatorn.
-
Placera vinkelindikatorfästet på understålets egg så att magnetkanten passas in med understålets egg (Figur 25).
Note: Den digitala displayen ska under detta steg vara synlig från samma sida som i steg 1.

-
Placera vinkelindikatorn på fästet enligt Figur 25.
Note: Detta är den vinkel som slipmaskinen skapar, och den ska ligga inom två grader från den rekommenderade övre fräsvinkeln.
Montera underknivsstången/underknivsmonteringen
-
Montera underknivsstången/underknivsmonteringen genom att placera fästhandtagen mellan brickorna och underknivsstångens justerskruv (Figur 26).
Important: Centrera DPA-justeringsanordningen i underknivsstångens handtag enligt Figur 26.Kontakten mellan underkniv och cylinder kan påverkas negativt om DPA-justeringsanordningen fästs mot underknivsstångens handtag.

-
Fäst underknivsstången på vardera sidoplåt med tillhörande skruvar (muttrar på skruvar) och tre brickor (sex stycken totalt).
-
Sätt en nylonbricka på var sida om sidoplåtens nav. Placera en stålbricka på utsidan av varje nylonbricka (Figur 27).
-
Dra åt skruvarna för underknivsstången till ett moment på 27–36 Nm.
-
Dra åt låsmuttrarna tills spelet försvinner från stålbrickorna, men du fortfarande kan vrida dem för hand. Det kan finnas ett mellanrum vid brickorna på insidan.
Important: Dra inte åt låsmuttrarna för hårt, eftersom det får sidoplåtarna att böjas.
-
Dra åt fjäderspänningsmuttern tills fjädern pressas ihop, och vrid sedan ut den ett halvt varv (Figur 27).

-
Justera understålet mot cylindern, se Justera understålet mot cylindern.
Cylinderspecifikationer
Förbereda cylindern för slipning
-
Se till att klippenhetens alla komponenter är i gott skick, och åtgärda eventuella problem innan slipningen.
-
Följ cylindervässartillverkarens instruktioner för att slipa klippcylindern enligt följande specifikationer.
Specifikationer för att slipa cylindern Ny cylinderdiameter 128,5 mm Servicegräns för cylinderdiametern 114,3 mm Knivens ställvinkel 30° ± 5° Knivens anliggningsyta, omfång 0,8 till 1,2 mm Servicegräns för cylinderdiameterns avsmalning 0,25 mm
Slipa cylinderns avbackning
Den nya cylindern har en anliggningsyta på 0,8–1,2 mm och en ställvinkel på 30°.
Gör följande när anliggningsytan blir över 3 mm bred:
-
Slipa en ställvinkel på 30° på alla cylinderknivar tills anliggningsytan är 0,8 mm

-
Rundslipa cylindern för att uppnå en precisionsminskning för cylindern på < 0,025 mm.
Note: Detta gör att landbredden ökar något.
-
Justera klippenheten. Se bruksanvisningen till klippenheten.
Note: För att cylindereggen och understålet ska vara vassa längre ska du – efter att ha slipat cylindern och/eller understålet – kontrollera kontakten mellan cylindern och understålet igen när du har klippt två greener eftersom alla grader (”skägg”) tas bort. Metallspån kan leda till att ett felaktigt spel bildas mellan cylindern och understålet och därmed få dem att slitas ut snabbare.
Slipa klippenheten
Använd åtkomstsatsen för slipning (modellnr 139-4342) för att slipa klippenheten. Se driftsanvisningar i satsens monteringsanvisningar. Kontakta en auktoriserad Toro-återförsäljare för att erhålla denna sats.


. Symbolen betyder Var försiktig,
Varning eller Fara – anvisning om personsäkerhet. Underlåtenhet
att följa anvisningarna kan leda till personskador eller innebära
livsfara.











