Техническое обслуживание
Note: Определите левую и правую стороны машины (при взгляде со стороны места оператора).
Проверка пресс-масленки приводного вала барабана
| Периодичность технического обслуживания | Порядок технического обслуживания |
|---|---|
| Ежегодно |
|
-
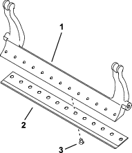
Снимите детали крепления узла привода барабана к боковой пластине (Рисунок 12).

-
Снимите узел привода барабана, плоские шайбы, пружинные шайбы и проставки с боковой пластины (Рисунок 12).
-
Проверьте внутреннюю поверхность приводного вала барабана (Рисунок 13) на наличие остатков смазки.
Если вы не увидите достаточное количество смазки, добавьте консистентную смазку на валы с внутренними и наружными шлицами.

-
Используйте ранее снятые винты с головкой под торцевой ключ, шайбы и проставки, чтобы прикрепить привод барабана в сборе к боковой пластине.
-
Установите режущий блок на тяговый блок; см. Руководство оператора для вашего тягового блока.
Регулировка натяжения приводного ремня барабана
| Периодичность технического обслуживания | Порядок технического обслуживания |
|---|---|
| Ежегодно |
|
-
Снимите крышку с корпуса привода барабана, открутив 3 винта, удерживающих ее на месте.
-
Ослабьте болт рычага натяжного ролика и поверните рычаг натяжного ролика, чтобы ослабить натяжение ремня.
-
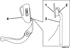
Используйте динамометрический ключ штангового типа, чтобы приложить усилие 6–7 Н∙м к внутреннему винту рычага верхнего натяжного ролика (Рисунок 14).

-
Затяните болт рычага натяжного ролика, чтобы закрепить рычаг натяжного ролика.
-
Установите крышку с помощью 3 соответствующих винтов.
Регулировка скорости резания
Частота скашивания определяется следующими настройками машины:
-
Скорость барабана: скорость барабана можно установить на высокую или низкую настройку; см. Руководство оператора для вашего тягового блока.
-
Положение шкива привода барабана: шкивы привода барабана (с 22 и 24 зубьями) можно установить в 2 положения:
Note: При отгрузке с завода шкив устанавливается в нижнее положение.

Чтобы отрегулировать положение шкивов, см. следующие пункты:
-
Снимите крышку ремня, чтобы открыть доступ к ремню (Рисунок 16).

-
Ослабьте болт рычага натяжного ролика и поверните рычаг натяжного ролика (Рисунок 16), чтобы ослабить натяжение ремня.
-
Снимите ремень (Рисунок 16).
-
Ослабьте гайку на каждом шкиве, снимите шкивы и с помощью гаек установите шкивы в требуемой конфигурации.

-
Затяните гайки шкивов с моментом от 37 до 45 Н∙м.
-
Установите ремень и затяните его, приложив крутящий момент от 6 до 7 Н∙м к внутреннему шестиграннику рычага натяжного ролика, показанного на Рисунок 16.
-
Затяните болт рычага натяжного ролика и установите крышку ремня.
Регулировка щитка для травы
Отрегулируйте щиток для травы, чтобы скошенная трава полностью выбрасывалась из области барабана, следующим образом:
Note: Щиток можно отрегулировать для компенсации изменения состояния травяного покрова. Если травяной покров очень сухой, путем регулировки уменьшите расстояние между щитком и барабаном. И наоборот, отведите путем регулировки щиток дальше от барабана, когда травяной покров чрезвычайно влажный. Для обеспечения оптимальной работы щиток должен быть параллелен барабану. Отрегулируйте отражатель после заточки барабана на станке.
-
Ослабьте винты крепления щитка для травы, (Рисунок 18) к режущему блоку.

-
Вставьте толщиномер на 1,5 мм между верхней поверхностью барабана и щитком, затем затяните винты.
Important: Убедитесь в том, что расстояние от щитка до барабана одинаково по всей длине барабана.
Note: При необходимости отрегулируйте зазор в зависимости от состояния травяного покрова.
Технические характеристики неподвижных ножей
Обслуживание неподвижного ножа
Во избежание повреждения барабана, планки и неподвижного ножа обслуживать планку и неподвижный нож должен только прошедший надлежащее обучение механик. Лучше всего обслуживать режущий блок у официального дистрибьютора Toro. Полные инструкции, сведения по специальным инструментам и графики техобслуживания неподвижного ножа см. в Руководстве по техническому обслуживанию режущего блока. При необходимости демонтировать или собрать планку неподвижного ножа самостоятельно, следуйте инструкциям, приведенным ниже вместе с техническими характеристиками для обслуживания неподвижного ножа.
Important: Обязательно соблюдайте процедуры техобслуживания неподвижного ножа, подробно изложенные в Руководстве по техническому обслуживанию. Несоблюдение указаний по правильной установке и шлифовке неподвижного ножа может привести к повреждению барабана, планки неподвижного ножа или неподвижного ножа.
Демонтаж неподвижного ножа/Неподвижный нож в сборе
-
Поверните регулировочный винт планки неподвижного ножа против часовой стрелки, чтобы отвести неподвижный нож от барабана (Рисунок 19).

-
Отвинчивайте гайку натяжения пружины до тех пор, пока шайба больше не будет нажимать на планку неподвижного ножа (Рисунок 19).
-
На каждой стороне машины ослабьте контргайку, показанную на Рисунок 20.

-
Отверните каждый болт планки неподвижного ножа, чтобы можно было потянуть планку вниз и снять ее с режущего блока (Рисунок 20).
Помните о наличии 2 стальных и 1 пластмассовой шайбы с каждой стороны неподвижного ножа (Рисунок 20).
-
Снимите неподвижный нож с планки неподвижного ножа, открутив все винты, которые удерживают его на месте. Используйте торцевой ключ с инструментом для винтов неподвижного ножа (номер детали TOR510880).
Note: Вы можете использовать механический или пневматический гаечный ключ для откручивания винтов неподвижного ножа.
Note: Удалите в отходы неподвижный нож и винты.
Установка новго неподвижного ножа.
-
Выберите новый неподвижный нож согласно Таблицы выбора высоты скашивания и неподвижного ножа.
-
Удалите ржавчину, окалину и коррозию с поверхности планки неподвижного ножа и нанесите тонкий слой масла на его поверхность.
Important: Не удаляйте литьевой материал с планки неподвижного ножа. Планка неподвижного ножа преднамеренно вогнута посередине; не выравнивайте ее.
-
Очистите резьбы в планке неподвижного ножа.
-
Нанесите противозадирный состав на новые винты неподвижного ножа и установите неподвижный нож на планку неподвижного ножа.
Important: Используйте только новые винты неподвижного ножа.
Note: Количество винтов варьируется в зависимости от планки неподвижного ножа.

-
Затяните 2 наружных винта с моментом 1 Н∙м.
-
Затяните винты с моментом 25,9 +/- 1,4 Н∙м, начиная от середины неподвижного ножа.
Important: Не затягивайте винты неподвижного ножа, используя механический или пневматический ударный гаечный ключ.

-
Заточите новый неподвижный нож; см Характеристики заточки неподвижных ножей.
Характеристики заточки неподвижных ножей

| Задний (верхний) угол неподвижного ножа | См. Таблицы выбора высоты скашивания и неподвижного ножа. |
| Диапазон передних углов | От 13° до 17°. |
| Передний угол неподвижного ножа Fairway | 10° |
Проверка верхнего угла заточки
Угол заточки неподвижных ножей очень важен.
С помощью индикатора угла (№ детали 131-6828 по каталогу Toro) и крепления для индикатора угла (номер детали 131-6829 по каталогу Toro) проверьте угол, который обеспечивает устройство для заточки, и при несовпадении скорректируйте его.
-
Установите индикатор угла на нижней стороне неподвижного ножа, как показано на Рисунок 24.

-
Нажмите кнопку Alt Zero (Нулевая высота) на индикаторе угла.
-
Установите крепление индикатора угла на кромке неподвижного ножа так, чтобы кромка магнита совпала с кромкой неподвижного ножа (Рисунок 25).
Note: При выполнении действий, описанных в данном пункте, цифровой дисплей должен быть виден с той же стороны, что и при выполнении действий, описанных в пункте 1.

-
Установите индикатор угла на крепление, как показано на Рисунок 25.
Note: Угол, получаемый с помощью устройства для заточки, не должен отличаться более чем на 2 градуса от рекомендованного верхнего угла заточки.
Установка планки неподвижного ножа / неподвижного ножа в сборе
-
Установите планку неподвижного ножа / неподвижный нож в сборе, расположив монтажные проушины между шайбами и регулировочным винтом планки неподвижного ножа (Рисунок 19).
Important: Выровните регуляторы DPA по центрам проушин планки неподвижного ножа, как показано на Рисунок 26.Если регуляторы DPA установлены напротив проушин планки неподвижного ножа, это может отрицательно повлиять на контакт неподвижного ножа с барабаном.

-
Прикрепите планку неподвижного ножа к боковым пластинам с помощью болтов планки неподвижного ножа (гаек на болтах) и 3 шайб (всего 6 шт.).
-
С каждой стороны установите нейлоновую шайбу на выступ боковой пластины. На нейлоновые шайбы установите стальные шайбы (Рисунок 27).
-
Затяните болты планки неподвижного ножа с моментом от 27 до 36 Н∙м.
-
Затяните контргайки до такой степени, чтобы устранить торцевой люфт в стальных шайбах, но чтобы их можно было провернуть вручную. Шайбы внутри могут иметь зазор.
Important: Во избежание деформации боковых пластин не затягивайте контргайки слишком сильно.
-
Затяните гайку натяжения пружины, чтобы пружина полностью сжалась, затем отверните ее на 1/2 оборота (Рисунок 27).

-
Отрегулируйте контакт барабана с неподвижным ножом; см. Регулировка контакта барабана с неподвижным ножом.
Технические данные барабана
Подготовка барабана к заточке
-
Перед заточкой убедитесь, что все компоненты режущего блока находятся в исправном состоянии, и устраните любые нарушения.
-
Следуйте указаниям изготовителя заточного станка, чтобы заточить режущий барабан в соответствии со следующими характеристиками.
Характеристики заточки барабанов Диаметр нового барабана 128,5 мм Эксплуатационный предел для диаметра барабана 114,3 мм Задний угол ножа 30° ± 5° Диапазон ширины витка ножа От 0,8 до 1,2 мм Предельный ресурс конусности по диаметру барабана 0,25 мм
Затыловочное шлифование барабана
Ширина витка нового барабана составляет от 1,3 до 1,5 мм с углом затыловочного шлифования 30°.
Когда ширина витка становится больше 3 мм, выполните следующие действия:
-
Выполните 30-градусное затыловочное шлифование всех ножей барабана так, чтобы ширина витка составляла 0,8 мм.(Рисунок 28).

-
Выполните шлифование методом вращения барабана, чтобы биение барабана было меньше 0,025 мм.
Note: При этом ширина витка немного увеличится.
-
Отрегулируйте режущий блок; см. Руководство оператора для режущего блока.
Note: Чтобы после заточки барабана и/или неподвижного ножа их кромки оставались острыми как можно дольше, проверьте контакт барабана с неподвижным ножом еще раз после скашивания 2 гринов, так как при скашивании удаляются все заусенцы. Заусенцы могут привести к нарушению зазора между барабаном и неподвижным ножом, что приведет к ускоренному износу.
Заточка режущего блока обратным вращением
Для заточки режущего блока обратным вращением используйте комплект Access Backlap (модель № 139-4342) или комплект Backlap (модель № 04800); см. инструкции по эксплуатации в Инструкции по установке комплекта. Для приобретения указанных комплектов обращайтесь к официальному дистрибьютору Toro.


которые
имеют следующее
значение: «Осторожно!»,
«Внимание!» или
«Опасно!» – указания
по обеспечению
личной безопасности.
Несоблюдение данных
инструкций может
стать причиной
травмы или гибели.








