Penyelenggaraan
Note: Tentukan sisi kiri dan kanan mesin dari kedudukan pengendalian yang biasa.
Mengakses Unit Pemotongan
Akses bilah dasar dan gelendong untuk penyelenggaraan seperti yang berikut:
-
Dengan unit pemotongan ditanggalkan dari mesin, angkat bahagian belakang unit pemotongan untuk memastikan nat di hujung belakang skru pelarasan bar dasar tidak menyentuh permukaan kerja (Rajah 11).

-
Dengan unit pemotongan dipasangkan pada mesin, turunkan hendal unit cengkaman ke atas tanah (Rajah 12).

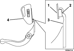
Memeriksa Titik Gris Aci Pemacu Gelendong
| Selang Perkhidmatan Penyelenggaraan | Prosedur Penyelenggaraan |
|---|---|
| Tahunan |
|
-
Tanggalkan perkakasan yang menguncikan pemasangan pemacu gelendong pada plat sisi (Rajah 13).

-
Tanggalkan nat dari bahagian dalam plat sisi (Rajah 13).
-
Periksa bahagian dalam aci pemacu gelendong (Rajah 14) untuk mengesan sisa gris.
Jika anda tidak melihat jumlah gris yang mencukupi, tambah lagi gris pada aci gelugur jantan dan betina.

-
Gunakan skru kepala soket dan nat yang ditanggalkan sebelum ini untuk memasangkan pemasangan pemacu gelendong pada plat sisi.
-
Pasangkan unit pemotongan pada unit cengkaman; rujuk Manual Pengendali unit cengkaman anda.
Melaraskan Ketegangan Tali Sawat Pemacu Gelendong
| Selang Perkhidmatan Penyelenggaraan | Prosedur Penyelenggaraan |
|---|---|
| Tahunan |
|
-
Tanggalkan penutup dari perumah pemacu gelendong dengan menanggalkan 4 skru yang menguncinya.
-
Longgarkan bolt lengan melahu dan putarkan lengan melahu untuk melepaskan ketegangan dari tali sawat.
-
Gunakan perengkuh tork gaya alur untuk mengenakan 6~7N∙m (55~60 inci-lb) daya pada skru dalaman lengan melahu di bahagian atas (Rajah 15).

-
Ketatkan bolt lengan melahu untuk menguncikan lengan melahu.
-
Pasangkan penutup menggunakan 4 skru yang sepadan.
Melaraskan Kadar Potongan
Kadar potongan ditentukan oleh tetapan mesin yang berikut:
-
Kelajuan gelendong: Kelajuan gelendong boleh dilaraskan kepada tetapan tinggi atau rendah; rujuk Manual Pengendali unit cengkaman anda.
-
Kedudukan takal pemacu gelendong: Takal pemacu gelendong (22-gigi dan 24-gigi) boleh ditetapkan dalam 2 kedudukan:
Note: Kedudukan takal ditetapkan kepada kedudukan RENDAH dari kilang.

Untuk melaraskan kedudukan takal, rujuk langkah yang berikut:
-
Keluarkan penutup tali sawat untuk mendedahkan tali sawat (Rajah 17).

-
Longgarkan bolt lengan melahu dan putarkan lengan melahu (Rajah 17) untuk melepaskan ketegangan pada tali sawat.
-
Keluarkan tali sawat (Rajah 17).
-
Longgarkan nat pada setiap takal, tanggalkan takal dan gunakan nat untuk memasangkan takal mengikut konfigurasi yang diinginkan.

-
Tork nat takal kepada 37 hingga 45N∙m (27 hingga 33 kaki-lb)
-
Pasangkan tali sawat dan laraskan ketegangan tali sawat dengan mengenakan 6 hingga 7N∙m (55 hingga 60 inci-lb) pada heks dalaman lengan melahu yang ditunjukkan dalam Rajah 17.
-
Ketatkan bolt lengan melahu dan pasangkan penutup tali sawat.
Spesifikasi Bilah Dasar
Menservis Bilah Dasar
Hanya mekanik yang dilatih sewajarnya boleh menservis bar dasar dan bilah dasar untuk mengelakkan kerosakan pada gelendong, bar dasar atau bilah dasar. Anda disyorkan untuk membawa unit pemotongan ke pengedar Toro dibenarkan anda untuk diservis. Rujuk Manual Servis unit cengkaman anda untuk mendapatkan arahan lengkap, alatan khas dan gambar rajah untuk menservis bilah dasar. Sekiranya anda sendiri perlu menanggalkan atau memasangkan bar dasar, arahan diberikan seperti berikut, disertakan juga spesifikasi untuk menservis bilah dasar.
Important: Sentiasa ikuti prosedur bilah dasar yang diperincikan dalam Manual Servis anda ketika menservis bilah dasar. Kegagalan untuk memasangkan dan mengisar bilah dasar dengan betul boleh merosakkan gelendong, bar dasar atau bilah dasar.
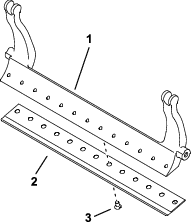
Menanggalkan Bar Dasar/Pemasangan Bilah Dasar
-
Putarkan skru pelarasan bar dasar melawan arah jam untuk menjauhkan bilah dasar dari gelendong (Rajah 19).

-
Keluarkan nat ketegangan spring sehingga sesendal tidak lagi ditegangkan pada bar dasar (Rajah 19).
-
Pada setiap sisi mesin, longgarkan nat kunci yang ditunjukkan dalam Rajah 20.

-
Tanggalkan setiap bolt bar dasar untuk membolehkan bar dasar ditarik ke bawah dan ditanggalkan dari unit pemotongan (Rajah 20).
Tentukan tempat untuk 2 sesendal plastik dan 1 sesendal keluli pada setiap hujung bar dasar (Rajah 20).
-
Tanggalkan bilah dasar dari bar dasar dengan menanggalkan semua skru yang menguncinya. Gunakan perengkuh soket dengan Alat Skru Bilah Dasar (No. Bahagian TOR510880).
Note: Anda boleh menggunakan perengkuh impak mekanikal atau pneumatik untuk melonggarkan skru bilah dasar.
Note: Buang bilah dasar dan skru.
Memasangkan Bilah Dasar Baharu
-
Pilih bilah dasar baharu menurut Carta Pemilihan Ketinggian Pemotongan dan Bilah Dasar.
-
Singkirkan karat, kerak dan kakisan dari permukaan bar dasar dan sapukan satu lapisan minyak yang tipis pada permukaan bar dasar.
Important: Jangan tanggalkan bahan tuangan dari bar dasar. Bar dasar cengkung di bahagian tengah dengan sengaja, jangan kisar.
-
Bersihkan ulir di dalam bar dasar.
-
Sapukan sebatian cegah karat pada skru bilah dasar baharu dan pasangkan bilah dasar pada bar dasar.
Important: Hanya gunakan skru bilah dasar yang baharu.
Note: Kuantiti skru berbeza-beza bergantung pada bar dasar.

-
Tork 2 skru luar kepada 1N∙m (10 inci-lb).
-
Dengan mengendalikan dari bahagian tengah bilah dasar, tork skru kepada 25.9 +/- 1.4N∙m (19 +/- 1 kaki-lb).
Important: Jangan ketatkan skru bilah dasar menggunakan perengkuh impak mekanikal atau pneumatik.

-
Kisar bilah dasar baharu; rujuk Spesifikasi Pengisaran Bilah Dasar.
Spesifikasi Pengisaran Bilah Dasar

| Sudut lega (atas) bilah dasar | Lihat Carta Pemilihan Ketinggian Pemotongan dan Bilah Dasar. |
| Julat Sudut Hadapan | 13°~17° |
| Sudut hadapan bilah dasar lintasan | 10° |
Memeriksa Sudut Kisar Atas
Sudut yang anda gunakan untuk mengisar bilah dasar anda adalah sangat penting.
Gunakan penunjuk sudut (No. Bahagian Toro 131-6828) dan lekapan penunjuk sudut (No. Bahagian Toro 131-6829) untuk menyemak sudut yang dihasilkan oleh pengisar anda, betulkan mana-mana pengisar yang tidak tepat.
-
Letakkan penunjuk sudut pada bahagian bawah bilah dasar seperti yang ditunjukkan dalam Rajah 24.

-
Tekan butang Alt Zero pada penunjuk sudut.
-
Letakkan lekapan penunjuk sudut pada mata bilah dasar agar tepi magnet melekat dengan mata bilah dasar (Rajah 25).
Note: Paparan digital seharusnya dapat dilihat dari sisi yang sama pada langkah ini seperti paparan pada langkah 1.

-
Letakkan penunjuk sudut pada lekapan seperti yang ditunjukkan dalam Rajah 25.
Note: Ini ialah sudut yang pengisar anda hasilkan dan seharusnya dalam julat 2 darjah bagi sudut kisar atas yang disyorkan.
Memasangkan Pemasangan Bar Dasar/Bilah Dasar
-
Pasangkan pemasangan bar dasar/bilah dasar, letakkan telinga lekapan di antara sesendal dengan skru pelarasan bar dasar (Rajah 26).
Important: Letakkan pelaras DPA di bahagian tengah di dalam telinga bar dasar seperti yang ditunjukkan dalam Rajah 26.Jika pelaras DPA dipasangkan pada telinga bar dasar, ini mungkin menjejaskan sentuhan bilah dasar dengan gelendong.

-
Kuncikan bar dasar pada setiap plat sisi menggunakan bolt bar dasar (nat pada bolt) dan 3 sesendal (jumlah 6).
-
Letakkan sesendal nilon pada setiap sisi tombol plat sisi. Letakkan sesendal keluli di bahagian luar setiap sesendal nilon (Rajah 27).
-
Tork bolt bar dasar kepada 27~36N∙m (20~27 kaki-lb).
-
Ketatkan nat kunci sehingga tiada kelonggaran pada sesendal keluli hujung tetapi anda masih boleh memutarkan sesendal menggunakan tangan. Mungkin ada ruang pada sesendal di bahagian dalam.
Important: Jangan kunci nat kunci terlampau ketat kerana ini akan memesongkan plat sisi.
-
Ketatkan nat ketegangan spring sehingga spring dilipat, kemudian undur balik sebanyak ½ putaran (Rajah 27).

-
Laraskan bilah dasar pada gelendong; rujuk Melaraskan Bilah Dasar pada Gelendong.
Spesifikasi Gelendong
Menyediakan Gelendong untuk Pengisaran
-
Pastikan semua komponen unit pemotongan dalam keadaan baik dan betulkan sebarang masalah sebelum pengisaran.
-
Ikuti arahan daripada pengilang pengisar gelendong untuk mengisar gelendong pemotongan kepada spesifikasi berikut.
Spesifikasi Pengisaran Gelendong Diameter Gelendong Baharu 128.5mm (5.06 inci) Had Servis Diameter Gelendong 114.3mm (4.50 inci) Sudut Lega Bilah 30° ± 5° Julat Lebar Tanah Bilah 0.8~1.2mm (0.03~0.05 inci) Had Servis Tirusan Diameter Gelendong 0.25mm (0.010 inci)
Pengisaran Lega pada Gelendong
Gelendong baharu mempunyai lebar tanah 0.8~1.2mm (0.03~0.050 inci) dan pengisaran lega 30°.
Apabila lebar tanah melebihi 3mm (0.120 inci), lakukan perkara berikut:
-
Gunakan pengisaran lega 30° pada semua bilah gelendong sehingga lebar tanah mencapai 0.8mm (0.03 inci)

-
Kisar gelendong dengan memutar untuk mencapai penyingkiran gelendong <0.025mm (0.001 inci).
Note: Ini menyebabkan lebar tanah bertambah sedikit.
-
Laraskan unit pemotongan; rujuk Manual Pengendaliunit pemotongan anda.
Note: Untuk melanjutkan kekekalan ketajaman mata gelendong dan bilah dasar—selepas mengisar gelendong dan/atau bilah dasar—periksa sentuhan gelendong dengan bilah dasar sekali lagi selepas memotong 2 kawasan rumput kerana mana-mana gerigis akan disingkirkan. Gerigis akan mewujudkan ruang lega dari gelendong ke bilah dasar yang tidak sesuai, yang boleh mempercepat kehausan.
Menindih Kembali Unit Pemotongan
Untuk menindih kembali unit pemotongan, gunakan Kit Akses Tindih Kembali (No. Model 139-4342); rujuk arahan pengendalian dalam Arahan Pemasangan kit. Hubungi pengedar Toro anda yang sah untuk mendapatkan kit ini.


, yang bermaksud Awas, Amaran atau Bahaya –
arahan keselamatan diri. Kegagalan untuk mematuhi arahan ini mungkin
menyebabkan kecederaan diri atau kematian.









