Wartung
Note: Bestimmen Sie die linke und rechte Seite der Maschine anhand der üblichen Einsatzposition.
Kontrolle des Schmierpunktes der Spindel-Antriebswelle
| Wartungsintervall | Wartungsmaßnahmen |
|---|---|
| Jährlich |
|
-
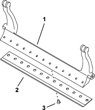
Entfernen Sie die Befestigungsmittel, mit denen die Spindelantriebsbaugruppe an der Seitenplatte befestig ist (Bild 12).

-
Entfernen Sie die Spindelantriebsbaugruppe, Unterlegscheiben, Federscheiben und Distanzstück von der Seitenplatte (Bild 12).
-
Überprüfen Sie die Innenseite der Spindel-Antriebswelle überschüssiges Fett (Bild 13).
Ist nicht ausreichend Fett sichtbar, geben Sie mehr Fett auf die Zahlwellenverbindung.

-
Verwenden Sie die zuvor entfernten Zylinderschrauben, Unterlegscheiben und Distanzstücke, um die Spindelantriebsbaugruppe an der Seitenplatte zu befestigen.
-
Montieren Sie das Mähwerk an der Zugmaschine; weitere Informationen finden Sie in der Bedienungsanleitung Ihrer Zugmaschine.
Einstellen der Spannung des Spindelantriebsriemens
| Wartungsintervall | Wartungsmaßnahmen |
|---|---|
| Jährlich |
|
-
Entfernen Sie die drei Schrauben der Abdeckung des Gehäuses des Spindelantriebs.
-
Lösen Sie die Schraube des Spannarms und drehen Sie den Spannarm, um die Spannung auf dem Riemen zu lösen.
-
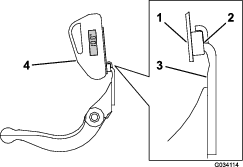
Verwenden Sie einen Drehmomentschlüssel, um eine Kraft von 6 bis 7 N∙m auf die obere innere Schraube des Spannarms (Bild 14) aufzubringen.

-
Ziehen Sie die Schraube des Spannarms fest.
-
Bringen Sie die Abdeckung mit den drei Schrauben wieder an.
Einstellung der Schnitthöhe
Die Schnitthöhe wird durch die folgenden Maschineneinstellungen bestimmt:
-
Spindeldrehzahl: Die Spindeldrehzahl kann auf eine hohe oder niedrige Drehzahl eingestellt werden; siehe Betriebsanleitung Ihrer Zugmaschine.
-
Stellung der Spindelantriebsscheibe: Die Spindelantriebsscheiben (22 Zähne und 24 Zähne) können in zwei Stellungen eingestellt werden:
Note: Die Riemenscheibenstellung ist werkseitig auf die UNTEN-Stellung eingestellt.

Um die Stellung der Riemenscheiben einzustellen, gehen Sie wie folgt vor:
-
Entfernen Sie die Riemenabdeckung, um den Riemen freizulegen (Bild 16).

-
Lösen Sie die Schraube des Spannarms und drehen Sie den Spannarm (Bild 16), um die Spannung auf dem Riemen zu lösen.
-
Nehmen Sie den Riemen ab (Bild 16).
-
Lösen Sie die Mutter an jeder Riemenscheibe, entfernen Sie die Riemenscheiben und montieren Sie die Riemenscheiben mit den Muttern in der gewünschten Konfiguration.

-
Ziehen Sie die Muttern der Riemenscheibe auf ein Drehmoment von 37-45 N∙m an.
-
Bauen Sie den Riemen ein und spannen Sie den Riemen, indem Sie die Innensechskantschraube am Spannarm auf ein Drehmoment von 6 bis 7 N∙m anziehen, wie in Bild 16 dargestellt.
-
Ziehen Sie die Schraube des Spannarms an und montieren Sie die Riemenabdeckung.
Einstellen der Grasabdeckung
Stellen Sie das Grasschutzblech wie folgt so ein, dass Schnittgut sauber aus dem Spindelbereich ausgeworfen wird:
Note: Das Schutzblech kann an geänderte Rasenbedingungen angepasst werden. Bei sehr nassem Gras sollte der Abstand des Schutzbleches von der Spindel kleiner sein. Umgekehrt sollte das Schutzblech bei nassen Einsatzbedingungen in größerem Abstand zur Spindel befestigt werden. Für optimale Leistung sollte das Schutzblech parallel zur Spindel sein. Stellen Sie sie ein, wenn Sie die Spindel an einem Spindelschärfer schärfen.
-
Lockern Sie die Schrauben, mit denen das Grasschutzblech (Bild 18) an der Schneideinheit befestigt ist.

-
Führen Sie eine Fühlerlehre (1,5 mm) zwischen Spindeloberseite und Schutzblech ein und ziehen Sie die Schrauben an.
Important: Achten Sie darauf, dass Schutzblech und Spindel über die gesamte Spindellänge den gleichen Abstand voneinander haben.
Note: Stellen Sie den Abstand auf den entsprechenden Zustand der Grünfläche ein.
Technische Daten für das Untermesser
Warten des Untermessers
Nur ein richtig geschulter Mechaniker sollte den Untermesserträger und das Untermesser warten, um eine Beschädigung der Spindel, des Untermesserträgers und des Untermessers zu vermeiden. Am besten sollten Sie die Schneideinheit von einem offiziellen Toro-Vertragshändler warten lassen. Ausführliche Anweisungen, Spezialwerkzeuge und Tabellen für das Warten des Untermessers finden Sie in der Wartungsanleitung der Zugmaschine. Sollten Sie den Untermesserträger abnehmen oder montieren müssen, finden Sie unten Anweisungen sowie technische Daten für das Warten des Untermessers.
Important: Halten Sie sich immer an die Schritte für das Untermesser, die in der Wartungsanleitung aufgeführt sind, wenn Sie das Untermesser warten. Bei einem falschen Einbau oder Schleifen des Untermessers riskieren Sie Schäden an der Spindel, dem Untermesser und dem Untermesserträger.
Entfernen der Untermesserträger/Untermesser-Baugruppe
-
Drehen Sie die Einstellschraube des Untermesserträgers nach links, um den Abstand zwischen dem Untermesser und der Spindel zu vergrößern (Bild 19).

-
Drehen Sie die Federspannungsmutter so weit hinaus, bis die Scheibe nicht mehr gegen den Untermesserträger angespannt ist (Bild 19).
-
Lösen Sie auf jeder Seite der Maschine die Sicherungsmutter, die in Bild 20 dargestellt ist.

-
Nehmen Sie jede Schraube des Untermesserträgers ab, damit der Untermesserträger nach unten gezogen und von der Schneideinheit entfernt werden kann (Bild 20).
Bewahren Sie die beiden Stahlscheiben und die Kunststoffscheibe an jedem Ende des Untermesserträgers auf (Bild 20).
-
Entfernen Sie sämtliche Schrauben mit denen das Untermesser am Untermesserträger befestigt ist. Verwenden Sie einen Steckschlüssel mit dem Untermesser-Schraubwerkzeug (Bestell-Nr. TOR510880).
Note: Sie können einen mechanischen oder pneumatischen Schlagschrauber verwenden, um die Schrauben des Untermessers zu lösen.
Note: Entsorgen Sie das Untermesser und die Schrauben.
Einbau des neuen Untermessers
-
Wählen Sie ein neues Untermesser gemäß Auswahltabellen für Schnitthöhe und Untermesser aus.
-
Entfernen Sie Rost, Kalk oder Korrosion von der Oberseite des Untermesserträgers und tragen Sie einen dünnen Ölfilm auf die Oberfläche des Untermesserträgers auf.
Important: Entfernen Sie kein Gussmaterial vom Untermesserträger. Der Untermesserträger ist in der Mitte konkav und darf nicht geschliffen werden!
-
Reinigen Sie die Schraubengewinde im Untermesserträger.
-
Tragen Sie Gewindeschmiermittel auf die neuen Schrauben des Untermessers auf und befestigen Sie das Untermesser am Untermesserträger.
Important: Verwenden Sie nur neue Schrauben am Untermesser.
Note: Die Anzahl der Schrauben variiert je nach Untermesserträger.

-
Ziehen Sie die zwei äußeren Schrauben mit 1 N∙m an.
-
Arbeiten Sie von der Mitte des Untermessers aus und ziehen Sie die Schrauben auf ein Anzugsmoment von 25,9 +/- 1,4 N∙m an.
Important: Ziehen Sie die Schrauben des Untermessers nicht mit einem mechanischen oder pneumatischen Schlagschrauber an.

-
Schleifen Sie das neue Untermesser, siehe Technische Daten für das Schleifen des Untermessers.
Technische Daten für das Schleifen des Untermessers

| Entlastungswinkel des Untermessers (oben) | Siehe Auswahltabellen für Schnitthöhe und Untermesser. |
| Winkelbereich vorne | 13° bis 17° |
| Frontwinkel bei Fairway-Untermesser | 10° |
Prüfen der oberen Schleifneigung
Die Neigung, den Sie zum Schleifen der Untermesser verwenden, spielt eine große Rolle.
Prüfen Sie mit dem Neigungsmesser (Toro Bestellnummer 131-6828) und der Neigungsmesserbefestigung (Toro Bestellnummer 131-6829) die von der Schleifmaschine erstellte Neigung und korrigieren Sie dann mögliche Ungenauigkeiten der Schleifmaschine.
-
Positionieren Sie den Neigungsmesser an der Unterseite des Untermessers, wie in Bild 24 abgebildet.

-
Drücken Sie die Taste Alt Zero“ auf dem Neigungsmesser.
-
Legen Sie die Neigungsmesserbefestigung an die Kante des Untermessers, sodass die Kante des Magnets bündig mit der Kante des Untermessers ist (Bild 25).
Note: Die digitale Anzeige sollte in diesem Schritt von der gleichen Seite wie in Schritt 1 sichtbar sein.

-
Legen Sie den Neigungsmesser auf die Befestigung, wie in Bild 25 abgebildet.
Note: Dies ist die Neigung, die die Schleifmaschine erstellt; sie sollte innerhalb von 2 Grad der empfohlenen oberen Schleifneigung sein.
Einbau der Untermesserträger/Untermesser-Baugruppe
-
Montieren Sie die Untermesserträger/Untermesser-Baugruppe. Positionieren Sie die Befestigungslaschen zwischen den Scheiben und der Untermesserträger-Stellschraube (Bild 19).
Important: Zentrieren Sie die DPA-Einsteller in die Ösen der Untermesserträger, wie in Bild 26 dargestellt.Wenn die DPA-Einsteller an den Ösen der Untermesserträger angebracht werden, kann dies den Kontakt zwischen Untermesser und Spindel beeinträchtigen.

-
Befestigen Sie den Untermesserträger mit den Untermesserträgerschrauben (Muttern an den Schrauben) und den drei Scheiben (6 insgesamt) an jeder Seitenplatte.
-
Legen Sie eine Nylonscheibe auf jede Seite des Seitenplattenansatzes. Legen Sie eine Stahlscheibe außen auf jede Nylonscheibe (Bild 27).
-
Ziehen Sie die Schrauben des Untermesserträgers auf ein Anzugsmoment von 27 bis 36 N∙m an.
-
Ziehen Sie die Sicherungsmuttern an, bis die Stahlmuttern kein Spiel mehr haben, jedoch mit der Hand gedreht werden können. Die Scheiben innen können einen Abstand aufweisen.
Important: Ziehen Sie die Sicherungsmuttern nicht zu fest an, da sich sonst die Seitenplatten verformen können.
-
Ziehen Sie die Federspannungsmutter an, bis die Feder zusammengedrückt ist, drehen Sie sie dann eine 1/2 Umdrehung heraus (Bild 27).

-
Stellen Sie das Untermesser zur Spindel ein, siehe Einstellen des Untermessers auf die Spindel.
Technische Daten der Spindel
Vorbereiten der Spindel für das Schleifen
-
Stellen Sie sicher, dass alle Teile der Schneideinheit in gutem Zustand sind und beheben Sie alle Probleme vor dem Schleifen.
-
Halten Sie sich an die Anweisungen des Herstellers der Schleifmaschine und schleifen Sie die Mähspindel, bis sie die folgenden technischen Daten erfüllt.
Technische Daten für das Schleifen der Spindel Neuer Spindeldurchmesser 128,5 mm Spindeldurchmesser, Wartungslimit 114,3 mm Messer-Einzugswinkel 30° ± 5° Bereich der Breite der Messerkante 0,8 bis 1,2 mm Spindeldurchmesserabschrägung, Wartungslimit 0,25 mm
Hinterschleifen der Spindel
Die neue Spindel hat eine Stegbreite von 1,3 bis 1,5 mm und einen Hinterschliff von 30°.
Wenn die Kante breiter als 3 mm ist, führen Sie folgende Schritte aus:
-
Tragen Sie einen Nachschliff von 30° auf alle Messerspindeln auf, bis die Kante 0,8 mm breit ist.(Bild 28).

-
Fräsen Sie die Spindeln, um einen Spindelauslauf von <0,025 mm zu erzielen.
Note: Dies verursacht eine geringe Zunahme der Kante.
-
Stellen Sie die Schneideinheit ein, siehe Bedienungsanleitung der Schneideinheit.
Note: Um die Kante der Spindel und des Untermessers länger scharf zu halten, prüfen Sie nach dem Schleifen der Spindel und/oder des Untermessers nach dem Mähen von sechs Grüns den Kontakt zwischen Spindel und Untermesser erneut, da alle Grate entfernt sind. Grate können zu einem falschen Abstand zwischen Spindel und Untermesser führen; dies beschleunigt die Abnutzung.
Läppen des Mähwerks
Verwenden Sie zum Läppen der Mähwerke das Zugangskit Läppeinheit (Modell-Nr. 139-4342) oder das Läppkit (Modell-Nr. 04800); siehe Installationsanweisungen in der Bedienungsanleitung des Kits. Wenden Sie sich an Ihren autorisierten Toro-Vertragshändler, um eines dieser Kits zu erwerben.


, es bedeutet Vorsicht,
Warnung oder Gefahr – Sicherheitshinweis“. Wenn
diese Hinweise nicht beachtet werden, kann es zu schweren bis tödlichen
Verletzungen kommen.








