유지보수
Note: 정상 운전 위치에서 장비의 좌측과 우측을 판단하십시오.
커팅 유닛 접근
릴 드라이브샤프트 윤활 개소 점검
릴 드라이브 벨트 장력 조정
| 유지보수 서비스 간격 | 유지보수 절차 |
|---|---|
| 매년 |
|
-
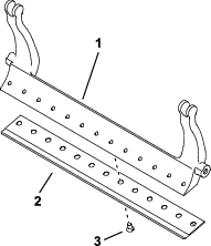
커버를 고정한 ㄴ나사 4개를 제거하여 릴 드라이브 하우징에서 커버를 분리합니다.
-
아이들러 암 볼트를 풀고 아이들러 암을 회전시켜 벨트의 장력을 제거합니다.
-
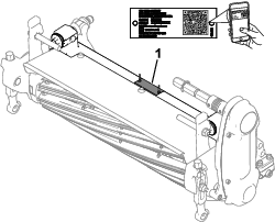
빔 스타일 토크 렌치를 사용하여 상단 아이들러 암 내부 나사에 6 ~ 7 N∙m의 힘을 가합니다(그림 15).

-
아이들러 암 볼트를 조여서 아이들러 암을 고정합니다.
-
해당하는 나사 4개를 통해 커버를 설치합니다.
클립 비율 조정
다음과 같은 장비 설정을 통해 클립 비율를 결정합니다.
-
릴 속도: 릴 속도를 고속 또는 저속 설정으로 조정할 수 있습니다. 트랙션 유닛의 사용 설명서를 참조하십시오.
-
릴 드라이브 풀리 위치: 릴 드라이브 풀리(22 톱니 및 24 톱니)를 2가지 위치로 설정할 수 있습니다.
Note: 공장 출하 시 풀리 위치는 LOW(저속) 위치로 설정되어 있습니다.

풀리 위치를 조정하려면 다음 절차를 참조하십시오.
베드나이프 규격
베드나이프 정비
릴, 베드바 또는 베드나이프의 손상을 방지하기 위해 적절하게 훈련받은 기술자만이 베드바와 베드나이프를 정비해야 합니다. Toro 지정 판매 대리점에 커팅 유닛 정비를 의뢰하는 것이 좋습니다. 베드나이프 정비에 대한 완전한 지침, 특수 공구 및 그림은 트랙션 유닛의 정비 설명서를 참조하십시오. 스스로 베드바를 분리하거나 조립해야 한다면, 베드나이프 정비 사양을 따르는 지침은 아래와 같습니다.
Important: 베드나이프를 정비할 때 항상 정비 설명서에 명시된 베드나이프 절차를 준수하십시오. 베드나이프를 올바르게 설치 및 연마하지 않으면 릴, 베드바 또는 베드나이프가 손상될 수 있습니다.
베드바 분리/베드바 어셈블리
-
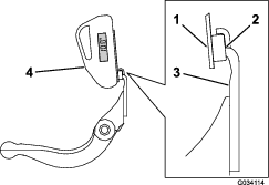
베드바 조정 나사를 시계 반대 방향으로 돌려 베드나이프를 릴에서 후진시킵니다(그림 19).

-
와셔와 베드바 사이의 장력이 없어질 때까지 스프링 장력 너트를 뒤로 풉니다(그림 19).
-
그림 20과 같이 장비 양쪽에서 록너트를 풉니다.

-
각 베드바 볼트를 분리하여 베드바를 아래쪽으로 당겨 커팅 유닛에서 탈거합니다(그림 20).
베드바 양쪽 끝에 있는 2개의 플라스틱 와셔와 1개의 스틸 와셔를 기록해 둡니다(그림 20).
-
고정 위치에 있는 모든 나사를 제거하여 베드바에서 베드나이프를 제거합니다. 베드나이프 나사 공구(부품 번호 TOR510880)와 함께 소켓 렌치를 사용합니다.
Note: 기계식 또는 공압식 충격 렌치를 사용하여 베드나이프 나사를 풀 수 있습니다.
Note: 베드나이프와 나사를 폐기합니다.
새로운 베드나이프 설치
-
예고 및 베드나이프 선택 차트에 따라 새 베드나이프를 선택합니다.
-
베드바 표면에서 녹, 스케일, 부식 등을 제거하고 베드바 표면에 오일을 얇게 한 겹 바릅니다.
Important: 베드바에서 주물 소재를 제거하지 마십시오. 베드바는 중앙이 오목하게 설계되어 있습니다. 연마하지 마십시오.
-
베드바의 스레드를 청소합니다.
-
새 베드나이프 나사에 고착 방지제를 바르고 베드바에 베드나이프를 장착합니다.
Important: 새 베드나이프 나사만 사용하십시오.
Note: 베드바에 따라 나사 개수가 달라질 수 있습니다.

-
바깥쪽 나사 2개를 1 N∙m 토크로 조입니다.
-
베드나이프의 가운데에서부터 작업하면서, 나사를 25.9 +/- 1.4 N∙m 토크로 조입니다.
Important: 기계식이나 공압식 충격 렌치로 베드바 나사를 조이지 마십시오.

-
새 베드나이프를 연마합니다. 베드나이프 연마 규격을 참조하십시오.
베드나이프 연마 규격

| 베드나이프 릴리프(상단) 각도 | 예고 및 베드나이프 선택 차트을(를) 참조하십시오. |
| 전면 각도 범위 | 13°~17° |
| 페어웨이 베드나이프 릴리프 각도 | 10° |
상단 연마 각도 점검
베드나이프를 연마하는 데 사용하는 각도는 매우 중요합니다.
각도 표시기(Toro 부품 번호 131-6828) 및 각도 표시기 마운트(Toro 부품 번호 131-6829)를 사용하여 연마기에서 만들어지는 각도를 확인한 다음 연마기가 부정확하면 교정하십시오.
베드바/베드바 어셈블리 설치
-
와셔와 베드바 조정 나사 사이에서 마운팅 이어의 위치를 맞추면서 베드바/베드바 어셈블리를 설치합니다(그림 26).
Important: 그림 26와 같이 DPA 조절 장치를 베드바 이어의 중앙으로 맞춥니다.DPA 조절 장치가 베드바 이어에 붙여서 설치되면 베드나이프-릴 접촉에 부정적인 영향을 미칠 수 있습니다.

-
베드바 볼트(볼트의 너트)와 3개의 와셔(총 6개)를 사용하여 각 측면 플레이트에 베드바를 고정시킵니다.
-
나일론 와셔를 측면 플레이트 보스 양쪽에 배치합니다. 각 나일론 와셔 바깥쪽에 스틸 와셔를 놓습니다(그림 27).
-
27~36 N∙m 토크로 베드바 볼트를 조입니다.
-
스틸 와셔를 손으로 돌릴 수 있을 정도로 스틸 와셔의 유격이 제거될 때까지 록너트를 조입니다. 안쪽 와셔에는 빈틈을 둘 수 있습니다.
Important: 베드나이프를 릴에 지나치게 조이지 마십시오. 그렇게 하면 측면 플레이트가 굴절됩니다.
-
스프링이 완전히 압축될 때까지 스프링 장력 너트를 조인 다음 다시 반 바퀴 정도 풉니다(그림 27).

-
릴에 맞춰 베드나이프를 조정합니다. 릴-베드나이프 조정를 참조하십시오.
릴 규격
릴 연마 준비
-
연마하기 전에 모든 커팅 유닛 부품이 양호한 상태이며 문제가 없는지 확인하십시오.
-
릴 연마기 제조자의 지침에 따라 다음 규격을 참조하여 커팅 릴을 연마합니다.
릴 연마 규격 새로운 릴 지름 128.5 mm 릴 지름 정비 한계값 114.3 mm 블레이드 릴리프 각도 30° ± 5° 블레이드 랜드 폭 범위 0.8~1.2 mm 릴 지름 테이퍼 정비 한계값 0.25 mm
릴 릴리프 연마
새 릴의 랜드 폭은 0.8~1.2 mm이며 릴리프 그라인드 각도는 30°입니다.
랜드 폭이 3 mm 이상이 되면, 다음과 같이 하십시오.
-
랜드 폭이 0.8 mm가 될 때까지 모든 릴 블레이드에 30° 릴리프 그라인드를 적용합니다.

-
릴 런아웃이 0.025 mm 이하가 되도록 릴을 회전 연마합니다.
Note: 이렇게 하면 랜드 폭이 약간 증가합니다.
-
커팅 유닛을 조정합니다. 커팅 유닛 사용 설명서를 참조하십시오.
Note: 릴 및/또는 베드나이프를 연마한 후 릴의 날과 베드나이프의 날카로움을 오래 유지하려면 2개의 그린을 예초한 다음 릴과 베드나이프의 접촉을 다시 점검하십시오. 돌기가 제거되어 있는지 점검하십시오. 돌기는 릴과 베드나이프의 간격이 부적절해지게 하여 마모를 가속화할 수 있습니다.
커팅 유닛 백래핑
커팅 유닛을 이면 연마하려면 액세스 이면 연마 키트(모델 번호 139-4342)를 사용하십시오. 키트 설치 지침의 사용 설명서를 참조하십시오. 이 키트를 구입하려면 Toro 공식 판매 대리점에 문의하십시오.


에 항상 주의를 기울이십시오. 이 지침을 따르지
않을 경우 사람이 다치거나 사망하는 사고가 발생할 수 있습니다.
















