Mantenimiento
Note: Los lados derecho e izquierdo de la máquina se determinan desde la posición normal del operador.
Comprobación del punto de engrase de la transmisión del molinete
| Intervalo de mantenimiento y servicio | Procedimiento de mantenimiento |
|---|---|
| Cada año |
|
-
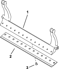
Retire los herrajes que fijan el conjunto de la transmisión del molinete a la placa lateral (Figura 12).

-
Retire el conjunto de transmisión del molinete, las arandelas planas, las arandelas elásticas y los espaciadores de la placa lateral (Figura 12).
-
Compruebe el interior del árbol de transmisión del molinete (Figura 13) para ver si queda algo de grasa.
Si no observa una cantidad de grasa suficiente, añada más grasa al eje con la acanaladura macho y hembra.

-
Utilice los tornillos de cabeza hexagonal, las arandelas y los espaciadores que retiró anteriormente para sujetar el conjunto de transmisión del molinete a la placa lateral.
-
Instale la unidad de corte en la unidad de tracción; consulte el Manual del operador de la unidad de tracción.
Ajuste de la tensión de la correa de transmisión del molinete
| Intervalo de mantenimiento y servicio | Procedimiento de mantenimiento |
|---|---|
| Cada año |
|
-
Retire la cubierta del alojamiento de la transmisión del molinete retirando los 3 tornillos que la sujetan.
-
Afloje el perno del brazo tensor y gire el brazo tensor para eliminar la tensión de la correa.
-
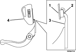
Utilice una llave de torsión de aguja para aplicar una fuerza de 6-7 N·m al tornillo interno del brazo tensor superior (Figura 14).

-
Apriete el perno del brazo tensor para fijar el brazo tensor.
-
Instale la cubierta con los 3 tornillos correspondientes.
Ajuste de la frecuencia de corte
Los siguientes ajustes de la máquina determinan la frecuencia de corte:
-
Velocidad del molinete: La velocidad del molinete se puede establecer en un ajuste bajo o alto; consulte el Manual del operador de la unidad de tracción.
-
Posición de la polea de transmisión del molinete: Las poleas de transmisión del molinete (22 dientes y 24 dientes) se pueden ajustar en 2 posiciones:
Note: La posición de la polea está ajustada en BAJA de fábrica.

Para ajustar la posición de las poleas, realice los siguientes procedimientos:
-
Retire la cubierta de la correa para exponer la correa (Figura 16).

-
Afloje el perno del brazo tensor y gire el brazo tensor (Figura 16) para liberar la tensión de la correa.
-
Retire la correa (Figura 16).
-
Afloje la tuerca en cada polea, retire las poleas y utilice las tuercas para instalar las poleas en la configuración que desee.

-
Apriete las tuercas de la polea a entre 37 y 45 N·m.
-
Instale la correa y tensione la correa aplicando una fuerza de entre 6 y 7 N∙m en el hexágono interno del brazo tensor, tal y como se muestra en la Figura 16.
-
Apriete el perno del brazo tensor e instale la cubierta de la correa.
Ajuste del deflector de hierba
Ajuste el deflector de hierba para que los recortes salgan limpiamente de la zona del molinete, de la forma siguiente:
Note: El deflector es ajustable para compensar cambios en la condición del césped. Acerque el deflector al molinete si el césped está extremadamente seco. Por el contrario, aleje el deflector del molinete si el césped está húmedo. El deflector debe estar paralelo al molinete para un rendimiento óptimo. Ajústela después de afilar el molinete en una máquina de afilado de molinetes.
-
Afloje los tornillos que sujetan el deflector de hierba (Figura 18) a la unidad de corte.

-
Inserte una galga de 1,5 mm entre la parte superior del molinete y el deflector, y luego apriete los tornillos.
Important: Asegúrese de que el deflector y el molinete están separados por la misma distancia en toda la longitud del molinete.
Note: Ajuste la distancia cuanto sea necesario para las condiciones del césped.
Especificaciones de la contracuchilla
Mantenimiento de la contracuchilla
Solo deberá realizar tareas de mantenimiento en la barra de asiento y en la contracuchilla un mecánico con la formación pertinente, para evitar daños en el molinete, la barra de asiento o la contracuchilla. Lo ideal es que lleve la unidad de corte a su distribuidor autorizado Toro para que realicen las tareas de mantenimiento. Consulte las instrucciones del Manual de mantenimiento de la unidad de tracción para obtener instrucciones completas, conocer las herramientas especiales y los diagramas para realizar tareas de mantenimiento en la contracuchilla. En caso de que necesite retirar o montar usted mismo la barra de asiento, a continuación se indican las instrucciones, así como las especificaciones para realizar tareas de mantenimiento en la contracuchilla.
Important: Siga siempre los procedimientos de la contracuchilla detallados en el Manual de mantenimiento al realizar tareas de mantenimiento en la contracuchilla. Si no se instala y se afila correctamente la contracuchilla, se pueden producir daños en el molinete, la barra de asiento o la contracuchilla.
Cómo retirar la barra de asiento/contracuchilla.
-
Gire el tornillo de ajuste de la barra de asiento en sentido antihorario para alejar la contracuchilla del molinete (Figura 19).

-
Afloje la tuerca de tensado del muelle hasta que el muelle deje de presionar la arandela contra la barra de asiento (Figura 19).
-
En cada lado de la máquina, afloje la contratuerca que se muestra en la Figura 20.

-
Retire todos los pernos de la barra de asiento, para poder tirar de la barra hacia abajo y retirarla de la unidad de corte (Figura 20).
Guarde las 2 arandelas de acero y la arandela de plástico de cada extremo de la barra de asiento (Figura 20).
-
Retire la contracuchilla de la barra de asiento retirando todos los tornillos que la sujetan. Utilice una llave de carraca con la Herramienta para los tornillos de la contracuchilla (Pieza n.º TOR510880).
Note: Puede utilizar una llave de impacto mecánica o neumática para aflojar los tornillos de la contracuchilla.
Note: Deseche la contracuchilla y los tornillos.
Instalación de la contracuchilla
-
Seleccione una contracuchilla nueva siguiendo las indicaciones de Tablas de selección de alturas de corte y contracuchillas.
-
Elimine el óxido, las incrustaciones y la corrosión de la superficie de la barra de asiento y aplique una capa fina de aceite sobre ella.
Important: No retire material de fundición de la barra de asiento. La barra de asiento es cóncava en el centro por diseño; no la rectifique.
-
Limpie las roscas de la barra de asiento.
-
Aplique compuesto antigripante a los tornillos de la contracuchilla nueva e instale la contracuchilla en la barra de asiento.
Important: Utilice solamente tornillos nuevos para la contracuchilla.
Note: La cantidad de tornillos varía dependiendo de la barra de asiento.

-
Apriete los 2 tornillos exteriores a 1 N∙m.
-
Trabajando desde el centro de la contracuchilla, apriete los tornillos a 25,9 +/- 1,4 N·m.
Important: No utilice una llave de impacto mecánica o neumática para apretar los tornillos de la contracuchilla.

-
Rectifique la contracuchilla nueva; consulte las Especificaciones de amolado de la contracuchilla.
Especificaciones de amolado de la contracuchilla

| Ángulo de rebajo (superior) de la contracuchilla | Ver Tablas de selección de alturas de corte y contracuchillas. |
| Intervalo de ángulo delantero | de 13° a 17° |
| Ángulo delantero de la contracuchilla para calles | 10° |
Comprobación del ángulo de rectificado superior
El ángulo de rectificado de las contracuchillas es muy importante.
Utilice el indicador de ángulo (Pieza Toro N° 131-6828) y el soporte del indicador de ángulo (Pieza Toro N° 131-6829) para comprobar el ángulo producido por su muela, y corrija cualquier falta de precisión.
-
Coloque el indicador de ángulo en el lado inferior de la contracuchilla, según se muestra en Figura 24.

-
Pulse el botón Alt Zero del indicador de ángulo.
-
Coloque el soporte del indicador de ángulo sobre el filo de la contracuchilla de manera que el borde del imán esté enrasado con el filo de la contracuchilla (Figura 25).
Note: La pantalla digital debe estar visible desde el mismo lado durante este paso que durante el paso 1.

-
Coloque el indicador de ángulo en el soporte, según se muestra en Figura 25.
Note: Este es el ángulo que produce su muela, y no debe variar en más de 2 grados del ángulo de amolado superior recomendado.
Cómo instalar el conjunto de barra de asiento/contracuchilla
-
Instale el conjunto de barra de asiento/contracuchilla, colocando las pestañas de montaje entre las arandelas y el tornillo de ajuste de la barra de asiento(Figura 19).
Important: Centre los mecanismos de ajuste DPA en las pestañas de la barra de asiento, como se muestra en la Figura 26.Si se instalan los mecanismos de ajuste DPA contra las pestañas de la barra de asiento, puede afectar negativamente al contacto entre la contracuchilla y el molinete.

-
Sujete la barra de asiento a cada placa lateral con los pernos de la barra (con tuercas en los pernos) y 3 arandelas (6 en total).
-
Coloque una arandela de nylon en cada lado del saliente de la placa lateral. Coloque una arandela de acero por fuera de cada arandela de nylon (Figura 27).
-
Apriete los pernos de la barra de asiento a 27-36 N·m.
-
Apriete las contratuercas hasta eliminar la holgura de las arandelas de acero, pero que pueda seguir girándolas con la mano. Las arandelas del interior pueden tener cierta holgura.
Important: No apriete demasiado las contratuercas o desviarán las chapas laterales.
-
Apriete la tuerca de tensado del muelle hasta que el muelle esté comprimido del todo, luego aflójela 1/2 vuelta (Figura 27).

-
Ajuste la contracuchilla contra el molinete; consulte Ajuste de la contracuchilla contra el molinete.
Especificaciones del molinete
Preparación del molinete para el afilado
-
Asegúrese de que todos los componentes de la unidad de corte están en buenas condiciones y corrija cualquier problema antes de afilar.
-
Siga las instrucciones del fabricante del afilador del molinete para afilar el molinete según las especificaciones siguientes.
Especificaciones de afilado del molinete Diámetro del molinete nuevo 128,5 mm Límite de ajuste del diámetro del molinete 114,3 mm Ángulo de rebajo de la cuchilla 30° ± 5° Rango de superficie de incidencia de la cuchilla 0,8-1,2 mm Límite de ajuste de la conicidad del diámetro del molinete 0,25 mm
Afilado del molinete con rebajo
El molinete nuevo tiene una superficie de incidencia de 1,3-1,5 mm de anchura, y un rebajo de 30°.
Si la anchura de la superficie de incidencia es superior a 3 mm, haga lo siguiente:
-
Afile todas las cuchillas con un rebajo de 30° hasta que la anchura de la superficie de incidencia sea de 0,8 mm(Figura 28).

-
Afile el molinete con muela, sin rebajo, hasta que la excentricidad del molinete sea inferior a 0,025 mm.
Note: Esto hace que la superficie de incidencia se ensanche ligeramente.
-
Ajuste la unidad de corte; consulte el Manual del operador de la unidad de corte.
Note: Para que los filos del molinete y de la contracuchilla duren más, tras amolar el molinete y/o la contracuchilla, vuelva a comprobar el contacto entre el molinete y la contracuchilla después de segar 2 greens, porque esto eliminará la rebaba. La rebaba puede crear un espacio incorrecto entre el molinete y la contracuchilla, lo que puede acelerar el desgaste.
Autoafilado de la unidad de corte
Para autoafilar la unidad de corte, utilice el kit de autoafilado Access (Modelo 139-4342) o el kit de autoafilado (Modelo 04800); consulte las instrucciones de funcionamiento en las Instrucciones de instalación del kit. Póngase en contacto con su distribuidor autorizado Toro para adquirir uno de estos kits.


, que significa: Cuidado, Advertencia o Peligro
– instrucción relativa a la seguridad personal. El incumplimiento
de estas instrucciones puede dar lugar a lesiones personales o la
muerte.








