Kunnossapito
Leikkuuyksikön tukeminen
Jos leikkuuyksikköä on kallistettava kiinteän terän tai kelan esiin saamiseksi, nosta leikkuuyksikön takaosa tukitelineen (toimitetaan ajoyksikön mukana) varaan siten, että runkopalkin säätöruuvien takaosan mutterit eivät nojaa työpintaan (Kuva 21).

Leikkuuyksikköjen voitelu
Voitele kunkin leikkuuyksikön viisi rasvanippaa (Kuva 22) säännöllisesti litiumpohjaisella yleisrasvalla nro 2.
Eturullassa on kaksi voitelupistettä, takarullassa on kaksi voitelupistettä, ja kelamoottorin urassa on yksi voitelupiste.
Note: Kun leikkuuyksiköt rasvataan heti pesun jälkeen, vesi saadaan poistettua paremmin laakereista, mikä pidentää laakereiden käyttöikää.
-
Pyyhi kukin rasvanippa puhtaalla kankaalla.
-
Levitä rasvaa, kunnes puhdasta rasvaa alkaa tihkua rullan tiivisteistä ja laakerin rajoitusventtiilistä.
-
Pyyhi pois ylimääräinen rasva.

Kiinteän terän tiedot
Kiinteän terän huolto
Runkopalkin / kiinteän terän kokoonpanon irrotus
-
Käännä runkopalkin säätöruuveja vastapäivään, jotta kiinteä terä siirtyy etäämmälle kelasta (Kuva 23).

-
Löysää jousen kiristysmutteria, kunnes aluslaatta ei ole enää painunut runkopalkkia vasten (Kuva 23).
-
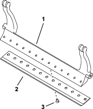
Löysää runkopalkin pultin lukkomutteria koneen molemmilta puolilta (Kuva 24).

-
Irrota kaikki runkopalkin pultit, jotta runkopalkki voidaan vetää alaspäin ja irrottaa leikkuuyksiköstä (Kuva 24).
Ota talteen kaksi nailonista ja yksi teräsaluslaatta runkopalkin kummastakin päästä (Kuva 25).

-
Irrota kiinteä terä runkopalkista irrottamalla neljä ruuvia, joilla se on kiinnitetty. Käytä hylsyavainta kiinteän terän ruuvaustyökalun (osanro TOR510880) kanssa.
Note: Voit käyttää mekaanista tai pneumaattista iskuavainta kiinteän terän ruuvien löysäämiseen.
Note: Hävitä kiinteä terä ja ruuvit.
Uuden kiinteän terän asennus
-
Valitse uusi kiinteä terä taulukon (Leikkuukorkeuden ja kiinteän terän valintataulukot) mukaisesti.
-
Poista ruoste, karsta ja korroosio runkopalkin pinnasta ja levitä ohut kerros öljyä runkopalkin pinnalle.
Important: Älä poista valuosan materiaalia runkopalkista. Runkopalkin kuuluu olla keskeltä kovera. Älä hio.
-
Puhdista runkopalkin kierteet.
-
Levitä kiinteän terän ruuveihin lukkiintumisen estoainetta ja asenna kiinteä terä runkopalkkiin.
Important: Käytä vain uusia kiinteän terän ruuveja.
Note: Ruuvien lukumäärä vaihtelee runkopalkin mukaan.

-
Kiristä kaksi ulompaa ruuvia momenttiin 1 N·m.
-
Aloita kiinteän terän keskeltä ja kiristä ruuvit momenttiin 29,8 ±1 N·m.
Important: Älä kiristä kiinteän terän ruuveja mekaanisella tai pneumaattisella iskuavaimella.

-
Hio uusi kiinteä terä. Katso Kiinteän terän huoltorajat.
Kiinteän terän huoltorajat
Kiinteän terän huoltorajat on lueteltu seuraavassa taulukossa.
Important: Leikkuuyksikön käyttö kiinteän terän ollessa huoltorajan alapuolella voi heikentää leikkuujälkeä ja kiinteän terän rakenteellista lujuutta.
| Kiinteän terän huoltorajat | ||||
| Kiinteä terä | Osanro | Kiinteän terän kielekkeen korkeus | Huoltoraja* | HiontakulmatYlä- ja etuosan kulmat |
| Tournament (lisävaruste) | 147-1257 | 4,3 mm | 3,4 mm | 5/5° |
| Alhainen leikkuukorkeus (malli 03624) | 147-1244 | 5,6 mm | 4,8 mm | 10/5° |
| EdgeMax® alhainen leikkuukorkeus (malli 03623) | 137-6093 | 5,6 mm | 4,8 mm | 10/5° |
| Pitkä alhainen leikkuukorkeus (lisävaruste) | 147-1243 | 5,6 mm | 4,8 mm | 10/10° |
| Pitkä EdgeMax® alhainen leikkuukorkeus (lisävaruste) | 119-4280 | 5,6 mm | 4,8 mm | 10/10° |
| EdgeMax® (malli 03621) | 137-6094 | 6,9 mm | 4,8 mm | 10/5° |
| Vakio (lisävaruste) | 147-1245 | 6,9 mm | 4,8 mm | 10/5° |
| Raskas käyttö (lisävaruste) | 147-1246 | 9,3 mm | 4,8 mm | 10/5° |
Kiinteän terän ylä- ja etuosan suositellut hiontakulmat (Kuva 28)

Note: Kaikki kiinteän terän huoltorajan mitat on mitattu kiinteän terän pohjasta (Kuva 29)

Yläosan hiontakulman tarkistus
Kiinteän terän hiontakulma on erittäin tärkeä.
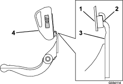
Hiontalaitteen kulma on tarkistettava kulman osoittimella (Toro-osanro 131-6828) ja kulman osoittimen kiinnittimellä (Toro-osanro 131-6829), ja mahdollinen epätarkkuus on korjattava.
-
Aseta kulman osoitin kiinteän terän alaosaan kuvan mukaisesti (Kuva 30).

-
Paina kulman osoittimen Alt Zero -painiketta.
-
Aseta kulman osoittimen kiinnitin kiinteän terän reunaan siten, että magneetin reuna kiinnittyy kiinteän terän reunaan (Kuva 31).
Note: Digitaalinäytön tulee näkyä samalta puolelta tämän vaiheen aikana kuin vaiheessa 1.

-
Aseta kulman osoitin kiinnittimeen kuvan mukaisesti (Kuva 31).
Note: Tämä on hiontalaitteen kulma, joka saa poiketa enintään kaksi astetta suositellusta yläosan hiontakulmasta.
Runkopalkin / kiinteän terän kokoonpanon asennus
-
Asenna runkopalkin / kiinteän terän kokoonpano asettamalla asennuskorvakkeet aluslaattojen ja runkopalkin säätöruuvien väliin.
Important: Keskitä DPA-säätimet runkopalkin korvakkeissa kuvan mukaisesti (Kuva 32).Jos DPA-säätimet on asennettu runkopalkin korvakkeita vasten, kiinteän terän ja kelan kosketus voi heiketä.

-
Kiinnitä runkopalkki molempiin sivulevyihin runkopalkin pulteilla (pulteissa mutterit) ja kolmella aluslaatalla (kuusi yhteensä).
-
Aseta nailoninen aluslaatta sivulevyn keskiön kummallekin puolelle. Aseta teräksinen aluslaatta jokaisen nailonaluslaatan ulkopuolelle (Kuva 25).
-
Kiristä runkopalkin pultit momenttiin 37–45 N∙m.
-
Kiristä runkopalkin lukkomuttereita hitaasti, kunnes ulompia teräksisiä aluslaattoja voi juuri ja juuri pyörittää käsin.
Important: Älä kiristä lukkomuttereita liikaa, sillä muuten sivulevyt voivat taipua.
Note: Nailonisessa aluslaatassa runkopalkin ja sivulevyn välissä on pieni rako.
-
Kiristä jousen kiristysmutteria, kunnes jousi on painunut kokoon, ja löysää sitten mutteria puoli kierrosta (Kuva 33).

Kelan tiedot
Kelan takatahkoaminen
Uudessa kelassa on 1,3–1,5 mm:n kierreleveys ja 30 asteen takatahkous.
Kun kierreleveys on suurempi kuin 3 mm, on tehtävä seuraavat toimenpiteet:
-
Tee kaikkiin kelateriin 30 asteen takatahkous, kunnes kierreleveys on 1,3 mm (Kuva 34 ja Kuva 35).


-
Hio kelaa, kunnes sen jättö on <0,025 mm.
Note: Tämä kasvattaa hieman kierreleveyttä.
Note: Kelan ja kiinteän terän leikkuureunan pysymistä terävänä voi pidentää tarkistamalla kelan ja/tai kiinteän terän hionnan jälkeen kelan ja kiinteän terän kosketuksen uudelleen kahden väylän leikkaamisen jälkeen. Tämä poistaa mahdolliset jäysteet, jotka voivat aiheuttaa virheellisen kelan ja kiinteän terän välyksen ja siten nopeuttaa kulumista.
-
Mittaa kelan ulkohalkaisija mittanauhan avulla molemmista päistä (Kuva 36). Päiden ulkohalkaisijoiden eron tulee olla alle 0,250 mm. Jos ero on suurempi, korjaa se hiomalla.
Note: Ulkohalkaisijan mittaamiseen tarkoitettua nauhaa on saatavana valtuutetulta Toro-jälleenmyyjältä.

Kaksipistesäädettävien HD-leikkuuyksiköiden huolto
-
Irrota kaikki osat (katso HD DPA -sarjan asennusohjeet ja Kuva 37).
-
Levitä lukkiintumisenestoainetta holkin alueen sisäpuolelle leikkuuyksikön keskirunkoon (Kuva 37).
-
Kohdista laippaholkkien ulokkeet rungon koloihin ja asenna holkit (Kuva 37).
-
Asenna jousialuslaatta säätimen akseliin ja liu’uta säätimen akseli laippaholkkeihin leikkuuyksikön rungossa (Kuva 37).
-
Kiinnitä säätimen akseli litteällä aluslaatalla ja lukkomutterilla (Kuva 37).
-
Kiristä lukkomutteri momenttiin 20–27 N·m.
Note: Runkopalkin säätimen akselissa on vasemmanpuoleiset kierteet.

-
Levitä lukkiintumisenestoainetta säätimen akseliin sopivan runkopalkin säätöruuvin kierteisiin.
-
Kierrä runkopalkin säätöruuvi säätimen akseliin.
-
Asenna karkaistu aluslaatta, jousi ja jousen kiristysmutteri löysästi säätöruuviin.
-
Asenna runkopalkki asettamalla asennuskorvakkeet aluslaatan ja runkopalkin säätimen väliin.
-
Kiinnitä runkopalkki molempiin sivulevyihin runkopalkin pulteilla (pulteissa mutterit) ja kuudella aluslaatalla.
Note: Aseta nailoninen aluslaatta sivulevyn keskiön kummallekin puolelle.
-
Aseta teräksinen aluslaatta jokaisen nailonisen aluslaatan ulkopuolelle (Kuva 37).
-
Kiristä runkopalkin pultit momenttiin 37–45 N∙m.
-
Kiristä lukkomuttereita, kunnes ulompi teräksinen aluslaatta ei enää käänny eikä päittäisvälystä enää ole, mutta älä kiristä liikaa äläkä taivuta sivulevyjä.
Note: Sisäpuolella olevissa aluslaatoissa saa olla rako (Kuva 37).
-
Kiristä kunkin runkopalkin säädinkokoonpanon mutteria, kunnes painejousi on puristunut kokonaan kasaan. Löysää mutteria sitten puoli kierrosta (Kuva 37).
-
Tee sama leikkuuyksikön toisessa päässä.
-
Säädä kiinteä terä kelaan. Katso Kiinteän terän kohdistus kelaan.
Rullan huolto
Rullan huoltoa varten on saatavana rullan korjaussarja (osanro 114-5430) ja rullan korjaussarjan työkalusarja (osanro 115-0803) (Kuva 38). Rullan korjaussarja sisältää kaikki rullan korjauksessa tarvittavat laakerit, laakerimutterit sekä sisä- ja ulkotiivisteet. Rullan korjaussarjan työkalusarja sisältää kaikki rullan korjaussarjan käytössä tarvittavat työkalut ja asennusohjeet. Lisätietoja saa osaluettelosta tai valtuutetulta Toro-jälleenmyyjältä.



, joka tarkoittaa varoitusta,
vaaraa tai hengenvaaraa – henkilöturvallisuusohjeet. Ohjeiden
laiminlyönti saattaa johtaa henkilövahinkoon tai kuolemaan.
















