Manutenção
Note: Determine os lados direito e esquerdo da máquina a partir da posição normal de operação.
Verificação do ponto de lubrificação do veio de transmissão do cilindro
| Intervalo de assistência | Procedimento de manutenção |
|---|---|
| Anualmente |
|
-
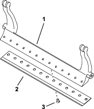
Remova as ferragens que prendem o conjunto da transmissão do cilindro à placa lateral (Figura 12).

-
Remova o conjunto da transmissão do cilindro, anilhas planas, anilhas de mola e espaçadores da placa lateral (Figura 12).
-
Verifique o interior do veio de transmissão do cilindro (Figura 13) para ver se existe qualquer resto de lubrificante.
Se não vir uma quantidade suficiente de lubrificante, adicione mais lubrificante ao veio estriado macho e fêmea.

-
Utilize os parafusos de cabeça sextavada interior previamente removidos, anilhas e espaçadores para prender o conjunto da transmissão do cilindro à placa lateral.
-
Instale a unidade de corte da unidade de tração; consulte o Manual de utilizador da unidade de tração.
Ajuste da tensão da correia da transmissão do cilindro
| Intervalo de assistência | Procedimento de manutenção |
|---|---|
| Anualmente |
|
-
Remova a cobertura da estrutura da transmissão do cilindro removendo os três parafusos que a seguram.
-
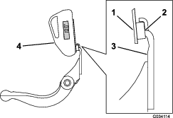
Desaperte o parafuso do braço intermédio e rode o braço para remover a tensão da correia.
-
Utilize uma chave de torque tipo “beam” para aplicar 6 a 7 N∙m de força no parafuso interno do braço intermédio superior (Figura 14).

-
Aperte o parafuso do braço intermédio para prender o braço intermédio.
-
Instale a cobertura com os três parafusos correspondentes.
Ajuste da taxa de apara
A taxa de apara é determinada pelas seguintes configurações da máquina:
-
Velocidade do cilindro: A velocidade do cilindro pode ser ajustada para uma configuração elevada ou baixa; consulte o Manual do utilizador da sua unidade de tração.
-
Posição da polia da transmissão do cilindro: As polias da transmissão do cilindro (22 dentes e 24 dentes) podem ser configuradas em duas posições:
Note: A posição da polia está configurada de fábrica para a posição BAIXO.

Para ajustar a posição das polias, siga o seguintes passos:
-
Retire a cobertura da correia para expor a correia (Figura 16).

-
Desaperte o parafuso do braço intermédio e rode o braço (Figura 16) para libertar a tensão na correia.
-
Retire a correia (Figura 16).
-
Desaperte a porca em cada polia, retire as polias e utilize as porcas para instalar as polias na configuração desejada.

-
Aperte as porcas da polia com 37 a 45 N·m.
-
Instale a correia e tensione a correia aplicando 6 a 7 N∙m no hexagonal interno do braço intermédio mostrado na Figura 16.
-
Aperte o parafuso do braço intermédio e instale a cobertura da correia.
Ajustar o resguardo de relva
Ajuste o resguardo da relva de forma a garantir que as aparas são completamente afastadas da zona do cilindro, da seguinte forma:
Note: O resguardo é ajustável para compensar as alterações das condições da relva. Ajuste o resguardo mais próximo do cilindro quando a relva está extremamente seca. Por outro lado, afaste o resguardo do cilindro quando a relva se encontrar molhada. O resguardo deve estar paralelo ao cilindro para assegurar um desempenho ideal. Ajuste depois de o rolo ser afiado num amolador de rolos.
-
Desaperte os parafusos que fixam o resguardo de relva (Figura 18) à unidade de corte.

-
Insira um calibrador de 1,5 mm entre a parte superior do cilindro e o resguardo e, em seguida, aperte os parafusos.
Important: O resguardo e o cilindro têm de ter entre si a mesma distância em todo o comprimento do cilindro.
Note: Ajuste a folga o necessário para as condições da sua relva.
Especificações da lâmina de corte
Assistência à lâmina
A manutenção da barra de apoio e lâmina de corte só deve ser realizada por um mecânico com formação adequada para evitar danos no rolo, barra de apoio ou lâmina de corte. O ideal será que leve a unidade de corte a um representante Toro autorizado para que realize a assistência. Consulte o Manual de assistência da sua unidade de tração para obter instruções completas, ferramentas especiais e diagramas para a assistência à lâmina de corte. Caso necessite de remover ou montar a barra de apoio sozinho, são dadas instruções abaixo, bem como as especificações para a manutenção da lâmina de corte.
Important: Siga sempre os procedimentos da lâmina de corte detalhados no seu Manual de manutenção quando trabalhar na lâmina de corte. Caso não instale e amole a lâmina de corte corretamente, pode causar danos no rolo, barra de apoio ou lâmina de corte.
Remoção da barra de apoio/lâmina de corte
-
Rode o parafuso de ajuste da barra de apoio no sentido contrário ao dos ponteiros do relógio, para afastar lâmina de corte do cilindro (Figura 19).

-
Faça recuar a porca da mola tensora até que a anilha deixe de estar sob tensão contra a barra de apoio (Figura 19).
-
Em cada um dos lados da máquina, desaperte a porca de bloqueio que se mostra na Figura 20.

-
Remova cada um dos parafusos da barra de apoio, de modo a puxá-la para baixo e retirá-la da unidade de corte (Figura 20).
Guarde as duas anilhas de aço e a anilha de plástico de cada uma das extremidades da barra de apoio (Figura 20).
-
Remova a lâmina de corte da barra de apoio, removendo todos os parafusos que a prendem. Utilize uma chave de caixa com uma ferramenta de parafusos para lâminas de corte (peça n.º TOR510880).
Note: Pode utilizar uma chave de impacto pneumática ou mecânica para desapertar os parafusos da lâmina de corte.
Note: Descarte a lâmina de corte e os parafusos.
Instalação da nova lâmina de corte
-
Selecione uma nova lâmina de corte de acordo com a secção Tabelas de altura de corte e de seleção de lâminas.
-
Elimine a ferrugem, escória e corrosão da superfície da barra de apoio e aplique uma fina camada de óleo na superfície da barra de apoio.
Important: Não remova o material fundido da barra de apoio. A barra de apoio é côncava no meio por definição; não a amole.
-
Limpe as roscas da barra de apoio.
-
Aplique composto antigripagem nos parafusos da nova lâmina de corte e instale-a na barra de apoio.
Important: Utilize apenas parafusos da lâmina de corte novos.
Note: Utilize apenas parafusos novos para a lâmina de corte.

-
Aperte os dois parafusos exteriores com 1 N∙m.
-
Trabalhando a partir do centro da lâmina de corte, aperte os parafusos com 25,9 +/- 1,4 N∙m.
Important: Não aperte os parafusos da lâmina de corte utilizando uma chave de impacto pneumática ou mecânica.

-
Amole a nova lâmina de corte; consulte a secção Especificações de amolação da lâmina de corte.
Especificações de amolação da lâmina de corte

| Ângulo (superior) de alívio da lâmina | Ver Tabelas de altura de corte e de seleção de lâminas. |
| Gama do ângulo frontal | 13º para 17° |
| Ângulo de alívio da lâmina de corte fairway | 10° |
Verificação do ângulo de amolação superior
O ângulo que utiliza para amolar as lâminas de corte é muito importante.
Utilize o indicador de ângulo (peça Toro n.º 131-6828) e a montagem do indicador do ângulo (peça Toro n.º 131-6829) para verificar o ângulo que o seu amolador produz e depois corrija qualquer imprecisão no amolador.
-
Coloque o indicador de ângulo no lado inferior da lâmina de corte, como se ilustra na Figura 24.

-
Pressione o botão Alt Zero no indicador de ângulo.
-
Coloque a montagem do indicador de ângulo na extremidade da lâmina de corte para que a extremidade do íman fique alinhada com a extremidade da lâmina de corte (Figura 25).
Note: O ecrã digital deve ser visível do mesmo lado durante este passo como era no passo 1.

-
Coloque o indicador de ângulo na montagem, como se mostra na Figura 25.
Note: Este é o ângulo que o seu amolador produz e deve estar a 2 graus do ângulo de amolação superior recomendado.
Instalação do conjunto da barra de apoio/lâmina de corte
-
Instale do conjunto da barra de apoio/lâmina de corte, posicionando as aletas de montagem entre as anilhas e o parafuso de ajuste da barra de apoio (Figura 19).
Important: Centre os reguladores DPA nas aletas da barra de apoio conforme mostrado na Figura 26.Se os reguladores DPA estiverem instalados contra as aletas da barra de apoio, isto poderá afetar negativamente o contacto entre a lâmina e o cilindro.

-
Fixe a barra de apoio a cada um dos lados da placa lateral com as cavilhas (porcas flangeadas nas cavilhas) e com as 3 arruelas (6 no total).
-
Coloque uma anilha de nylon de cada lado da placa lateral. Coloque uma anilha de aço no exterior de cada uma das arruelas de nylon (Figura 27).
-
Aperte os parafusos da barra de apoio com uma força de 27 a 36 N·m.
-
Aperte as porcas de bloqueio até eliminar a folga das anilhas de aço, mas que possa rodá-las à mão. As anilhas podem ter uma folga interna.
Important: Não aperte demasiado as porcas de bloqueio ou causarão flexão das placas laterais.
-
Aperte a porca da mola tensora até que a mola fique recolhida; em seguida, desaperte meia volta (Figura 27).

-
Ajuste a lâmina de corte ao cilindro; consulte a Ajuste da lâmina de corte ao cilindro.
Especificações do cilindro
Preparação do cilindro para a amolação
-
Certifique-se de que todos os componentes da unidade de corte estão em boas condições e corrija qualquer problema antes da amolação.
-
Siga as instruções do fabricante do amolador de cilindro para amolar o cilindro de corte para as especificações seguintes.
Especificações de amolação do cilindro Diâmetro do novo cilindro 128,5 mm Limite de serviço do diâmetro do cilindro 114,3 mm Ângulo de alívio da lâmina 30° ± 5° Intervalo da largura da folga da lâmina 0,8 a 1,2 mm Limite de serviço do cone do diâmetro do cilindro 0,25 mm
Amolação de retificação do cilindro
O novo cilindro tem uma largura de 1,3 a 1,5 mm e 30° de amolação.
Quando a dimensão da folga é superior a 3 mm de largura, faça o seguinte:
-
Aplique uma amolação de retificação de 30° em todas as lâminas do cilindro até que a folga tenha uma largura de 0,8 mm.(Figura 28).

-
Amole o cilindro para obter uma deslocação do cilindro <0,025 mm.
Note: Isto causa que a folga aumente ligeiramente.
-
Ajuste a unidade de corte; consulte o Manual do utilizador da unidade de corte.
Note: Para manter a extremidade do cilindro e a lâmina de corte afiados durante mais tempo - após amolar o cilindro e/ou a lâmina de corte - verifique novamente o contacto entre o cilindro e a lâmina de corte após cortar 2 greens, visto que as irregularidades serão removidas. As irregularidades podem criar uma folga inadequada do cilindro à lâmina, o que pode acelerar o desgaste.
Retificação da unidade de corte
Para retificar a unidade de corte, utilize o kit de retificação de acesso (modelo n.º 139-4342) ou o kit de retificação (modelo n.º 04800); consulte as instruções de operação nas Instruções de instalação no kit. Contacte o distribuidor Toro autorizado para adquirir um destes kits.


O não cumprimento
destas instruções pode resultar em ferimentos pessoais
ou mesmo em morte.








